|
|
(21), (22) Заявка: 2004107003/06, 09.03.2004
(24) Дата начала отсчета срока действия патента:
09.03.2004
(45) Опубликовано: 27.06.2005
(56) Список документов, цитированных в отчете о поиске:
ЛЕВЕНБЕРГ В.Д. и др. Аккумулирование тепла. – Киев: Техника, 1991, с.38-41. ХАЛИУЛЛИН Ю.М. и др. Корабельные анаэробные неатомные энергетические установки на безгазовом топливе. Судостроение. 2000, с.1, с.36-39. RU 2162534 C1 27.01.2001. RU 2172421 С2 20.08.2001. US 5054114 A 24.12.1991.
Адрес для переписки:
197082, Санкт-Петербург, П-82, ул. Красного Курсанта, 16, Военно-космическая академия им. А.Ф. Можайского, 46 кафедра, Н.Г. Кириллову
|
(72) Автор(ы):
Кириллов Н.Г. (RU), Ковалев В.В. (RU)
(73) Патентообладатель(и):
Военно-космическая академия им. А.Ф. Можайского (RU)
|
(54) ЭНЕРГЕТИЧЕСКАЯ УСТАНОВКА НА ОСНОВЕ ДВИГАТЕЛЯ СТИРЛИНГА С ТЕПЛОВЫМ АККУМУЛЯТОРОМ
(57) Реферат:
Изобретение относится к области теплоэнергетики и может быть использовано в качестве энергетической установки для объектов специального назначения, например для специальных фортификационных сооружений, подводных технических средств и мобильных комплексов. Зарядка теплового аккумулятора происходит за счет энергии, подводимой через нагревательное устройство к теплоаккумулирующему веществу. После зарядки, в режиме автономной работы, выделяющаяся теплота от теплоаккумулирующего вещества через стенки аккумулятора передается стенкам нагревателя двигателя Стирлинга, что обеспечивает его запуск и работу. При работе двигателя Стирлинга механическая энергия преобразуется в электрическую с помощью электрогенератора. Для охлаждения двигателя Стирлинга используется холодильник, через который подается охлаждающая среда. Достигаемый технический результат – повышение надежности, упрощение конструкции и уменьшение массогабаритных характеристик энергетической установки с двигателем Стирлинга и тепловым аккумулятором. 1 ил.

Изобретение относится к области теплоэнергетики и может быть использовано в качестве энергетической установки для объектов специального назначения, например для специальных фортификационных сооружений, подводных технических средств и мобильных комплексов.
Известно устройство двигателя Стирлинга, состоящего из нагревателя, регенератора, холодильника и поршневой группы (Батырев А.Н., Кошеваров В.Д., Лейкин О.Ю. Корабельные ядерные энергетические установки зарубежных стран. – СПб.: Судостроение, 1994. стр.205).
Известна энергоустановка с двигателем Стирлинга и водородосодержащим топливом, включающая в себя двигатель Стирлинга и теплоиспользующую холодильную машину (Патент РФ № 2169319, F 25 В 27/02, Бюл. № 17 от 20.06.2001). Однако в данной установке используются дорогостоящие водородное топливо и камера сгорания с катализатором.
Известна энергохолодильная система с двигателем Стирлинга, использующая в качестве источника теплоты реакцию окисления магния (Патент РФ №2214566, F 25 В 27/02, Бюл. № 29 от 20.10.2003). Однако для начала реакции окисления магния и выделения теплоты требуются наличие окислителя, а в результате реакции образуются окислы магния, которые необходимо удалять.
Известны тепловые аккумуляторы с различными теплоаккумулирующими веществами (TAB), например твердыми, плавящимися и т.д. (Левенберг В.Д., Ткач М.Р., Гольстрем В.А. Аккумулирование тепла. – Киев.: Техника, 1991. – стр. 49-59). Состав TAB выбирается в зависимости от вида энергии, предназначенного для зарядки теплоаккумулирующего вещества.
Известна энергетическая установка с двигателем Стирлинга и аккумулятором с теплоаккумулирующим веществом (Левенберг В.Д., Ткач М.Р., Гольстрем В.А. Аккумулирование тепла. – Киев.: Техника, 1991. – стр. 38-41). Однако использующийся в этой установке тепловой аккумулятор (ТА) соединен с двигателем Стирлинга через тепловую трубу, что значительно усложняет конструкцию и увеличивает массогабаритные характеристики установки в целом.
Технический результат, который может быть получен при осуществлении изобретения, заключается в повышении надежности, упрощении конструкции и уменьшении массогабаритных характеристик энергетической установки с двигателем Стирлинга.
Для достижения данного технического результата энергетическая установка на основе двигателя Стирлинга с тепловым аккумулятором, включающая в себя двигатель Стирлинга и источник теплоты в виде аккумулятора с теплоаккумулирующим веществом и нагревательным устройством, снабжена электрогенератором на одном валу с двигателем Стирлинга, при этом тепловой аккумулятор установлен непосредственно на нагреватель двигателя Стирлинга, а для зарядки аккумулятора могут быть использованы различные виды энергии, например электрическая или тепловая.
Введение в состав энергетической установки на основе двигателя Стирлинга теплового аккумулятора, установленного непосредственно на нагреватель двигателя Стирлинга, позволяет получить новое свойство, заключающееся в возможности более эффективной передачи теплоты от аккумулятора к двигателю без промежуточных звеньев.
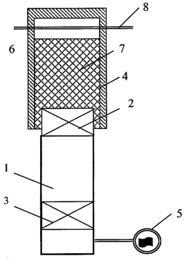
На чертеже изображена энергетическая установка на основе двигателя Стирлинга с тепловым аккумулятором.
Энергетическая установка в своем составе имеет двигатель Стирлинга 1 с нагревателем 2 (нагревательная головка двигателя) и холодильником 3, тепловой аккумулятор 4 (источник тепловой энергии) и электрогенератор 5. Тепловой аккумулятор 4 состоит из реакционной камеры 6, заряда теплоаккумулирующего вещества 7 и нагревательного элемента 8. Корпус теплового аккумулятора 4 конструктивно связан с нагревательной головкой 2 двигателя Стирлинга 1.
Энергетическая установка на основе двигателя Стирлинга работает следующим образом.
Зарядка теплового аккумулятора 4 происходит за счет энергии, подводимой через нагревательное устройство 8 к теплоаккумулирующему веществу 7. После зарядки, в режиме автономной работы, выделяющаяся теплота от теплоаккумулирующего вещества 7 через стенки аккумулятора 4 передается стенкам нагревателя 2 двигателя Стирлинга 1, что приводит к постепенному повышению температуры нагревателя 2 и соответственно нагреву рабочего тела, используемого в самом двигателе Стирлинга 1. С повышением температуры рабочего тела в головке двигателя происходит постепенное повышение давления в рабочем контуре и в том числе в рабочем цилиндре. Это, в свою очередь, вызывает перемещение рабочего поршня двигателя и, в конечном итоге, его пуск. При работе двигателя Стирлинга 1 механическая энергия преобразуется в электрическую с помощью электрогенератора 5. Для охлаждения двигателя Стирлинга 1 используется холодильник 3, через который подается охлаждающая среда.
Источники информации, принятые во внимание при составлении заявки
1. Батырев А.Н., Кошеваров В.Д., Лейкин О.Ю. Корабельные ядерные энергетические установки зарубежных стран. – СПб.: Судостроение, 1994. стр. 205.
2. Патент РФ №2169319, F 25 В 27/02, Бюл. № 17 от 20.06.2001.
3. Патент РФ №2214566, F 25 В 27/02, Бюл. № 29 от 20.10.2003.
4. Левенберг В.Д., Ткач М.Р., Гольстрем В.А. Аккумулирование тепла. – Киев.: Техника, 1991. – стр. 49-59.
5. Левенберг В.Д., Ткач М.Р., Гольстрем В.А. Аккумулирование тепла. – Киев.: Техника, 1991. – стр. 38-41 – прототип.
Формула изобретения
Энергетическая установка на основе двигателя Стирлинга с тепловым аккумулятором, включающая в себя двигатель Стирлинга и источник теплоты в виде аккумулятора с теплоаккумулирующим веществом и нагревательным устройством, отличающаяся тем, что снабжена электрогенератором на одном валу с двигателем Стирлинга, при этом тепловой аккумулятор установлен непосредственно на нагреватель двигателя Стирлинга, а для зарядки аккумулятора могут быть использованы различные виды энергии, например, электрическая или тепловая.
РИСУНКИ
MM4A – Досрочное прекращение действия патента СССР или патента Российской Федерации на изобретение из-за неуплаты в установленный срок пошлины за поддержание патента в силе
Дата прекращения действия патента: 10.03.2006
Извещение опубликовано: 10.12.2007 БИ: 34/2007
|
|