|
|
(21), (22) Заявка: 2004107002/06, 09.03.2004
(24) Дата начала отсчета срока действия патента:
09.03.2004
(45) Опубликовано: 27.06.2005
(56) Список документов, цитированных в отчете о поиске:
ЛЕВЕНБЕРГ В.Д. и др. Аккумулирование тепла. – Киев: Техника, 1991, с.38-41. ХАЛИУЛЛИН Ю.М. и др. Корабельные анаэробные неатомные энергетические установки на безгазовом топливе. Судостроение. 2000, №1, с.36-39. RU 2162534 C1 27.01.2001. RU 2172421 С2 20.08.2001. US 5054114 A 24.12.1991.
Адрес для переписки:
197082, Санкт-Петербург, П-82, ул. Красного Курсанта, 16, Военно-космическая академия им. А.Ф. Можайского, 46 кафедра, Н.Г. Кириллову
|
(72) Автор(ы):
Кириллов Н.Г. (RU), Ковалев В.В. (RU), Лямин К.А. (RU)
(73) Патентообладатель(и):
Военно-космическая академия им. А.Ф. Можайского (RU)
|
(54) ЭНЕРГЕТИЧЕСКАЯ УСТАНОВКА НА ОСНОВЕ ДВИГАТЕЛЯ СТИРЛИНГА С ТЕПЛОВЫМ АККУМУЛЯТОРОМ И ПРОМЕЖУТОЧНЫМ ТЕПЛОНОСИТЕЛЕМ
(57) Реферат:
Изобретение относится к области теплоэнергетики и может быть использовано в качестве энергетической установки для объектов специального назначения, например для специальных фортификационных сооружений, подводных технических средств и мобильных комплексов. Зарядка теплового аккумулятора происходит за счет энергии, подводимой через замкнутый газовый контур от источника теплоты. Циркуляция газового теплоносителя, например гелия, в замкнутом контуре осуществляется с помощью компрессора. Теплота от теплоаккумулирующего вещества через стенки аккумулятора передается стенкам нагревателя двигателя Стирлинга, что приводит к постепенному повышению температуры и давления в рабочем контуре двигателя Стирлинга и его пуску. При работе двигателя Стирлинга механическая энергия преобразуется в электрическую с помощью электрогенератора. Для охлаждения двигателя Стирлинга используется холодильник, через который подается охлаждающая среда. Достигаемый технический результат – повышение надежности энергетической установки с двигателем Стирлинга и снижение ее стоимости. 1 ил.

Изобретение относится к области теплоэнергетики и может быть использовано в качестве энергетической установки для объектов специального назначения, например для специальных фортификационных сооружений, подводных технических средств и мобильных комплексов.
Известно устройство двигателя Стирлинга, состоящего из нагревателя, регенератора, холодильника и поршневой группы (Батырев А.Н., Кошеваров В.Д., Лейкин О.Ю. Корабельные ядерные энергетические установки зарубежных стран. – СПб., Судостроение, 1994, стр.205).
Известна энергоустановка с двигателем Стирлинга и водородсодержащим топливом, включающая в себя двигатель Стирлинга и теплоиспользующую холодильную машину (Патент РФ № 2169319, F 25 В 27/02, Бюл. № 17 от 20.06.2001). Однако в данной установке используется дорогостоящие водородное топливо и камера сгорания с катализатором.
Известна энергохолодильная система с двигателем Стирлинга, использующая в качестве источника теплоты реакцию окисления магния (Патент РФ №2214566, F 25 В 27/02, Бюл. № 29 от 20.10.2003). Однако для начала реакции окисления магния и выделения теплоты требуются наличие окислителя, а в результате реакции образуются окислы магния, которые необходимо удалять.
Известны тепловые аккумуляторы с различными теплоаккумулирующими веществами (TAB), например, твердыми, плавящимися и т.д. (Левенберг В.Д., Ткач М.Р., Гольстрем В.А. Аккумулирование тепла. – Киев: Техника, 1991. – Стр. 49-59). Состав TAB выбирается в зависимости от вида энергии, предназначенного для зарядки теплоаккумулирующего вещества.
Известна энергетическая установка с двигателем Стирлинга и источником теплоты, выполненный в виде теплового аккумулятора с теплоаккумулирующим веществом, соединенные между собой с помощью тепловой трубы (Левенберг В.Д., Ткач М.Р., Гольстрем В.А. Аккумулирование тепла. – Киев: Техника, 1991. – Стр. 38-41). Однако использование тепловой трубы с жидкометаллическим теплоносителем значительно увеличивает стоимость установки и снижает надежность ее работы.
Технический результат, который может быть получен при осуществлении изобретения, заключается в повышении надежности энергетической установки с двигателем Стирлинга и снижении ее стоимости.
Для достижения данного технического результата энергетическая установка на основе двигателя Стирлинга с тепловым аккумулятором и промежуточным теплоносителем, включающая в себя двигатель Стирлинга, источник теплоты, и промежуточный контур с теплоносителем, связывающим источник теплоты и двигатель Стирлинга, снабжена электрогенератором на одном валу с двигателем Стирлинга, при этом тепловой аккумулятор установлен непосредственно на нагреватель двигателя Стирлинга, а промежуточный контур с теплоносителем выполнен в виде замкнутого газового контура, связывающего источник теплоты с тепловым аккумулятором.
Введение в состав энергетической установки на основе двигателя Стирлинга электрогенератора на одном валу с двигателем Стирлинга, теплового аккумулятора, установленного непосредственно на нагреватель двигателя Стирлинга, и промежуточный контур с теплоносителем, выполненного в виде замкнутого газового контура, связывающего источник теплоты с тепловым аккумулятором, позволяет получить новое свойство, заключающееся в возможности замены дорогой тепловой трубы с жидкометаллическим теплоносителем на более дешевый газовый контур и более эффективной передачи теплоты от теплового аккумулятора к двигателю.
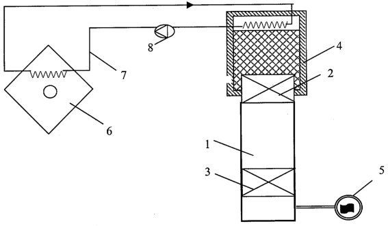
На чертеже изображена энергетическая установка на основе двигателя Стирлинга с тепловым аккумулятором и промежуточным теплоносителем.
Энергетическая установка в своем составе имеет двигатель Стирлинга 1 с нагревателем 2 и холодильником 3, тепловой аккумулятор 4 с теплоаккумулирующим веществом и электрогенератор 5. Тепловой аккумулятор 4 связан с источником теплоты 6 с помощью замкнутого газового контура 7, включающего в свой состав компрессор 8. Корпус теплового аккумулятора 4 конструктивно связан с нагревателем 2 двигателя Стерлинга 1.
Энергетическая установка на основе двигателя Стирлинга работает следующим образом.
Зарядка теплового аккумулятора 4 происходит за счет энергии, подводимой через замкнутый газовый контур 7 от источника теплоты 6. В качестве источника теплоты может быть использована тепловая энергия от отработанных газов котельных, горения органических веществ, термитов и т.д. Циркуляция газового теплоносителя, например гелия, в замкнутом контуре 7 осуществляется с помощью компрессора 8. Теплота от теплоаккумулирующего вещества через стенки аккумулятора 4 передается стенкам нагревателя 2 двигателя Стирлинга 1, что приводит к постепенному повышению температуры нагревателя 2 и, соответственно, нагреву рабочего тела, используемого в самом двигателе Стирлинга 1. С повышением температуры рабочего тела в нагревателе 2 происходит постепенное повышение давления в рабочем контуре двигателя Стирлинга 1 и его пуск. При работе двигателя Стирлинга 1 механическая энергия преобразуется в электрическую с помощью электрогенератора 5. Для охлаждения двигателя Стирлинга 1 используется холодильник 3, через который подается охлаждающая среда.
Источники информации
1. Батырев А.Н., Кошеваров В.Д., Лейкин О.Ю. Корабельные ядерные энергетические установки зарубежных стран. – СПб.: Судостроение, 1994, стр. 205.
2. Патент РФ № 2169319, F 25 В 27/02, Бюл. № 17 от 20.06.2001.
3. Патент РФ №2214566, F 25 В 27/02, Бюл. № 29 от 20.10.2003.
4. Левенберг В.Д., Ткач М.Р., Гольстрем В.А. Аккумулирование тепла. – Киев.: Техника, 1991, – стр. 49-59.
5. Левенберг В.Д., Ткач М.Р., Гольстрем В.А. Аккумулирование тепла. – Киев.: Техника, 1991, – стр. 38-41 – прототип.
Формула изобретения
Энергетическая установка на основе двигателя Стирлинга с тепловым аккумулятором и промежуточным теплоносителем, включающая в себя двигатель Стирлинга, источник теплоты и промежуточный контур с теплоносителем, связывающий источник теплоты и двигатель Стирлинга, отличающаяся тем, что снабжена электрогенератором на одном валу с двигателем Стирлинга, при этом тепловой аккумулятор установлен непосредственно на нагреватель двигателя Стирлинга, а промежуточный контур с теплоносителем выполнен в виде замкнутого газового контура, связывающего источник теплоты с тепловым аккумулятором.
РИСУНКИ
MM4A – Досрочное прекращение действия патента СССР или патента Российской Федерации на изобретение из-за неуплаты в установленный срок пошлины за поддержание патента в силе
Дата прекращения действия патента: 10.03.2006
Извещение опубликовано: 10.12.2007 БИ: 34/2007
|
|