|
|
(21), (22) Заявка: 2004100903/03, 09.01.2004
(24) Дата начала отсчета срока действия патента:
09.01.2004
(45) Опубликовано: 27.06.2005
(56) Список документов, цитированных в отчете о поиске:
АГОШКОВ М.И. и др. Разработка рудных и россыпных месторождений. – М.: Госгортехиздат, 1962, с.221. SU 875046 А, 28.10.1981. SU 1659654 А1, 30.06.1991. SU 1775558 А1, 15.11.1992. SU 1700245 А1, 23.12.1991. SU 1026507 А1, 30.10.1986. SU 1737122 А1, 30.05.1992. SU 7544068 А, 09.08.1980. SU 1798500 А1, 30.10.1986. RU 2081319 С1, 10.06.1997.
Адрес для переписки:
346428, Ростовская обл., г. Новочеркасск, ул. Просвещения, 132, ЮРГТУ (НПИ), ОИС
|
(72) Автор(ы):
Шестаков В.А. (RU), Белодедов А.А. (RU), Мусукаев С.А. (RU), Игнатов М.В. (RU), Мусукаев А.С. (RU), Каган Г.Ф. (RU)
(73) Патентообладатель(и):
Государственное образовательное учреждение высшего профессионального образования “Южно-Российский государственный технический университет (Новочеркасский политехнический институт)” (RU)
|
(54) СПОСОБ РАЗРАБОТКИ ТОНКИХ И ВЕСЬМА ТОНКИХ КРУТО- И НАКЛОННОПАДАЮЩИХ МЕСТОРОЖДЕНИЙ
(57) Реферат:
Изобретение относится к горному делу и может быть использовано при разработке месторождений полезных ископаемых. В способе этаж делится на секции вытянутой вверх шестигранной формы и подготавливается проходкой полевого откаточного штрека. Из штрека под каждую секцию проходят заезды, из которых по полезному ископаемому проходят восстающие, предназначенные для разбуривания из них горизонтальными или наклонными скважинами и отбойки запасов секций. Выпуск отбитой горной массы осуществляется через торцы заездов. После выпуска горной массы из всех секций обрушается потолочина и выпускается также через торцы заездов. Изобретение направлено на уменьшение объемов трудоемких подготовительно-нарезных работ, снижение потерь и разубоживания полезных ископаемых, повышение интенсивности и безопасности горных работ. 2 ил.

Изобретение относится к горно-добывающей промышленности и может быть использован при разработке круто- и наклоннопадающих весьма тонких и тонких месторождений полезных ископаемых.
Известен способ разработки жильных месторождений системой с магазинированием руды (см., например, “Разработка месторождений полезных ископаемых Казахстана”. Том 1. “Разработка рудных месторождений”. М., Госгортехиздат, 1963 г., стр.317, рис.150. Система с магазинированием руды), при котором блоки подготавливаются проходкой откаточного штрека, из которого проходятся ниши, дучки и воронки или сооружаются по всей длине блока погрузочные полки. Отработка камеры начинается с образования подсечки и послойной выемки, при этом рабочие находятся на замагазинированной рудной массе. Для доступа в магазин используются восстающие и ходки, пройденные в междукамерных целиках. По мере отбойки осуществляется частичный выпуск руды через выработки днища. После отбойки камерных запасов и выпуска руды из камер обрушаются междукамерные целики и потолочины. Недостатками данного способа являются: 1) огромный объем подготовительно-нарезных работ, 2) большие потери и разубоживание руды, особенно при выемке междукамерных целиков и потолочин, 3) низкая интенсивность проходческих и очистных работ, 4) объемы вынимаемой при отбойке камерных запасов породы в несколько раз больше объемов жильной массы, 5) опасность нахождения людей в очистном пространстве. В магазине шириной 1-1,2 м отбивается горная масса слоями высотой 2-2,5 м. При этом рабочие находятся в очистном пространстве на замагазинированной руде, подвергаясь опасности обрушений боковых пород и руды, а также замагазинированной рудной массы. При разработке рудных жил мощностью от 0,2 до 0,5 м объемы добываемой таким способом рудной массы в несколько раз больше объемов жильной массы, а доля разубоживающих пород достигает от 0,5-0,6 до 0,8-0,83. Поэтому доля руды в этой рудной массе составляет всего лишь от 0,17 до 0,45. Основные затраты идут на добычу и переработку породы. К тому же большое разубоживание приводит к снижению извлечения металлов при обогащении на 15-16%, а содержания в концентратах – на 5-8%.
Известен также способ разработки тонких жил системой подэтажных штреков, принятый за прототип (см., например, Агошков М.И., Борисов С.С., Боярский В.А. “Разработка рудных и россыпных месторождений”. М., Госгортехиздат, 1962, с.221, рис.116. Выемка из подэтажных передовых забоев), который применялся при разработке жилы мощностью от 8-10 см до 20-30 см. При этом способе этаж высотой 30-40 м разделяли на блоки длиной 50 м. Подготовку блока осуществляли проходкой откаточных штреков по жиле на уровне основного горизонта. Из штрека днище блока подготавливали, как обычно, серией дучек и воронок, образованием подсечки, а для отбойки запасов из пройденного по центру камеры по руде с подрывкой пород висячего бока восстающего проходили несколько подэтажных штреков сечением 2×0,8 м2 через каждые 6,5-7,5 м. Из штреков бурили вверх и вниз шпуры для отбойки запасов камеры. Отбитую рудную массу выпускали через выработки днища. Недостатки данного способа заключаются в том, что необходимо выполнять огромный объем подготовительно-нарезных работ практически по породе, особенно для проходки выработок днища, из-за чего очень велико разубоживание руды со всеми вытекающими последствиями для результатов добычи и обогащения. Рабочим приходится находиться в штреках очень малого сечения и передвигаться по ним к восстающему под угрозой обрушений из открытого очистного пространства вышерасположенных отбитых подэтажей. Ограниченное сечение подэтажных штреков не позволяет применять высокопроизводительное оборудование, из-за чего низка производительность труда и интенсивность работ по подготовке запасов, а расположение восстающего и подэтажных штреков практически в открытом очистном пространстве создает опасность для работающих.
Изобретение направлено на уменьшение объемов трудоемких подготовительно-нарезных работ, снижение потерь и разубоживания полезных ископаемых, повышение интенсивности и безопасности горных работ, за счет того, что разработка месторождений малой мощности включает разделение этажа на секции вытянутой вверх шестигранной формы, проведение откаточных штреков и восстающих, отличается тем, что этаж делится на секции (камеры) без оставления междукамерных целиков и подготавливается проходкой полевого откаточного штрека, из штрека под каждую секцию проходят заезды, из которых по полезному ископаемому проходят восстающие, предназначенные для разбуривания из них горизонтальными или наклонными скважинами и отбойки запасов секций (камер), при этом выпуск отбитой горной массы осуществляется через торцы заездов, а после выпуска горной массы из всех секций (камер) обрушается потолочина и выпускается также через торцы заездов.
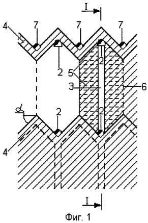
Сущность изобретения представлена на чертежах, где фиг.1 – проекция на вертикальную плоскость способа разработки, фиг.2 – вертикальный разрез по линии I-I.
Способ разработки тонких и весьма тонких круто- и наклоннопадающих месторождений полезных ископаемых осуществляется следующим образом. Запасы смежных этажей делятся на секции вытянутой вверх шестигранной формы со смещением на половину ширины секции на каждом смежном этаже. Углы наклона нижних частей камер должны быть больше углов естественного откоса отбитой горной массы. Подготовка каждого этажа осуществляется проходкой полевого откаточного штрека (1) в лежачем боку, из которого под каждую секцию проходят короткие заезды (2). Из заездов подготавливаемого этажа проходят (при необходимости с прихватом породы) восстающие (3) на всю высоту секции до оставляемого на вышерасположенном этаже потолочного целика зигзагообразной формы (4). Между секциями (камерами) целики не оставляют. Отбойку основных запасов (секций) камер осуществляют из восстающих (3) путем бурения горизонтальных или наклонных скважин (5) и взрывания их поочередно снизу вверх. Нижнюю часть секций отбивают либо системой с магазинированием, либо взрыванием веера скважин (6), пробуриваемых из заезда (2) основного горизонта (1). Из откаточного штрека верхнего горизонта (этажа) проходят заезды (7) до восстающих для обеспечения безопасного доступа к месту бурения и взрывания скважин после отбойки запасов нижней части секции (камеры). Отбитая горная масса выпускается через торец заезда (2) основного горизонта откаточного штрека (1). После выпуска рудной массы из всех секций (камер) практически получается одна большая камера без междукамерных целиков. После чего из заездов вышерасположенного этажа (7) разбуривается и обрушается междуэтажный целик-потолочина (4). Благодаря такому способу разработки резко снижаются объемы проходческих работ, в том числе по породе, повышается интенсивность подготовительных и очистных работ, снижаются потери (особенно за счет ликвидации междукамерных целиков) и разубоживание полезных ископаемых за счет уменьшения выемочной мощности и объемов проходки выработок. В результате резко увеличивается производственная мощность горного предприятия и обогатительной фабрики и снижаются капитальные и эксплуатационные затраты на добычу и обогащение в расчете на конечную продукцию. Кроме этого, резко повышается безопасность работ, поскольку рабочие постоянно находятся в надежно закрепленных выработках (в восстающих и заездах).
Формула изобретения
Способ разработки тонких и весьма тонких круто- и наклоннопадающих месторождений, включающий разделение этажа на секции вытянутой вверх шестигранной формы, проведение откаточных штреков и восстающих, отличающийся тем, что этаж делят на секции и подготавливают проходкой полевого откаточного штрека, из штрека под каждую секцию проходят заезды, из которых по полезному ископаемому проходят восстающие, предназначенные для разбуривания из них горизонтальными или наклонными скважинами и отбойки запасов секций, при этом выпуск отбитой горной массы осуществляют через торцы заездов, а после выпуска горной массы из всех секций обрушают потолочину и выпускают также через торцы заездов.
РИСУНКИ
MM4A Досрочное прекращение действия патента Российской Федерации на изобретение из-за неуплаты в установленный срок пошлины за поддержание патента в силе
Дата прекращения действия патента: 10.01.2006
Извещение опубликовано: 27.01.2007 БИ: 03/2007
|
|