|
|
(21), (22) Заявка: 2004131186/03, 25.10.2004
(24) Дата начала отсчета срока действия патента:
25.10.2004
(45) Опубликовано: 27.06.2005
(56) Список документов, цитированных в отчете о поиске:
SU 1613587 A1, 15.12.1990. SU 775298 A, 30.10.1980. RU 2211311 C2, 27.08.2003. RU 2084625 C1, 20.07.1997. RU 2136856 C1, 10.09.1999. RU 2161698 C2, 10.01.2001. US 5458199 A, 17.10.1995. US 5211241 A, 18.05.1993. МУРАВЬЕВ В.М. Справочник мастера по добыче нефти. – М.: Недра, 1985, с. 164.
Адрес для переписки:
423236, Республика Татарстан, г. Бугульма, ул. Гоголя, 66, кв.78, Р.Г. Габдуллину
|
(72) Автор(ы):
Габдуллин Р.Г. (RU), Салахов М.М. (RU), Хузин Р.Р. (RU), Тимиров В.С. (RU)
(73) Патентообладатель(и):
Салахов Минзагит Мукатдисович (RU)
|
(54) СКВАЖИННАЯ УСТАНОВКА ДЛЯ СОВМЕСТНО-РАЗДЕЛЬНОЙ ЗАКАЧКИ И ОТБОРА ЖИДКОСТИ ПО ПЛАСТАМ
(57) Реферат:
Изобретение применяют при совместно-раздельной закачке и отборе жидкости из относительно неглубоких продуктивных пластов. Обеспечивает упрощение конструкции, монтажа и запакеровки, повышение надежности и долговечности. Сущность изобретения: устройство содержит колонну подъемных труб, распределитель потока, верхний и нижний пакеры, каждый из которых включает корпус и эластичную манжету. Согласно изобретению распределитель потока выполнен в виде переходника с продольными радиальными каналами. Устройство имеет центральную трубку, соединенную с нижней частью переходника. Каналы и трубка сообщают межтрубное пространство выше верхнего пакера со стволом скважины ниже нижнего пакера. Каждый пакер снабжен дорном и опорной муфтой, в последнюю из которых входит его корпус с возможностью продольного перемещения и соединенный с нею срезными элементами. Имеется патрубок, соединенный верхним концом с опорной муфтой верхнего пакера, а нижним концом – с промежуточной трубой или трубами с разъемным соединением, связывающими верхний пакер с нижним. Патрубок выполнен с внутренним разобщающим кольцом и выше его – радиальными каналами, сообщающими внутреннее пространство подъемных труб через продольные каналы переходника со стволом скважины между верхним и нижним пакерами. Нижний конец центральной трубки входит в разобщающее кольцо патрубка. Имеется опорная труба или трубы с фильтром, соединенные с опорной муфтой нижнего пакера. 2 ил.

Изобретение относится к нефтедобывающей промышленности и предназначено для разработки и эксплуатации относительно неглубоких продуктивных пластов, а именно для закачки жидкости в нижний продуктивный пласт и отбора продукции из верхнего продуктивного пласта.
Известна установка для одновременной раздельной разработки нескольких эксплуатационных объектов, содержащая колонну подъемных труб с одним или несколькими пакерами. Установка оснащена секциями, включающими в себя скважинную камеру и ниппель с размещенным в них клапаном, регулирующим поток. Последний выполнен в виде регулятора перепада давления потока или клапана-штуцера или в виде съемного регулятора двухстороннего действия. Установка оснащена дополнительно колонной труб (Патент РФ №2211311, кл. 7 Е 21 В 43/14, 2003).
Недостатки установки:
сложность конструкции, обусловленная тем, что она предусматривает применение подвесных пакеров, которые воздействием плашек при использовании в старых скважинах способны разрушить обсадную колонну;
– использование двухколонной конструкции, что резко повышает затраты и снижает эксплуатационные возможности скважины;
– невозможность использования скважинных насосов.
Наиболее близким по технической сущности к предлагаемому является оборудование для совместно-раздельной закачки и отбора жидкости по пластам, содержащее колонну подъемных труб, верхний и нижний пакеры, каждый из которых включает корпус, эластичную манжету и распределитель потока (а.с. №1613587, кл. Е 21 В 43/14, 1990).
Недостатки устройства:
– сложность конструкции, а отсюда высокая металлоемкость;
– наличие трубки (поз.18), соединяющей дополнительную емкость с разделительной, усложняет монтаж оборудования в скважине, особенно в горизонтальной;
– сложность в системе запакеровки, обусловленная применением груза в качестве привода, что невозможно использовать вообще в наклонных и горизонтальных скважинах;
– невозможность обеспечить герметичность пакеров на длительный срок.
Задачей изобретения является создание установки упрощенной конструкции, отличающейся простотой в части монтажа и запакеровки, надежностью и долговечностью.
Указанная задача решается предлагаемой установкой для совместно-раздельной закачки и отбора жидкости по пластам, содержащей колонну подъемных труб, распределитель потока, верхний и нижний пакеры, каждый из которых включает корпус и эластичную манжету.
Новым является то, что распределитель потока выполнен в виде переходника, снабженного продольными каналами, а также радиальными каналами и центральной трубкой, соединенной с нижней частью переходника, сообщающими межтрубное пространство выше верхнего пакера со стволом скважины ниже нижнего пакера; каждый пакер снабжен дорном и опорной муфтой, в последнюю из которых входит его корпус с возможностью продольного перемещения и соединенный с нею срезными элементами; снабжена патрубком, соединенным верхним концом с опорной муфтой верхнего пакера, а нижним концом – с промежуточной трубой или трубами с разъемным соединением, связывающими верхний пакер с нижним, причем патрубок выполнен с внутренним разобщающим кольцом и выше его радиальными каналами, сообщающими внутреннее пространство подъемных труб через продольные каналы переходника со стволом скважины между верхним и нижним пакерами; нижний конец центральной трубки входит в разобщающее кольцо патрубка; снабжена опорной трубой или трубами с фильтром, соединенными с опорной муфтой нижнего пакера.
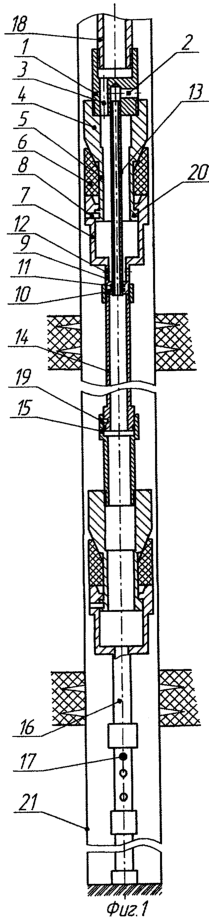
На фиг.1 изображена предлагаемая установка в продольном разрезе, спущенная в скважину.
На фиг.2 – то же самое после запакеровки в процессе эксплуатации скважины.
Скважинная установка (фиг.1) включает в себя распределитель потока 1, выполненный в виде переходника с радиальными 2 и продольными каналами 3, которые не соединяются друг с другом.
В установку входят два пакера: верхний и нижний аналогичной конструкции и состоят из дорна 4, корпуса 5, эластичной манжеты 6 и опорной муфты 7. Корпус 5 в опорной муфте 7 установлен с возможностью продольного перемещения и соединен с нею срезными элементами 8. Ниже опорной муфты 7 верхнего пакера находится патрубок 9, снабженный изнутри разобщающим кольцом 10 с уплотнением 11 и радиальными каналами 12. Снизу к переходнику 1 подсоединена центральная трубка 13, которая своим нижним концом входит в разобщающее кольцо 10. Патрубок 9 соединен с промежуточной трубой или трубами 14 с разъемным соединением 15. Последние, в свою очередь, соединены с дорном 4 нижнего пакера, опорная муфта 7 которого связана с опорной трубой или трубами 16, снабженными фильтром 17.
В подъемных трубах 18 над распределителем потока 1 устанавливают замковую опору для вставного глубинного насоса (не показано).
Оборудование установки на подъемных трубах 18 спускают в скважину с таким расчетом, чтобы нижний пакер находился выше нижнего продуктивного пласта, а верхний пакер – выше верхнего продуктивного пласта, а опорная труба или трубы 16 с фильтром 17 уперлись на забой. Инструмент разгружают, срезные элементы 8 и 19 соответственно пакеров и разъемного соединения разрушаются, и дорн 4 под воздействием вертикальной нагрузки опускается вниз до упора кольцевых уступов 20 в нижнюю часть опорных муфт 7. При этом эластичные манжеты 6 пакеров расширяются и плотно прижимаются к стенкам обсадной колонны 21.
Устье скважины герметизируют, в подъемные трубы 18 на штангах спускают глубинный вставной насос и осуществляют закачку воды по межтрубному пространству через радиальные каналы 2 распределителя потока 1, центральную трубку 13, промежуточную трубу или трубы 14 и опорную трубу или трубы 16 в нижний продуктивный пласт и добычу нефти из верхнего продуктивного пласта через радиальные каналы 12, кольцевое пространство 22 (фиг.2) верхнего пакера, продольные каналы 3 распределителя потока и подъемные трубы 18.
Предлагаемая установка значительно проще по конструкции, чем известная. В связи с этим упрощены ее монтаж и запакеровка. Дорнирующие элементы обеспечивают надежность и долговечность герметизации пакерующих узлов.
Формула изобретения
Скважинная установка для совместно-раздельной закачки и отбора жидкости по пластам, содержащая колонну подъемных труб, распределитель потока, верхний и нижний пакеры, каждый из которых включает корпус и эластичную манжету, отличающаяся тем, что распределитель потока выполнен в виде переходника, снабженного продольными каналами, а также радиальными каналами и центральной трубкой, соединенной с нижней частью переходника, сообщающими межтрубное пространство выше верхнего пакера со стволом скважины ниже нижнего пакера; каждый пакер снабжен дорном и опорной муфтой, в последнюю из которых входит его корпус с возможностью продольного перемещения и соединенный с нею срезными элементами; снабжена патрубком, соединенным верхним концом с опорной муфтой верхнего пакера, а нижним концом – с промежуточной трубой или трубами с разъемным соединением, связывающими верхний пакер с нижним, причем патрубок выполнен с внутренним разобщающим кольцом и выше его радиальными каналами, сообщающими внутреннее пространство подъемных труб через продольные каналы переходника со стволом скважины между верхним и нижним пакерами; нижний конец центральной трубки входит в разобщающее кольцо патрубка; снабжена опорной трубой или трубами с фильтром, соединенными с опорной муфтой нижнего пакера.
РИСУНКИ
MM4A – Досрочное прекращение действия патента СССР или патента Российской Федерации на изобретение из-за неуплаты в установленный срок пошлины за поддержание патента в силе
Дата прекращения действия патента: 26.10.2006
Извещение опубликовано: 20.02.2008 БИ: 05/2008
|
|