|
|
(21), (22) Заявка: 2003127074/03, 23.01.2002
(24) Дата начала отсчета срока действия патента:
23.01.2002
(30) Конвенционный приоритет:
06.02.2001 GB 0102914.9
(43) Дата публикации заявки: 10.03.2005
(45) Опубликовано: 27.06.2005
(56) Список документов, цитированных в отчете о поиске:
SU 1661378 А, 07.07.1991. SU 114579 А, 01.01.1958. SU 58969 А, 31.01.1941. RU 2100761 С1, 27.12.1997. RU 2062439 С1, 20.06.1996. US 4619333 A, 28.10.1986. US 4185702 A, 29.01.1980. US 2946283 A, 26.07.1960. ФРИДЛЯНДЕР Л.Я. Прострелочно-взрывная аппаратура и ее применение в скважинах. – М.: Недра, 1985, с.17-24.
(85) Дата перевода заявки PCT на национальную фазу:
08.09.2003
(86) Заявка PCT:
GB 02/00275 (23.01.2002)
(87) Публикация PCT:
WO 02/063134 (15.08.2002)
Адрес для переписки:
129010, Москва, ул. Б.Спасская, 25, стр.3, ООО “Юридическая фирма Городисский и Партнеры”, пат.пов. Г.Б. Егоровой
|
(72) Автор(ы):
БУРН Брайан (GB)
(73) Патентообладатель(и):
КВИНЕТИК ЛИМИТЕД (GB)
|
(54) ПЕРФОРАТОР ДЛЯ НЕФТЯНОЙ СКВАЖИНЫ (ВАРИАНТЫ) И СПОСОБ ОДНОВРЕМЕННОГО ПРОБИВАНИЯ ПЕРФОРАЦИОННЫХ ОТВЕРСТИЙ В ОБСАДНОЙ ТРУБЕ НЕФТЯНОЙ СКВАЖИНЫ И В ОБЛАСТИ, ОКРУЖАЮЩЕЙ НЕФТЯНУЮ СКВАЖИНУ (ВАРИАНТЫ)
(57) Реферат:
Изобретение относится к области нефтяных скважин, а именно к устройствам для перфорирования обсадных труб. Обеспечивает одновременное пробивание больших и глубоких перфорационных отверстий с минимальным фугасным воздействием на обсадные трубы и бетон. Сущность изобретения: перфоратор содержит линейный режущий заряд, инициирующее средство для детонации режущего заряда. Перфоратор так же содержит, по меньшей мере, один кумулятивный заряд с инициирующим средством. Линейный режущий заряд выполнен для вырезания перфорационного отверстия в обсадной трубе. Кумулятивный заряд выполнен для создания глубоко проникающей струи, проходящей через перфорационное отверстие в обсадной трубе. Согласно второму варианту изобретения в качестве режущего заряда использован кумулятивный. Согласно способу одновременно пробивают перфорационные отверстия в обсадных трубах и в области, окружающей нефтяную скважину. Для этого помещают скважинный перфоратор по одному из вариантов устройства в нефтяную скважину в место, где необходимо пробить перфорационное отверстие, и инициируют детонацию перфоратора. 4 н. и 8 з.п. ф-лы, 4 ил.

Настоящее изобретение относится к области нефтяных скважин и, в частности, к взрывным и другим устройствам, которые используются для перфорирования обсадных труб нефтяной скважины и содержащих углеводороды пластов для создания каналов, по которым нефть и газ могут протекать в ствол скважины.
Металлические обсадные трубы и ствол скважины окружены бетоном, который, в свою очередь, входит в контакт с содержащими углеводороды пластами. Перфораторы для нефтяных скважин обычно перфорируют обсадные трубы скважин одним из двух путей. Перфораторы для пробивания глубоких перфорационных отверстий предназначены для глубокого перфорирования сквозь металлические обсадные трубы и бетон в содержащие углеводороды пласты. Перфораторы для пробивания больших перфорационных отверстий предназначены для пробивания больших перфорационных отверстий только в обсадных трубах.
Существующие перфораторы спускают в колонну обсадных труб нефтяной скважины, устанавливая их в корпус, при этом каждый раз могут использоваться сотни перфораторов.
Как перфораторы для пробивания глубоких перфорационных отверстий, так и перфораторы для пробивания больших перфорационных отверстий используются в форме кумулятивного заряда. В наиболее распространенной конфигурации кумулятивный заряд состоит из цилиндрической трубчатой оболочки, содержащей полый металлический вкладыш, установленный так, что его ось симметрии совпадает с осью оболочки. Наиболее распространена коническая конфигурация вкладыша, хотя могут использоваться другие геометрические формы, такие как полусферы или воронки. Основание вкладыша находится на конце цилиндра, обращенном к цели, и взрывчатое вещество заложено в оболочку и вокруг вкладыша. Когда взрывчатое вещество детонирует в конце цилиндра, удаленном от цели, фронт детонационной волны увлекает вкладыш, вызывая его смятие и создавая высокоскоростную струю из материала вкладыша, которая направлена на цель. С историей создания кумулятивных зарядов можно ознакомиться в публикации “Основы создания кумулятивных зарядов” (Fundamentals of Shaped Charges) авторов Walters W.P. и Zukas J.A. (стандартный международный номер книги 0-471-62172-2 (1989)).
В авторском свидетельстве СССР 1661378 раскрыт комбинированный перфоратор для вскрытия нефтяных и газовых скважин, содержащий герметичный корпус, в котором перпендикулярно его оси размещены соосно по меньшей мере один пулевой ствол с расположенной у его дульного среза пулей и с пороховым зарядом, расположенным у его донной части, и по меньшей мере один кумулятивный заряд, размещенный у дульного среза пулевого ствола и соединенный детонирующим шнуром с инициирующим средством. Кумулятивный заряд является первичным перфорирующим средством, а пороховой заряд является вторичным перфорирующим средством. В этом перфораторе детонация кумулятивного заряда создает проникающую струю в скважину и нефтесодержащий пласт, окружающий скважину. Последующая детонация порохового заряда приводит к вылету пули из ствола в скважину для обеспечения дальнейшей перфорации скважины. В этом случае комбинация струи и действия пуль приводит к увеличению глубины перфорации и/или разрыву пласта.
Полые вкладыши, используемые в перфораторах для пробивания больших перфорационных отверстий, имеют в целом параболическую форму и изготовляются из латуни, состоящей из 60% меди и 40% цинка. В вершине вкладыша выполнено отверстие, которое способствует формированию струи большого диаметра (большего, чем если бы поверхность вкладыша была сплошной, включая вершину). Для типичных диаметров труб (в пределах 100 мм) перфораторы для пробивания больших отверстий имеют диаметр, составляющий приблизительно 42 мм, при этом диаметр отверстия в вершине вкладыша составляет 10 мм. Такая конфигурация способна выполнять отверстие в обсадной трубе нефтяной скважины размером приблизительно 20-25 мм.
Недостатком перфораторов на основе кумулятивных зарядов является то, что геометрия кумулятивного заряда не позволяет выполнить отверстие размером, превышающим диаметр заряда. Таким образом, перфораторы для пробивания больших перфорационных отверстий на основе кумулятивных зарядов могут создавать перфорационное отверстие ограниченного размера (большие перфорационные отверстия можно создавать механическим способом посредством, например, фрезерования или расточки, но эти способы трудоемки и дороги).
Кумулятивные заряды, используемые в перфораторах для пробивания глубоких перфорационных отверстий, в отличие от перфораторов для пробивания больших перфорационных отверстий не имеют отверстий в вершине вкладыша. От этих перфораторов требуется получение узкой высокоскоростной кумулятивной струи для глубокого перфорирования обсадной трубы, бетона и содержащего углеводороды пласта. Перфораторы для пробивания глубоких перфорационных отверстий должны иметь низкую стоимость и подлежать широкомасштабному производству.
Очевидно, что разные геометрии кумулятивных зарядов перфораторов для пробивания глубоких и больших перфорационных отверстий обычно делают неосуществимым использование одного заряда для получения обоих эффектов одновременно. Однако наибольших потоков нефти и газа можно добиться получением большого перфорационного отверстия в обсадной трубе и одновременно глубокого перфорационного отверстия в обсадной трубе, бетоне и содержащем углеводороды пласте.
Таким образом, целью настоящего изобретения является создание скважинного перфоратора “двойного действия”, который по существу способен выполнять функции как перфоратора для пробивания глубоких перфорационных отверстий, так и перфоратора для пробивания больших перфорационных отверстий с минимальным фугасным воздействием на обсадную трубу и бетон.
Этот технический результат достигается тем, что тандемный скважинный перфоратор, согласно первому варианту его выполнения, содержит основание, линейный режущий заряд, расположенный на основании, первое инициирующее средство для вызова детонации режущего заряда, по меньшей мере один кумулятивный заряд с полым вкладышем, установленный в основание, второе инициирующее средство для вызова детонации кумулятивного заряда с полым вкладышем, при этом основание, режущий заряд и по меньшей мере один кумулятивный заряд приспособлены для расположения в нефтяной скважине и выполнены так, что при применении детонация режущего заряда, вызванная первым инициирующим средством, вырезает перфорационное отверстие в обсадной трубе нефтяной скважины, и детонация по меньшей мере одного кумулятивного заряда, вызванная вторым инициирующим средством, создает глубоко проникающую струю или струи, проходящие через перфорационное отверстие в обсадной трубе.
Основанием должно быть любое пригодное средство для удерживания зарядов таким образом, чтобы не создавать помех их действию. Например, заряды могут удерживаться хрупким основанием, которое разрушается при детонации зарядов. В альтернативном варианте может использоваться обычная система развертывания перфоратора, распространенная в нефтяной и газовой промышленности. Такие перфорирующие системы достаточно прочны и извлекаются из ствола скважины после взрывания зарядов. Другой альтернативой может быть так называемая “полнопоточная перфорирующая система”. Такая перфорирующая система может быть приспособленной для ее разрушения при взрывании зарядов по существу таким же образом, как указанное выше хрупкое основание.
В случае применения хрупкого основания основание должно быть достаточно хрупким, чтобы после детонации режущего заряда и кумулятивного заряда (зарядов) оно разрушалось и обломки падали вниз в трубе нефтяной скважины. Таким образом, предпочтительно, основание изготовляют из пористого керамического материала. Такие материалы относительно легки и легко допускают механическую обработку, таким образом позволяя выполнять выемки сложной конфигурации, создаваемые для удерживания режущего заряда/кумулятивного заряда (зарядов). Такие материалы также достаточно прочны для обеспечения спуска в трубу. Примером пригодного керамического материала является материал AL 203, производимый во Франции фирмой Friatec DPL.
Согласно настоящему изобретению, для перфорирования обсадных труб нефтяной скважины используются взрывные режущие заряды. Такими зарядами могут быть гибкие заряды линейной конфигурации, содержащие взрывчатое вещество, прессованное совместно с металлической или пластмассовой оболочкой (режущий заряд может быть в медной, серебряной или полимерной оболочке). Однако другие варианты выполнения взрывчатых режущих зарядов могут быть жесткими и предварительно отформованными с приданием им предпочтительной формы или конфигурации. Эти детонационные шнуры могут иметь любые размеры и им можно придавать любую требуемую конфигурацию. При применении эти заряды разрубают стенку обсадной трубы ствола скважины на куски, которые впоследствии не мешают работе в скважине.
Затем применяется кумулятивный заряд с полым вкладышем для глубокого перфорирования сквозь перфорационное отверстие в обсадной трубе, окружающий бетон и в содержащий углеводороды пласт. Основание может нести один или более этих кумулятивных зарядов в зависимости от требуемой глубины проникновения глубокого перфорационного отверстия. Если используется много кумулятивных зарядов, они могут быть удобно сформированы сфокусированной группой для создания большей пробивной силы.
Применение двух перфорационных зарядов в скважинной среде усиливает поток нефти и газа, а также облегчает другую деятельность, такую как развертывание инструментов и датчиков.
Целесообразно в перфораторе иметь средство для обеспечения небольшой временной задержки между детонацией режущего заряда и детонацией кумулятивного заряда (зарядов). Традиционно кумулятивный заряд взрывают посредством детонации взрывчатого вещества в той части кумулятивного заряда, которая удалена от цели. Таким образом, между срабатыванием первого и второго инициирующих средств обеспечивают небольшую временную задержку.
Однако детонацию кумулятивного заряда можно инициировать в обратном порядке, то есть заряд может детонировать посредством детонации взрывчатого вещества, расположенного в точках, наиболее близких к цели (в случае с коническим вкладышем это означает инициирование детонации по периферии основания конуса). Таким образом, если детонация кумулятивного заряда инициируется в обратном порядке, то первое инициирующее средство может удобно использоваться и в качестве второго инициирующего средства.
Внутренний диаметр кольца детонационного шнура (который образован расстоянием поперек раскрыва линейного заряда) может быть любым пригодным для данной толщины прорезаемого металла. Детонационные шнуры должны быть на пригодном постоянном расстоянии от прорезаемого металла, предпочтительно, составляющем около одной величины раскрыва.
Предпочтительно, кумулятивный заряд (заряды) должен быть облицован материалом, эффективным для пробивания бетона. Следует использовать медь или, предпочтительно, очень плотный материал, такой как богатый вольфрамом сплав. Однако в равной степени пригодны другие деформируемые или неспеченные прессованные порошковые материалы вкладыша, как металлические, так и неметаллические.
Изобретение можно устанавливать в многократно используемый перфоратор, подобный существующим системам.
Указанный результат достигается и тем, что способ одновременного пробивания перфорационных отверстий в обсадных трубах нефтяных скважин и в области, окружающей нефтяную скважину, содержит следующие операции:
помещение скважинного перфоратора, соответствующего настоящему изобретению, в нефтяную скважину в место, где необходимо пробить перфорационное отверстие; и
инициирование детонации скважинного перфоратора.
Указанный технический результат достигается и тем, что тандемный скважинный перфоратор, согласно второму варианту его выполнения, является комбинацией действующих совместно известного перфоратора для пробивания глубоких перфорационных отверстий и известного перфоратора для пробивания больших перфорационных отверстий и содержит основание, первый кумулятивный заряд с полым вкладышем, установленный в основании, первое инициирующее средство для вызова детонации первого кумулятивного заряда с полым вкладышем, второй кумулятивный заряд с полым вкладышем, установленный в основании, и второе инициирующее средство для вызова детонации второго кумулятивного заряда с полым вкладышем, при этом основание и кумулятивные заряды приспособлены для расположения в нефтяной скважине и выполнены таким образом, что при применении детонация первого кумулятивного заряда с полым вкладышем, вызванная первым инициирующим средством, обеспечивает вырезание перфорационного отверстия в обсадной трубе нефтяной скважины, и детонация второго кумулятивного заряда с полым вкладышем, вызванная вторым инициирующим средством, обеспечивает образование глубоко проникающей струи, проходящей через перфорационное отверстие в обсадной трубе, при этом детонация кумулятивных зарядов достаточно сильна для разрушения основания.
Согласно этому варианту выполнения тандемного скважинного перфоратора могут использоваться варианты выполнения основания, подобные описанным выше в связи с первым вариантом его выполнения.
Соответственно, способ одновременного пробивания перфорационных отверстий в обсадных трубах нефтяных скважин и в области, окружающей нефтяную скважину, содержит следующие операции:
помещение скважинного перфоратора, соответствующего второму варианту выполнения, в нефтяную скважину в место, где необходимо пробить перфорационное отверстие; и
инициирование детонации скважинного перфоратора.
Согласно этому варианту выполнения изобретения, сначала перфоратор для пробивания больших перфорационных отверстий прорезает перфорационное отверстие в обсадной трубе нефтяной скважины, и затем перфоратор для пробивания глубоких перфорационных отверстий пробивает глубокое перфорационное отверстие через перфорационное отверстие в обсадной трубе сквозь окружающий бетон и содержащий углеводороды пласт. Размеры типичных зарядов перфоратора говорят о том, что этот второй аспект изобретения предпочтительно осуществлять с трубами большего диаметра, имеющими диаметр в пределах 12 сантиметров и более.
Далее варианты выполнения скважинного перфоратора, соответствующего настоящему изобретению, будут описаны со ссылками на прилагаемые чертежи, на которых изображено следующее:
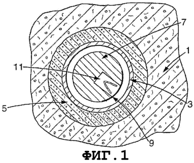
фиг.1 изображает вид тандемного скважинного перфоратора и нефтяной скважины в сечении;
фиг.2 изображает обсадную колонну нефтяной скважины и тандемный скважинный перфоратор с частичным вырезом;
фиг.3 изображает сечение нефтяной скважины после взрывания перфоратора;
фиг.4 изображает альтернативные способы инициирования детонации перфоратора.
На фиг.1 показана нефтяная скважина, пробуренная в содержащем углеводород пласте 1. Нефтяная скважина содержит металлическую обсадную трубу 3, которая окружена слоем 5 бетона, отделяющим ее от пласта 1.
Скважинный перфоратор содержит хрупкое основание 7, режущий заряд 9 и кумулятивный заряд 11 (детонаторы для режущего заряда и кумулятивного заряда не показаны).
На фиг.2 показан перспективный вид части металлической трубы 3, показанной на фиг.1 (следует отметить, что для обозначения одинаковых элементов использованы одинаковые ссылочные номера). В боковой стенке трубы вырезано окно 13 для показа конфигурации режущего заряда 9 на основании 7. Конфигурация режущего заряда 9 будет зависеть от необходимого перфорационного отверстия в металлической обсадной трубе 3. В данном случае, режущий заряд сформирован приблизительно в виде колеса со спицами. Кумулятивный заряд 11 можно видеть в центре указанного колеса.
При детонации режущего заряда 9, вызванной первым детонатором (не показан), в металлической обсадной трубе 3 будет прорезано перфорационное отверстие. Для показанной конфигурации будет сформировано перфорационное отверстие, подобное окну 13. После короткой временной задержки второй детонатор будет инициировать детонацию кумулятивного заряда 11, который пробьет бетон и породу за перфорационным отверстием в обсадной трубе. Обломки обсадной трубы 3 и основания упадут в скважину.
Инициирование детонации режущего заряда 9 будет сложной процедурой, но она должна быть рассчитана так, чтобы детонационный шнур периферии указанного колеса детонировал по существу одновременно.
На фиг.3 показан в сечении вид, соответствующий фиг.1, но после взрывания тандемного перфоратора. Фрагменты перфоратора и обсадной трубы упали в скважину и больше не видны. Детонация кумулятивного заряда вызвала образование глубокого перфорационного отверстия 15 в бетоне и в пласте.
На фиг.4 показаны различные пути инициирования перфоратора, показанного на фиг.1 и 2. Перфоратор содержит кумулятивный заряд 11 и детонационный шнур 9. В традиционном режиме срабатывания детонационный шнур будет детонировать первым будучи инициированным первым инициирующим средством (не показано) в точках 20. После короткой временной задержки вторым детонатором (не показан) в точке 22 будет инициирован кумулятивный заряд, образующий проникающую струю в направлении 24.
В альтернативном режиме срабатывания первый детонатор также действует в качестве второго детонатора. В этом случае тандемный перфоратор инициируется в точках 26. Это приводит к почти одновременной детонации детонационного шнура и инициированию кумулятивного заряда в обратном порядке. Это устраняет необходимость задания временной задержки между срабатыванием двух отдельных детонаторов.
Для специалиста в данной области будут очевидны другие способы конфигурирования режущего заряда и кумулятивного заряда.
Формула изобретения
1. Тандемный скважинный перфоратор, содержащий основание, линейный режущий заряд, расположенный на основании, первое инициирующее средство для детонации режущего заряда, по меньшей мере, один кумулятивный заряд с полым вкладышем, установленный в основание, второе инициирующее средство для вызова детонации кумулятивного заряда с полым вкладышем, при этом основание, режущий заряд и, по меньшей мере, один кумулятивный заряд приспособлены для расположения в нефтяной скважине и выполнены так, что при применении детонация режущего заряда, вызванная первым инициирующим средством, вырезает перфорационное отверстие в обсадной трубе нефтяной скважины, и детонация, по меньшей мере, одного кумулятивного заряда, вызванная вторым инициирующим средством, создает глубоко проникающую струю или струи, проходящие через перфорационное отверстие в обсадной трубе.
2. Тандемный скважинный перфоратор по п.1, в котором основание является хрупким.
3. Тандемный скважинный перфоратор по п.2, в котором хрупкое основание содержит пористый керамический материал.
4. Тандемный скважинный перфоратор по любому из пп.1-3, дополнительно содержащий средство для обеспечения небольшой временной задержки между детонацией режущего заряда и детонацией кумулятивного заряда.
5. Тандемный скважинный перфоратор по любому из пп.1-4, в котором первое инициирующее средство приспособлено дополнительно действовать в качестве второго инициирующего средства.
6. Тандемный скважинный перфоратор по любому из пп.1-5, в котором режущий заряд при применении расположен на, по существу, постоянном расстоянии от обсадной трубы нефтяной скважины.
7. Тандемный скважинный перфоратор по п.4, в котором режущий заряд при применении расположен на расстоянии от обсадной колонны, приблизительно равном величине его раскрытия.
8. Тандемный скважинный перфоратор по любому из пп.1-7, в котором материал вкладыша кумулятивного заряда содержит богатый вольфрамом сплав.
9. Способ одновременного пробивания перфорационных отверстий в обсадных трубах нефтяных скважин и в области, окружающей нефтяную скважину, содержащий следующие операции: помещение скважинного перфоратора по любому из пп.1-8 в нефтяную скважину в место, где необходимо пробить перфорационное отверстие, и инициирование детонации скважинного перфоратора.
10. Тандемный скважинный перфоратор, содержащий основание, первый кумулятивный заряд с полым вкладышем, установленный в основании, первое инициирующее средство для вызова детонации первого кумулятивного заряда с полым вкладышем, второй кумулятивный заряд с полым вкладышем, установленный в основании, и второе инициирующее средство для вызова детонации второго кумулятивного заряда с полым вкладышем, при этом основание и кумулятивные заряды приспособлены для расположения в нефтяной скважине и выполнены таким образом, что при применении детонация первого кумулятивного заряда с полым вкладышем, вызванная первым инициирующим средством, обеспечивает вырезание перфорационного отверстия в обсадной трубе нефтяной скважины, и детонация второго кумулятивного заряда с полым вкладышем, вызванная вторым инициирующим средством, обеспечивает образование глубоко проникающей струи, проходящей через перфорационное отверстие в обсадной трубе, при этом детонация кумулятивных зарядов достаточно сильна для разрушения основания.
11. Тандемный скважинный перфоратор по п.10, в котором основание хрупкое.
12. Способ одновременного пробивания перфорационных отверстий в обсадных трубах нефтяных скважин и в области, окружающей нефтяную скважину, содержащий следующие операции: помещение скважинного перфоратора по п.10 или 11 в нефтяную скважину в место, где необходимо пробить перфорационное отверстие, и инициирование детонации скважинного перфоратора.
РИСУНКИ
MM4A – Досрочное прекращение действия патента СССР или патента Российской Федерации на изобретение из-за неуплаты в установленный срок пошлины за поддержание патента в силе
Дата прекращения действия патента: 24.01.2010
Извещение опубликовано: 27.11.2010 БИ: 33/2010
|
|