Патент на изобретение №2254899

Published by on




РОССИЙСКАЯ ФЕДЕРАЦИЯ



ФЕДЕРАЛЬНАЯ СЛУЖБА
ПО ИНТЕЛЛЕКТУАЛЬНОЙ СОБСТВЕННОСТИ,
ПАТЕНТАМ И ТОВАРНЫМ ЗНАКАМ
(19) RU (11) 2254899 (13) C1
(51) МПК 7
B01D24/42
(12) ОПИСАНИЕ ИЗОБРЕТЕНИЯ К ПАТЕНТУ

Статус: по данным на 16.11.2012 – прекратил действие, но может быть восстановленПошлина: учтена за 6 год с 04.02.2009 по 03.02.2010

(21), (22) Заявка: 2004103541/15, 03.02.2004

(24) Дата начала отсчета срока действия патента:

03.02.2004

(45) Опубликовано: 27.06.2005

(56) Список документов, цитированных в отчете о
поиске:
RU 2058178 C1, 20.04.1996. SU 253749 A, 04.03.1970. SU 1558428 A1, 23.04.1990. GB 2233575 A, 16.01.1991. DE 4239293 А, 26.05.1994.

Адрес для переписки:

199034, Санкт-Петербург, В.О., Большой пр-кт, 36, ЗАО”Атомэнерго”, В.Н.Иванюку

(72) Автор(ы):

Богатов Сергей (LT),
Иванюк В.Н. (RU),
Кафанов Михаил (LT),
Сафронов Вадим (LT)

(73) Патентообладатель(и):

Иванюк Виктор Николаевич (RU)

(54) ФИЛЬТРУЮЩИЙ КОЛПАЧОК


(57) Реферат:

Изобретение относится к конструкциям дренажно-распределительных устройств в области фильтрации. Может использоваться в установках очистки газов, воды или других жидкостей в промышленности, энергетике и коммунальном хозяйстве. Сущность изобретения заключается в том, что в фильтрующем колпачке, содержащем корпус с закрепленными на нем плоскими кольцами с дистанционирующими элементами, расположенными под углом к радиусу кольца, дистанционирующие элементы выполнены в виде рифтов, а плоские кольца установлены таким образом, что рифты каждого последующего кольца имеют противоположное направление угла отклонения от радиуса кольца. Предложенные выполнение дистанционирующих элементов и установка колец позволили обеспечить увеличение срока службы устройства и повысить качество фильтрации при высоких динамических нагрузках. 3 ил.



Изобретение относится к конструкциям дренажно-распределительных устройств в области фильтрации и может быть использовано в установках очистки газов, воды или других жидкостей в промышленности, энергетике и коммунальном хозяйстве.

Работоспособность насыпных фильтров и продолжительность их фильтроциклов во многом определяется качеством отмывки и регенерации фильтрующего слоя, которое, в свою очередь, зависит от равномерности распределения промывной жидкости или регенеранта по сечению фильтра. Равномерность распределения обеспечивается конструкцией внутрикорпусного распределительного устройства (РУ) и дренажно-распределительного устройства (ДРУ). Применяемые на практике конструкции ДРУ можно условно разделить на сетчатые и тонкостенные щелевые.

Сетчатые конструкции (см., например, а.с. СССР №292349, 1971) подвержены забиванию дренажных отверстий измельчающимися в процессе работы частицами фильтрующего материала, особенно осколками зерен ионообменных смол. Это приводит к росту гидродинамического сопротивления сетчатой перегородки (и ДРУ в целом), что вызывает деформации и нарушение целостности конструкции.

Известен фильтр с дренажным элементом тонкостенного щелевого типа, колпачки которого имеют горизонтальное расположение плоской кольцевой щели (а.с. СССР №1509107, Кл. В 01 D 21/38, 1989). Кольцевая щель должна обеспечивать кольцевой поток (сток с колпачка) и равномерное распределение жидкости по периферии колпачка и по сечению фильтра.

Недостатком такой конструкции является сложность получения кольцевой щели одинаковой ширины, что приводит к протеканию жидкости преимущественно через участки щели с наибольшей шириной. На участках щелей с меньшей шириной образуются застойные зоны, в которых регенерация не происходит.

Наиболее близким техническим решением к заявляемому является щелевой колпачок по патенту России №2058178, Кл. B 01 D 24/38, 1996. Известное устройство содержит корпус с закрепленными на нем плоскими кольцами с дистанционирующими элементами, расположенными под углом к радиусу кольца и определяющими величину зазора между кольцами. Дистанционирующие элементы выполнены в виде кольцевого выступа. На кольцевом выступе под углом к радиусу кольца выполнены канавки, обеспечивающие вращательное движение и равномерное распределение в фильтре выходящего потока.

Практика показала, что подобные тонкостенные конструкции не выдерживают перепадов давления в фильтрах свыше 0,2-0,3 МПа. Недостаточная толщина их стенок обусловлена технологиями получения дренажных щелей шириной 0,2-0,4 мм (как правило, листовой штамповкой). В то же время при высоких динамических нагрузках на слой фильтрующего материала, которые возникают в переходных режимах фильтра, вклинившиеся в неглубокие щели частицы легко вымываются и выносятся с фильтратом, тем самым загрязняя его. Кроме того, наблюдается постепенное увеличение ширины щелей вследствие гидроэрозионного износа, что неизбежно приводит к увеличению выноса из фильтра частиц фильтрующего материала. Следует отметить, что площадь поверхности фильтрации по отношению к объему колпачка в известном устройстве не является оптимальной, что приводит к повышению гидродинамического сопротивления и соответственно к сокращению срока службы устройства.

Таким образом, недостатком устройства по патенту №2058178 является снижение работоспособности и срока службы при высоких гидродинамических нагрузках.

Предлагаемое устройство позволяет устранить недостатки известной конструкции и решает задачу увеличения срока службы фильтрующих устройств и повышения качества фильтрации при высоких гидродинамических нагрузках.

Новым по сравнению с ближайшим аналогом является выполнение дистанционирующих элементов на плоских кольцах в виде рифтов и установка плоских колец таким образом, что рифты каждого последующего кольца имеют противоположное направление угла отклонения от радиуса кольца.

Поставленная задача решается за счет того, что в фильтрующем колпачке, содержащем корпус с закрепленными на нем плоскими кольцами с дистанционирующими элементами, расположенными под углом к радиусу кольца и определяющими величину зазора между кольцами, дистанционирующие элементы выполнены в виде рифтов, а плоские кольца установлены таким образом, что рифты каждого последующего кольца имеют противоположное направление угла отклонения от радиуса кольца.

Выполнение дренажно-щелевой перегородки в виде плоских пластин с рифтами позволяет получить более высокую механическую прочность по сравнению с прототипом, так как воздействующая на нее в процессе фильтрования сила воспринимается не плоскостью, а торцами пластин, собранных в плотный пакет (что позволяет при необходимости увеличивать общую площадь проходного сечения щелей перегородки путем увеличения габаритов фильтрующего блока без ущерба для его механической прочности). Рифты выполнены в глубине объема колпачка и вся площадь между плоскими кольцами является фильтрующей поверхностью. Расположение плоских колец относительно друг друга выполнено таким образом, что рифты каждого из соседних колец имеют противоположное направление угла отклонения от радиуса кольца, что позволяет выравнивать проходящие потоки за счет их закручивания в противоположные стороны, создавая тем самым одинаковую нагрузку на фильтрующий материал, и за счет этого максимально использовать его ресурс. Специальная форма пластин с рифтами под углом к радиусу и их взаимное расположение позволяют уменьшить высоту участка фильтра, на котором происходит выравнивание поля скоростей.

Таким образом, предложенная совокупность признаков обеспечивает увеличение срока службы устройства и повышение качества фильтрации при высоких гидродинамических нагрузках.

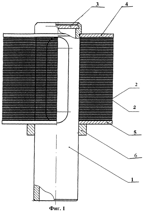
На фиг.1 представлен фильтрующий колпачок, где

1 – корпус,

2 – плоские кольца с рифтами,

3 – крышка корпуса,

4, 5 – опорные шайбы,

6 – втулка.

На фиг.2 и 3 представлены варианты конкретного выполнения плоского кольца с рифтами 7 соответственно с правым и левым отклонением угла расположения рифтов от радиуса кольца.

Фильтрующий колпачок представляет собой корпус 1 с крышкой. На корпусе при помощи опорных шайб 4 и 5 и втулки 6 закреплены плоские кольца 2 с рифтами.

Четные кольца имеют правое отклонение угла рифтов, а нечетные – левое (или наоборот).

Устройство работает следующим образом. При фильтрации фильтрующая среда проходит через фильтрующий слой насыпного материала, например ионообменной смолы, далее следует через щели фильтрующего колпачка, огибает рифты, расположенные в глубине объема щели, и через приемное отверстие в корпусе попадает в дренажную систему фильтра, из которой через выходной патрубок фильтра проходит в трубопровод.

При регенерации и отмывке поток регенерирующего раствора имеет обратный ход, т.е. из выходного патрубка проходит в дренажную систему, затем в корпус колпачка, через приемное отверстие и, разбиваясь на отдельные минипотоки, в щели. Минипотоки огибают рифты, расположенные в глубине щелей, приобретая при этом вращательное движение (в каждой последующей щели вращение разнонаправлено), и через фильтрующий край щелей попадает в объем насыпного фильтрующего материала.

Наличие разнонаправленного вращательного движения потоков и расположение рифтов в глубине щелей позволяет избежать образования застойных зон и быстро выравнять поле скоростей регенерирующего или отмывающего раствора. Это приводит к наиболее полной и равномерной регенерации и отмывке фильтра, что повышает качество фильтрации в целом.


Формула изобретения


Фильтрующий колпачок, содержащий корпус с закрепленными на нем плоскими кольцами с дистанционирующими элементами, расположенными под углом к радиусу кольца, отличающийся тем, что дистанционирующие элементы выполнены в виде рифтов, а плоские кольца установлены таким образом, что рифты каждого последующего кольца имеют противоположное направление угла отклонения от радиуса кольца.


РИСУНКИ


QB4A Регистрация лицензионного договора на использование изобретения

Лицензиар(ы): Иванюк Виктор Николаевич

Вид лицензии*: НИЛ

Лицензиат(ы): Закрытое акционерное общество “Атомэнерго”

Договор № РД0010515 зарегистрирован 20.07.2006

Извещение опубликовано: 27.08.2006 БИ: 24/2006

* ИЛ – исключительная лицензия НИЛ – неисключительная лицензия


MM4A – Досрочное прекращение действия патента СССР или патента Российской Федерации на изобретение из-за неуплаты в установленный срок пошлины за поддержание патента в силе

Дата прекращения действия патента: 04.02.2008

Извещение опубликовано: 10.02.2009 БИ: 04/2009


NF4A Восстановление действия патента СССР или патента Российской Федерации на изобретение

Дата, с которой действие патента восстановлено: 20.02.2009

Извещение опубликовано: 20.02.2009 БИ: 05/2009


MM4A Досрочное прекращение действия патента из-за неуплаты в установленный срок пошлины за
поддержание патента в силе

Дата прекращения действия патента: 04.02.2010

Дата публикации: 27.12.2011


Categories: BD_2254000-2254999