|
|
(21), (22) Заявка: 2003137721/15, 19.12.2003
(24) Дата начала отсчета срока действия патента:
19.12.2003
(45) Опубликовано: 27.06.2005
(56) Список документов, цитированных в отчете о поиске:
SU 753445 А, 17.08.1980. SU 1581341 А1, 30.07.1990. RU 2156637 С2, 27.09.2000. СА 2427240 А1, 30.05.2002. FR 2424751 А1, 30.11.1979.
Адрес для переписки:
450065, г.Уфа, ул. Свободы, 61, а/я 231, С.Н. Каримовой
|
(72) Автор(ы):
Аминов О.Н. (RU), Фозекош Д.И. (RU), Исламов Г.Ш. (RU)
(73) Патентообладатель(и):
Общество с ограниченной ответственностью “Корпорация Уралтехнострой” (ООО “Корпорация Уралтехнострой”) (RU)
|
(54) МНОГОФАЗНЫЙ СЕПАРАТОР
(57) Реферат:
Изобретение относится к области нефтедобычи и предназначено для разделения многофазной газожидкостной смеси. Сепаратор содержит корпус с тангенциальным патрубком ввода многофазной смеси и патрубками вывода газа, нефти, воды и механических примесей. В средней части сепаратора расположена кольцевая камера для улавливания нефти. Концентрично с камерой установлены две коаксиальные трубы с кольцевым каналом. Кольцевой канал для отвода нефти в верхней части заглушен. Сепаратор снабжен цилиндрической перегородкой с газоуравнительными отверстиями в верхней части, внутри которой расположена емкость для отвода воды. На внешней стенке кольцевой камеры установлена ловушка для улавливания газа. Диаметр цилиндрической перегородки выполнен равным внутреннему диаметру кольцевой камеры. Внутренняя стенка сепаратора покрыта коалесцирующим слоем. На входе в сепаратор установлен центробежный модуль-сепаратор для предварительной сепарации. Сепаратор обеспечит высокое качество сепарации на составляющие. 2 з.п. ф-лы, 2 ил.

Изобретение относится к области нефтедобычи и предназначено для разделения многофазной газожидкостной смеси, содержащей механические примеси. Сепаратор может быть использован в различных областях техники для разделения несмешивающихся жидкостей типа “нефть-вода”.
Известен многофазный сепаратор, содержащий горизонтальный корпус, имеющий патрубок для тангенциального ввода эмульсии в вертикальный патрубок, а также патрубки для вывода газа, нефти, воды и шлама [Патент РФ №2050923, кл. B 01 D 19/00, 1995 г.].
Недостаток этого сепаратора – не решается проблема качественного отбора нефти, отстоявшейся в сепараторе, из-за проскока газа в патрубок для вывода нефти. Кроме того, при выводе воды через нижний срез вертикального патрубка восходящим потоком происходит барботаж всего сечения жидкости, что снижает эффект центробежной сепарации в вертикальном патрубке и создает условия для уноса мелкодисперсных механических примесей.
Наиболее близким к заявляемому объекту является многофазный сепаратор, содержащий вертикальный цилиндрический корпус, трубопроводы подвода газожидкостной смеси и отвода газа и жидкости. Корпус разделен конической перегородкой на снабженные сливными трубами входную камеру и с нижней конической частью каплеотбойную камеру. Сепаратор снабжен газоуравнительным трубопроводом, соединяющим корпус сепаратора с трубопроводом отвода газа [Патент РФ №2190459, кл. B 01 D 19/00, 2002 г.].
В данном сепараторе исключается выброс жидкости в трубопровод отвода газа, однако сепаратор не решает проблему улавливания и вывода механических примесей из сепаратора и, кроме того, имеются ресурсы для повышения качества сепарации по воде и нефти.
Изобретение направлено на повышение качества сепарации.
Это достигается тем, что в многофазном сепараторе, включающем корпус с тангенциальным патрубком для ввода многофазной смеси и патрубками для вывода газа, нефти и воды, установлена кольцевая камера для улавливания нефти, концентрично с которой установлены две коаксиально расположенные трубы с образованием между ними кольцевого канала для отвода нефти из кольцевой камеры при помощи патрубков, причем верхняя кромка трубы меньшего диаметра установлена выше указанных патрубков, кольцевой канал для отвода нефти в своей верхней части заглушен, при этом для разделения нефтяного потока от водного сепаратор снабжен цилиндрической перегородкой с образованием периферийной и центральной частей сепаратора с газоуравнительными отверстиями, внутри цилиндрической перегородки расположена соединенная с трубой меньшего диаметра емкость для отвода воды, верхняя кромка которой установлена ниже верхней кромки кольцевой камеры, на внешней стенке кольцевой камеры, в верхней ее части, установлена ловушка для улавливания газа, снабженная патрубками для вывода газа из ловушки в газовое пространство сепаратора, диаметр цилиндрической перегородки выполнен равным внутреннему диаметру кольцевой камеры.
Внутренняя стенка сепаратора покрыта коалесцирующим слоем.
Кроме того, на входе в сепаратор установлен центробежный модуль-сепаратор для предварительной сепарации.
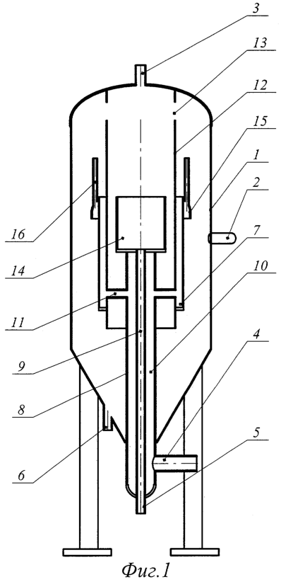
На фиг.1 представлен заявляемый сепаратор; на фиг.2 – заявляемый сепаратор, снабженный центробежным модуль-сепаратором для предварительной сепарации разделяемой многофазной смеси.
Многофазный сепаратор содержит корпус 1 с тангенциальным патрубком 2 для ввода многофазной смеси и патрубками 3, 4, 5 и 6 для вывода газа, нефти, воды и механических примесей. В средней части сепаратора расположена кольцевая камера 7 для улавливания нефти. Концентрично с камерой 7 установлены две коаксиально расположенные трубы 8 и 9 с образованием между ними кольцевого канала 10 для отвода нефти из кольцевой камеры 7 при помощи патрубков 11, причем верхняя кромка трубы 9 меньшего диаметра установлена выше указанных патрубков 11, кольцевой канал 10 для отвода нефти в своей верхней части заглушен. Для разделения нефтяного и водного потоков сепаратор снабжен цилиндрической перегородкой 12 с образованием периферийной и центральной частей сепаратора с газоуравнительными отверстиями 13 в верхней части для выравнивания давления газа в обеих частях камеры. Внутри цилиндрической перегородки 12 расположена емкость 14 для отвода воды, соединенная с трубой 9 меньшего диаметра, верхняя кромка которой установлена ниже верхней кромки кольцевой камеры. На внешней стенке кольцевой камеры 7, в верхней ее части, установлена ловушка 15 для улавливания газа, снабженная патрубками 16 для вывода газа из ловушки в газовое пространство сепаратора. Диаметр цилиндрической перегородки 12 выполнен равным внутреннему диаметру кольцевой камеры 7. Внутренняя стенка сепаратора покрыта коалесцирующим слоем.
Для повышения производительности сепаратора, качества сепарации по фазам за счет предварительного отделения газа и вывода механических примесей из процесса сепарации на входе в сепаратор установлен центробежный модуль-сепаратор 17 (см. фиг.2). Модуль-сепаратор предварительной сепарации снабжен патрубком 2 для ввода многофазной смеси, патрубком для вывода газа из модуль-сепаратора, трубопроводами для вывода нефти и воды из модуль-сепаратора и последующей тангенциальной подачи в слой нефти и воды в корпус 1 сепаратора для последующей сепарации, патрубком для вывода механических примесей из процесса сепарации либо трубопроводом для вывода механических примесей с последующим тангенциальным вводом в корпус 1 сепаратора ниже ввода воды для дополнительного отделения от механических примесей нефти.
Сепаратор работает следующим образом.
Многофазную смесь (“газ+нефть+вода+механические примеси”) подают в корпус 1 сепаратора по тангенциальному патрубку 2, где она разделяется за счет центробежных и гравитационных сил на составляющие. Нефть и газ вытесняются водой из пристеночного потока к оси сепаратора и устремляются вверх. При достижении верхней кромки кольцевой камеры 7 нефть переливается в нее, а затем по патрубкам 11 попадает в кольцевой канал 10, откуда отводится по патрубку 4. Газ поднимается вдоль внешней стенки кольцевой камеры, улавливается ловушкой 15 и выводится по патрубкам 16 в газовое пространство сепаратора, которое посредством отверстий 13 сообщено с центральной частью сепаратора. Вода при вращении движется вдоль стенки вниз, увлекая за собой механические примеси и мелкодисперсные нефтяные эмульсионные капли. Когда вода достигает нижней кромки цилиндрической перегородки 12, она по закону сообщающихся сосудов перетекает в кольцевой канал 10, поднимается по нему до верхней кромки емкости 14, переливается в нее и выводится по патрубку 5. Механические примеси перемещаются по стенке сепаратора и, отмываясь от нефтяной пленки в процессе трения о коалесцирующее покрытие, накапливаются в нижней части сепаратора, откуда выводятся через патрубок 6 в виде суспензии.
При установке на входе в сепаратор, по меньшей мере, одного центробежного модуль-сепаратора работа сепаратора происходит следующим образом:
Многофазную смесь (“газ+нефть+вода+механические примеси”) подают по патрубку 2 в центробежный модуль-сепаратор 17, где смесь разделяется за счет центробежной силы на газ, нефть, воду и механические примеси. Газ выводится из модуль-сепаратора, механические примеси либо выводятся из модуль-сепаратора для утилизации, либо тангенциально подают в корпус 1 сепаратора для более качественного отделения нефти от механических примесей, а нефть и вода тангенциально вводятся в корпус 1 сепаратора в слой нефти и воды соответственно для последующей сепарации, которая уже описана выше.
Использование предлагаемого сепаратора позволит по сравнению с прототипом повысить качество сепарации, что становится возможным за счет организации в сепараторе вращающегося потока газожидкостной смеси, обеспечивающего отделение механических примесей и более качественное отделение нефти от воды. Более качественное отделение механических примесей от нефтяной пленки обеспечивается в результате трения при перемещении вниз по стенке сепаратора механических примесей о коалесцирующее покрытие.
Установка модульного сепаратора на входе в основной сепаратор позволит значительно усилить эффект улучшения разделения газожидкостной смеси за счет предварительного отделения из нее газа и механических примесей.
Следует отметить, что функциональные возможности сепаратора дают возможность его использования для решения отдельных локальных задач, например, для получения низкообводненной нефти либо для очистки пластовой воды, либо для дегазации, либо для отделения механических примесей (сепаратор по прототипу может быть использован лишь для дегазации газожидкостной смеси с разделением на нефть высокой обводненности и воду с большим содержанием нефти).
Формула изобретения
1. Многофазный сепаратор, включающий корпус с тангенциальным патрубком для ввода многофазной смеси и патрубками для вывода газа, нефти и воды, отличающийся тем, что в сепараторе установлена кольцевая камера для улавливания нефти, концентрично с которой установлены две коаксиально расположенные трубы с образованием между ними кольцевого канала для отвода нефти из кольцевой камеры при помощи патрубков, причем верхняя кромка трубы меньшего диаметра установлена выше указанных патрубков, кольцевой канал отвода нефти в своей верхней части заглушен, при этом для разделения нефтяного потока от водного сепаратор снабжен цилиндрической перегородкой с образованием периферийной и центральной частей сепаратора с газоуравнительными отверстиями, внутри цилиндрической перегородки расположена соединенная с трубой меньшего диаметра емкость для отвода воды, верхняя кромка которой установлена ниже верхней кромки кольцевой камеры, на внешней стенке кольцевой камеры, в верхней ее части, установлена ловушка для улавливания газа, снабженная патрубками для вывода газа из ловушки в газовое пространство сепаратора, диаметр цилиндрической перегородки выполнен равным внутреннему диаметру кольцевой камеры.
2. Многофазный сепаратор по п.1, отличающийся тем, что внутренняя стенка сепаратора покрыта коалесцирующим слоем.
3. Многофазный сепаратор по п.1 или 2, отличающийся тем, что на входе в сепаратор установлен центробежный модуль-сепаратор для предварительной сепарации.
РИСУНКИ
|
|