|
|
(21), (22) Заявка: 2003130363/09, 12.02.2003
(24) Дата начала отсчета срока действия патента:
12.02.2003
(30) Конвенционный приоритет:
19.02.2002 JP 2002-41156
(45) Опубликовано: 20.06.2005
(56) Список документов, цитированных в отчете о поиске:
RU 2050700 C1, 20.12.1995. US 5451999 А, 19.09.1995. US 5510859 A, 23.04.1996. ЕР 0748132 А2, 11.12.1996. ЕР 0998152 А1, 03.05.2000.
(85) Дата перевода заявки PCT на национальную фазу:
14.10.2003
(86) Заявка PCT:
JP 03/01408 (12.02.2003)
(87) Публикация PCT:
WO 03/071810 (28.08.2003)
Адрес для переписки:
103735, Москва, ул. Ильинка, 5/2, ООО “Союзпатент”, пат.пов. О.А.Косунову, рег.№ 862
|
(72) Автор(ы):
ИТО Ёсиказу (JP), ТАНАКА Хироси (JP), АОЯМА Тадаюки (JP), АОЯМА Ёсиказу (JP), ЁСИОКА Такахиде (JP)
(73) Патентообладатель(и):
К.К. ВИДЕО РИСЕРЧ (JP)
|
(54) СПОСОБ И УСТРОЙСТВО ДЛЯ ПОСТОЯННОГО КОНТРОЛЯ ВЫБИРАЕМОГО СОСТОЯНИЯ ТЕЛЕКАНАЛА
(57) Реферат:
Изобретение относится к способу и устройству для постоянного контроля канала, на который действительно настраивается телевизионный приемник. Достигаемый технический результат – возможность быстрого и точного определения канала, действительно принятого телевизионным приемником, а также определения вида формата видеоизображения, действительно отображенного на телеэкране. Способ содержит этапы: а) принимают и идентифицируют сигнал от передатчика дистанционного управляющего сигнала и определяют канал, принимаемый телевизионным приемником, б) контролируют настраиваемое состояние канала эталонного селектора каналов для приведения к совпадению звуковых сигналов от эталонного селектора каналов и громкоговорителя телевизионного приемника, причем эталонный селектор каналов способен выводить звуковой сигнал произвольного одного из заранее определенного числа каналов. 2 н. и 8 з.п. ф-лы, 10 ил. 
Область техники, к которой относится изобретение
Изобретение относится к способу постоянного контроля выбираемого состояния телеканала и к устройству для постоянного контроля канала, на который действительно настраивается телевизионный приемник.
Уровень техники
Были предложены или доведены до практического использования различные способы постоянного контроля выбираемого состояния канала телевизионного приемника, установленного в каждых выборочных домашних условиях с целью измерения рейтинга зрителей; один из известных способов использует звуковые сигналы. В соответствии с этим способом производят сравнение характерных параметров звукового сигнала, воспроизводимого телевизионным приемником, и звукового сигнала, воспроизводимого эталонным селектором каналов, обеспеченным отдельно от телевизионного приемника, затем эталонный селектор каналов переключают от одного канала к другому до тех пор, пока параметры не совпадут один с другим, и канал, для которого они совпадают, определяется как находящийся в обращении выбранный канал. Этот способ будет рассматриваться ниже в качестве ссылки как первый общепринятый способ. Такой способ описан, например, в Бюллетене публикации японских заявок на патент под №308711/98. Кроме того, в Бюллетене публикации японских заявок на патент под №327017/95 описывается способ, который измеряет рейтинг аудитории путем сравнения частотных спектров как автомобильного, так и эталонного радиоприемников.
В то же время почти в каждом доме теперь используется исключительно передатчик дистанционных управляющих сигналов для выбора канала вместо применения кнопки переключения каналов на телевизионном приемнике. Для удовлетворения требованиям такой ситуации при другом общепринятом способе непрерывного контроля действительно выбранного телеканала при помощи монитора, расположенного около телевизионного приемника, принимают и анализируют инфракрасный сигнал, испускаемый от пульта инфракрасного телевизионного дистанционного управления. Этот способ использует тот факт, что инфракрасный сигнал, испускаемый от пульта дистанционного управления, распространяется, в то же время расширяясь до некоторой степени, и, следовательно, может быть зарегистрирован монитором, если последний размещен в непосредственной близости от телевизионного приемника. Этот способ ниже будет рассматриваться в качестве ссылки как второй общепринятый способ. Описание такого способа представлено в Бюллетене публикаций японских заявок на патент под №275607/99.
В дополнение к обычному аналоговому наземному телевещанию началось развитие цифрового спутникового телевещания и в близком будущем станет также действовать цифровое наземное телевещание, в дальнейшем планируется ввод полномасштабной многоканальной передачи. Одновременно были разработаны телевизионные приемники, способные принимать многие виды телевещания, такие как аналоговое наземное телевещание и цифровое спутниковое телевещание (BS), и некоторые из них уже поступили на рынок. При увеличении числа каналов, которые может принимать один телевизионный приемник, соответственно возрастает число каналов, подлежащих постоянному контролю, усложняя проблему в том смысле, что упомянутый выше первый общепринятый способ требует длительного времени для указания настраиваемого канала. В частности, цифровое телевещание декодирует звуковые сигналы путем MPEG-2 УЗК (усовершенствованное звуковое кодирование) и, следовательно, оно занимает большее время для декодирования, чем аналоговое телевещание. Например, полагая число каналов, подлежащих постоянному контролю, как n и время контроля каждого канала как t, первый общепринятый способ занимает такое большое время, как n×t в самом худшем случае и половину от него в среднем.
При втором общепринятом способе инфракрасный сигнал от пульта инфракрасного дистанционного управления иногда может быть принят телевизионным приемником или монитором по отдельности в соответствии с направлением такого пульта или из-за наличия препятствия распространению инфракрасного сигнала – это увеличивает вероятность того, что канал, распознанный монитором в качестве выбранного канала, отличается от канала, действительно принимаемого телевизионным приемником. Телезритель обычно не может распознать это различие и, следовательно, не имеет шанса определить его, оставляя ошибку контроля нескорректированной в течение длительного времени. Более того, когда канал настроен с использованием кнопки переключения каналов на телевизионном приемнике вместо пульта дистанционного управления, невозможно постоянно контролировать выбираемое состояние канала.
В то же время в качестве общепринятого аналогового наземного телевещания часто используют видеоформат NTSC, тогда как цифровое телевещание реализует широкое разнообразие видеоформатов. Например, цифровое спутниковое телевещание (BS) приспособлено к четырем видам видеоформатов, т.е. 480i, 480p, 720р и 1080i, соответствующих различиям в числе действующих строк развертки и в использованной процедуре развертки. Телеприемники выполняются в двух типах, один из которых автоматически переключается на принятый видеоформат для обеспечения видеоотображения на экране дисплея, а другой использует одну или две процедуры развертки ограниченного отображения и отображает принятый формат после его преобразования путем обработки сигналов в соответствии с выбранной процедурой развертки. Например, все форматы 480i, 480p, 720р и 1080i преобразуются в формат 480i. То есть возникает ситуация, когда видеоизображение не всегда отображается в целом виде в формате телевещания. На этом основании, а также с точки зрения добавляемого значения к результатам обследования рейтинга зрителей, желательно определять вид формата видеоизображения, действительно отображаемого на телеэкране, и включать соответствующую информацию в данные результатов обследования рейтинга зрителей.
Соответственно целью изобретения является предоставление возможности быстрого и точного определения канала, действительно принятого телевизионным приемником.
Другая цель изобретения заключается в предоставлении возможности определения вида формата видеоизображения, действительно отображенного на телеэкране.
Сущность изобретения
В соответствии с первым аспектом изобретения создан способ постоянного контроля выбираемого состояния телеканала, который идентифицирует канал, действительно принимаемый телевизионным приемником, имеющим, по меньшей мере, один встроенный селектор каналов и приемник дистанционного управляющего сигнала на телевизионный приемник для приема и идентификации дистанционного управляющего сигнала от передатчика такого сигнала, а также для контроля настраиваемого состояния канала встроенного селектора каналов, и обеспечивающим видео- и звуковые сигналы находящегося в обращении выбранного канала к дисплею и громкоговорителю соответственно. Данный способ содержит следующие этапы: (а) принимают и идентифицируют сигнал от передатчика дистанционного управляющего сигнала, а также определяют канал, принимаемый телевизионным приемником; и (b) контролируют настраиваемое состояние канала эталонного селектора для приведения к совпадению звуковых сигналов от эталонного селектора каналов и громкоговорителя на телевизионный приемник, причем эталонный селектор каналов способен выводить звуковой сигнал произвольного одного из заранее определенного числа каналов. Этап (b) содержит следующие этапы: (b-1) при каждом появлении несовпадения между звуковыми сигналами переключают эталонный селектор от канала, определенного на этапе (а), к другому одному из заранее определенного числа каналов в последовательном порядке до тех пор, пока оба звуковых сигнала не совпадут друг с другом; (b-2) определяют как находящийся в обращении выбранный канал тот канал, настраиваемый эталонным селектором в момент, когда оба звуковых сигнала совпадают снова; и (b-3) сохраняют в блоке памяти данные выбранного канала, содержащие информацию о канале, определенном как текущий настроенный канал, и соответствующую временную информацию.
Согласно второму аспекту изобретения способ постоянного контроля выбираемого состояния телеканала по первому аспекту изобретения дополнительно содержит этап (с) определения вида формата видеоизображения, отображенного на дисплее телевизионного приемника, причем видеоформат, определенный на этапе (с), добавляется к данным выбранного канала, подлежащим хранению в блоке памяти на этапе (b-3).
Согласно третьему аспекту изобретения в способе постоянного контроля выбираемого состояния телеканала по второму аспекту этап (с) содержит этапы: (с-1) детектируют сигнал синхроимпульса строк, поступающий к дисплею телевизионного приемника; (с-2) подсчитывают период сигнала синхроимпульса строк, детектированного на этапе (с-1); и (с-3) определяют вид формата видеоизображения, в текущий момент отображенного на дисплее, на основе значения счета, полученного на этапе (с-2).
Согласно четвертому аспекту изобретения в способе постоянного контроля выбираемого состояния телеканала по первому аспекту этап (b) дополнительно содержит этап (b-4) записи информации о находящемся в обращении выбранном канале, определенном на этапе (b-2), в блоке памяти канальной информации, а этап (а) содержит следующие этапы: (а-1) определяют канал, подлежащий переключению, на основе результата идентификации сигнала, принятого от передатчика дистанционного управляющего сигнала, и информации текущего выбранного канала, хранимой в блоке памяти канальной информации; и (а-2) записывают информации о канале, определенном на этапе (а-1), в блоке памяти канальной информации.
Согласно пятому аспекту изобретения в способе непрерывного контроля выбираемого состояния телеканала по первому аспекту этап (b-1) представляет следующий этап: вычисляют частотный спектр звукового сигнала от эталонного селектора каналов и частотный спектр звукового сигнала от громкоговорителя телевизионного приемника; и сравнивают оба частотных спектра для определения посредством того, что совпадают или не совпадают друг с другом звуковой сигнал от эталонного селектора каналов и звуковой сигнал от громкоговорителя телевизионного приемника.
В соответствии с первым аспектом изобретения создано устройство для постоянного контроля выбираемого состояния телеканала, которое идентифицирует канал, действительно принимаемый телевизионным приемником, имеющим по меньшей мере один встроенный селектор каналов и приемник дистанционного управляющего сигнала на телевизионной стороне для приема и идентификации дистанционного управляющего сигнала от передатчика такого сигнала и контроля настраиваемого состояния канала встроенного селектора, а также обеспечивающим видео- и звуковые сигналы находящегося в обращении настроенного канала к дисплею и громкоговорителю соответственно. Данное устройство содержит: эталонный селектор каналов, способный выводить звуковой сигнал произвольного одного из заранее определенного числа каналов; блок звукового сравнения для определения того, что совпадают или не совпадают друг с другом звуковой сигнал от громкоговорителя телевизионного приемника и звуковой сигнал от эталонного селектора каналов; приемник дистанционного управляющего сигнала на стороне монитора для приема и идентификации некоторого сигнала от передатчика дистанционного управляющего сигнала при определении канала, в текущий момент выбранного телевизионным приемником; блок управления, который: контролирует настраиваемое состояние канала эталонного селектора каналов таким образом, что выходной сигнал блока звукового сравнения остается сигналом детектированного совпадения; когда выходной сигнал детектированного совпадения от блока звукового сравнения изменяется на выходной сигнал детектированного несовпадения, блок управления переключает эталонный селектор от канала, определенного приемником дистанционного управляющего сигнала на стороне монитора, на другой один из заранее определенного числа каналов в последовательном порядке до тех пор, пока не будет найден канал эталонного селектора, для которого блоком звукового сравнения детектируется совпадение; блок управления также определяет как находящийся в обращении выбранный канал тот канал, который в текущий момент настроен эталонным селектором, для которого выходной сигнал от блока звукового сравнения снова становится выходным сигналом детектированного совпадения; и выводит данные выбранного канала, содержащие информацию о канале, определенном как находящийся в обращении выбранный канал, и соответствующую временную информацию; и блок памяти для хранения данных выбранного канала, полученных от блока управления.
В соответствии со вторым аспектом изобретения устройство для постоянного контроля выбираемого состояния телеканала по первому аспекту изобретения дополнительно содержит блок определения видеоформата для детектирования вида формата видеоизображения, отображенного на дисплее телевизионного приемника, причем блок управления добавляет выходной сигнал от блока детектирования видеоформата к канальным данным выбранного канала.
Согласно третьему аспекту изобретения в устройстве для постоянного контроля выбираемого состояния телеканала по второму аспекту изобретения блок определения видеоформата содержит: блок детектирования сигнала синхроимпульса для определения сигнала синхроимпульса строк, поступающего к дисплею телевизионного приемника; счетчик для подсчета периода сигнала синхроимпульса строк, определенного блоком детектирования сигнала синхроимпульса; и блок определения формата для детектирования вида формата видеоизображения, отображенного на дисплее, на основе значения счета от счетчика.
Согласно четвертому аспекту изобретения в устройстве для постоянного контроля выбираемого состояния телеканала по первому аспекту приемник дистанционного управляющего сигнала на стороне монитора содержит блок памяти канальной информации, в котором записана информация о находящемся в обращении выбранном канале, указанном блоком управления; и блок идентификации для определения канала, подлежащего переключению, и записи информации об определенном канале в блоке памяти канальной информации.
Согласно пятому аспекту изобретения в устройстве для постоянного контроля выбираемого состояния телеканала по первому аспекту: эталонный селектор каналов представляет селектор того же типа, что и встроенный селектор каналов, и имеет несколько установок селектора каналов на стороне монитора, настраиваемое состояние канала которых контролируется блоком управления, и блок звуковой демодуляции для демодуляции «правого» и «левого» звуковых стереосигналов из выходного сигнала селектора каналов на стороне монитора, причем несколько установок равны по количеству видам встроенных селекторов каналов в телевизионном приемнике; и первый аналоговый переключатель для вывода через него правого и левого звуковых стереосигналов, полученных от блока звуковой демодуляции при одной из установок, указанной блоком управления; блок звукового сравнения содержит: второй аналоговый переключатель для выбора одного из правого и левого звуковых стереосигналов от выходных клемм громкоговорителя телевизионного приемника, который (звуковой сигнал) указан блоком управления; третий аналоговый переключатель для выбора одного из правого и левого звуковых стереосигналов от эталонного селектора каналов, который (звуковой сигнал) указан блоком управления; первый оператор для выполнения быстрого преобразования Фурье (БПФ) для звукового сигнала, проходящего через второй аналоговый переключатель; второй оператор для выполнения БПФ для звукового сигнала, проходящего через третий аналоговый переключатель; и компаратор для сравнения результатов операций первого и второго операторов и получения результата сравнения в качестве детектированного выходного сигнала к блоку управления.
При способе постоянного контроля выбираемого состояния телеканала и устройстве согласно первому аспекту изобретения в момент последовательного сравнения звуковых сигналов, выводимых от громкоговорителя телевизионного приемника, и звуковых сигналов каждого канала, сформированных эталонным селектором каналов, канал, подлежащий переключению, полученный путем приема сигнала от передатчика телевизионного дистанционного управляющего сигнала, постоянно контролируется первым, благодаря чему выбираемый телевизионным приемником канал может постоянно контролироваться быстро и точно.
При способе постоянного контроля выбираемого состояния телеканала и устройстве согласно второму и третьему аспектам изобретения, поскольку вид формата видеоизображения, отображенного на телевизионном дисплее, может определяться путем измерения периода формирователя импульсов (pf-pulse former-формирователь импульсов, прим. пер.) сигнала синхроимпульса строк дисплея и может содержаться в данных выбранного канала, возможно добавление значения к результатам обследования рейтинга зрителей.
При способе постоянного контроля выбираемого состояния телеканала и устройстве согласно четвертому аспекту изобретения, даже если канал, постоянно контролируемый устройством, отличается от канала, действительно принятого телевизионным приемником, поскольку сигнал от передатчика дистанционного управляющего сигнала принимается телевизионным приемником или устройством постоянного контроля по отдельности из-за наличия препятствия или тому подобного, различие определяется путем записи в блок памяти канальной информации приемного блока дистанционного управляющего сигнала на стороне монитора информации о выбранном канале, определенной путем сравнения звуковых сигналов. Благодаря этому канал, подлежащий переключению, может быть правильно определен приемным блоком дистанционного управляющего сигнала на стороне монитора, когда сигнал от передатчика дистанционного управляющего сигнала представляет сигнал от кнопки канала вверх/вниз, которая указывает канал, сразу предшествующий или последующий за текущим выбранным каналом – это позволяет сократить время для постоянного контроля выбранного канала.
При способе непрерывного контроля выбираемого состояния телеканала и устройстве согласно пятому аспекту изобретения, поскольку совпадение между звуковыми сигналами определяется путем сравнения характерных особенностей их частотных спектров, представляется возможным точно постоянно контролировать канал цифрового телевещания от ВС или тому подобного, при котором трудно обеспечить синхронизацию между воспроизведенными звуковыми сигналами на блоке телевизионного приемника и на блоке эталонного селектора каналов.
Краткое описание чертежей
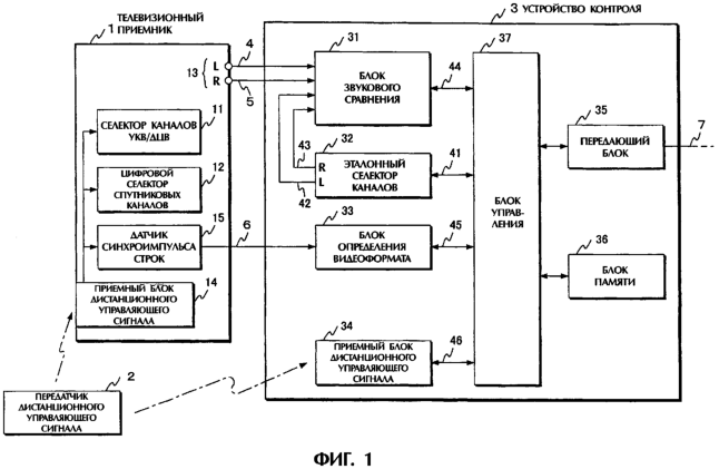
Фиг.1 изображает функциональную схему, иллюстрирующую предпочтительный вариант изобретения.
Фиг.2 – схематический вид сверху передатчика дистанционного управляющего сигнала.
Фиг.3 – функциональную схему, показывающую внутреннюю конфигурацию эталонного селектора каналов.
Фиг.4 – функциональную схему, показывающую внутреннюю конфигурацию блока звукового сравнения.
Фиг.5 – функциональную схему, показывающую внутреннюю конфигурацию блока определения видеоформата.
Фиг.6 – временную диаграмму работы блока определения видеоформата.
Фиг.7 – диаграмму, показывающую характерные особенности видеоформатов NTSC-M и MUSE, принятых в аналоговом наземном телевещании, и 480i, 480p, 720р и 1080i, принятых в цифровом спутниковом телевещании.
Фиг.8 – функциональную схему, показывающую внутреннюю конфигурацию приемного блока дистанционного управляющего сигнала, встроенного в устройство постоянного контроля.
Фиг.9 – пояснительную схему перечня каналов, подвергающихся постоянному контролю.
Фиг.10 – графическое представление алгоритма, описывающего контрольные операции блока управления.
Описание наилучшего варианта осуществления изобретения
Как видно из фиг.1, устройство постоянного контроля, согласно предпочтительному варианту изобретения, обозначенное в общем поз.3, соединяется через кабели 4, 5 и 6 с телевизионным приемником 1, установленным в выборочных домашних условиях, а монитор размещается около телевизионного приемника 1 так, что он может принимать дистанционные управляющие сигналы от передатчика 2 таких сигналов для дистанционного контроля телевизионного приемника 1.
Телевизионный приемник 1 имеет в качестве встроенных селекторов каналов селектор 11 каналов УКВ/ДЦВ для приема аналогового наземного телевещания и цифровой селектор 12 каналов от BS для приема цифрового спутникового телевещания от BS. Далее телевизионный приемник имеет выходные клеммы 13 громкоговорителя для вывода звуковых сигналов на громкоговорители (не показаны). Выходные клеммы 13 представляют L-клемму для вывода левого канала звукового стереосигнала (L-канала) и R-клемму для вывода правого канала звукового стереосигнала (R-канала). L-клемма соединяется через кабель 4, а R-клемма – через кабель 5 с устройством 3 постоянного контроля. Кроме того, телевизионный приемник имеет встроенный приемный блок 14 дистанционного управляющего сигнала, который принимает сигналы от передатчика 2 таких сигналов и контролирует операцию ВКЛ-ОТКЛ источника питания телевизионного приемника 1, выбор любого одного из селекторов 11 и 12 каналов и их канальную настройку. Датчик 15 синхронизации строчной развертки смонтирован в телевизионном приемнике 1 для определения формата видеоизображения, отображенного на непоказанном дисплее (трубка Брауна) телевизионного приемника 1, он детектирует сигнал синхроимпульса строк в непосредственной близости от выходного трансформатора строчной развертки телевизионного приемника 1 и обеспечивает детектированный сигнал строчной развертки к устройству 3 через кабель 6.
Передатчик 2 дистанционного управляющего сигнала имеет, как показано на его схематическом виде сверху на фиг.2, различные кнопки от 21 до 24 для дистанционного контроля телевизионный приемника 1 и он излучает инфракрасный сигнал после преобразования в него сигнала, соответствующего кнопке, нажатой пользователем. Кнопка 21 источника питания предназначена для включения или отключения источника питания телевизионного приемника 1, кнопки 22 служат для контроля громкости и кнопки 23 служат для выбора канала, сразу предшествующего или последующего за текущим выбранным каналом. Множество кнопок 24, размещенных в матричной форме, служат для непосредственного доступа к каналам и имеют взаимно однозначное соответствие с каналами.
Устройство 3 для постоянного контроля соединяется с телевизионным приемником 1 через кабели от 4 до 6 и подключено к телефонной схеме или тому подобному через кабель 7 для отправки проконтролированных данных к Центру (не показан). В устройстве 3 предусмотрены блок 31 звукового сравнения, эталонный селектор 32 каналов, блок 33 определения видеоформата, приемный блок 34 дистанционного управляющего сигнала, передающий блок 35, блок 36 памяти и блок 37 управления, подключенный к этим блокам.
Эталонный селектор 32 каналов является блоком, обеспеченным отдельно от селекторов 11 и 12 каналов, встроенных в телевизионный приемник 1, для приема и демодуляции сигналов аналогового наземного телевещания и цифрового спутникового телевещания в части устройства 3. Эталонный селектор 32 каналов соединяется с блоком 37 управления через сигнальную линию 42, а блок 31 звукового сравнения – через сигнальные линии 42 и 43. При приеме информации указания канала от блока 37 управления через сигнальную линию 41 эталонный селектор 32 выбирает канал, обозначенный этой информацией, затем демодулирует по меньшей мере звуковой сигнал выбранного канала и выводит демодулированный сигнал к блоку 31 звукового сравнения через сигнальные линии 42 и 43. В этом примере сигнальная линия 42 передает звуковой стереосигнал L-канала, а сигнальная линия 43 – звуковой стереосигнал R-канала.
Как показано на фиг.3, эталонный селектор 32 содержит аналоговый селектор 321 каналов УКВ/ДЦВ наземных волн, блок 322 звуковой демодуляции, цифровой селектор 323 BS каналов и аналоговый переключатель 325. Селектор 321 избирательно принимает тот один из УКВ или ДЦВ каналов, который указывается блоком 37 управления через сигнальную линию 41-2. Выходной сигнал селектора 321 каналов обеспечивается к блоку 322 звуковой демодуляции последующей стадии, блок 322 демодулирует звуковые сигналы выбранного канала и выводит демодулированные правый и левый звуковые стереосигналы к аналоговому переключателю 325. Цифровой селектор 323 BS каналов является селектором каналов, который принимает соответствующие каналы цифрового спутникового телевещания. Селектор 323 принимает тот один из BS каналов, который указывается блоком 37 управления через сигнальную линию 41-3. Выходной сигнал от селектора 323 каналов поступает к декодеру 324 MPEG-2 (УЗК) последующей стадии, который демодулирует звуковые сигналы указанного канала и выводит демодулированные правый и левый звуковые стереосигналы к аналоговому переключателю 325. Переключатель 325 выбирает правый и левый звуковые стереосигналы из того одного блока 322 звуковой демодуляции и декодера 324 MPEG-2 (УЗК), который указан блоком 37 управления, через сигнальную линию 41-1 и выводит выбранные звуковые сигналы к блоку 31 звукового сравнения через сигнальные линии 42 и 43.
Блок 31 звукового сравнения вычисляет характерные параметры звуковых сигналов, введенных от выходных клемм 13 громкоговорителя телевизионного приемника 1 через кабели 4 и 5, а также характерные параметры звуковых сигналов, введенных от эталонного селектора 32 каналов через сигнальные линии 42 и 43, и определяет степень подобия между характерными параметрами обоих входных звуковых сигналов, тем самым устанавливая, что звуковой сигнал от телевизионного приемника 1 совпадает со звуковым сигналом от эталонного селектора 32 каналов. Результат определения от блока 31 звукового сравнения поступает через сигнальную линию 44 к блоку 37 управления. Блок 31 звукового сравнения использует в качестве характерного параметра звукового сигнала конфигурацию его частотного спектра.
Как показано на фиг.4, блок 31 звукового сравнения содержит аналоговые переключатели 311 и 313, операторы 312 и 314 БПФ и компаратор 315 результата операции. Аналоговый переключатель 311 вводит к тому же правый и левый звуковые стереосигналы от выходных клемм 13 громкоговорителя телевизионного приемника 1 через кабели 4 и 5 и когда левый звуковой стереосигнал указывается блоком 37 управления через сигнальную линию 14-1 как подлежащий выбору, этот сигнал обеспечивается по кабелю 4 как звуковой сигнал, подлежащий проверке, от этого аналогового переключателя к оператору 312 БПФ, тогда как когда правый звуковой стереосигнал указывается как подлежащий выбору, этот сигнал обеспечивается по кабелю 5 как звуковой сигнал, подлежащий проверке, к оператору 312 БПФ. Оператор 312 выполняет быстрое преобразование Фурье звукового сигнала, поступившего к нему через аналоговый переключатель 311, и обеспечивает результирующий характерный параметр как характерный параметр, подлежащий проверке, к компаратору 315 результата операции. В то же время аналоговый переключатель 313 вводит к тому же правый и левый звуковые стереосигналы от эталонного селектора 32 каналов через сигнальные линии 41 и 43 и когда левый звуковой стереосигнал указывается блоком 37 управления через сигнальную линию 44-1 как подлежащий выбору, этот сигнал обеспечивается по сигнальной линии 42 как эталонный звуковой сигнал, от этого аналогового переключателя к оператору 314 БПФ, тогда как когда правый звуковой стереосигнал указывается как подлежащий выбору, этот сигнал обеспечивается по сигнальной линии 43 как эталонный звуковой сигнал к оператору 314 БПФ. Оператор 314 БПФ выполняет быстрое преобразование Фурье эталонного звукового сигнала, поступившего к нему через аналоговый переключатель 313, и обеспечивает полученный характерный параметр как эталонный характерный параметр, подлежащий проверке, к компаратору 315 результата операции. Компаратор 315 вычисляет степень подобия между характерным параметром, подлежащим проверке, от оператора 312 БПФ и характерным параметром от оператора 314 БПФ, и когда степень подобия превышает заранее определенное пороговое значение, компаратор обеспечивает выходной сигнал детектированного совпадения к блоку 37 управления через сигнальную линию 44-2, а в противном случае – выходной сигнал детектированного несовпадения к блоку 37 через эту сигнальную линию.
Блок 33 определения видеоформата принимает через кабель 6 сигнал синхроимпульса строк, детектированный датчиком 15, установленным в телевизионном приемнике 1, и подсчитывает период принятого сигнала синхроимпульса строк для определения тем самым вида формата видеоизображения, отображенного на дисплее телевизионного приемника 1. Фиг.5 показывает внутреннюю конфигурацию блока 33 определения видеоформата, а фиг.6 – его временную диаграмму работы.
Как показано на фиг.5 и 6, в блок 331 формирования сигнала поступает выходной сигнал от датчика 15 синхроимпульса строк, как показано на фиг.6(а), он формирует этот сигнал и выводит такой сигнал синхроимпульса строк, как показано на фиг.6(b). Схема 332 стробирования реагирует на каждое поступление сигнала синхроимпульса строк от блока 331 формирования для преобразования его в сигнал разрешения и сигнал сброса для счетчика 333 относительно один другого и выводит сигнал установки к схеме 335 фиксации состояния сразу после снятия сигнала разрешения, как показано на фиг.6(с)-(е). Тактовый генератор 334 формирует синхроимпульсы с частотой (14,31818 МГц), в четыре раза превышающей частоту поднесущей. Счетчик 333 подсчитывает все синхроимпульсы от тактового генератора 334, пока сигнал разрешения от схемы 332 стробирования имеет высокий уровень, то есть в течении каждого периода сигнала синхроимпульса строк. Схема 335 фиксирует состояние значения счета от счетчика 33 при синхронизации сигнала фиксации от схемы 332 стробирования для поддержания числа тактовых импульсов, сформированных в течение каждого периода сигнала синхроимпульса строк. Таблица 336 имеет предварительно хранимое в ней эталонное значение счета для каждого вида видеоформата. Блок 337 сравнения проверяет, какое из эталонных значений счета, хранимых в таблице 336, совпадает со значением счета, сохраненным в схеме 335 фиксации с некоторым допуском, и устанавливает в регистре 338 в качестве результата проверки информацию, показывающую вид видеоформата, установленный в таблице 338 в соответствии с совпадающим эталонным значением счета.
Содержания регистра 338 могут быть считаны блоком 37 управления через сигнальную линию 45.
Фиг.7 показывает характерные особенности (число строк развертки, процедуру развертки, частоту кадров, частоту полей, формат кадра экрана дисплея, частоту повторения строчной развертки, частоту синхроимпульса кадров) видеоформатов NTSC-М и MUSE, использованных в аналоговом наземном телевещании, и 480i, 480p, 720р и 1080i – в спутниковом цифровом телевещании. Блок 33 определения видеоформата детектирует видеоформат на основании различия в частоте повторения строчной развертки, которая является одной из упомянутых выше характерных особенностей. То есть в случае подсчета синхроимпульсов частоты (14,31818 МГц), в четыре раза большей, чем поднесущая, для одного периода строчной развертки значение счета составляет около 910 для NTSC-M и 480i, около 424 для MUSE и 1080i, около 403 для 480p и около 318 для 720р. Соответственно путем предварительной установки этих числовых значений в качестве эталонных значений счета в таблице 360 можно определить вид формата видеоизображения, отображенного на дисплее телевизионного приемника 1.
Приемный блок 34 дистанционного управляющего сигнала является блоком, который принимает и идентифицирует сигнал, испускаемый передатчиком 2 дистанционного управляющего сигнала. Поскольку инфракрасный сигнал, излученный передатчиком 2, обычно распространяется, расширяясь до некоторой степени, сигнал от передатчика 2 может быть легко принят приемным блоком 34, размещенным в непосредственной близости от приемного блока 14 дистанционного управляющего сигнала телевизионного приемника 1 (например, на корпусе телевизионного приемника 1).
Как показано из фиг.8, приемный блок 34 дистанционного управляющего сигнала содержит светоприемный элемент 341, идентифицирующий блок 432 и блок 343 памяти канальной информации. Светоприемный элемент 341 принимает инфракрасный сигнал, излученный передатчиком 2 дистанционного управляющего сигнала, и преобразует его в электрический сигнал для идентифицирующего блока 342. На основе образца сигнала, представленного таким электрическим сигналом, блок 342 идентифицирует рабочее содержание, указанное пользователем с передатчиком 2 дистанционного управляющего сигнала, далее определяет канал, подлежащий переключению, если это необходимо, путем обращения к канальной информации, хранимой в блоке 343 памяти, и хранит информацию об определенном канале в блоке 343 памяти. Например, при приеме сигнала для непосредственного выбора конкретного канала от пользователя посредством манипуляции любой одной из кнопок 24 передатчика 2, показанного на фиг.2, этот приемный блок дистанционного управляющего сигнала хранит информацию о выбранном канале в блоке 343 памяти канальной информации. При приеме сигнала для переключения текущего выбранного канала сразу к предшествующему или последующему каналу за счет манипуляции кнопкой 23 приемный блок дистанционного управляющего сигнала изменяет канальную информацию, хранимую в блоке 343 памяти, на информацию о непосредственно предшествующем или последующем канале. Содержания блока 343 памяти канальной информации могут считываться блоком 37 управления через сигнальную линию 46, а хранимые содержания блока 343 могут модифицироваться от этого блока 37. Блок 343 памяти сохраняет свои хранимые содержания неизменными безотносительно к тому, что источник питания телевизионного приемника 1 включен или отключен. Соответственно когда источник питания телевизионного приемника 1 включен, блок памяти канальной информации хранит эту информацию, сохраненную, когда источник питания в последний раз был выключен.
Блок 36 памяти используется для временного хранения данных выбираемого состояния канала, полученных от устройства 3 постоянного контроля, и для хранения различных фрагментов предварительно установленной информации, необходимых для устройства 3. Одним из фрагментов такой предварительно установленной информации является список каналов, подвергаемых постоянному контролю. Это такой список 361, как показано на фиг.9, который содержит все принимаемые каналы (от канала 0 до канала n в этом примере) аналогового наземного телевещания и цифрового спутникового телевещания (BS), причем каждое занесение в список имеет содержащуюся в нем информацию об одном канале. На основе этой канальной информации блок 37 управления указывает один за другим каналы для эталонного селектора 32. В данном случае указатель (р) 362 на фиг.9 показывает тот канал в списке 361, который следующим подвергается постоянному контролю и принимает значение в диапазоне от 0 до n.
Передающий блок 35 является блоком, от которого данные выбираемого состояния канала, хранимые в блоке 36 памяти, в заранее определенное время посылаются к Центру (не показан).
Блок 37 управления является блоком, который контролирует устройство 3 в целом и он реализован на базе микропроцессорного устройства (MPU) и управляющей программы. Диаграмма алгоритма контроля блока 37 управления показана на фиг.10.
Ниже приводится описание работы устройства 3 для постоянного контроля, соответствующее данному предпочтительному варианту изобретения.
Блок 37 управления начинает процедуру постоянного контроля канала по фиг.10 со считывания через сигнальную линию 46 канальной информации (обозначенной как х), хранимой в блоке 343 памяти приемного блока 34 дистанционного управляющего сигнала (этап S1). Далее блок 37 устанавливает указатель р (362) таким образом, что он показывает тот один из каналов, хранимый в списке 361 каналов, который является тем же каналом, что и указанный канальной информацией х, считанной на этапе S1 (этап S2).
Затем блок 37 управления указывает канальную информацию, установленную в указателе р для эталонного селектора 32 каналов через сигнальную линию 41-2, вызывая прием этим селектором указанного канала (этап S3). Этот канал обозначен как С(р). В этом случае, когда канал С(р) является каналом аналогового наземного телевещания, блок 37 указывает канал для аналогового селектора 321 каналов УКВ/ДЦВ наземной волны через сигнальную линию 41-2 и контролирует аналоговый переключатель 325 через сигнальную линию 41-1 для выбора выходного сигнала от блока 322 звуковой модуляции. В случае канала цифрового спутникового телевещания (BS) блок 37 указывает канал для цифрового селектора 323 BS каналов через сигнальную линию 41-3 и контролирует аналоговый переключатель через сигнальную линию 41-1 для выбора выходного сигнала от декодера 324 MPEG-2 (УЗК). В результате левый и правый звуковые стереосигналы посылаются от эталонного селектора 32 каналов к блоку 31 звукового сравнения через сигнальные линии 42 и 43. В то же время левый и правый звуковые стереосигналы с выходной клеммы 13 громкоговорителя телевизионного приемника 1 вводятся в блок 31 звукового сравнения через кабели 4 и 5.
Далее для сравнения первыми левых стереосигналов блок 37 управления контролирует аналоговые переключатели 311 и 313 блока 31 звукового сравнения через сигнальную линию 44-1 для выбора левых звуковых стереосигналов (кабель 4 и сигнальная линия 42) (этап S4). В результате оператор 312 БПФ выделяет в качестве характерного параметра, подлежащего проверке, характерный параметр левого звукового стереосигнала, полученного от телевизионного приемника 1, тогда как оператор 314 БПФ выделяет характерный параметр левого стереосигнала канала С(р) в качестве эталонного характерного параметра. Компаратор 15 результата операции вычисляет степень подобия характерного параметра, подлежащего проверке, и эталонного характерного параметра, и если степень подобия ниже заранее определенного порогового значения, компаратор обеспечивает выходной сигнал детектированного совпадения к сигнальной линии 44-2, а в противном случае – выходной сигнал детектированного несовпадения к этой сигнальной линии.
Блок 37 постоянно контролирует выходной сигнал блока 31 звукового сравнения для установления того, что он обеспечивает выходной сигнал детектированного совпадения в пределах заранее заданного интервала времени (этап S5) и если обеспечивается выходной сигнал детектированного несовпадения в течении заранее определенного времени (NO на этапе S5), блок управления начинает контроль для сравнения правых звуковых стереосигналов того же канала С(р). В общем в случае стереофонического телевещания выбираемое состояние канала может постоянно контролироваться одним левым звуковым стереосигналом (звуковой сигнал L-канала), однако в случае двуязычного телевещания или тому подобного имеется возможность для зрителя выбирать звуковой стереосигнал R-канала, который является вторым звуковым сигналом. При контроле выбора правого звукового стереосигнала блок 37 управления контролирует аналоговые переключатели 311 и 313 через сигнальную линию 44-1 для выбора правых звуковых стереосигналов (кабель 5 и сигнальная линия 43) (этап S6). В результате оператор 312 БПФ выделяет в качестве характерного параметра, подлежащего проверке, характерный параметр правого звукового стереосигнала от телевизионного приемника 1, тогда как оператор 314 БПФ выделяет правый звуковой стереосигнал канала С(р) в качестве эталонного характерного параметра. Компаратор 315 результата операции вычисляет степень подобия характерного параметра, подлежащего проверке, и эталонного характерного параметра, и если степень подобия ниже заранее определенного порогового значения, компаратор обеспечивает выходной сигнал детектированного совпадения к сигнальной линии 44-2, а в противном случае – выходной сигнал детектированного несовпадения к этой сигнальной линии. Блок 37 постоянно контролирует выходной сигнал блока 31 звукового сравнения для установления того, что он обеспечивает выходной сигнал детектированного совпадения в пределах заранее определенного интервала времени (этап S7), и если выходной сигнал детектированного несовпадения обеспечивается в пределах заранее определенного времени (NO на этапе S7), блок управления производит приращение указателя р на единицу (этап S8); если значение не достигает максимального значения х (NO на этапе S9), блок управления возвращается к этапу S3 и повторяет описанную выше обработку для следующего канала, подвергаемого постоянному контролю, в списке 361. Когда значение указателя р превышает максимальное значение х (YES на этапе S9), блок управления устанавливает значение указателя р на 0 (этап S10), затем возвращается к этапу S3 и повторяет описанную выше обработку для первого канала, подвергаемого постоянному контролю, в списке 361 каналов.
В то же время, когда установлено на любом одном из этапов S5 и S7, что блок 31 звукового сравнения обеспечивает выходной сигнал детектированного совпадения, блок 37 управления определяет канал С(р) как находящийся в обращении настроенный канал (этап S11). Также блок 37 обновляет канальную информацию в блоке 343 памяти приемного блока 34 дистанционного управляющего сигнала информацией о канале, определенном выше (этап S12). Причина этого состоит в том, что канал, принятый и идентифицированный приемным блоком 34, не всегда совпадает с каналом, принятым телевизионным приемником 1. Между прочим, когда канальная информация, хранимая в блоке 343 памяти, является такой же, как информация канала, указанного как выбираемый, блок 37 может пропустить обновление канальной информации, хранимой в блоке 343 памяти.
Далее блок 37 управления считывает из регистра 338 через сигнальную линию 45 результат детектированного видеоформата, полученный в блоке 33 определения видеоформата (этап S13). Этот результат представляет вид видеоформата выбранного канала, в текущий момент отображаемого на дисплее телевизионного приемника 1. Также блок 37 формирует один фрагмент данных выбранного канала и хранит его в блоке 36 памяти (этап S14). Этот фрагмент данных содержит информацию о выбранном канале, результат детектированного видеоформата и текущее время.
Затем блок 37 управления постоянно контролирует при регулярных временных интервалах выходной сигнал от блока 31 звукового сравнения для установления того, что он продолжает выводить сигнал детектированного совпадения (этап S15). Когда пользователь смотрит ту же программу без изменения канала телевизионного приемника 1, блок 31 звукового сравнения поддерживает выведение сигнала детектированного совпадения и соответственно блок 37 остается на этапе S15. Если пользователь изменяет канал телевизионного приемника 1 путем манипулирования передатчиком 2 дистанционного управляющего сигнала, то блок 31 звукового сравнения прекращает выводить сигнал детектированного совпадения. При определении этого (NO на этапе S15) блок 37 управления возвращается к этапу S1 и повторяет описанную выше обработку, тем самым определяя переключенный канал. Сигнал, излученный от передатчика 2 дистанционного управляющего сигнала в момент изменения канала телевизионного приемника 1, принимается приемным блоком 34 дистанционного управляющего сигнала устройства 3 и содержания блока 343 памяти канальной информации обновляются информацией о переключенном канале. Соответственно блок 37 считывает канальную информацию х из блока 343 памяти (этап S1), затем соответственно устанавливает указатель р (этап S2) и канал С(р) в качестве канала, подвергаемого постоянному контролю (этап S3), причем рассмотренный канал С(р) указывается как находящийся в обращении выбранный канал с высокой вероятностью. Причина установки условия высокой вероятности состоит в том, что сигнал от передатчика 2 иногда может не достигать приемного блока 34 из-за влияния препятствия или тому подобного.
Как описано выше, устройство 3 для постоянного контроля согласно данному предпочтительному варианту позволяет производить быструю и точную идентификацию канала, выбранного на телевизионном приемнике 1, и определение видеоформата, в котором отображается видеоизображение выбранного канала.
Между прочим, изобретение не ограничено специально описанным выше предпочтительным вариантом, но могут быть проведены различные другие дополнения и модификации, как описано ниже.
Хотя упомянутый выше телевизионного приемник 1 с селектором 11 каналов УКВ/ДЦВ и цифровым селектором 12 BS каналов, встроенными в него, служит примером телевизионного приемника, подлежащего постоянному контролю, типы и количества встроенных селекторов каналов не ограничены специально такими. С устройством согласно изобретению также возможно постоянно контролировать телевизионные приемники, которые принимают цифровое спутниковое телевещание или тому подобное путем использования установочной верхней «врезки» в изображении.
Хотя упомянутый выше звуковой сигнал от громкоговорителя телевизионного приемника 1 описан как получаемый от выходной клеммы 13 громкоговорителя, также можно использовать конструкцию, которая принимает выходной сигнал громкоговорителя при помощи микрофона.
В случае применения изобретения к так называемому измерению персонального рейтинга зрителей, которое определяет, какая личность в выборочных домашних условиях смотрит телевидение, передатчик 2 дистанционного управляющего сигнала может быть также использован как комбинация передатчика сигнала идентификации личности и телевизионного пульта дистанционного управления, как предложено, например, в японской UM заявке №73046/93 на патент. Более того, изобретение применимо не только к телевизионному приемнику, использующему инфракрасный передатчик дистанционного управляющего сигнала, но также к телевизионному приемнику, использующему радиопередатчик дистанционного управляющего сигнала.
В случае аудиовизуального телевизионного приемника с внешними входными клеммами, когда он может быть использован также как монитор видеомагнитофона или аналогичного аудиовизуального оборудования, устройство согласно изобретению может быть приспособлено к определению сначала источника видеоизображения, реально отображаемого на телевизионном дисплее, и если источник представляет волну телевещания, можно перейти к канальному мониторингу. Источник отображенного видеоизображения может постоянно контролироваться путем использования, например, способа, раскрытого в описании изобретения по патенту США №6487719.
Промышленная применимость
Как описано выше, способ постоянного контроля выбираемого состояния канала и устройство в соответствии с изобретением полезны в качестве способа постоянного контроля выбираемого состояния телеканала и устройства, которые постоянно контролируют выбираемое состояние канала телевизионного приемника, установленного в выборочных домашних условиях для обследования рейтинга телезрителей, и как способ и устройство для определения вида видеоформата, в котором отображается видеоизображение выбранного канала; в частности, изобретение полезно для применения при способе и устройстве для постоянного контроля выбираемого состояния многоканального телевидения, способного принимать с одним телевизионным приемником несколько видов телевещания, таких как аналоговое наземное телевещание и цифровое спутниковое телевещание.
Формула изобретения
1. Способ постоянного контроля выбираемого состояния телеканала, позволяющего идентифицировать канал, действительно принимаемый телевизионным приемником, имеющим, по меньшей мере, один встроенный селектор (11, 12) каналов и приемник (14) дистанционного управляющего сигнала на телевизионной стороне для приема и идентификации дистанционного управляющего сигнала от передатчика (2) дистанционного управляющего сигнала, а также контроля настраиваемого состояния канала встроенного селектора каналов, и обеспечивающего видео- и звуковые сигналы выбранного канала к дисплею и громкоговорителю соответственно, при этом способ содержит следующие этапы: (а) принимают и идентифицируют сигнал от передатчика дистанционного управляющего сигнала и определяют канал, принимаемый телевизионным приемником; и (b) контролируют настраиваемое состояние канала эталонного селектора (32) каналов для приведения к совпадению звуковых сигналов от эталонного селектора каналов и громкоговорителя телевизионного приемника, причем эталонный селектор каналов способен выводить звуковой сигнал произвольного одного из заранее определенного числа каналов; при этом этап (Ь) содержит следующие этапы: (b-1) когда звуковой сигнал от эталонного селектора каналов не совпадает со звуковым сигналом от громкоговорителя телевизионного приемника, эталонный селектор переключают от канала, определенного на этапе (а), к другому одному из заранее определенного числа каналов в последовательном порядке до тех пор, пока не совпадут один с другим оба звуковых сигнала; (b-2) определяют в качестве находящегося в обращении выбранного канала канал, настроенный эталонным селектором каналов в момент, когда оба звуковых сигнала совпадают снова; и (b-3) хранят в блоке (36) памяти данные выбранного канала, содержащие информацию о канале, определенном как находящийся в обращении настроенный канал, и соответствующую временную информацию.
2. Способ по п.1, отличающийся тем, что дополнительно содержит этап (с) определения вида формата видеоизображения, отображенного на дисплее телевизионного приемника, и вид видеоформата, определенный на этапе (с), добавляют к данным выбранного канала, подлежащим хранению в блоке памяти на этапе (b-3).
3. Способ п.2, отличающийся тем, что этап (с) содержит следующие этапы: (с-1) детектируют сигнал синхроимпульса строк, поступающий к дисплею телевизионного приемника; (с-2) подсчитывают период сигнала синхроимпульса строк, детектированного на этапе (с-1); и (с-3) определяют вид формата видеоизображения, в текущее время отображенного на дисплее, на основе значения счета, полученного на этапе (с-2).
4. Способ по п.1, отличающийся тем, что этап (b) дополнительно содержит этап (b-4) записи информации о находящемся в обращении выбранном канале, указанном на этапе (b-2), в блоке памяти канальной информации и этап (а) содержит следующие этапы: (а-1) определяют канал, подлежащий переключению, на основе результата идентификации сигнала, принятого от передатчика дистанционного управляющего сигнала, и информации текущего выбранного канала, хранимой в блоке памяти канальной информации; и (а-2) записывают информацию о канале, определенном на этапе (а-1), в блоке памяти канальной информации.
5. Способ по п.1, отличающийся тем, что этап (b-1) представляет этап вычисления частотного спектра звукового сигнала от эталонного селектора каналов и частотного спектра звукового сигнала от громкоговорителя телевизионного приемника и сравнения обоих частотных спектров для определения тем самым того, что совпадают или не совпадают звуковой сигнал от эталонного селектора и звуковой сигнал от громкоговорителя телевизионного приемника.
6. Устройство (3) постоянного контроля выбираемого состояния телеканала, выполненное с возможностью идентификации канала, действительно принимаемого телевизионным приемником (1), имеющим по меньшей мере один встроенный селектор (11, 12) каналов и приемник (14) дистанционного управляющего сигнала на стороне телевизионного приемника для приема и идентификации дистанционного управляющего сигнала от передатчика (2) дистанционного управляющего сигнала, а также для контроля настраиваемого состояния канала встроенного селектора каналов, и обеспечивающим видео- и звуковые сигналы текущего настроенного канала к дисплею и громкоговорителю соответственно, при этом устройство содержит эталонный селектор (32) каналов, способный выводить звуковой сигнал произвольного одного из заранее определенного числа каналов; блок (31) звукового сравнения, предназначенный для определения того, совпадают или не совпадают друг с другом звуковой сигнал от громкоговорителя телевизионный приемника и звуковой сигнал от эталонного селектора каналов; приемник (34) дистанционного управляющего сигнала на стороне монитора, предназначенный для приема и идентификации сигнала от передатчика дистанционного управляющего сигнала для определения канала, в данное время выбранного телевизионным приемником; блок (37) управления, который контролирует настраиваемое состояние канала эталонного селектора каналов таким образом, что выходной сигнал блока звукового сравнения остается сигналом детектированного совпадения, а когда выходной сигнал детектированного совпадения от блока звукового сравнения изменяется на выходной сигнал детектированного несовпадения, переключает эталонный селектор каналов от канала, определенного приемником дистанционного управляющего сигнала на стороне монитора, на другой один из заранее определенного числа каналов в последовательном порядке до тех пор, пока не будет найден канал эталонного селектора, для которого блоком звукового сравнения детектируется совпадение; определяет в качестве текущего выбранного канала канал, в данное время настроенный эталонным селектором, для которого выходной сигнал блока звукового сравнения снова становится выходным сигналом детектированного совпадения; и выводит данные выбранного канала, содержащие информацию о канале, определенном как текущий выбранный канал, и соответствующую временную информацию; и блок (36) памяти для хранения данных выбранного канала, полученных от блока управления.
7. Устройство по п.6, отличающееся тем, что дополнительно содержит блок определения видеоформата, предназначенный для детектирования вида формата видеоизображения, отображенного на дисплее телевизионного приемника; и блок управления добавляет результат детектирования вида формата от блока определения видеоформата к данным выбранного канала.
8. Устройство по п.7, в котором блок определения видеоформата содержит блок (15, 331) детектирования сигнала синхроимпульса, предназначенный для определения сигнала синхроимпульса строк, поступающего к дисплею телевизионного приемника; счетчик (333) для подсчета периода сигнала синхроимпульса строк, определенного блоком детектирования сигнала синхроимпульса строк; и блок (337) определения формата, предназначенного для детектирования вида формата видеоизображения, отображенного на дисплее, на основе значения счета от счетчика.
9. Устройство по п.6, отличающееся тем, что приемник дистанционного управляющего сигнала на стороне монитора содержит блок (343) памяти канальной информации, в котором записана информация о текущем выбранном канале указанным блоком управления; и блок (342) идентификации, предназначенный для определения канала, подлежащего переключению, и записи информации об указанном канале в блоке памяти канальной информации.
10. Устройство по п.6, отличающееся тем, что эталонный селектор каналов является селектором каналов того же вида, что и встроенный селектор каналов, и имеет несколько установок селектора (321, 323) каналов со стороны монитора, настраиваемое состояние канала которого контролируется блоком управления, и блок (322, 324) звуковой демодуляции, предназначенный для демодуляции правых и левых звуковых стереосигналов с выхода селектора каналов со стороны монитора, причем несколько установок равны по количеству видам встроенных селекторов каналов в телевизионном приемнике; первый аналоговый переключатель (325), предназначенный для вывода через него правого и левого звуковых стереосигналов, полученных от блока звуковой демодуляции в той одной из нескольких установок, которая указана блоком управления; а блок звукового сравнения содержит второй аналоговый переключатель (311), предназначенный для выбора того одного из правого и левого звуковых стереосигналов с выходных клемм громкоговорителя телевизионного приемника, который (звуковой сигнал) указан блоком управления; третий аналоговый переключатель (313), предназначенный для выбора того одного из правого и левого звуковых стереосигналов от эталонного селектора каналов, который (звуковой сигнал) указан блоком управления; первый оператор (312), предназначенный для выполнения быстрого преобразования Фурье звукового сигнала, проходящего через второй аналоговый переключатель; второй оператор (314), предназначенный для выполнения быстрого преобразования Фурье звукового сигнала, проходящего через третий аналоговый переключатель; и компаратор (315) для сравнения результатов операций первого и второго операторов и получения результата сравнения в качестве детектированного выходного сигнала к блоку управления.
РИСУНКИ
MM4A – Досрочное прекращение действия патента СССР или патента Российской Федерации на изобретение из-за неуплаты в установленный срок пошлины за поддержание патента в силе
Дата прекращения действия патента: 13.02.2010
Извещение опубликовано: 27.11.2010 БИ: 33/2010
|
|