|
|
(21), (22) Заявка: 2003108778/09, 31.03.2003
(24) Дата начала отсчета срока действия патента:
31.03.2003
(43) Дата публикации заявки: 27.09.2004
(45) Опубликовано: 20.06.2005
(56) Список документов, цитированных в отчете о поиске:
RU 2076382 C1, 27.03.1997. RU 2185664 С1, 20.07.2002. RU 2188461 С1, 27.08.2002. ЕР 0696047 А1, 07.02.1996. FR 2490378 A1, 19.03.1982.
Адрес для переписки:
105064, Москва, Гороховский пер., 8, кв.62, Патентное бюро”Волиник”, пат.пов. М.С.Федотовой
|
(72) Автор(ы):
Соколов Ю.Б. (RU)
(73) Патентообладатель(и):
Общество с ограниченной ответственностью “ДиС ПЛЮС” (RU)
|
(54) ПЛАЗМЕННАЯ ПАНЕЛЬ НАБОРНОГО ЭКРАНА
(57) Реферат:
Изобретение относится к области техники индикации, может быть использовано при создании наборных цветных телевизионных экранов коллективного пользования на плазменных панелях. Технический результат – увеличение яркости свечения элементов отображения плазменной панели, устранение мозаичности изображения, повышение качества отображаемой информации. Достигается за счет введения на тыльной стороне тыльных диэлектрических пластин, смежных по горизонтали, в количестве n 2… и тыльных диэлектрических пластин, смежных по вертикали, в количестве m 2…, что позволило разделить электроды анодов панели на группы со своими выводами электродов, и увеличить время длительности горения разряда при меньшем количестве сканирования катодов. 4 с. и 16 з.п. ф-лы, 10 ил. 
Изобретение относится к области техники индикации и может быть использовано для построения наборных цветных телевизионных экранов коллективного пользования на пламенных панелях.
Известна плазменная панель наборного экрана, содержащая лицевую и тыльную диэлектрические пластины, систему пространственно перпендикулярных электродов анодов и катодов с выводами на торцах диэлектрических пластин, диэлектрическая матрица образует элементы отображения [1]. К причине, препятствующей достижению требуемого технического результата при использовании известного устройства, относится то, что в известной плазменной панели невозможно отображать телевизионную информацию, так как в элементах отображения нет люминофора.
Известна плазменная панель для наборного экрана содержащая лицевую и тыльную диэлектрические пластины, систему пространственных взаимно-перпендикулярных электродов анодов и катодов выполненных из проводов, которые с помощью матрицы образуют элементы отображения, на поверхности тыльной диэлектрической пластине в элементах отображения находится люминофор [2]. К причинам, препятствующим достижению требуемого технического результата при использовании известного устройства, относится то, что в известной плазменной панели формирование выступов с сечением трапециевидной формы и диэлектрических барьеров в соответствии с предложенными соотношениями не позволяют применять люминофор на лицевой пластине из-за увеличенного излучения ультрафиолета через щель трапециевидной формы между выступами относительно лицевой пластины. Отсутствие люминофора на лицевой пластине уменьшает яркость свечения на 20%-30%. Кроме того, усложняется серийный технологический процесс изготовления панелей при соблюдении предложенных соотношений, потому что требуется дополнительная оснастка с высокой точностью, что увеличивает стоимость панели.
Известна плазменная панель для наборного экрана, содержащая лицевую и тыльную диэлектрические пластины, систему пространственных взаимно перпендикулярных электродов анодов и катодов, выполненных из проводов, которые с помощью матрицы образуют элементы отображения, и на поверхности тыльной диэлектрической пластины в элементах отображения находится люминофор, а толщина диэлектрических пластин и диаметр проводов выбираются из предложенного соотношения [3]. К причинам, препятствующим достижению требуемого технического результата при использовании известного устройства, относится то, что в известной плазменной панели предложенное соотношение между толщиной диэлектрической пластины и диаметром проводов со стороны нижней границы не функционирует, поэтому не может использоваться, как критерий выбора толщины пластин и диаметров проводов электродов.
Наиболее близким устройством того же назначения к заявленному устройству является плазменная панель наборного экрана, содержащая лицевую и тыльную диэлектрические пластины, соединяющиеся по периметру швом герметизации, и на внутренней поверхности лицевой диэлектрической пластине формируется лицевая черная матрица с люминофором. На тыльной диэлектрической пластине располагается штенгель откачки и наполнения газа, в каждой строке панели элементы отображения формируются диэлектрическими барьерами матрицы, и на поверхность диэлектрических барьеров матрицы вдоль длины элементов отображения наносятся выступы, которые располагаются с промежутками относительно диэлектрических барьеров ширины элементов отображения. Аноды и катоды в элементах отображения выполняются из проводников в виде провода и располагаются ортогонально между собой, при этом аноды – по вертикали экрана, а катоды – параллельно строкам, выводы анодов и катодов выводятся через торцы тыльной пластины, цвет свечения каждого элемента отображения определяется люминофором [4]. К причине, препятствующей достижению требуемого технического результата при использовании известной цветной плазменной панели, принятой за прототип, относится то, что в этой панели нет условий для увеличения яркости свечения элементов отображения.
Заявленная группа изобретений решает задачу улучшения качества отображаемой информации на экране, набранном из плазменных панелей. При осуществлении группы изобретений будет получен единый технический результат, а именно увеличение яркости свечения элементов отображения плазменной панели и качества отображаемой информации, за счет введения на тыльной стороне n 1 тыльных диэлектрических пластин, смежных по горизонтали и из m 2 тыльных диэлектрических пластин, смежных по вертикали, относительно лицевой пластины, что позволило разделить электроды анодов панели на группы со своими выводами электродов для повышения времени длительности горения разряда, а также убрать мозаичность в панели с увеличенными размерами.
Указанный технический результат при осуществлении группы изобретений достигается тем, что в первом варианте изобретения, в известной плазменной панели наборного экрана, содержащей лицевую и тыльную диэлектрические пластины, соединяющихся по периметру швом герметизации и на внутренней поверхности лицевой диэлектрической пластине формируется лицевая черная матрица с люминофором. На тыльной диэлектрической пластине располагается штенгель откачки и наполнения газа, в каждой строке панели элементы отображения формируются диэлектрическими барьерами матрицы. На поверхность диэлектрических барьеров матрицы вдоль длины элементов отображения наносятся выступы, которые располагаются с промежутками относительно диэлектрических барьеров ширины элементов отображения. В элементах отображения аноды и катоды выполняются из проводников в виде провода и располагаются ортогонально между собой. При этом аноды – по вертикали экрана, а катоды – параллельно строкам, выводы анодов и катодов выводятся через торцы тыльной пластины. Цвет свечения каждого элемента отображения определяется люминофором, при этом на тыльной стороне панель выполнена из n 2 тыльных диэлектрических пластин, смежных по горизонтали, и из m 2 тыльных диэлектрических пластин, смежных по вертикали, при этом в каждой пластине на поверхности сформирована тыльная черная матрица в виде взаимно перпендикулярных диэлектрических полос. Между диэлектрическими полосами нанесен люминофор, на поверхности которого расположены провода анодов, запечатанные на поверхности диэлектрических полос, определяющих ширину элемента отображения тыльной черной матрицы, первыми слоями диэлектрических барьеров матрицы, а вторыми слоями диэлектрических барьеров матрицы запечатаны провода катодов. На вторые слои диэлектрических барьеров матрицы нанесены выступы с высотой, равной расстоянию длины пробега ионизирующих электронов при выбранном давлении смеси газа. Выводы проводов анодов и катодов проходят через торцы этих пластин, при этом на краях внешней части каждой тыльной диэлектрической пластины сделаны фаски шва герметизации и укладки проводов, и в торцах с выводами анодов нарезаны пазы для укладки анодов, при этом в диэлектрических пластинах на смежных сторонах пазы для укладки анодов на одном крае расположены асимметрично относительно другого края. В тыльных диэлектрических пластинах, расположенных по периметру панели, пазы сделаны только на смежных сторонах. В тыльных пластинах со смежными сторонами в элементах отображения расположенных на краях смежных сторон, с одного края крайний диэлектрический барьер матрицы вдоль строки элементов отображения или вдоль длины элементов отображения по вертикали не сформирован. На лицевой диэлектрической пластине по краям торцов с внутренней поверхности сделаны фаски. На лицевой диэлектрической пластине по краям торцов с внешней и внутренней поверхности стороны сделаны фаски. Ширина полос задней черной матрицы выбрана из соотношения: а=(1,1÷1,4)b, где а – ширина полосы черной матрицы, b – ширина диэлектрического барьера матрицы. Ширина полос на лицевой черной матрицы по вертикали экрана равна ширине выступов, а по горизонтали экрана равна ширине диэлектрических барьеров матрицы, которые определяют ширину элементов отображения. На каждой тыльной диэлектрической пластине расположен штенгель откачки и наполнения газа 9. Штенгель откачки и наполнения газа расположен на каждой второй тыльной диэлектрической пластине или на границе смежных диэлектрических пластин. Ширина выступов определена из соотношения: b1=(0,5÷1,0)b, где b – ширина диэлектрического барьера элемента отображения, b1 – ширина выступа, а длина промежутка между выступами определена из соотношения: L=(0,8÷1,2)b, где b – ширина диэлектрического барьера элементов отображения, L – длина промежутка. Выступы выполнены из прозрачного диэлектрического материала. Ширина и глубина паза укладки анода выбрана согласно соотношениям: 2,0d c 0,3S и 1,5d е 0,2b, где b – ширина диэлектрического барьера элемента отображения, d – диаметр провода, с – ширина паза, е – глубина паза, S – ширина элемента отображения. После герметизации панели на каждой тыльной диэлектрической пластине установлена печатная плата разводки выводов анодов и катодов для подключения к схеме управления или к части элементов схемы управления. На тыльной стороне панель выполнена из m 2 тыльных диэлектрических пластин, смежных по вертикали, и содержит один штенгель откачки и наполнения газа, который расположен на одной из тыльных диэлектрических пластин или на границе смежных тыльных диэлектрических пластин. Во втором варианте изобретения, при m=2 тыльных диэлектрических пластин, смежных по вертикали, и n 1 тыльных диэлектрических горизонтальных пластин, на поверхности тыльной пластины сформирована тыльная черная матрица, и между диэлектрическими полосами нанесен люминофор, на поверхность которого уложены провода анодов каждого элемента отображения строки, провода анодов запечатаны на поверхности диэлектрических полос тыльной черной матрицы первыми слоями диэлектрических барьеров матрицы, а в середине тыльной пластины на поверхности диэлектрической полосы тыльной черной матрицы провода анодов запечатаны двумя барьерами с промежутком между собой, в котором провода анодов обрезаны и изолированы диэлектриком. Провода катодов запечатаны вторыми слоями диэлектрических барьеров матрицы, на которые нанесены выступы с высотой, равной расстоянию длины пробега ионизирующих электронов при выбранном давлении смеси газа.
В третьем варианте изобретения на лицевой диэлектрической пластине между диэлектрическими полосами черной матрицы по длине каждого элемента отображения сформированы выемки, на поверхность которых нанесен люминофор. На лицевой диэлектрической пластине панели для каждого цвета люминофора между диэлектрическими полосами черной матрицы по вертикали панели сформированы общие выемки с длиной, равной длине анода.
В четвертом варианте изобретения плазменная панель наборного экрана содержит лицевую и тыльную диэлектрические пластины, соединяющиеся по периметру швом герметизации, и на внутренней поверхности лицевой диэлектрической пластины формируется лицевая черная матрица с люминофором. На тыльной диэлектрической пластине барьерами матрицы из диэлектрика формируются элементы отображения, содержащие провода анодов и перпендикулярно им провода катодов. При этом толщина лицевой и тыльной диэлектрических пластин Тпл и высота h расположения проводов катодов на барьерах матрицы из диэлектрика относительно поверхности тыльной пластины выбраны из соотношения: 12 Тпл/h 1, при этом провода анодов и катодов с диаметром (0,1÷0,25) мм. Выполнение на задней стороне панели из n 2… тыльных диэлектрических пластин, смежных по горизонтали, и из m 2… тыльных диэлектрических пластин, смежных по вертикали, с различным количеством штенгелей откачки и наполнения смесью газа и различными вариантами их расположения дает возможность разделить аноды на две группы со своими выводами и иметь независимые развертки сканирования по катодам, при вводе и отображении информации. Это повышает длительность времени горения разряда, что увеличивает яркость свечения панели в 1,8-1,9 раз, при формировании люминофора на поверхностях лицевой и тыльной пластин. Нанесение выступов с предложенным расположением и размерами позволяет устранить статистическое запаздывание возникновения разряда, что обеспечивает надежную работу панели, а также сформировать на лицевой пластине черную маску с оптимальными размерами полос, что повышает контраст отображаемой информации и соответственно качество изображения. Введение пазов с предложенными размерами на краях смежных сторон тыльных диэлектрических пластин обеспечивает расположение пластин без зазора, что, вместе с отсутствием в элементах отображения расположенных с края одной тыльной пластины на смежной стороне, диэлектрических барьеров ширины элемента отображения, дает возможность изготовить панель с одинаковыми размерами элементов отображения во всех строках по всему полю индикации, что убирает «мозаичность» изображения на панели. Установка на каждой тыльной пластине вариантов печатной платы разводки выводов анодов и катодов позволяет выбрать оптимальный способ подключения панели к схеме управления. При внутренней разрезке электродов индикации между двух барьеров панель имеет повышенную надежность герметизации. Выполнение панели с лицевой пластиной, где люминофор элемента отображения расположен в выемках с разными вариантами их выполнения, повышает яркость панели. Предложенное соотношение между толщиной диэлектрической панели и высотой намотки проводов катодов позволяет устранить деформацию пластины при выбранном размере элемента отображения, что обеспечивает равномерность размеров по высоте элементов отображения по всему полю индикации панели, позволяет создавать наборные экраны, имеющие минимальные размеры стыковочных швов между панелями, и повышает качество отображаемой информации. Для проверки соответствия каждого из вариантов заявленной группы изобретений требованию изобретательского уровня был проведен дополнительный поиск известных решений с целью выявления признаков, совпадающих с отличительными от прототипа заявленного изобретения, результаты которого показывают, что заявленное изобретение не следует для специалиста явным образом из известного уровня техники. Так как не известны технические решения, в которых увеличение яркости свечения панели наборного экрана достигалось бы путем выполнения тыльной диэлектрической пластины из n 2… тыльных диэлектрических пластин, смежных по горизонтали, и из m 2… тыльных диэлектрических пластин, смежных по вертикали, на которых формируются черные маски с люминофором и барьерами диэлектрической матрицы элементов отображения и наматываются провода анодов и катодов. На лицевой диэлектрической пластине расположены выемки, а на торцах по краям смежных сторон тыльных пластин сделаны пазы для выводов анодов, и пазы одной пластины смещены относительно другой пластины, чтобы обеспечить изоляцию разделенных анодов и сформировать во всех строках панели элементы отображения с одинаковыми размерами, в том числе в строке, расположенной на стыке задних диэлектрических пластин. Выступы на диэлектрических барьерах нанесены с определенными размерами, относительно которых формируют полосы черной матрицы на лицевой пластине. Различные варианты расположения на тыльной пластине штенгеля откачки и наполнения смесью газа позволяют более оптимально сконструировать схему управления, а применение в панели нескольких штенгелей откачки и наполнения смесью газа повышает ресурс долговечности панели.
Предлагаемая плазменная панель наборного экрана представлена чертежами:
На фиг.1 схематически представлена плазменная панель наборного экрана.
На фиг.2 схематически представлена в разрезе по вертикали плазменная панель первого варианта.
На фиг.3 схематически представлена в разрезе вдоль строки плазменная панель.
На фиг.4 схематически представлена часть диэлектрической пластины тыльной стороны панели.
На фиг.5 схематически представлены диэлектрические пластины тыльной стороны с пазами на торцах смежных сторон.
На фиг.6 схематически представлен торец диэлектрической пластины тыльной стороны панели.
На фиг.7 схематически представлена другая панель первого варианта.
На фиг.8 схематически представлена в разрезе по вертикали плазменная панель второго варианта.
На фиг.9 схематически представлена в разрезе вдоль строки плазменная панель третьего варианта.
На фиг.10 схематически представлена в разрезе вдоль строки плазменная панель четвертого варианта.
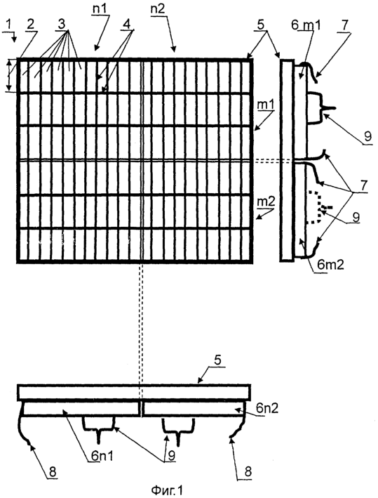
В плазменной панели 1 наборного экрана (фиг.1) каждая строка 2 содержит элементы отображения 3, которые визуально отделены друг от друга полосами черной матрицы 4, сформированной на внутренней поверхности лицевой диэлектрической пластины 5. На тыльной стороне панель имеет две диэлектрические пластины 6m1, 6m2 по вертикали и две диэлектрические пластины 6n1, 6n2 по горизонтали. В каждой тыльной диэлектрической пластине на одной стороне через торцы проходят выводы проводов анодов 7, на другой стороне через торцы проходят выводы проводов катодов 8. Панель 1 может иметь только на одной пластине 6 штенгель 9 откачки и наполнения газа или на каждой пластине, показанные пунктиром (фиг.1). В разрезе панели вдоль строки на поверхности каждой тыльной пластины 6 (фиг.2) сформирована черная матрица с диэлектрическими полосами 10, ширина которых выбрана из соотношения а=(1,1÷1,4)b, где а – ширина полосы черной матрицы, b – ширина диэлектрического барьера матрицы. Между диэлектрическими полосами 10, в элементах отображения 3 на поверхности тыльной пластины 6 располагается люминофор 11, на поверхности которого уложены провода анодов 7. Провода анодов 7 запечатаны первыми слоями диэлектрических барьеров 12 матрицы, которая формируется на поверхности диэлектрических полос 10 черной матрицы. Провода катодов 8 в элементах отображения запечатаны вторыми слоями диэлектрических барьеров 13 матрицы. Лицевая диэлектрическая пластина 5 и тыльные диэлектрические пластины 6 панели 1 герметизируются по периметру и между смежными тыльными диэлектрическими пластинами 6n, 6m швом 15 (фиг.2). Лицевые и тыльные диэлектрические пластины 5, 6 по краям имеют фаски 16, которые повышают надежность герметизации, а тыльные пластины с фасками дают возможность более оптимально укладывать провода анодов 7 при меньшем угле изгиба по торцу пластин через пазы 17. На поверхности 18 диэлектрических барьеров 13 нанесены выступы 14 (фиг.3, 4), ширина которых определена из соотношения: b1=(0,2÷1,0)b, где b – ширина диэлектрического барьера элемента отображения, b1 – ширина выступа, а длина промежутка между выступами 14 определена из соотношения: L=(0,8÷1,2)b, где b – ширина диэлектрического барьера 12, 13 матрицы элементов отображения, L – длина промежутка. Высота k выступов не меньше расстояния длины пробега ионизирующих электронов при выбранном давлении смеси газа. При давлении газа порядка 100 Top длина пробега ионизирующих электронов составляет величину 10-2-10-3 см. На лицевой диэлектрической пластине 5 панели (фиг.3) ширина полос черной матрицы 4 в каждом элементе отображения 3 может быть по вертикали равна или больше ширины выступов 14 на поверхности 18 диэлектрических барьеров 12, 13 матрицы элементов отображения 3. Выступы 14 с шириной “b1” расположены на поверхности 18 диэлектрической барьеров 12, 13 матрицы с шириной “b” вдоль длины элемента отображения и на расстоянии “L” между собой с учетом ширины “b” барьеров 12, 13 (фиг.4). Вариант выполнения выступов 14а (фиг.1), где начало выступов в крайних элементах отображения совмещено с крайними диэлектрическими барьерами матрицы, которые определяют ширину элемента отображения. На тыльной стороне диэлектрических пластин (фиг.5) показаны пазы 17 на тыльной пластине 6n и на тыльной пластине 6m. Ширина паза “с” выбирается с учетом диаметра провода “d” и ширины “S” элемента отображения, а глубина “е” паза определяется с учетом диаметра провода и ширины диэлектрического барьера матрицы элемента отображения. В смежных тыльных пластинах 6 относительно друг друга смещение пазов 17 выбрано на величину “Lсм”, с учетом диаметра проводов. Для снижения вероятности замыкания, при укладке проводов анодов в смежных тыльных пластинах, пазы сделаны с наклоном на каждом торце, как показано на фиг.6. Наклон пазов на каждом смежном торце тыльной пластины выполняется в разные стороны. В панели (фиг.7) на одной смежной тыльной пластине 6m в элементах отображения, расположенных на краях смежных сторон, с одного края крайний диэлектрический барьер матрицы вдоль строки элементов отображения не сформирован. Во втором варианте конструкции панели наборного экрана (фиг. 8) провода анодов обрезаны в середине панели между диэлектрическими барьерами матриц смежных тыльных диэлектрических пластин 6n и 6m. На фиг.9 показана в разрезе плазменная панель наборного экрана третьего варианта, в которой на лицевой диэлектрической пластине 5 сформированы выемки 19, на поверхность которых нанесен люминофор 11. На фиг. 10 показана панель четвертого варианта, в которой толщина Тпл лицевой и тыльной диэлектрических пластин и высота h проводов катодов на барьерах матрицы из диэлектрика относительно поверхности тыльной пластины выбраны из соотношения: 12 Тпл/h 2, при этом провода анодов и катодов имеют диаметр (0,1-0,25) мм.
Работа плазменной панели наборного экрана происходит следующим образом. При отображении информации с периодом повторения возникновения разряда Т в выбранных элементах отображения 3 каждой строки 2, вдоль которых расположены катоды 8, между выбранным анодом 7 и катодом 8 выбранной строки 2 прикладывается напряжение с амплитудой, выше напряжения возникновения разряда в выбранном элементе отображения, в котором происходит пробой газового промежутка между анодом и катодом, после чего напряжение уменьшается до напряжения разряда горения. Ультрафиолетовое излучение этого разряда возбуждает люминофор 11, обеспечивая его свечение в выбранном элементе отображения. Так как период повторения разряда и его длительность в элементе отображения зависит от количества строк, то яркость свечения элемента отображения повышается при уменьшенном количестве строк. Предложенная конструкция реализована в панели размером 400×400 мм, с размером цветного пиксела 6×6 мм, а элемент отображения 6×2 мм для наборного экрана имеет по горизонтали n=2 тыльных пластин и по вертикали m=4 тыльных пластин. По сравнению с известными панелями яркость повышена в 1,8 -1,9 раз. Если в прототипе панель имеет яркость (120-140) кд/м2, то в предложенном изобретении панель имеет яркость (220-250) кд/м2.
Таким образом, вышеизложенные сведения свидетельствуют о выполнении при использовании заявленной группы изобретений следующей совокупности условий:
– средство, воплощающее заявленную группу изобретений при его осуществлении, предназначенного для использования в системе индикации, выполненной в виде наборного экрана из модулей на базе плазменных панелей для отображения цветной видеоинформации;
– для заявленной группы изобретений в том виде, как оно охарактеризовано в независимых пунктах формулы изобретения, подтверждена возможность его осуществления при помощи вышеизложенных в заявке или известных до даты приоритета средств и методов;
– средство, воплощающее заявленную группу изобретений при его осуществлении, способно обеспечить достижение усматриваемого заявителем технического результата.
Источники информации
1. Патент ЕР 0696047, кл. H 01 J 17/04 от 07.02.1996 г.
2. Патент RU 2188461, кл. G 01 F 9/313 от 27.08.2002 г.
3. Патент RU 2186641, кл. G 01 F 9/313 от 20.07.2002 г.
4. Патент RU 2076382, кл. H 01 J 17/49 от 27.03.1997 г.
Формула изобретения
1. Плазменная панель наборного экрана, содержащая лицевую и тыльную диэлектрические пластины, соединяющиеся по периметру швом герметизации, на внутренней поверхности лицевой диэлектрической пластины формируется лицевая черная матрица с люминофором, на тыльной диэлектрической пластине располагается штенгель откачки и наполнения газа, в каждой строке панели элементы отображения матрицы формируют диэлектрическими барьерами и на поверхность матрицы диэлектрических барьеров вдоль длины элементов отображения наносятся выступы, которые располагаются с промежутками относительно ширины диэлектрических барьеров элементов отображения, аноды и катоды в элементах отображения выполняются из проводников в виде провода и располагаются ортогонально между собой, при этом аноды по вертикали экрана, а катоды параллельно строкам, выводы анодов и катодов выводятся через торцы тыльной пластины, цвет свечения каждого элемента отображения определяется люминофором, при этом на тыльной стороне панель выполнена из n 2… тыльных диэлектрических пластин, смежных по горизонтали, и из m 2… тыльных диэлектрических пластин, смежных по вертикали, при этом в каждой пластине на поверхности сформирована тыльная черная матрица в виде взаимно перпендикулярных диэлектрических полос, между диэлектрическими полосами нанесен люминофор, на поверхности которого расположены провода анодов, которые запечатаны на поверхности диэлектрических полос, определяющих ширину элемента отображения тыльной черной матрицы первыми слоями диэлектрических барьеров матрицы, а вторыми слоями диэлектрических барьеров матрицы запечатаны провода катодов и на вторые слои диэлектрических барьеров матрицы нанесены выступы высотой, равной расстоянию длины пробега ионизирующих электронов, при выбранном давлении смеси газа выводы проводов анодов и катодов проходят через торцы этих пластин, при этом на краях внешней части каждой тыльной диэлектрической пластины сделаны фаски для шва герметизации и укладки проводов, в торцах с выводами анодов нарезаны пазы для укладки анодов, при этом в диэлектрических пластинах на смежных сторонах пазы для укладки анодов на одном крае расположены асимметрично относительно другого края.
2. Плазменная панель наборного экрана по п. 1, отличающаяся тем, что в тыльных диэлектрических пластинах, расположенных по периметру панели, пазы сделаны только на смежных сторонах.
3. Плазменная панель наборного экрана по п. 1, отличающаяся тем, что в тыльных пластинах со смежными сторонами в элементах отображения, расположенных на краях смежных сторон, с одного края крайний диэлектрический барьер матрицы вдоль строки элементов отображения или вдоль длины элементов отображения по вертикали не сформирован.
4. Плазменная панель наборного экрана по п. 1, отличающаяся тем, что на лицевой диэлектрической пластине по краям торцов с внутренней поверхности выполнены фаски.
5. Плазменная панель наборного экрана по п. 4, отличающаяся тем, что на лицевой диэлектрической пластине по краям торцов с внешней и внутренней поверхностей стороны выполнены фаски.
6. Плазменная панель наборного экрана по п. 1, отличающаяся тем, что ширина полос тыльной черной матрицы выбрана из соотношения а=(1,1÷1,4)b, где а – ширина полосы черной матрицы, b – ширина диэлектрического барьера матрицы.
7. Плазменная панель наборного экрана по п. 1, отличающаяся тем, что ширина полос на лицевой черной матрице по вертикали экрана равна ширине выступов, а по горизонтали равна ширине диэлектрических барьеров матрицы, которые определяют ширину элементов отображения.
8. Плазменная панель наборного экрана по п. 1, отличающаяся тем, что на каждой тыльной диэлектрической пластине расположен штенгель откачки и наполнения газа.
9. Плазменная панель наборного экрана по п. 1, отличающаяся тем, что штенгель откачки и наполнения газа расположен на каждой второй тыльной диэлектрической пластине или на границе смежных диэлектрических пластин.
10. Плазменная панель наборного экрана по п. 1, отличающаяся тем, что ширина выступов определена из соотношения b1=(0,2÷1,0)b, где b – ширина диэлектрического барьера элемента отображения, b1 – ширина выступа, а длина промежутка между выступами определена из соотношения L=(0,8÷1,2)b, где b – ширина диэлектрического барьера элементов отображения, L – длина промежутка.
11. Плазменная панель наборного экрана по п. 1, отличающаяся тем, что расположение начала выступов в крайних элементах отображения совмещено с крайними диэлектрическими барьерами матрицы, которые определяют ширину элемента отображения.
12. Плазменная панель наборного экрана по п. 1, отличающаяся тем, что выступы выполнены из прозрачного диэлектрического материала.
13. Плазменная панель наборного экрана по п. 1, отличающаяся тем, что ширина и глубина паза укладки анода выбраны согласно соотношениям 2,0d c 0,3S и 1,5d e 0,1b, где b – ширина диэлектрического барьера элемента отображения, d – диаметр провода, с – ширина паза, е – глубина паза, S – ширина элемента отображения.
14. Плазменная панель наборного экрана по п. 1, отличающаяся тем, что величина смещения пазов на торцах смежных тыльных диэлектрических пластин определена из соотношения Lсм=(1,0÷2,5)d, где Lсм – смещение пазов, d – диаметр провода.
15. Плазменная панель наборного экрана по п. 1, отличающаяся тем, что после герметизации панели на каждой тыльной диэлектрической пластине установлена печатная плата разводки выводов анодов и катодов для подключения к схеме управления или к части элементов схемы управления.
16. Плазменная панель наборного экрана по п. 1, отличающаяся тем, что на тыльной стороне панель выполнена из m 2… тыльных диэлектрических пластин, смежных по вертикали, и содержит один штенгель откачки и наполнения газа, который расположен на одной из тыльных диэлектрических пластин или на границе смежных тыльных диэлектрических пластин.
17. Плазменная панель наборного экрана, содержащая лицевую и тыльную диэлектрические пластины, соединяющиеся по периметру швом герметизации, на внутренней поверхности лицевой диэлектрической пластины формируется лицевая черная матрица с люминофором, на тыльной диэлектрической пластине располагается штенгель откачки и наполнения газа, в каждой строке панели элементы отображения формируются диэлектрическими барьерами матрицы, на поверхность диэлектрических барьеров матрицы вдоль длины элементов отображения наносятся выступы, расположенные с промежутками относительно ширины диэлектрических барьеров элементов отображения, аноды и катоды в элементах отображения выполнены из проводников в виде провода и располагаются ортогонально между собой, аноды по вертикали экрана, а катоды – параллельно строкам, выводы анодов и катодов выведены через торцы тыльной пластины, цвет свечения каждого элемента отображения определяется люминофором, при этом при m=2 тыльных диэлектрических пластин, смежных по вертикали, и n 2 тыльных диэлектрических горизонтальных пластин, на поверхности тыльной пластины сформирована тыльная черная матрица, между диэлектрическими полосами нанесен люминофор, на поверхность которого уложены провода анодов каждого элемента отображения строки, провода анодов запечатаны на поверхности диэлектрических полос тыльной черной матрицы первыми слоями диэлектрических барьеров матрицы, а в середине тыльной пластины на поверхности диэлектрический полосы тыльной черной матрицы провода анодов запечатаны двумя барьерами с промежутком между собой, в котором провода анодов обрезаны и изолированы диэлектриком, провода катодов запечатаны вторыми слоями диэлектрических барьеров матрицы, на которые нанесены выступы высотой, равной расстоянию длины пробега ионизирующих электронов, при выбранном давлении смеси газа.
18. Плазменная панель наборного экрана, содержащая лицевую и тыльную диэлектрические пластины, соединяющиеся по периметру швом герметизации, на внутренней поверхности лицевой диэлектрической пластины формируется лицевая черная матрица с люминофором, а на тыльной диэлектрической пластине располагается штенгель откачки и наполнения газа, в каждой строке панели элементы отображения формируются диэлектрическими барьерами матрицы и на поверхность диэлектрических барьеров матрицы вдоль длины элементов отображения наносятся выступы, расположенные с промежутками относительно ширины диэлектрических барьеров элементов отображения, аноды и катоды в элементах отображения выполняются из проводников в виде провода и располагаются ортогонально между собой, аноды по вертикали панели, а катоды – параллельно строкам, выводы анодов и катодов выводятся через торцы тыльной пластины, цвет свечения каждого элемента отображения определяется люминофором, при этом на лицевой диэлектрической пластине между диэлектрическими полосами черной матрицы по длине каждого элемента отображения сформированы выемки, на поверхность которых нанесен люминофор.
19. Плазменная панель наборного экрана по п. 16, отличающаяся тем, что на лицевой диэлектрической пластине панели для каждого цвета люминофора между диэлектрическими полосами черной матрицы по вертикали панели сформированы общие выемки длиной, равной длине анода.
20. Плазменная панель наборного экрана, содержащая лицевую и тыльную диэлектрические пластины, соединяющиеся по периметру швом герметизации, на внутренней поверхности лицевой диэлектрической пластины формируется лицевая черная матрица с люминофором, а на тыльной диэлектрической пластине барьерами матрицы из диэлектрика формируются элементы отображения, содержащих провода анодов и перпендикулярно им провода катодов, при этом толщина Тпл лицевой и тыльной диэлектрических пластин и высота h расположения проводов катодов на барьерах матрицы из диэлектрика относительно поверхности тыльной пластины выбраны из соотношения 12 Тпл/h 2, при этом провода анодов и катодов диаметром (0,1÷0,25) мм.
РИСУНКИ
|
|