|
|
(21), (22) Заявка: 2003137075/02, 25.12.2003
(24) Дата начала отсчета срока действия патента:
25.12.2003
(45) Опубликовано: 20.06.2005
(56) Список документов, цитированных в отчете о поиске:
ОРУЖИЕ РОССИИ, каталог т. VII, Высокоточное оружие и боеприпасы, АОЗТ “Военный парад”, М., 1997, с.638. RU 2191976 C1, 27.10.2002. WO 9525938 A, 28.09.1995. DE 2852359 А, 21.02.1991. US 5204493 A, 20.04.1993. GB 2163535 A, 26.02.1986.
Адрес для переписки:
143912, Московская обл., г. Балашиха, Западная промзона, ш. Энтузиастов, 6, ФГУП “НИИИ”, гл.инженеру В.С.Юрьеву
|
(72) Автор(ы):
Балыков Е.Н. (RU), Батурин Л.С. (RU), Глушаков В.Г. (RU), Гриценко В.И. (RU), Костылев В.К. (RU), Малиновский А.В. (RU), Метасов В.Ф. (RU), Попов В.А. (RU), Хомутский В.Е. (RU), Шведченко Н.Н. (RU)
(73) Патентообладатель(и):
Федеральное государственное унитарное предприятие “Научно-исследовательский инженерный институт” (ФГУП “НИИИ”) (RU)
|
(54) ПРОТИВОТАНКОВАЯ КУМУЛЯТИВНАЯ МИНА ДИСТАНЦИОННОЙ УСТАНОВКИ
(57) Реферат:
Изобретение относится к боеприпасам, а именно к устройству противотанковой кумулятивной мины дистанционной установки. Мина содержит удлиненный корпус с желобообразной кумулятивной облицовкой, заряд ВВ, взрывательное устройство, средство инициирования, включающее два одновременно срабатывающих инициатора, соединенные между собой и взрывательным устройством детонирующими шнурами. Корпус мины выполнен в форме полуцилиндра, кумулятивная облицовка – из двух тонкостенных облицовок толщиной 0,01…0,015 ее ширины, взрывательное устройство содержит отстреливаемый штырь, вышибной заряд и пиротехническое кольцо с отводкой для инициирования вышибного заряда, детонирующие шнуры соединены между собой под углом 90° в месте их взаимного контакта. Мина имеет ориентирующее устройство-стабилизатор в виде складного проволочного каркаса с тканевым чехлом. Техническим результатом, получаемым от использования изобретения, является повышение эффективности действия противотанковой кумулятивной мины. 8 ил. 
Изобретение относится к боеприпасам, а именно к устройству противотанковой кумулятивной мины дистанционной установки, которая может устанавливаться в зоне минирования в составе кассет с вертолетов, наземных минных заградителей и вручную.
Известны противотанковые мины дистанционной установки, имеющие удлиненную форму для повышения противогусеничного действия, например: отечественные противотанковая противогусеничная мина ПТМ-1 и противотанковая мина комбинированного действия ПТМ-3 («Оружие России», Каталог т.VII «Высокоточное оружие и боеприпасы», АОЗТ «Военный Парад», М., 1997 г., стр.638), способная поражать танк кумулятивной струей через днище, а также разрушать гусеницу танка.
В качестве прототипа выбрана вышеуказанная противотанковая мина комбинированного действия ПТМ-3, содержащая удлиненный корпус в виде параллелепипеда с четырьмя желобообразными кумулятивными облицовками, взрыватель, дополнительную кумулятивную облицовку, расположенную на торце, противоположном взрывателю, а в заряде взрывчатого вещества (ВВ) выполнен осевой канал, в котором размещено средство инициирования, при этом детонирующие шнуры, передающие детонацию в противоположных направлениях, расположенные рядом, разделены по длине металлической пластиной с шириной и толщиной соответственно 1,0-2,0 и 0,1-0,5 от толщины детонирующего шнура и заключены в месте контакта, равноудаленном от инициаторов, в металлическую оболочку с длиной и толщиной, соответственно, 1,0-5,0 и 0,02-0,5 от толщины детонирующего шнура. Перечисленная совокупность признаков позволяет обеспечить поражение бронеобъектов миной ПТМ-3 при срабатывании как под днищем, так и под ходовой частью, вне зависимости от положения мины на поверхности грунта.
Следует также отметить, что выбранная в качестве прототипа противотанковая кумулятивная мина ПТМ-3 обеспечивает гарантированное поражение всех, в том числе и наиболее трудно уязвимых агрегатов танка (двигатель, трансмиссия и др.), через броневую плиту толщиной 20 миллиметров. Однако, в случае применения перспективных схем защиты днища танка, снижающих его бронепробитие, например в виде разнесенной бронезащиты, остаточное действие мины, выбранной в качестве прототипа, становится недостаточным для поражения двигательной установки, что приводит к уменьшению вероятности поражения ею танка ориентировочно в 1,4 раза.
Для обеспечения максимального разрушающего действия мины такой конструкции по гусенице танка необходимо повысить массу заряда ВВ, а также увеличить площадь его контакта с гусеницей, при этом для обеспечения условий размещения в ней максимально возможной массы ВВ (взрывчатого вещества) при заданных габаритах осевой канал для размещения средства инициирования в мине также должен быть минимальным. Однако слишком взаимно близкое расположение инициаторов и детонирующих шнуров, передающих детонацию от взрывателя к этим инициаторам, может приводить к их инициированию не в той последовательности, какая необходима.
Известная противотанковая мина комбинированного действия ПТМ-3, предназначенная для дистанционной установки, имеет удлиненный корпус в форме параллелепипеда, поэтому она обладает низкой компануемостью в цилиндрических отсеках в системах дистанционного минирования. Противотанковая кумулятивная мина ПТМ-3 благодаря своей компактной форме имеет большую установившуюся скорость приземления. Для обеспечения прочности мины данной конструкции при падении на грунт с такой скоростью корпус мины имеет увеличенную толщину, что приводит к утяжелению мины и уменьшению полезной нагрузки системы дистанционного минирования. Кроме того, при дистанционной установке известной противотанковой мины комбинированного действия ПТМ-3 на мягкие грунты необходимо обеспечивать рикошет, что ограничивает режимы применения систем дистанционного минирования.
Техническим результатом заявляемого изобретения, является повышение эффективности действия противотанковой кумулятивной мины дистанционной установки.
Для достижения указанной цели (технического результата) заявителем предлагается конструкция кумулятивной противотанковой мины дистанционной установки, характеризуемая следующей совокупностью существенных признаков.
У заявляемой противотанковой кумулятивной мины дистанционной установки удлиненный корпус выполнен в форме полуцилиндра, а ее желобообразная кумулятивная облицовка расположена на плоской части корпуса и состоит из двух наложенных друг на друга тонкостенных облицовок толщиной 0,01…0,015 от ширины облицовки.
Взрывательное устройство противотанковой кумулятивной мины дистанционной установки дополнительно содержит отстреливаемый штырь, вышибной заряд и пиротехническое замедлительное кольцо с отводной замедлительной дорожкой для инициирования вышеуказанного вышибного заряда.
Детонирующий шнур, передающий детонацию от взрывательного устройства, присоединен одним концом к последнему (взрывательному устройству), а другим – к другому детонирующему шнуру, передающему детонацию к инициаторам от предыдущего детонирующего шнура, под углом 90° в месте их взаимного контакта, а само место их взаимного контакта равноудалено от инициаторов.
Противотанковая кумулятивная мина дистанционной установки снабжена складным ориентирующим устройством-стабилизатором в виде складного пружинного проволочного каркаса и размещенного на нем по периметру плоской части корпуса мины, отделяемого тканевого чехла, причем пружинный проволочный каркас содержит в свою очередь две пружины в виде прямоугольных проволочных рамок, боковые удлиненные стороны которых в середине свиты в цилиндрические пружины, концы этих прямоугольных пружин шарнирно прикреплены к корпусу мины у торцов его плоской части, а в середине последней закреплен пружинный упор в виде прямоугольной проволочной рамки, изогнутой в своей плоскости по цилиндру.
Отделяемый тканевый чехол складного ориентирующего устройства-стабилизатора в раскрытом виде в поперечном и продольном сечениях имеет форму равнобочной трапеции, его основания – форму прямоугольников, при этом длина верхнего узкого основания отделяемого тканевого чехла превышает длину самой мины, длина его нижнего основания, прилегающего к плоской части корпуса мины, не превышает ее длину, а высота отделяемого тканевого чехла превышает радиус корпуса мины.
Отделяемый тканевый чехол закреплен на складном пружинном проволочном каркасе тросиком, удерживаемым с одной стороны зацепами на корпусе мины, а с другой – откидной скобой, прикрепленной к отстреливаемому штырю взрывательного устройства.
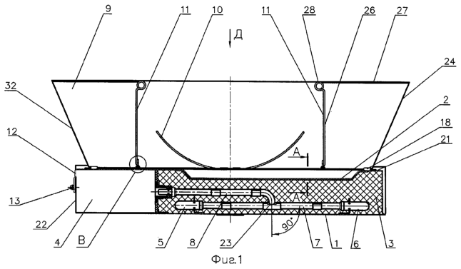
На фиг.1 показан продольный разрез заявляемой противотанковой кумулятивной мины дистанционной установки (складное ориентирующее устройство-стабилизатор (24) раскрыто).
На фиг.2 показаны вид мины со стороны взрывательного устройства (4) и поперечный разрез раскрытого складного ориентирующего устройства-стабилизатора (24).
На фиг.3 и 4 показаны продольный и поперечный разрезы устройства сброса отделяемого тканевого чехла (9).
На фиг.5 показан поперечный разрез желобообразной кумулятивной облицовки (2).
На фиг.6 и 7 показаны шарнирные крепления (30) концов (29) пружин в виде прямоугольных проволочных рамок.
На фиг.8 показан вид сверху на противотанковую кумулятивную мину дистанционной установки. Складное ориентирующее устройство-стабилизатор (24) с откидным тканевым чехлом (9) показаны в раскрытом виде.
Противотанковая кумулятивная мина дистанционной установки содержит полуцилиндрический удлиненный корпус (1) с желобообразной кумулятивной облицовкой (2), заряд взрывчатого вещества (3), взрывательное устройство (4), расположенное в торце (22) корпуса (1), и средство инициирования, включающее два одновременно срабатывающих инициатора (5) и (6), соединенных между собой и взрывательным устройством (4) детонирующими шнурами (7) и (8), при этом один из детонирующих шнуров (8) одним концом присоединен к взрывательному устройству (4), а другим – к другому детонирующему шнуру (7), который в свою очередь присоединен одним концом к одному инициатору (5), а другим – к другому инициатору (6). Причем детонирующие шнуры (7) и (8) присоедины друг к другу под углом 90° в месте их взаимного контакта (23), а само место их взаимного контакта (23) равноудалено от инициаторов (5) и (6).
Удлиненный корпус (1) мины выполнен в форме полуцилиндра, желобообразная кумулятивная облицовка (2) расположена на плоской части (21) корпуса (1) и состоит из двух наложенных друг на друга тонкостенных облицовок (19) и (20) толщиной 0,01…0,015 ширины облицовки (2). На плоской части (21) корпуса (1) закреплено ориентирующее устройство-стабилизатор (24), содержащее складной пружинный проволочный каркас (25) и закрепленный на нем по периметру плоской части корпуса (21) мины отделяемый тканевый чехол (9).
Складной пружинный проволочный каркас (25) представляет собой две пружины (11) в виде прямоугольных проволочных рамок, боковые стороны (26) и (27) у которых удлиненные и свиты в середине в цилиндрические пружины (28), а их концы (29) шарнирно (30) прикреплены к плоской части (21) корпуса (1) у его торцов (22). В середине плоской части (21) корпуса (1) мины закреплен пружинный упор (10) в виде прямоугольной проволочной рамки, изогнутой в своей плоскости по цилиндру.
Отделяемый тканевый чехол (9) в поперечном и продольном сечениях имеет форму равнобочных трапеций соответственно (31) и (32), а его оба основания имеют форму прямоугольников, при этом длина верхнего узкого основания (33) превышает длину (35) корпуса (1) мины, а длина нижнего основания (34) чехла (9), прилегающего к плоской части (21) корпуса (1), не превышает длину (35) корпуса (1) мины. Высота отделяемого тканевого чехла (9) превышает радиус полуцилиндра корпуса (1) мины. Отделяемый тканевый чехол (9) закреплен на складном пружинном проволочном каркасе (25) тросиком (14), удерживаемым с одной стороны зацепами (18) на корпусе (1), а с другой стороны – откидной скобой (12), прикрепленной к отстреливающему штырю (13) взрывательного устройства (4), имеющего дополнительное пиротехническое замедлительное кольцо (15), выполненное с отводной замедлительной дорожкой (16), а между отводной дорожкой (16) и отстреливаемым штырем (13) расположен вышибной заряд (17).
Заявляемая противотанковая кумулятивная мина дистанционной установки действует следующим образом.
В транспортном положении противотанковая кумулятивная мина размещена в кассете, а ее складное ориентирующее устройство-стабилизатор (24) удерживается в сложенном состоянии. При отстреле противотанковой мины из кассетной системы минирования под воздействием пороховых газов вышибного заряда кассеты, в которой транспортируется она, происходят зажжение пиротехнического замедлительного кольца (15) во взрывательном устройстве (4) и выталкивание самой мины из кассеты в заданном направлении. После выхода противотанковой кумулятивной мины из кассеты в свободное пространство ее ориентирующее устройство-стабилизатор (24), находящееся до этого в сложенном виде, освобождается и за счет упругих сил складного пружинного проволочного каркаса (25) раскрывается, принимая вид, показанный на фиг.1, 2, 8. При этом складной тканевый чехол (9) распрямляется и, взаимодействуя с набегающим потоком воздуха, удерживает корпус (1) мины в ориентированном положении, при котором обеспечивается интенсивное торможение мины в воздухе, а желобообразная кумулятивная облицовка (2) на плоской части (21) корпуса (1) будет повернута в сторону верхней полусферы воздушного пространства. После падения на грунт и рекошетирования мина устанавливается на грунте в ориентированное положение кумулятивной облицовкой (2) вверх за счет выбранной формы ориентирующего устройства (24) и корпуса (1) мины, а также низкого расположения центра тяжести. Спустя некоторое время после начала прогорания пиротехнического замедлительного кольца (15) загорается замедлительная отводная дорожка (16), поджигающая после ее выгорания вышибной заряд (17). Под воздействием пороховых газов сработавшего вышибного заряда (17) происходит отстрел штыря (13), а затем и освобождение откидной скобы (12) из зацепления с тросиком (14), после чего под воздействием пружин (11) происходит сброс тканевого чехла (9), что, безусловно, повышает маскируемость противотанковой мины на местности. После полного прогорания замедлительного кольца (15) взрывательное устройство (4) переводится в боевое положение.
При наезде танка на мину срабатывает взрывательное устройство (4), а от него далее детонация по детонирующему шнуру (8) доходит до места контакта (23), равноудаленного от инициаторов (5) и (6), и затем по детонирующему шнуру (7) передается одновременно к инициаторам (5) и (6), которые срабатывают одновременно, формируя направление детонационного фронта, обеспечивающего оптимальное формирование кумулятивной струи в направлении объекта поражения. Кумулятивная струя, попадающая в днище танка, поражает его. Это обеспечивается за счет того, что заявляемая кумулятивная противотанковая мина имеет удлиненную составную желобообразную облицовку, состоящую из двух наложенных друг на друга тонкостенных облицовок толщиной 0,01…0,015 от ширины облицовки, соединенных между собой, например, точечной сваркой, а также то, что взрыв заряда взрывчатого вещества (ВВ) происходит в результате одновременного срабатывания двух иницаторов, разнесенных в продольном направлении корпуса мины, что обеспечивает схлопывание кумулятивной облицовки в продольном и поперечном направлениях с образованием кумулятивной струи и ударно-волновой разгон ее, приводящий к большему удлинению поражающего элемента по сравнению с однослойной облицовкой в известной мине ПТМ-3 (прототип). При наезде танка на мину гусеницей мина обеспечивает ее перебитие благодаря большой контактной поверхности.
Кроме этого, наличие в заявляемой противотанковой кумулятивной мине одной желобообразной облицовки вместо четырех, как в известной мине ПТМ-3, обеспечивает максимальную концентрацию энергии взрыва ВВ на поражение танка, так как активная масса ВВ, ориентированная в сторону объекта поражения, и площадь контакта ВВ с гусеницей танка в заявляемой мине существенно больше. По сравнению с известной противотанковой миной комбинированного действия ПТМ-3 у заявляемой противотанковой мины за счет использования вышеуказанных отличительных признаков бронепробиваемость увеличена приблизительно в 1,5 раза, что подтверждено экспериментально, при этом масса заряда ВВ уменьшена на 20%, а масса всей мины уменьшена на 30%. Вместе с тем следует отметить, что вышеуказанное увеличение бронепробития в 1,5 раза возможно только при условии ее установки на местности в ориентированное положение, т.е. в такое положение, при котором кумулятивная облицовка мины будет направлена в сторону цели. Это условие обеспечивается за счет наличия у заявленной противотанковой кумулятивной мины ориентирующего устройства-стабилизатора (24).
На заявленную противотанковую кумулятивную мину для дистанционной установки разработана в полном объеме техническая документация. В соответствии с этой технической документацией изготовлена и испытана с положительными результатами партия этих противотанковых кумулятивных мин. Проведенные испытания полностью подтвердили их повышенную бронепробиваемость в случаях применения перспективных схем защиты днища танка и достаточную вероятность перебития гусеницы танка, надежную ее сохраняемость и устанавливаемость на различных грунтах в ориентированное положение после сброса на разных режимах из различных систем минирования, а также маскируемость в подстилающей растительности.
Формула изобретения
Противотанковая кумулятивная мина дистанционной установки, содержащая удлиненный корпус с желобообразной кумулятивной облицовкой, заряд взрывчатого вещества, взрывательное устройство, расположенное в торце корпуса, и два одновременно срабатывающих инициатора, соединенных между собой и взрывательным устройством детонирующими шнурами, отличающаяся тем, что в ней удлиненный корпус выполнен в форме полуцилиндра, желобообразная кумулятивная облицовка расположена на плоской части корпуса и состоит из двух наложенных друг на друга тонкостенных облицовок толщиной 0,01…0,015 ширины облицовки, взрывательное устройство содержит отстреливаемый штырь, вышибной заряд и пиротехническое замедлительное кольцо с отводной замедлительной дорожкой для инициирования вышеуказанного вышибного заряда, детонирующий шнур, передающий детонацию от взрывательного устройства, присоединенный одним концом к последнему, а другим – к другому детонирующему шнуру, передающему детонацию к инициаторам от предыдущего детонирующего шнура, под углом 90° в месте их взаимного контакта, а само место их взаимного контакта равноудалено от инициаторов, при этом мина снабжена закрепленным на плоской части своего корпуса складным ориентирующим устройством-стабилизатором в виде складного пружинного проволочного каркаса и размещенным на нем по периметру плоской части корпуса мины отделяемым тканевым чехлом, причем пружинный проволочный каркас содержит, в свою очередь, две пружины в виде прямоугольных проволочных рамок, боковые удлиненные стороны которых в середине свиты в цилиндрические пружины, концы этих прямоугольных проволочных рамок шарнирно прикреплены к корпусу мины у торцов его плоской части, а в середине последней закреплен пружинный упор в виде прямоугольной проволочной рамки, изогнутой в своей плоскости по цилиндру, тканевый чехол в раскрытом виде в поперечном и продольном сечениях имеет форму равносторонних трапеций, а основания чехла – форму прямоугольников, при этом длина верхнего узкого основания отделяемого тканевого чехла превышает длину мины, длина его нижнего основания, прилегающего к плоской части корпуса мины, не превышает ее длину, а высота отделяемого тканевого чехла превышает радиус корпуса мины, отделяемый тканевый чехол закреплен тросиком, удерживаемым с одной стороны зацепами на корпусе мины, а с другой – откидной скобой, прикрепленной к отстреливаемому штырю взрывательного устройства.
РИСУНКИ
PC4A – Регистрация договора об уступке патента Российской Федерации на изобретение
(73) Патентообладатель(и):
Федеральное государственное унитарное предприятие “Научно-исследовательский инженерный институт” (ФГУП “НИИИ”)
(73) Патентообладатель:
Российская Федерация в лице Министерства обороны Российской Федерации
(73) Патентообладатель:
Федеральное государственное унитарное предприятие “Научно-исследовательский инженерный институт” (ФГУП “НИИИ”)
Дата и номер государственной регистрации перехода исключительного права: 26.08.2009 № РД0053887
Извещение опубликовано: 10.10.2009 БИ: 28/2009
|
|