|
|
(21), (22) Заявка: 2004103851/02, 10.02.2004
(24) Дата начала отсчета срока действия патента:
10.02.2004
(45) Опубликовано: 20.06.2005
(56) Список документов, цитированных в отчете о поиске:
US 3460477 A, 12.08.1969. RU 2210722 C2, 20.08.2001. US 3661085 A, 09.05.1972.
Адрес для переписки:
195043, Санкт-Петербург, К-43, ул. Челябинская, 95, ФГУП “Научно-производственное предприятие “Краснознаменец”
|
(72) Автор(ы):
Агеев М.В. (RU), Копнов В.Л. (RU), Богданова О.В. (RU), Заславский Л.Г. (RU)
(73) Патентообладатель(и):
Федеральное государственное унитарное предприятие “Научно-производственное предприятие “Краснознаменец” (RU)
|
(54) СПОСОБ ГЕРМЕТИЗАЦИИ СРЕДСТВ ИНИЦИИРОВАНИЯ
(57) Реферат:
Изобретение относится к способам герметизации средств инициирования различного назначения. Сущность изобретения заключается в использовании для герметизации средств инициирования расширяющегося малогазового состава, конденсированные продукты сгорания которого занимают объем, больший, чем объем исходных компонентов. В способе осуществляют герметизацию средств инициирования путем размещения расширяющегося малогазового состава на герметизируемой поверхности так, что он заполняет отверстие или стык между поверхностями, и поджигают его. При сгорании в отверстиях или стыках между поверхностями образуется шлаковая пробка, надежно герметизирующая поверхность. Изобретение позволяет повысить стабильность выходных характеристик изделия по давлению и времени срабатывания с обеспечением его герметичности после срабатывания. 1 ил., 3 табл. 
Настоящее изобретение относится к способам герметизации для создания герметичных средств инициирования различного назначения и может быть использовано в горнорудной промышленности и других отраслях.
В настоящее время широко известен способ герметизации средств инициирования с помощью механических обтюраторов (см. Н.А.Шиллинг. Взрывчатые вещества и снаряжение боеприпасов. М.: Оборонгиз, 1946, стр.118, рис.356 и см. П.П.Карпов. Средства инициирования. М.: Гос.изд-во оборонной пром., 1945, стр.27, фиг.19).
Данный способ заключается в том, что между запалом и боевым зарядом располагается механический обтюратор, который и обеспечивает герметизацию средств инициирования после срабатывания.
Недостатком данного способа герметизации является то, что его использование возможно только при условии наличия обратного давления в объекте, которое и обеспечивает запирание механического обтюратора, что не всегда возможно.
Наиболее близким техническим решением, взятым за прототип, является способ герметизации с использованием в конструкции изделия сплошной перегородки (заявка RU №0002210722, МКИ 7 F 42 В 3/10, 15.01.2001, патент США №3460477, МКИ F 42 В 3/10, 12.08.1969 – прототип).
При использовании данного способа герметизации в средствах инициирования срабатывает запал и воспламеняет передающий заряд, образующаяся ударная волна проходит через преграду и задействует приемный заряд, от которого срабатывает боевой заряд в изделиях мгновенного действия или замедлительный состав в изделиях с замедлением.
Данный способ надежно герметизирует средства инициирования после срабатывания, однако имеет один очень существенный недостаток. В связи с тем, что в приемном заряде используются пиротехнические составы, в которые входят инициирующие ВВ, могущие воспламеняться от ударной волны и обладающие высокими детонационными характеристиками, происходит жесткое задействование боевого заряда в изделиях мгновенного действия или замедлительного состава в изделиях с замедлением, при этом возможно частичное разрушение боевого заряда или замедлительного состава, что, в конечном счете, сказывается на стабильности выходных характеристик по давлению и времени срабатывания.
Задачей настоящего изобретения является обеспечение герметичности средств инициирования с повышением стабильности выходных характеристик по давлению и времени срабатывания.
Поставленная цель достигается тем, что для герметизации изделия используется расширяющийся малогазовый состав, конденсированные продукты сгорания которого занимают объем, больший, чем объем исходных компонентов (см. таблицу 1). В таблице 1 приведены нами уравнения горения малогазовых составов и расчетные данные по обьему, занимаемому исходными компонентами состава и конденсированными продуктами сгорания.
Таблица 1 Относительное увеличение объема конденсированных продуктов сгорания |
| Рецептура малогазового состава, % |
Уравнение реакции горения |
Объем, занимаемый составом, см3 |
Объем, занимаемый шлаком, см3 |
Относительное увеличение объема, % |
| Двуокись свинца – 40 |
0,234PbO2+FeSi 0,234Pb+ |
19,8 |
21,8 |
10 |
| Ферросилиций – 60 |
0,234SiO2+0,234Fe+0,766FeSi |
|
|
|
| Двуокись свинца – 80 |
0,18РbO2+В 0,12В2O3+ |
9,2 |
12,3 |
33 |
| Бор – 20 |
0,18Pb+0,76B |
|
|
|
| Свинцовый сурик – 55 |
0,05Рb3O4+Si 0,15Pb+ |
15,8 |
16,2 |
2,5 |
| Кремний – 45 |
0,1SiO2+0,9Si |
|
|
|
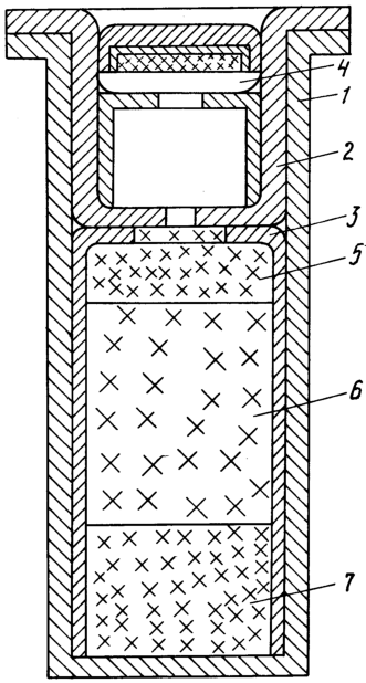
Пример конкретного выполнения способа: малогазовый состав размещают на герметизированную поверхность так, что он заполняет отверстие или стык между поверхностями и поджигают. При сгорании в отверстиях или стыках между поверхностями образуется шлаковая пробка, надежно герметизирующая поверхность. На чертеже показан заявляемый способ герметизации в пиропатроне, который состоит из корпуса 1, досланных в него двух колпачков 2 и 3: один с запалом 4, второй – с герметизирующим малогазовым составом 5 типа кремний – 45%, свинцовый сурик – 55% (Кр45Сс55К), замедлительным составом 6 (в средствах инициирования с замедлением) и боевым зарядом 7. Герметизирующий состав 5 располагается перед замедлительным составом (в изделиях с замедлением) или перед боевым зарядом (в изделиях мгновенного действия).
При срабатывании запала 4 воспламеняется герметизирующий малогазовый состав 5, а от него задействуется замедлительный состав 6 (в изделиях с замедлением) или боевой заряд 7 (в изделиях мгновенного действия). При этом, сгорая, герметизирующий малогазовый состав образует твердую газонепроницаемую шлаковую пробку, которая герметизирует изделие.
В таблице 2 приведены результаты сравнительных испытаний по времени срабатывания опытных образцов с замедлением, в конструкции которых использовано заявляемое изобретение, и опытных образцов изделия, в которых для герметизации использована сплошная перегородка (прототип).
Опытные образцы изготавливались с одинаковой навеской замедлительного состава: кремний – 20%, окись меди – 80% (Кр20 Мо 80К), равной 0,6 г.
| Таблица 2 |
| Изделие |
Время срабатывания, с |
Среднее время срабатывания, с |
Разброс по времени срабатывания, % |
| Изделие с использованием заявляемого способа герметизации |
0,311; 0,292; 0,308; 0,296; 0,295; 0,310; 0,301; 0,304; 0,293; 0,298 |
0,301 |
6,3 |
| Изделие с использованием сплошной перегородки для герметизации – прототип |
0,281; 0,318; 0,312; 0,294; 0,290; 0,312; 0,289; 0,31; 0,308; 0,304 |
0,302 |
12,3 |
Как видно из результатов испытаний, разброс по времени срабатывания у опытных образцов, в конструкции которых использовано заявляемое изобретение, почти в 2 раза меньше, чем у опытных образцов изделия прототипа.
В таблице 3 приведены результаты сравнительных испытаний по давлению срабатывания опытных образцов мгновенного действия, в конструкции которых использовано заявляемое изобретение, и опытных образцов изделия, в которых для герметизации использована сплошная перегородка (прототип).
Опытные образцы изготавливались с одинаковой навеской боевого заряда, равной 0,35 г, и испытывались в манометрической бомбе с объемом 50 см3.
| Таблица 3 |
| Изделие |
Давление срабатывания |
Среднее давление срабатывания, кгс/см2 |
Разброс по давлению срабатывания, % |
| Изделие с использованием заявляемого способа герметизации |
23, 29, 25, 24,26, 27, 24, 26, 25, 27 |
25,6 |
23,4 |
| Изделие с использованием сплошной перегородки для герметизации – прототип |
24, 28, 30, 35, 25, 29, 28, 27, 32, 34 |
29,2 |
37,7 |
Как видно из результатов, разброс по давлению срабатывания у опытных образцов, в конструкции которых использовано заявляемое изобретение, значительно меньше, чем у опытных образцов изделия типа прототипа.
После испытаний 20 шт. опытных образцов, в которых использовалось заявляемое изобретение, были проверены на герметичность. На шлаковую пробку подавалось масло под давлением до 1500 кгс/см2. Просачивание масла не наблюдалось.
Из вышеизложенного видно, что использование предлагаемого способа герметизации средств инициирования по сравнению с прототипом позволит улучшить их показатели по стабильности времени и давления срабатывания с обеспечением герметичности изделий.
Формула изобретения
1. Способ герметизации поверхностей в средствах инициирования, включающий нанесение на герметизируемую часть изделия химических соединений и их нагревание, отличающийся тем, что в качестве химических соединений используются малогазовые составы, конденсированные продукты сгорания которых занимают объем, больший, чем исходные компоненты, например, составы, содержащие соединения свинца в смеси с соединениями из ряда ферросиликохром, ферросилиций, бор, кремний, при этом нагревание ведут в режиме горения.
2. Способ по п.1, отличающийся тем, что для герметизации используются малогазовые составы рецептуры: двуокись свинца – 40%; ферросилиций – 60%; двуокись свинца – 80%, – бор – 20%; свинцовый сурик – 55%, – кремний – 45%.
РИСУНКИ
|
|