|
|
(21), (22) Заявка: 2004112507/06, 26.04.2004
(24) Дата начала отсчета срока действия патента:
26.04.2004
(45) Опубликовано: 20.06.2005
(56) Список документов, цитированных в отчете о поиске:
RU 2143600 C1, 27.12.1999. SU 1100436 A1, 30.06.1984. RU 2107842 С1, 27.03.1998. US 5000264 A, 19.03.1991. US 4744730 A, 17.05.1988.
Адрес для переписки:
77400, Ивано-Франковская обл., г. Тисменица, ул. Вильшанецкая, 33, З.Д. Хоминец
|
(72) Автор(ы):
Хоминец Зиновий Дмитриевич (UA), Вайгель А.А. (RU), Стенин В.П. (RU)
(73) Патентообладатель(и):
Хоминец Зиновий Дмитриевич (UA), Вайгель Александр Александрович (RU), Стенин Владимир Петрович (RU)
|
(54) СПОСОБ РАБОТЫ НАСОСНО-ЭЖЕКТОРНОЙ СКВАЖИННОЙ ИМПУЛЬСНОЙ УСТАНОВКИ ПРИ ГИДРОРАЗРЫВЕ ПЛАСТА
(57) Реферат:
Изобретение относится к области струйной техники, преимущественно к скважинным установкам для испытания и освоения скважин. Способ работы насосно-эжекторной скважинной импульсной установки, заключающийся в том, что спускают в скважину на колонне труб установленные последовательно снизу вверх гидроперфоратор, хвостовик с входной воронкой, пакер и струйный насос со ступенчатым проходным каналом, устанавливают гидроперфоратор в интервале продуктивного пласта. Устанавливают в ступенчатом проходном канале струйного насоса блокирующую вставку с осевым проходным каналом, отделяя таким образом внутреннее пространство колонны труб от затрубного пространства скважины. Подают под давлением смесь жидкой среды с тонкодисперсным абразивным материалом в гидроперфоратор и путем воздействия на стенки скважины струями этой смеси создают в прискважинной зоне продуктивного пласта вертикальные щелевидные перфорационные каналы. Отсоединяют от хвостовика с входной воронкой гидроперфоратор и сбрасывают его на забой скважины, устанавливают входную воронку хвостовика над кровлей продуктивного пласта, производят распакеровку пакера, извлекают блокирующую вставку и спускают через колонну труб на каротажном кабеле, пропущенном через герметизирующий узел с возможностью осевого перемещения относительно него, в зону продуктивного пласта комплексный геофизический прибор. Герметизирующий узел устанавливают в ступенчатом проходном канале струйного насоса, разделяя таким образом внутреннее пространство колонны труб. В процессе спуска комплексного геофизического прибора с помощью последнего производят запись фоновых значений геофизических параметров скважины и продуктивного пласта. Путем подачи по затрубному пространству колонны труб рабочей среды в сопло струйного насоса создают не менее одной депрессии на продуктивный пласт и при каждой депрессии определяют дебит скважины, после этого с помощью комплексного геофизического прибора регистрируют профиль притока из продуктивного пласта при разных значениях депрессии на продуктивный пласт, производят подъем комплексного геофизического прибора с герметизирующим узлом на поверхность и устанавливают в ступенчатом проходном канале струйного насоса блокирующую вставку с осевым проходным каналом, отделяя таким образом внутреннее пространство колонны труб от затрубного пространства скважины. Производят депакеровку пакера и устанавливают входную воронку хвостовика на уровне подошвы интервала перфорации продуктивного пласта, закачивают в колонну труб жидкость гидроразрыва с химическими реагентами и пропантом до кровли интервала перфорации. Повторно проводят распакеровку пакера, а затем проводят закачку жидкости гидроразрыва в продуктивный пласт, создавая таким образом в нем вертикальные трещины. Извлекают из ступенчатого проходного канала блокирующую вставку, устанавливают в ступенчатом проходном канале депрессионную вставку с автономным геофизическим прибором, подают по затрубному пространству колонны труб в сопло струйного насоса рабочую среду и создают таким образом депрессию на продуктивный пласт с откачкой за счет этого из продуктивного пласта продуктов реакции и жидкости гидроразрыва с подвижной частью пропанта по колонне труб на поверхность. Далее извлекают депрессионную вставку, вновь проводят депакеровку пакера, приподнимают колонну труб до расположения входной воронки хвостовика над кровлей продуктивного пласта и снова проводят распакеровку пакера. По колонне труб спускают на каротажном кабеле с герметизирующим узлом комплексный геофизический прибор, устанавливают герметизирующий узел в ступенчатом проходном канале струйного насоса, а комплексный геофизический прибор – на выходе из входной воронки. Подают в сопло струйного насоса рабочую среду и создают с помощью струйного насоса ряд депрессий на продуктивный пласт и при каждой величине депрессии регистрируют дебит скважины, далее проводят регистрацию профиля притока при каждой величине депрессии на продуктивный пласт, передвигая при этом комплексный геофизический прибор вдоль продуктивного пласта, после чего прекращают подачу рабочей среды в струйный насос и извлекают из скважины комплексный геофизический прибор с герметизирующим узлом на поверхность и затем проводят работы по запуску скважины в работу. В результате достигается расширение функциональных возможностей установки и повышение эффективности проводимых исследований и обработки прискважинной зоны продуктивного пласта. 3 ил. 
Изобретение относится к области струйной техники, преимущественно к скважинным установкам для испытания и освоения скважин.
Известен способ работы насосно-эжекторной скважинной установки, включающий подачу по колонне труб активной жидкой среды в сопло струйного аппарата, откачку струйным аппаратом из пластовой зоны пассивной среды и подачу смеси сред из скважины на поверхность (см. авторское свидетельство СССР, 1100436, кл. F 04 F 5/02, 30.06.1984).
Однако данный способ работы установки не имеет возможности оказывать какое-либо воздействие на прискважинную зону продуктивного пласта, что резко сужает возможности использования работающей по данному способу установки.
Наиболее близким к изобретению по технической сущности и достигаемому результату является способ работы насосно-эжекторной скважинной импульсной установки, заключающийся в том, что спускают в скважину на колонне труб установленные последовательно снизу вверх воронку, гидроструйное устройство, пакер и струйный насос со ступенчатым проходным каналом, подают жидкую среду в гидроструйное устройство и воздействуют струями жидкости на прискважинную зону продуктивного пласта (патент RU 2143600, кл. F 04 F 5/54, 27.12.1999).
Данный способ работы установки позволяет производить обработку прискважинной зоны продуктивного пласта. Однако в данном способе работы установки ограничены возможности по проведению исследования скважины как перед проведением обработки прискважинной зоны, так и после ее обработки, что связано с необходимостью извлечения колонны труб из скважины, чтобы обеспечить возможность исследования скважины после воздействия на прискважинную зону пласта.
Задачей, на решение которой направлено настоящее изобретение, является расширение функциональных возможностей способа работы установки и повышение эффективности проводимых исследований и обработки прискважинной зоны продуктивного пласта.
Указанная задача решается за счет того, что способ работы насосно-эжекторной скважинной импульсной установки заключается в том, что спускают в скважину на колонне труб установленные последовательно снизу вверх гидроперфоратор, хвостовик с входной воронкой, пакер и струйный насос со ступенчатым проходным каналом, устанавливают гидроперфоратор в интервале продуктивного пласта, потом устанавливают в ступенчатом проходном канале струйного насоса блокирующую вставку с осевым проходным каналом, отделяя таким образом внутреннее пространство колонны труб от затрубного пространства скважины, подают под давлением смесь жидкой среды с тонкодисперсным абразивным материалом в гидроперфоратор и путем воздействия на стенки скважины струями этой смеси создают в прискважинной зоне продуктивного пласта вертикальные щелевидные перфорационные каналы, отсоединяют от хвостовика с входной воронкой гидроперфоратор и сбрасывают его на забой скважины, устанавливают входную воронку хвостовика над кровлей продуктивного пласта, производят распакеровку пакера, извлекают блокирующую вставку и спускают через колонну труб на каротажном кабеле, пропущенном через герметизирующий узел с возможностью осевого перемещения относительно него, в зону продуктивного пласта комплексный геофизический прибор, герметизирующий узел устанавливают в ступенчатом проходном канале струйного насоса, разделяя таким образом внутреннее пространство колонны труб, в процессе спуска комплексного геофизического прибора с помощью последнего производят запись фоновых значений геофизических параметров скважины и продуктивного пласта, путем подачи по затрубному пространству колонны труб рабочей среды в сопло струйного насоса создают не менее одной депрессии на продуктивный пласт и при каждой депрессии определяют дебит скважины, после этого с помощью комплексного геофизического прибора регистрируют профиль притока из продуктивного пласта при разных значениях депрессии на продуктивный пласт, производят подъем комплексного геофизического прибора с герметизирующим узлом на поверхность и устанавливают в ступенчатом проходном канале струйного насоса блокирующую вставку с осевым проходным каналом, отделяя таким образом внутреннее пространство колонны труб от затрубного пространства скважины, производят депакеровку пакера и устанавливают входную воронку хвостовика на уровне подошвы интервала перфорации продуктивного пласта, закачивают в колонну труб жидкость гидроразрыва с химическими реагентами и пропантом до кровли интервала перфорации, повторно проводят распакеровку пакера, а затем проводят закачку жидкости гидроразрыва в продуктивный пласт, создавая таким образом в нем вертикальные трещины, извлекают из ступенчатого проходного канала блокирующую вставку, устанавливают в ступенчатом проходном канале депрессионную вставку с автономным геофизическим прибором, подают по затрубному пространству колонны труб в сопло струйного насоса рабочую среду и создают таким образом депрессию на продуктивный пласт с откачкой за счет этого из продуктивного пласта продуктов реакции и жидкости гидроразрыва с подвижной частью пропанта по колонне труб на поверхность, далее извлекают депрессионную вставку, вновь проводят депакеровку пакера, приподнимают колонну труб до расположения входной воронки хвостовика над кровлей продуктивного пласта и снова проводят распакеровку пакера, по колонне труб спускают на каротажном кабеле с герметизирующим узлом комплексный геофизический прибор, устанавливают герметизирующий узел в ступенчатом проходном канале струйного насоса, а комплексный геофизический прибор – на выходе из входной воронки, подают в сопло струйного насоса рабочую среду и создают с помощью струйного насоса ряд депрессии на продуктивный пласт и при каждой величине депрессии регистрируют дебит скважины, далее проводят регистрацию профиля притока при каждой величине депрессии на продуктивный пласт, передвигая при этом комплексный геофизический прибор вдоль продуктивного пласта, после чего прекращают подачу рабочей среды в струйный насос и извлекают из скважины комплексный геофизический прибор с герметизирующим узлом на поверхность и затем проводят работы по запуску скважины в работу.
Анализ проводимых в скважине работ по их исследованию и обработке прискважинной зоны продуктивного пласта показал, что все эти работы можно проводить без промежуточных извлечений колонны труб на поверхность при переходе от одной технологической операции к другой, что позволяет значительно превысить эффективность проводимых работ и сократить сроки их проведения. Этого удалось добиться в первую очередь благодаря тому, что и корпус струйного насоса и пакер выполнены с центральным проходным каналом, а устройство для гидроструйной обработки прискважинной зоны пласта, в данном случае это гидроперфоратор, выполнен с возможностью его сброса на забой, что позволяет производить через колонну труб спуск и установку в зоне продуктивного пласта различного рода оборудования, например, комплексного геофизического прибора.
Важное значение имеет возможность проведения исследования продуктивных слоев, проведения обработки продуктивных пластов и повторное проведение исследования продуктивных пластов без подъема колонны труб на поверхность. В результате значительно возрастает интенсивность работ с получением при этом более достоверной информации, что позволяет принимать оперативные решения по ходу проведения дальнейших работ. В частности предоставляется возможность после создания в прискважинной зоне перфорационных каналов проводить обработку призабойной зоны продуктивных пластов жидкостью гидроразрыва с химическими реагентами, а также проводить откачку из скважины продуктов реакции и жидкости гидроразрыва. В результате за один спуск колонны труб предоставляется возможность проведения комплексного обследования продуктивных пластов и проведения их обработки с подготовкой скважины для использования в эксплуатационном режиме.
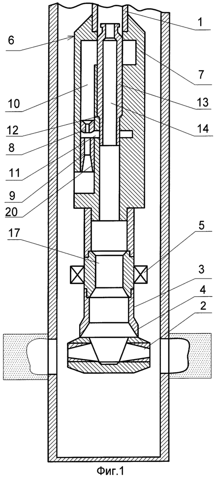
На фиг.1 представлен продольный разрез установки с установленным в скважине гидроперфоратором; на фиг.2 представлен продольный разрез установки после сброса гидроперфоратора на забой скважины; на фиг.3 представлен продольный разрез установки с комплексным геофизическим прибором.
Установка для реализации способа работы насосно-эжекторной скважинной импульсной установки содержит смонтированные на колонне труб 1 снизу-вверх гидроперфоратор 2, хвостовик 3 с входной воронкой 4, пакер 5 и струйный насос 6, в корпусе 7 которого установлены активное сопло 8 и камера смешения 9 с диффузором 20, а также выполнены канал подвода активной среды 10, канал подвода откачиваемой из скважины среды 11 и ступенчатый проходной канал 12, причем в последнем предусмотрена возможность установки сменных функциональных вставок: блокирующей 13 со сквозным проходным каналом 14, депрессионной 15 и герметизирующего узла 16. Активное сопло 8 со стороны входа в него перекрыто блокирующей вставкой 13 при установке последней и открыто для подвода активной среды при установке депрессионной вставки 15, причем этой вставкой, при ее установке, перекрыто поперечное сечение колонны труб 1. Пакер 5 выполнен с центральным каналом 17. При установке в скважине комплексного геофизического прибора 18 на каротажном кабеле (или проволоке) 19 подвижно располагают герметизирующий узел 16, который устанавливают в ступенчатом проходном канале 12 корпуса 7 струйного насоса 6.
Способ работы насосно-эжекторной скважинной импульсной установки заключается в том, что спускают в скважину на колонне труб 1, установленные последовательно снизу вверх, гидроперфоратор 2, хвостовик 3 с входной воронкой 4, пакер 5 и струйный насос 6 со ступенчатым проходным каналом 12, до расположения гидроперфоратора 2 в интервале продуктивного пласта. Устанавливают в ступенчатом проходном канале 12 струйного насоса 6 блокирующую вставку 13 с осевым проходным каналом 14, отделяя таким образом внутреннее пространство колонны труб 1 от затрубного пространства скважины. Подают под давлением смесь жидкой среды с тонкодисперсным абразивным материалом в гидроперфоратор 2 и путем воздействия на стенки скважины струями этой смеси создают в прискважинной зоне продуктивного пласта вертикальные щелевидные перфорационные каналы. Отсоединяют от хвостовика 3 с входной воронкой 4 гидроперфоратор 2 и сбрасывают его на забой скважины. Устанавливают входную воронку 4 хвостовика 3 над кровлей продуктивного пласта, производят распакеровку пакера 5, извлекают блокирующую вставку 13 и спускают через колонну труб 1 на каротажном кабеле 19, пропущенном через герметизирующий узел 16 с возможностью осевого перемещения относительно него, в зону продуктивного пласта комплексный геофизический прибор 18. Герметизирующий узел 16 устанавливают в ступенчатом проходном канале 12 струйного насоса 6, разделяя таким образом внутреннее пространство колонны труб 1. В процессе спуска комплексного геофизического прибора 18 с помощью последнего производят запись фоновых значений геофизических параметров скважины и продуктивного пласта. Путем подачи по затрубному пространству колонны труб 1 рабочей среды в сопло 8 струйного насоса 6 создают не менее одной депрессии на продуктивный пласт и при каждой депрессии определяют дебит скважины. После этого с помощью комплексного геофизического прибора 18 регистрируют профиль притока из продуктивного пласта при разных значениях депрессии на продуктивный пласт, производят подъем комплексного геофизического прибора 18 с герметизирующим узлом 16 на поверхность и устанавливают в ступенчатом проходном канале 12 струйного насоса 6 блокирующую вставку 13 с осевым проходным каналом 14, отделяя таким образом внутреннее пространство колонны труб 1 от затрубного пространства скважины. Производят депакеровку пакера 5 и устанавливают входную воронку 4 хвостовика 3 на уровне подошвы интервала перфорации продуктивного пласта. Закачивают в колонну труб 1 жидкость гидроразрыва с химическими реагентами и пропантом до кровли интервала перфорации. Повторно проводят распакеровку пакера 5, а затем проводят закачку жидкости гидроразрыва в продуктивный пласт, создавая в нем таким образом вертикальные трещины. Извлекают из ступенчатого проходного канала 12 блокирующую вставку 13 и устанавливают в ступенчатом проходном канале 12 депрессионную вставку 15 с автономным геофизическим прибором. Подают по затрубному пространству колонны труб 1 в сопло 8 струйного насоса 6 рабочую среду и создают таким образом депрессию на продуктивный пласт с откачкой за счет этого из продуктивного пласта продуктов реакции и жидкости гидроразрыва с подвижной частью пропанта по колонне труб 1 на поверхность. Далее извлекают депрессионную вставку 15, вновь проводят депакеровку пакера 5, приподнимают колонну труб 1 до расположения входной воронки 4 хвостовика 3 над кровлей продуктивного пласта и снова проводят распакеровку пакера 5, По колонне труб 1 спускают на каротажном кабеле 19 с герметизирующим узлом 16 комплексный геофизический прибор 18. Устанавливают герметизирующий узел 16 в ступенчатом проходном канале 12 струйного насоса 6, а комплексный геофизический прибор 18 – на выходе из входной воронки 4. Подают в сопло 8 струйного насоса 6 рабочую среду и создают с помощью струйного насоса 6 ряд депрессий на продуктивный пласт и при каждой величине депрессии регистрируют дебит скважины. Далее проводят регистрацию профиля притока при каждой величине депрессии на продуктивный пласт, передвигая при этом комплексный геофизический прибор 18 вдоль продуктивного пласта, после чего прекращают подачу рабочей среды в струйный насос 6 и извлекают из скважины комплексный геофизический прибор 18 с герметизирующим узлом 16 на поверхность и затем проводят работы по запуску скважины в работу.
Настоящее изобретение может быть использовано в нефтегазовой промышленности при проведении работ по освоению и ремонту скважин.
Формула изобретения
Способ работы насосно-эжекторной скважинной импульсной установки, заключающийся в том, что спускают в скважину на колонне труб установленные последовательно снизу вверх гидроперфоратор, хвостовик с входной воронкой, пакер и струйный насос со ступенчатым проходным каналом, устанавливают гидроперфоратор в интервале продуктивного пласта, потом устанавливают в ступенчатом проходном канале струйного насоса блокирующую вставку с осевым проходным каналом, отделяя таким образом внутреннее пространство колонны труб от затрубного пространства скважины, подают под давлением смесь жидкой среды с тонкодисперсным абразивным материалом в гидроперфоратор и путем воздействия на стенки скважины струями этой смеси создают в прискважинной зоне продуктивного пласта вертикальные щелевидные перфорационные каналы, отсоединяют от хвостовика с входной воронкой гидроперфоратор и сбрасывают его на забой скважины, устанавливают входную воронку хвостовика над кровлей продуктивного пласта, производят распакеровку пакера, извлекают блокирующую вставку и спускают через колонну труб на каротажном кабеле, пропущенном через герметизирующий узел с возможностью осевого перемещения относительно него, в зону продуктивного пласта комплексный геофизический прибор, герметизирующий узел устанавливают в ступенчатом проходном канале струйного насоса, разделяя таким образом внутреннее пространство колонны труб, в процессе спуска комплексного геофизического прибора с помощью последнего производят запись фоновых значений геофизических параметров скважины и продуктивного пласта, путем подачи по затрубному пространству колонны труб рабочей среды в сопло струйного насоса создают не менее одной депрессии на продуктивный пласт и при каждой депрессии определяют дебит скважины, после этого с помощью комплексного геофизического прибора регистрируют профиль притока из продуктивного пласта при разных значениях депрессии на продуктивный пласт, производят подъем комплексного геофизического прибора с герметизирующим узлом на поверхность и устанавливают в ступенчатом проходном канале струйного насоса блокирующую вставку с осевым проходным каналом, отделяя таким образом внутреннее пространство колонны труб от затрубного пространства скважины, производят депакеровку пакера и устанавливают входную воронку хвостовика на уровне подошвы интервала перфорации продуктивного пласта, закачивают в колонну труб жидкость гидроразрыва с химическими реагентами и пропантом до кровли интервала перфорации, повторно проводят распакеровку пакера, а затем проводят закачку жидкости гидроразрыва в продуктивный пласт, создавая таким образом в нем вертикальные трещины, извлекают из ступенчатого проходного канала блокирующую вставку, устанавливают в ступенчатом проходном канале депрессионную вставку с автономным геофизическим прибором, подают по затрубному пространству колонны труб в сопло струйного насоса рабочую среду и создают таким образом депрессию на продуктивный пласт с откачкой за счет этого из продуктивного пласта продуктов реакции и жидкости гидроразрыва с подвижной частью пропанта по колонне труб на поверхность, далее извлекают депрессионную вставку, вновь проводят депакеровку пакера, приподнимают колонну труб до расположения входной воронки хвостовика над кровлей продуктивного пласта и снова проводят распакеровку пакера, по колонне труб спускают на каротажном кабеле с герметизирующим узлом комплексный геофизический прибор, устанавливают герметизирующий узел в ступенчатом проходном канале струйного насоса, а комплексный геофизический прибор на выходе из входной воронки, подают в сопло струйного насоса рабочую среду и создают с помощью струйного насоса ряд депрессий на продуктивный пласт и при каждой величине депрессии регистрируют дебит скважины, далее проводят регистрацию профиля притока при каждой величине депрессии на продуктивный пласт, передвигая при этом комплексный геофизический прибор вдоль продуктивного пласта, после чего прекращают подачу рабочей среды в струйный насос и извлекают из скважины комплексный геофизический прибор с герметизирующим узлом на поверхность и затем проводят работы по запуску скважины в работу.
РИСУНКИ
MM4A – Досрочное прекращение действия патента СССР или патента Российской Федерации на изобретение из-за неуплаты в установленный срок пошлины за поддержание патента в силе
Дата прекращения действия патента: 27.04.2007
Извещение опубликовано: 10.08.2008 БИ: 22/2008
|
|