|
|
(21), (22) Заявка: 2002101386/06, 23.01.2002
(24) Дата начала отсчета срока действия патента:
23.01.2002
(43) Дата публикации заявки: 20.08.2003
(45) Опубликовано: 20.06.2005
(56) Список документов, цитированных в отчете о поиске:
SU 1458606 A1, 15.02.1989. GB 2307277 A, 21.05.1997. АНДРЮЩЕНКО А.И. и др. Парогазовые установки электростанций. М. – Л. Издательство «Энергия», 1965, с.14-15, Рис.1-3. SU 706548 A, 30.12.1979. GB 1148562 А, 16.04.1969. US 3667217 А, 06.06.1972.
Адрес для переписки:
142103, Московская обл., г. Подольск, ул. Железнодорожная, 2, ОАО “Инжиниринговая компания “ЗИОМАР”
|
(72) Автор(ы):
Липец А.У. (RU), Дирина Л.В. (RU), Чуканов А.Д. (RU), Корягина Г.М. (RU), Фадеев В.С. (RU)
(73) Патентообладатель(и):
Открытое акционерное общество “Инжиниринговая компания “ЗИОМАР” (RU)
|
(54) СПОСОБ СОЗДАНИЯ ПАРОГАЗОВОЙ УСТАНОВКИ ПУТЕМ ГАЗОТУРБИННОЙ НАДСТРОЙКИ ПАРОТУРБИННОЙ УСТАНОВКИ ТЕПЛОВОЙ СТАНЦИИ
(57) Реферат:
Изобретение предназначено для использования в теплоэнергетике и может быть применено при создании парогазовых установок (ПГУ) повышенной эффективности путем газотурбинной надстройки паротурбинных установок (ПТУ) в условиях действующей тепловой электростанции. При создании парогазовой установки путем газотурбинной надстройки паротурбинной установки согласно изобретению в паровом котле сохраняют все поверхности нагрева, необходимые для его самостоятельной работы на прежнем топливе, в отдельном конвективном газоходе газовой турбины устанавливают поверхности нагрева, дополняющие аналогичные котельные поверхности, а расход топлива в котле уменьшают так, чтобы общая паропроизводительность парового котла с дополняющими его поверхностями сохранялась на уровне паропроизводительности парового котла при его самостоятельной работе без газотурбинной надстройки. Достигаемым результатом изобретения является возможность осуществления газотурбинной надстройки к паротурбинному энергоблоку с котлом, сжигающим любые топлива, отсутствие необходимости длительного останова энергоблока на реконструкцию и увязки мощности газовой турбины с мощностью паровой турбины в составе действующего энергоблока. 2 ил. 
Изобретение предназначено для использования в теплоэнергетике и может быть применено при создании парогазовых установок (ПГУ) повышенной эффективности путем газотурбинной надстройки паротурбинных установок (ПТУ) в условиях действующей тепловой электростанции. Практическое осуществление надстройки связано с необходимостью преодоления ряда проблем. В частности, нельзя по условиям надежного горения сбрасывать выхлопные газы из газовых турбин в котел, если в нем сжигаются низкореакционные угли. Надстройка обычно требует существенной реконструкции котла с созданием сбросных устройств к нему от газовой турбины, что приводит к необходимости длительного простоя реконструируемого энергоблока. Имеются жесткие ограничения в сочетании величин мощностей газотурбинного и паротурбинного блоков ПТУ, так что иногда надстройка с учетом располагаемой газовой турбины вынуждает снижать мощность имеющейся ПТУ. При использовании имеющегося в составе действующей ПТУ парового котла в качестве котла-утилизатора выхлопных газов газовой турбины для осуществления термодинамически наиболее эффективного бинарного цикла ПГУ возникают трудности, связанные с необходимостью отключения топочных горелочных устройств и котельного воздухоподогревателя. Таким образом, при создании газотурбинной надстройки к паротурбинному блоку ТЭС задача заключается в том, чтобы выбранная для осуществления надстройки схема ПГУ позволяла успешно преодолеть перечисленные выше трудности.
Известен принимаемый в качестве прототипа изобретения способ создания парогазовой установки путем газотурбинной надстройки паротурбинной установки, оборудованной сжигающим топливо паровым котлом с конвективным газоходом, включающий использование для выработки пара теплообменных поверхностей, установленных в отдельном конвективном газоходе газовой турбины [1]. В указанном отдельном конвективном газоходе ПГУ согласно [1] помещают газовый подогреватель всего конденсата, газовый подогреватель всей питательной воды и часть поверхности промежуточного пароперегревателя. Недостатком известного способа является необходимость введения дополнительной паровой турбины для срабатывания излишка пара в цилиндре низкого давления основной паровой турбины, возникающего в связи с глубоким вытеснением паровой регенерации тепла паротурбинного цикла газовой регенерацией, или (при отказе от дополнительной турбины) необходимость соответствующего уменьшения расчетной паропроизводительности парового котла. Кроме того, ПГУ, созданная по способу [1], предназначена для сжигания только газообразного топлива, в связи с чем предусмотрен подогрев топливного газа питательной водой, нагретой в отдельном конвективном газоходе, и использование дополнительной газовой турбины (турбодетандера) для срабатывания избытка давления магистрального топливного газа. Еще одним недостатком прототипа является то, что в паровом котле установлены только испарительные и пароперегревательные поверхности нагрева (экономайзерная поверхность полностью перенесена в отдельный конвективный газоход, а воздухоподогреватель отсутствует), что при газотурбинной надстройке требует коренной реконструкции котла.
Достигаемым результатом изобретения является возможность осуществления газотурбинной надстройки к паротурбинному энергоблоку с котлом, сжигающим любые топлива, отсутствие необходимости длительного останова энергоблока на реконструкцию и увязки мощности газовой турбины с мощностью паровой турбины в составе действующего энергоблока.
Указанный результат обеспечивается тем, что в способе создания парогазовой установки путем газотурбинной надстройки паротурбинной установки, оборудованной сжигающим топливо паровым котлом с конвективным газоходом, включающем использование для выработки пара теплообменных поверхностей, установленных в отдельном конвективном газоходе газовой турбины, согласно изобретению в паровом котле сохраняют все поверхности нагрева, необходимые для его самостоятельной работы на прежнем топливе, в отдельном конвективном газоходе газовой турбины устанавливают поверхности нагрева, дополняющие аналогичные котельные поверхности, а расход топлива в котле уменьшают так, чтобы общая паропроизводительность парового котла с дополняющими его поверхностями сохранялась на уровне паропроизводительности парового котла при его самостоятельной работе без газотурбинной надстройки.
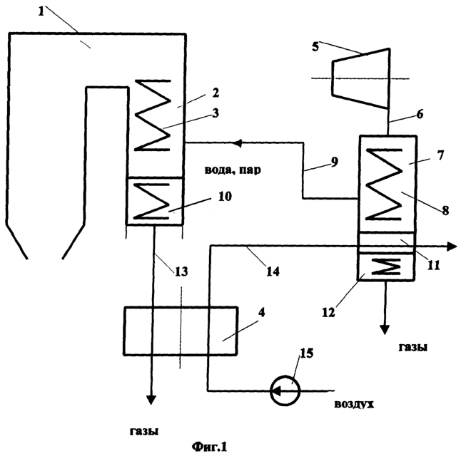
На фиг.1 в качестве примера схематически изображена ПГУ по способу согласно изобретению с размещением в отдельном конвективном газоходе входных ступеней промежуточного пароперегревателя и котельного водяного экономайзера, а также выходной ступени котельного воздухоподогревателя и газового подогревателя конденсата; на фиг.2 – та же ПГУ с дополнительным размещением в этом газоходе газового регенеративного подогревателя питательной воды (турбинного экономайзера).
Парогазовая установка согласно изобретению содержит паротурбинный блок с паровым котлом 1, снабженный конвективным газоходом 2 с размещенными в нем поверхностями 3 нагрева и вынесенным РВП 4, а также газотурбинный блок с газовой турбиной 5. Тракт 6 выхлопных газов газовой турбины 5 имеет отдельный конвективный газоход 7 с размещенными в нем аналогичными поверхностями 8 нагрева, дополняющими котельные поверхности 3 нагрева и соединенными с ними трубопроводами 9. Если котел 1 оснащен газовым регенеративным подогревателем питательной воды (турбинным экономайзером) 10 (фиг.1), байпасирующим по питательной воде соответствующие регенеративные подогреватели высокого давления паротурбинного блока (на чертеже на показаны), то в конвективном газоходе 7 тракта 6 выхлопных газов газовой турбины 5 могут быть установлены выходная ступень 11 воздухоподогревателя парового котла 1 и газовый подогреватель 12 конденсата, также байпасирующий по конденсату соответствующие регенеративные подогреватели низкого давления паротурбинного блока (на чертеже не показаны). При отсутствии в котельном конвективном газоходе 2 турбинного экономайзера (фиг.2) он может быть установлен в конвективном газоходе 7 тракта 6 выхлопных газов газовой турбины 5 вместе с газовым подогревателем 12 конденсата и выходной ступенью 11 воздухоподогревателя. В таком сочетании возможно и полное исключение подогревателя 12 из тепловой схемы ПГУ (на чертеже не показано). Позициями 13, 14, 15 на фиг.1 и 2 обозначены соответственно газоход от котла 1 к РВП 4, линия подачи воздуха к горелкам котла (на чертеже не показаны) и дутьевой вентилятор.
ПГУ по способу согласно изобретению работает следующим образом. Котел 1, работающий на любом топливе, и газовая турбина 5 эксплуатируются в своих обычных режимах. Выхлопные газы турбины 5 глубоко охлаждаются в отдельном конвективном газоходе 7 дополнительными поверхностями 8, 10, 11, 12 нагрева котельного воздуха, питательной воды и конденсата, что обеспечивает максимальную утилизацию тепла. С другой стороны, тепло, переданное в газоходе 7 дополнительным котельным поверхностям 8, при сохранении полной паропроизводительности котла (с поверхностями нагрева 3 и 8) позволяет сжигать в нем меньше топлива.
Таким образом, ПГУ согласно изобретению не требует существенной реконструкции котла и увязки его паропроизводительности с мощностью газовой турбины. Кроме того, в результате максимально полного использования сбросного тепла газовой турбины 5 и уменьшения расхода топлива в котле 1 экономичность установки в целом существенно возрастает. С другой стороны, байпасирование системы регенерации ПТУ турбинным экономайзером 10 и газовым подогревателем конденсата 12 увеличивает мощность паровой турбины (на чертеже не показана) паротурбинного блока ПГУ за счет сокращения расхода отборного пара, что еще больше увеличивает экономичность ПГУ согласно изобретению, снижая удельные расходы топлива. Избытка пара в цилиндрах среднего и низкого давления турбины не возникает, так как степень вытеснения паровой регенерации тепла в паротурбинном цикле газовой регенерацией может быть установлена оптимальным путем перераспределения отдачи тепла выхлопных газов между водой и воздухом.
Проведенные расчеты применительно к надстройке паротурбинного энергоблока 310 МВт газовой турбиной 110 МВт по схеме согласно изобретению показали, что мощность установки возрастает до 497 МВт (для температуры наружного воздуха tнв=-15°С), а удельный расход топлива понижается приблизительно на 10% по сравнению с исходным паротурбинным блоком.
Источник информации
1. Авторское свидетельство СССР №1458606, 7 F 01 K 23/06, 1986.
Формула изобретения
Способ создания парогазовой установки путем газотурбинной надстройки паротурбинной установки, оборудованной сжигающим топливо паровым котлом с конвективным газоходом, включающий использование для выработки пара теплообменных поверхностей, установленных в отдельном конвективном газоходе газовой турбины, отличающийся тем, что в паровом котле сохраняют все поверхности нагрева, необходимые для его самостоятельной работы на прежнем топливе, в отдельном конвективном газоходе газовой турбины устанавливают поверхности нагрева, дополняющие аналогичные котельные поверхности, а расход топлива в котле уменьшают так, чтобы общая паропроизводительность парового котла с дополняющими его поверхностями сохранялась на уровне паропроизводительности парового котла при его самостоятельной работе без газотурбинной надстройки.
РИСУНКИ
|
|