|
(21), (22) Заявка: 2003136451/03, 16.12.2003
(24) Дата начала отсчета срока действия патента:
16.12.2003
(45) Опубликовано: 20.06.2005
(56) Список документов, цитированных в отчете о поиске:
КУЗНЕЦОВ В.В. И ДР. Разрушение горных пород инфракрасным излучением, Москва, Недра, 1979, с. 333. SU 912934 А1, 15.03.1982. SU 1281669 А1, 07.01.1987. SU 1176081 А1, 30.08.1985. RU 2187646 C2, 20.08.2002. DE 3911119 А, 05.04.1990.
Адрес для переписки:
685030, г.Магадан, ул. Пролетарская, 79, кв.52, Г.Г. Михайленко
|
(72) Автор(ы):
Михайленко Г.Г. (RU)
(73) Патентообладатель(и):
Михайленко Григорий Григорьевич (RU)
|
(54) СПОСОБ ОТКРЫТОЙ РАЗРАБОТКИ ПЛАСТООБРАЗНЫХ МЕСТОРОЖДЕНИЙ
(57) Реферат:
Изобретение относится к горной промышленности, а именно к способу открытой разработки пластообразных месторождений неглубокого залегания с малым углом падения, с прочными вмещающими породами, и может быть использовано при разработке многолетнемерзлых россыпных месторождений. Техническим результатом является повышение эффективности разработки месторождений. Для этого способ включает последовательную отработку заходок с размещением вскрыши очередных заходок в выработанное пространство предыдущих, непрерывные совмещенные процессы разупрочнения, выемки и перемещения породы в отвал. Причем заходки располагают вдоль разрезной траншеи, выемку производят смежными горизонтальными стружками забоя-площадки, породу каждой заходки перемещают метанием непосредственно в выработанное пространство и уплотняют в отвале реализацией кинетической энергии породы. 2 ил. 
Изобретение относится к горной промышленности, а именно к способу открытой разработки пластообразных месторождений неглубокого залегания с малым углом падения, с прочными вмещающими породами, и может быть использовано при разработке многолетнемерзлых россыпных месторождений.
Известен способ разработки многолетнемерзлых россыпных месторождений поперечными или продольными заходками и внутренним отвалообразованием с цикличными процессами подготовки пород к выемке, выемки и перемещения пород в отвал (Емельянов В.И. Открытая разработка россыпных месторождений. М.: Недра, 1985 г., с.92).
Недостатком данного способа является цикличность рабочих процессов.
Наиболее близким способом по технической сущности является способ открытой разработки пластообразных месторождений неглубокого залегания с малым углом падения с прочными вмещающими породами, при котором заходки располагают под прямым углом к разрезной траншее, а отработку заходок производят последовательно с размещением вскрыши очередных заходок в выработанное пространство предыдущих. Процессы разупрочнения и выемки породы совмещены и производятся непрерывно в одном торцовом забое, при этом осуществляется непрерывное конвейерное перемещение породы во внутренний отвал (Кузнецов В.В., Протасов Ю.И. Разрушение горных пород инфракрасным излучением. М.: Недра, 1979 г., с.333).
Основным недостатком известного способа является то, что породу первых двух заходок сначала складируют во временный технологический отвал, а затем переэкскавируют в выработанное пространство первой заходки.
Также недостатком является высокая трудоемкость организации непрерывного конвейерного перемещения и укладки породы во внутренние отвалы, при этом с нерациональным использованием выработанного пространства.
Недостаток складирования породы во временный технологический отвал проявляется в том, что с ростом коэффициента вскрыши, например, до 20-25, а это характерно для пластообразных россыпных месторождений, объем породы в первых двух заходках может значительно превышать весь объем полезного ископаемого в контуре карьера. Образование временных технологических отвалов с дальнейшей их переэкскавацией становится экономически нецелесообразным.
Высокая трудоемкость конвейерного перемещения породы вызвана тем, что необходимо производить монтаж, демонтаж, ремонт, а после отработки каждой заходки переустановку комплекса конвейеров.
Повышенная трудоемкость объясняется также борьбой с налипанием на ленту влажных и глинистых пород, а при эксплуатации в весенне-осенний период – с воздействием отрицательных температур.
При отсыпке отвалов конвейерным отвалообразователем не происходит уплотнения породы, что увеличивает коэффициент разрыхления и уменьшает угол естественного откоса отвала. Это снижает емкость отвала, размещаемого в выработанном пространстве, и при определенных условиях приводит к дополнительным работам по перевалке вскрышных пород внутренних отвалов.
Решаемая задача:
– повышение эффективности разработки месторождения;
– снижение трудоемкости работ при организации перемещения и укладки пород во внутренние отвалы;
– рациональное использование выработанного пространства при размещении в нем вскрышных пород.
Поставленная задача достигается тем, что заходки располагают вдоль разрезной траншеи, выемку производят смежными горизонтальными стружками забоя-площадки, породу каждой заходки перемещают метанием непосредственно в выработанное пространство и уплотняют в отвале реализацией кинетической энергии породы.
Из источников информации, ставших общедоступными до даты приоритета предлагаемого способа, не выявлены технические решения, в которых при открытой разработке пластообразных месторождений с прочными вмещающими породами и совмещенными процессами разупрочнения, выемки и перемещения горных пород заходки располагают вдоль разрезной траншеи, выемку производят смежными горизонтальными стружками забоя-площадки, породу каждой заходки перемещают метанием непосредственно в выработанное пространство и уплотняют в отвале реализацией кинетической энергии породы.
Таким образом, заявляемое техническое решение соответствует критерию “новизна”.
Анализ известных технических решений в исследуемой области позволяет сделать вывод об отсутствии в них признаков, сходных с существенными отличительными признаками заявляемого способа открытой разработки пластообразных месторождений с прочными вмещающими породами, и признать заявляемое решение соответствующим критерию “изобретательский уровень”.
Заявляемое изобретение соответствует критерию “промышленная применимость”, так как оно может быть использовано в горной промышленности при открытой разработке пластообразных месторождений с прочными вмещающими породами, в том числе многолетнемерзлых россыпных месторождений,
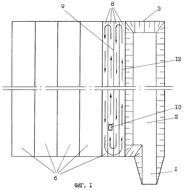
На фиг.1 схематично изображен способ открытой разработки пластообразных месторождений. На фиг.2 изображена схема перемещения породы первой заходки в выработанное пространство разрезной траншеи.
На схемах изображены: внешняя капитальная траншея 1, разрезная траншея 2, контур карьера 3, мощность покрывающих пород 4, пласт полезного ископаемого 5, заходки 6, первая заходка 7, возвратно-поступательные хода 8, забой-площадка 9, устройство для разработки и перемещения горных пород 10, внутренний отвал 11, направление движения устройства 12, траектория (дальность и высота) метания 13.
Предлагаемый способ наиболее эффективно применять на разработке пластообразных многолетнемерзлых россыпных месторождений. Горно-технические особенности разработки многолетнемерзлых россыпей Северо-Востока существенно отличаются не только от разработки рудных месторождений, но и от талых россыпных месторождений.
В мерзлом состоянии прочность рыхлых отложений весьма велика и соответствует прочности, в зависимости от категории и температуры мерзлых пород, плотных, полускальных и скальных пород. Производить выемку мерзлых пород без предварительного разупрочнения невозможно.
Мощность покрывающих пород для открытой раздельной добычи составляет до 25 м, а средняя мощность пласта полезного ископаемого не превышает 1,0-1,4 м.
В этих условиях экономически целесообразным является не вывозить породу первых двух заходок во внешние отвалы или внутренние временные технологические отвалы, а размещать ее сразу непосредственно в выработанном пространстве, применяя поточную технологию разупрочнения, выемки и перемещения пород.
Предлагаемый способ открытой разработки пластообразных месторождений осуществляется следующим образом.
Перед началом разработки месторождения по предлагаемому способу производят вскрытие месторождения внешней капитальной траншеей 1 и разрезной траншеей 2. Разрезную траншею 2 проходят по контакту месторождения с пустыми породами внутри контура карьера 3 на всю мощность покрывающих пород 4.
Вскрышные породы разрезной траншеи 2 перемещают и укладывают во внешний отвал.
Затем производят выемку части пласта полезного ископаемого 5, находящейся в пределах разрезной траншеи 2, и перемещают ее на обогащение транспортными средствами.
Ширину разрезной траншеи 2 расчитывают таким образом, чтобы емкость ее выработанного пространства была достаточной для размещения объема вскрыши первой заходки 7.
По завершении вскрытия приступают к разработке месторождения по предлагаемому способу.
Карьерное поле разделяют на заходки 6, параллельные разрезной траншее 2. Заходки 6 отрабатывают последовательно, начиная с первой заходки 7, примыкающей к разрезной траншее 2. Разупрочнение и выемку вскрышных пород в заходках 6 производят непрерывно тонкими стружками смежными возвратно-поступательными ходами 8 по забою-площадке 9 устройством для разработки и перемещения горных пород 10. (Положительное решение о выдаче патента на изобретение от 24 сентября 2006 года по заявке №2002115855/03/016689/ с приоритетом от 13.06.2002 г., 7 МПК Е 02 F 5/30. Устройство для разработки и перемещения горных пород).
Перемещают породу метанием во внутренний отвал 11 под прямым углом к направлению движения 12 устройства для разработки и перемещения горных пород 10. Траекторию (дальность и высоту метания) 13 регулируют углом наклона разгонной трубы и, при необходимости, режимом работы турбореактивного двигателя устройства для разработки и перемещения горных пород 10.
Уплотняют породу во внутреннем отвале 11, уменьшая при этом коэффициент разрыхления и увеличивая угол естественного откоса отвала, путем реализации кинетической энергии породы, приобретенной в процессе метания.
По завершении вскрышных работ в первой заходке 7 на полную мощность покрывающих пород 4 приступают к разработке части пласта полезного ископаемого 5 первой заходки 7 с вывозом ее на дальнейшую переработку транспортными средствами.
После завершения добычных работ в первой заходке 7 приступают к разработке второй заходки и так далее.
При разработке полезного ископаемого 5 с применением устройства для разработки и перемещения горных пород 10 необходимую скорость полезному ископаемому 5 для погрузки в транспортное средство придают регулированием подачи внешним контуром двухконтурного турбореактивного двигателя необходимого количества воздушного потока в разгонную трубу, а также использованием приемной воронки.
Предлагаемый способ позволяет также исключить образование межгребневых провалов при отсыпке отвалов оперативным регулированием высоты и дальности метания породы путем изменения угла наклона разгонной трубы и режима работы турбореактивного двигателя устройства для разработки и перемещения горных пород.
Исключение образования межгребневых провалов позволяет увеличить емкость внутренних отвалов до 30% по сравнению с гребневой отсыпкой при конвейерном отвалообразовании.
Многолетнемерзлые россыпные месторождения представляют собой по форме пластообразные залежи с малым углом падения. Мерзлые рыхлые отложения сцементированы льдочастицами, что обуславливает высокую прочность массива мерзлых пород. Их отработка требует предварительного разупрочнения.
В летний период с помощью тепла солнечной радиации можно оттаивать верхний слой породы, снимать этот слой, снова оттаивать и так далее. Однако скорость понижения горных работ в этом случае незначительна и равна скорости естественного оттаивания в среднем 10 см в сутки, что и определяет низкую интенсивность вскрышных работ по естественной оттайке.
Малая скорость естественной оттайки мерзлых пород сдерживает эффективное применение на разработке многолетнемерзлых россыпных месторождениях высокопроизводительных способов разработки с непрерывной послойной выемкой пород и одновременным перемещением их в отвал.
Для повышения интенсивности отработки многолетнемерзлых россыпей традиционными способами применяют цикличные технологии подготовки пород к выемке: буровзрывной способ, гидроигловое оттаивание, механическое рыхление.
Однако высокий коэффициент вскрыши до 20-25, малая средняя мощность пласта песков 1,0-1,4 м, прочные вмещающие породы приводят к тому, что при разработке многолетнемерзлых россыпных месторождений традиционными способами удельный вес затрат на вскрышные работы в себестоимости разработки месторождения достигает 85% и более.
Как показывают исследования, наиболее элективным способом разработки многолетнемерзлых россыпных месторождений является последовательная отработка заходок с размещением вскрышных пород во внутренние отвалы выработанного пространства предыдущих заходок.
Эффективность такого способа повышается с увеличением мощности торфов, уменьшением ширины заходки и с применением поточной технологии разупрочнения, выемки и перемещения горных пород.
Минимальную ширину заходки определяют, исходя из необходимости размещения добычного и транспортного оборудования в забое при разработке пласта полезного ископаемого, а также исходя из соблюдения требований техники безопасности.
Ширина заходки при использовании предлагаемого способа может составлять от 15 м до 40 м.
Учитывая, что коэффициент вскрыши достигает 20-25, а средняя мощность пласта песков не превышает 1,0-1,4 м, для подавляющего большинства россыпных месторождений Северо-Востока объем пород в первых двух заходках превышает объем песков во всем контуре отрабатываемого карьера. Затраты на вскрышные работы в первых двух заходках, укладку породы во временный технологический отвал, дальнейшую переэкскавацию породы во внутренний отвал выработанного пространства значительно превышают затраты на разработку и перемещение всего объема песков в контуре карьера.
При разработке многолетнемерзлых россыпных месторождений создание временных технологических отвалов для пород первых двух заходок экономически неоправдано. В этой связи в предлагаемом способе заходки располагают вдоль разрезной траншеи, а вскрышные породы каждой заходки, в том числе первой и второй, перемещают сразу непосредственно в выработанное пространство.
Незначительные размеры подавляющей части россыпных месторождений и большая территориальная разбросанность в труднодоступных районах определяют эффективность применения способов отработки месторождений с использованием технологического оборудования мобильного, автономного, высокой проходимости, не требующего проведения на месторождениях трудоемких работ по монтажу-демонтажу и пусконаладочных работ, а также перевозки металлоемких конструкций. Учитывая климатические особенности Северо-Востока, технологическое оборудование не должно требовать дополнительных трудозатрат на устранение воздействия отрицательных температур.
Этим требованиям в полной мере отвечает предлагаемый способ с применением в качестве технологического оборудования устройства для разработки и перемещения горных пород.
С ростом мощности вскрыши и уменьшением ширины заходки возрастает актуальность рационального использования емкости выработанного пространства для размещения в нем всего объема пород очередной заходки или максимально возможного объема без перевалки.
Предлагаемый способ позволяет рационально использовать выработанное пространство путем уменьшения коэффициента разрыхления и увеличения угла естественного откоса отвала, производя уплотнение породы в отвале. При этом удельный прирост емкости отвала возрастает в условиях роста мощности вскрыши и уменьшения ширины заходки, то есть в условиях повышения эффективности применения предлагаемого способа.
При необходимости общую емкость внутренних отвалов можно увеличить еще до 15-20% путем исключения образования межгребневых провалов оперативным, во время работы устройства, регулированием дальности и высоты метания породы.
Таким образом, для эффективной разработки многолетнемерзлых россыпных пластообразных месторождений Северо-востока с применением способа последовательной отработки заходок, с размещением вскрыши очередных заходок в выработанное пространство предыдущих необходимо выполнение следующих требований:
– процессы разупрочнения, выемки и перемещения породы в отвал должны быть непрерывными и совмещенными – поточными;
– технологическое оборудование должно быть мобильным, автономным, высокой проходимости, малой металлоемкости, не требующим трудоемких работ по монтажу-демонтажу и переустановке;
– породы каждой заходки должны перемещаться непосредственно во внутренний отвал с рациональным использованием емкости выработанного пространства.
Всем этим требованиям отвечает предлагаемый способ открытой разработки пластообразных месторождений с использованием в качестве технологического оборудования устройства для разработки и перемещения горных пород.
Необходимо отметить, что физико-механические свойства мерзлых пород, гранулометрический состав и климатические условия благоприятствуют применению предлагаемого способа разработки многолетнемерзлых месторождений с перемещением породы в отвал метанием.
Естественная весовая влажность пород, особенно мелкозернистого заполнителя, составляя от 22 до 90%, значительно снижает или полностью исключает пыление при перемещении породы в отвал метанием.
Средневзвешенный диаметр фракции породы находится в пределах 15-30 мм. Валунистость невелика и в среднем равна 4-6%.
Средняя скорость ветра в основных районах россыпной золотодобычи Северо-Востока незначительна и составляет, в зависимости от периода года и месяца, от 0,4 до 3,2 м/сек.
Использование предлагаемого способа открытой разработки пластообразных месторождений при разработке многолетнемерзлых россыпей с залеганием продуктивного пласта до 25 м позволяет:
– повысить эффективность разработки пластообразных месторождений за счет исключения объемных и дорогостоящих работ по пере экскавации горных пород и за счет рационального использования выработанного пространства;
– значительно снизить трудоемкость работ по организации перемещения и укладки вскрышных пород во внутренние отвалы за счет исключения применения конвейерного перемещения.
Формула изобретения
Способ открытой разработки пластообразных месторождений, включающий последовательную отработку заходок с размещением вскрыши очередных заходок в выработанное пространство предыдущих, непрерывные совмещенные процессы разупрочнения, выемки и перемещения породы в отвал, отличающийся тем, что заходки располагают вдоль разрезной траншеи, выемку производят смежными горизонтальными стружками забоя-площадки, породу каждой заходки перемещают метанием непосредственно в выработанное пространство и уплотняют в отвале реализацией кинетической энергии породы.
РИСУНКИ
MM4A Досрочное прекращение действия патента Российской Федерации на изобретение из-за неуплаты в установленный срок пошлины за поддержание патента в силе
Дата прекращения действия патента: 17.12.2005
Извещение опубликовано: 27.01.2007 БИ: 03/2007
|