|
|
(21), (22) Заявка: 2004107471/03, 11.03.2004
(24) Дата начала отсчета срока действия патента:
11.03.2004
(45) Опубликовано: 20.06.2005
(56) Список документов, цитированных в отчете о поиске:
АГОШКОВ М.И. И ДР., Подземная разработка рудных месторождений, Москва, Недра, 1966., с. 285. SU 589406 А, 03.04.1978. SU 573594 А, 14.10.1977. SU 1456577 А1, 07.02.1989. SU 275939 А, 14.10.1970. SU 1700245 А1, 23.12.1991. SU 1162977 А1, 23.06.1985. RU 2069755 С1, 27.11.1996. RU 2116449 С1, 27.07.1998.
Адрес для переписки:
346428, Ростовская обл., г. Новочеркасск, ул. Просвещения, 132, ГОУ ВПО ЮРГТУ (НПИ), ОИС
|
(72) Автор(ы):
Шестаков В.А. (RU), Белодедов А.А. (RU), Шаляпин В.Н. (RU), Малыгин Р.А. (RU)
(73) Патентообладатель(и):
Государственное образовательное учреждение высшего профессионального образования “Южно-Российский государственный технический университет (Новочеркасский политехнический институт) (RU)
|
(54) СПОСОБ РАЗРАБОТКИ НАКЛОННО ЗАЛЕГАЮЩИХ МЕСТОРОЖДЕНИЙ
(57) Реферат:
Изобретение относится к горному делу и может быть использовано при подземной разработке наклонно залегающих месторождений. Способ включает отработку залежей панелями, в которых проводят буровые восстающие, бурение вееров скважин из восстающих и последующую отбойку полезного ископаемого. Выемку запасов осуществляют снизу вверх, при этом восстающие проходят с заглублением в породы лежачего бока, одновременно на его почву настилают металлические листы, на которые сначала отбивают породы, которые перепускают в ранее отработанные камеры. Отбитую рудную массу выпускают из камеры и грузят на основном горизонте. Изобретение направлено на повышение интенсивности разработки, повышение полноты извлечения руды и снижение разубоживания. 3 ил. 
Изобретение относится к горнодобывающей промышленности и может быть использовано при разработке наклонно залегающих месторождений.
Известен способ разработки наклонных рудных залежей камерно-столбовой системой, при котором кроме основного днища в лежачем боку проходят серии дучек и воронок (см., например, А.А.Фаткулин, Е.Е.Марков, А.В.Андреев «Совершенствование разработки рудных месторождений». Владивосток: Изд-во ДВУ, 1991, 187 с., рис.2.14. Вариант камерно-столбовой системы разработки наклонной залежи с донным выпуском руды, с.126). Кроме дучек и воронок по породам лежачего бока проводят полевой штрек, из которого под каждую камеру проходят заезды. Из заездов под каждую дучку проходят восстающие, по которым отбитая в камере руда перепускается в заезд, а затем транспортируется по заезду к штреку. Недостатки данного способа: большой объем весьма трудоемких горноподготовительных работ по породам лежачего бока, низкая интенсивность подготовки и отработки блока, а также большие потери и разубоживание руды.
Известен также способ разработки наклонно залегающих месторождений, принятый за прототип (см., например, М.И.Агошков, Г.М.Малахов «Подземная разработка рудных месторождений». М., Недра, 1966, 663 с., рис.141. Камерно-столбовая система разработки, с.285), при котором отработку залежей мощностью 6-12 м, залегающих под углом падения 30-35°, осуществляют панелями шириной 12-15 м, в каждой из которых проходят буровой восстающий, заглубленный в породы почвы на 0,3-0,5 м для удобства бурения скважин по контакту с лежачим боком. Буровой восстающий располагается либо в центре, либо на фланге панели. Отбойку руды ведут веерами скважин слоями толщиной 1,7-1,8 м. Для обеспечения взрыводоставки удельный расход ВВ на отбойку увеличивали в 1,5 раза по сравнению с обычным вариантом камерно-столбовой системы. Недостатки способа: большие потери отбитой руды на почве камер и перерасход затрат на буровзрывные работы в камере в 1,5 раза, невозможность применения при углах падения меньше 30%.
Изобретение направлено на повышение интенсивности подготовки и отработки запасов, повышение полноты извлечения руды и снижения ее разубоживания, а также снижения объемов трудоемких горноподготовительных работ, уменьшения затрат на отбойку и транспортирование руды в очистном забое, увеличение интенсивности работ по выпуску руды за счет того, что способ разработки наклонно залегающих месторождений включает отработку залежей панелями, в которых проводят буровые восстающие, бурение вееров скважин из восстающих и последующую отбойку полезного ископаемого, выемку запасов осуществляют снизу вверх, при этом восстающие проходят с заглублением в породы лежачего бока, одновременно на его почву настилают металлические листы, на которые сначала отбивают породы, которые перепускают в ранее отработанные камеры, отбитую рудную массу выпускают из камеры и грузят на основном горизонте в транспортные средства.
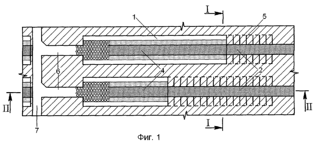
Сущность изобретения представлена на чертежах,
где на фиг.1 – проекция на горизонтальную плоскость камерной системы разработки;
фиг.2 – вертикальный разрез по линии I-I;
фиг.3 – вертикальный разрез по линии II-II;
Способ осуществляется следующим образом.
Отработку месторождений ведут панелями. Направление отработки панелей сверху вниз, что позволяет обеспечить складирование породы от проходки в ранее отработанные камеры нижнего этажа. В каждой камере 1 устойчивых размеров после проведения откаточного штрека и заездов из нее под каждую камеру проходится восстающий 2 с некоторым заглублением 3 в породы лежачего бока, на почву которого настилаются металлические листы 4. Листы в панели настилаются снизу вверх с небольшим перекрытием для предотвращения их завертывания. Отбойка руды в камерах осуществляется веерами скважин 5, пробуриваемыми из восстающего, и доставляется самотеком по листам к месту погрузки, далее при помощи самоходного оборудования руда транспортируется по промежуточному орту 6 к откаточному штреку 7. При этом отбойку руды и породы и выдачу их из камеры осуществляют раздельно как при проходке восстающего, так и в период очистных работ. Сначала при проходке восстающего отбивают руду и выдают ее из камеры самотеком. Затем отбивают породу в нижней части восстающего и также выдают из камеры и перепускают в ранее отработанную камеру нижнего этажа. После проходки восстающего в нижней части подготавливаемой камеры проходят отрезную щель с таким же заглублением, на которую запасы камеры отбивают по частям, при этом сначала веерами скважин отбивают руду и погружают ее на основном горизонте в транспортные средства, а затем короткими скважинами отбивают породы раскоски и перепускают их в ранее отработанную камеру нижнего этажа. Преимуществом данного способа является снижение потерь и разубоживания руды.
Формула изобретения
Способ разработки наклонно залегающих месторождений, включающий отработку залежей панелями, в которых проводят буровые восстающие, бурение вееров скважин из восстающих и последующую отбойку полезного ископаемого, отличающийся тем, что выемку запасов осуществляют снизу вверх, при этом восстающие проходят с заглублением в породы лежачего бока, одновременно на его почву настилают металлические листы, на которые сначала отбивают породы, которые перепускают в ранее отработанные камеры, отбитую рудную массу выпускают из камеры и грузят на основном горизонте.
РИСУНКИ
MM4A – Досрочное прекращение действия патента СССР или патента Российской Федерации на изобретение из-за неуплаты в установленный срок пошлины за поддержание патента в силе
Дата прекращения действия патента: 12.03.2006
Извещение опубликовано: 20.08.2007 БИ: 23/2007
|
|