|
(21), (22) Заявка: 2003136402/03, 18.12.2003
(24) Дата начала отсчета срока действия патента:
18.12.2003
(45) Опубликовано: 20.06.2005
(56) Список документов, цитированных в отчете о поиске:
RU 2100573 C1, 27.12.1997. RU 2140337 C1, 27.10.1999. RU 2158355 C2, 27.10.2000. RU 2023868 C1, 30.11.1994. SU 1786244 A1, 07.01.1993. US 4007784 A, 15.02.1977. US 4034807 A, 12.07.1977. US 4896720 A, 30.01.1990.
Адрес для переписки:
140093, Московская обл., г.Дзержинский, ул. Угрешская, 30, кв.271, Ю.А.Архипову
|
(72) Автор(ы):
Архипов Ю.А. (RU)
(73) Патентообладатель(и):
Архипов Юрий Александрович (RU)
|
(54) СПОСОБ ПОДДЕРЖАНИЯ В РАБОЧЕМ СОСТОЯНИИ ПРОХОДНОГО СЕЧЕНИЯ КОЛОННЫ НАСОСНО-КОМПРЕССОРНЫХ ТРУБ В ЭКСПЛУАТАЦИОННОЙ СКВАЖИНЕ
(57) Реферат:
Изобретение относится к нефтедобывающей промышленности и может быть использовано для удаления асфальтосмолопарафинистых и других отложений с внутренней поверхности насосно-компрессорных труб в скважинах. Способ поддержания в рабочем состоянии проходного сечения колонны насосно-компрессорных труб в эксплуатационной скважине включает очистку внутренней поверхности колонны насосно-компрессорных труб посредством скребков с возвратно-поступательным и вращательным перемещением скребков относительно колонны насосно-компрессорных труб и удалением отложений из колонны насосно-компрессорных труб потоком добываемой жидкости. Используют автоматические скребки, перемещающиеся вверх за счет использования энергии потока добываемой среды. В колонне насосно-компрессорных труб располагают несколько автоматических скребков, причем изменение направления перемещения верхнего и нижнего автоматических скребков соответственно вниз и вверх осуществляют при взаимодействии верхнего автоматического скребка с верхним ограничителем хода в колонне труб и нижнего автоматического скребка с нижним ограничителем хода в колонне труб, а изменение направления движения указанных выше скребков на обратное осуществляют при взаимодействии скребков в результате столкновения вышерасположенного скребка с нижерасположенным при их движении навстречу друг другу. Повышается эффективность очистки скважинного оборудования путем очистки внутренней поверхности колонны насосно-компрессорных труб за счет организации автоматического перемещения нескольких скребков внутри колонны насосно-компрессорных труб. 4 з.п. ф-лы, 1 ил. 
Изобретение относится к нефтедобывающей промышленности и может быть использовано для удаления асфальтосмолопарафинистых и других отложений с внутренней поверхности насосно-компрессорных труб в скважинах, эксплуатирующихся погружными электроцентробежными насосными установками, а также газлифтным и фонтанным способом.
Известен способ очистки скважинного оборудования от отложений на внутренней поверхности колонны насосно-компрессорных труб путем срезания таких отложений режущими элементами скребков, жестко установленных на теле штанги. При возвратно-поступательном движении колонны насосных штанг кромки режущих элементов скребков соприкасаются с внутренней поверхностью труб, в результате чего происходит удаление отложений с внутренней поверхности труб (см., авторское свидетельство СССР N 1838590, кл. Е 21 В 37/02, 30.08.1993).
Недостатком известного способа является необходимость наличия привода для перемещения скребков вдоль поверхности труб. В связи с этим область использования данного способа ограничена в основном штанговыми насосными установками.
Наиболее близким к изобретению по технической сущности и достигаемому результату является способ поддержания в рабочем состоянии проходного сечения колонны насосно-компрессорных труб в эксплуатационной скважине, включающий очистку внутренней поверхности колонны насосно-компрессорных труб посредством скребков с возвратно-поступательным и вращательным перемещением скребков относительно колонны насосно-компрессорных труб и удалением отложений из колонны насосно-компрессорных труб потоком добываемой жидкости (см., патент РФ №2100573, кл. Е 21 В 37/02, 27.12.1997).
В данном изобретении перемещение скребков в их крайнее исходное положение осуществляется с помощью колонны насосных штанг, связанной верхним концом со станком-качалкой, а нижним – со штоком плунжерного насоса. Скребки установлены на теле штанг с возможностью поступательного и вращательного перемещения и свободно закреплены на теле штанг между ограничителями их хода. Однако данный способ очистки внутренней поверхности колонны насосно-компрессорных труб не может быть использован в скважинах, где нет колонны насосных штанг и их привода, что сужает область его использования.
Задачей, на решение которой направлено настоящее изобретение, является повышение эффективности очистки скважинного оборудования путем очистки внутренней поверхности колонны насосно-компрессорных труб за счет организации автоматического перемещения нескольких скребков внутри колонны насосно-компрессорных труб.
Указанная задача решается за счет того, что в способе поддержания в рабочем состоянии проходного сечения колонны насосно-компрессорных труб в эксплуатационной скважине, включающем очистку внутренней поверхности колонны насосно-компрессорных труб посредством скребков с возвратно-поступательным и вращательным перемещением скребков относительно колонны насосно-компрессорных труб и удалением отложений из колонны насосно-компрессорных труб потоком добываемой жидкости, в колонне насосно-компрессорных труб располагают несколько автоматических скребков, причем изменение направления перемещения верхнего и нижнего автоматических скребков соответственно вниз и вверх осуществляют при взаимодействии верхнего автоматического скребка с верхним ограничителем хода в колонне труб и нижнего автоматического скребка с нижним ограничителем хода в колонне труб, а изменение направления движения указанных выше скребков на обратное осуществляют при взаимодействии скребков в результате столкновении выше расположенного скребка с ниже расположенным при их движении навстречу друг другу.
Кроме того, поддерживание в рабочем состоянии проходного сечения колонны насосно-компрессорных труб может быть осуществлено с момента ввода скважины в эксплуатацию после спуска чистой колонны насосно-компрессорных труб в скважину.
Поддерживание в рабочем состоянии проходного сечения колонны насосно-компрессорных труб в эксплуатационной скважине может быть начато после шаблонирования проходного сечения колонны насосно-компрессорных труб.
Автоматические скребки могут быть выполнены с различным наружным диаметром, причем автоматические скребки спускают в колонну насосно-компрессорных труб последовательно, начиная с автоматического скребка с наименьшим внешним диаметром.
Поддерживание в рабочем состоянии проходного сечения колонны насосно-компрессорных труб в эксплуатационной скважине целесообразно начинать после установки нижнего ограничителя хода ниже интервала парафиноотложения в зоне, имеющей температуру выше температуры плавления асфальтосмолисто-парафиновых отложений.
Анализ работы различных способов очистки внутренней поверхности труб в скважинах показал, что актуальной является задача эффективной очистки внутренней поверхности колонны насосно-компрессорных труб в скважинах, которые не имеют приводных колонн насосных штанг, например, оборудованных погружными электроцентробежными насосными установками. В этих условиях возможно использование скребков, которые используют энергию потока добываемой среды для перемещения скребка вверх по колонне. В качестве такого автоматического скребка можно использовать Скребок парашютный автоматический Архипова” по патенту РФ №2140337. Однако в ряде случаев отложения растут быстрее, чем скребок успевает их удалять с внутренней поверхности труб. В ходе исследования было установлено, что возможно интенсифицировать процесс удаления отложений и одновременно более эффективно использовать автоматический скребок. Для этого в колонне насосно-компрессорных труб размещают, по крайней мере, два автоматических скребка, причем организуют работу за счет их последовательного запуска в колонну насосно-компрессорных труб таким образом, что когда нижний скребок движется вверх после взаимодействия с нижним ограничителем хода скребков в колонне насосно-компрессорных труб, верхний автоматический скребок движется вниз под действием собственного веса скребка. В результате в каком-то промежуточном сечении колонны насосно-компрессорных труб произойдет столкновение нижнего и верхнего (или промежуточного) автоматических скребков, что приведет к изменению направления движения как нижнего, так и верхнего автоматических скребков. При этом верхний скребок переключится на движение вверх, а нижний – на движение вниз. При достижении нижним автоматическим скребком нижнего ограничителя хода, а верхним автоматическим скребком верхнего ограничителя движения в колонне насосно-компрессорных труб они оба меняют направление движения и опять движутся в противоположном направлении. Учитывая неравномерное отложение осадка на поверхности труб автоматические скребки могут пройти различное расстояние и встретиться не на середине колонны насосно-компрессорных труб. Дополнительные возможности могут быть достигнуты при выполнении автоматических скребков с различным наружным диаметром. Автоматические скребки в этом случае спускают в колонну насосно-компрессорных труб последовательно, начиная с автоматического скребка с наименьшим внешним диаметром, что позволяет последовательно удалять отложения по мере их роста, при этом снижается нагрузка на каждый отдельный автоматический скребок при более равномерном распределении нагрузки между отдельными скребками.
Таким образом, происходит автоматическое регулирование в зависимости от степени загрязнения поверхности труб и скорости восходящего потока добываемой жидкости. В зависимости от скорости образования отложений и средней скорости движения автоматических скребков выбирается оптимальное их количество, которое может быть больше двух.
В результате решена поставленная в изобретении задача – повышение эффективности очистки внутренней поверхности колонны насосно-компрессорных труб
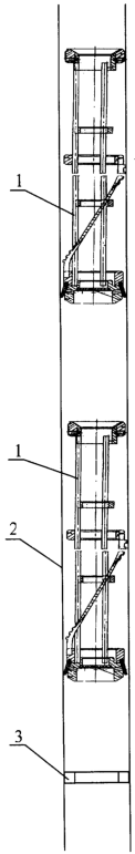
На чертеже представлено устройство очистки колонны насосно-компрессорных труб для реализации описываемого способа работы.
Устройство для очистки внутренней поверхности колонны насосно-компрессорных труб содержит автоматические скребки 1, которые размещены в колонне насосно-компрессорных труб 2. В нижней части колонны насосно-компрессорных труб 2 установлен нижний ограничитель 3 хода нижнего автоматического скребка 1. В качестве верхнего ограничителя хода автоматических скребков 1 может быть использована лубрикаторная задвижка (не показана на чертеже).
Способ поддержания в рабочем состоянии проходного сечения колонны насосно-компрессорных труб в эксплуатационной скважине включает очистку внутренней поверхности колонны насосно-компрессорных труб 2 посредством автоматических скребков 1 с возвратно-поступательным и вращательным перемещением автоматических скребков 1 относительно колонны насосно-компрессорных труб 2. Удаление отложений из колонны насосно-компрессорных труб 2 осуществляется потоком добываемой из скважины жидкости, преимущественно нефти. В колонне насосно-компрессорных труб 3 располагают, по крайней мере, два автоматических скребка 1. При необходимости в колонне насосно-компрессорных труб 2 может быть размещено больше, чем два автоматических скребка 1. Изменение направления перемещения верхнего и нижнего автоматических скребков 1 соответственно вниз и вверх осуществляют при взаимодействии верхнего автоматического скребка с верхним ограничителем хода, в качестве которого может быть использована, как указывалось выше, лубрикаторная задвижка, и нижнего автоматического скребка 1 с нижним ограничителем хода 3 в колонне насосно-компрессорных труб 2. Изменение направления движения указанных выше автоматических скребков 1 на обратное осуществляют при взаимодействии (столкновении) автоматических скребков 1. В результате столкновения вышерасположенного скребка 1 с нижерасположенным скребком 1 при их движении навстречу друг другу происходит переключение хода скребков 1 на обратное.
В зависимости от конкретных условий эксплуатации скважин поддерживание в рабочем состоянии проходного сечения колонны насосно-компрессорных труб 2 может быть осуществлено с момента ввода скважины в эксплуатацию после спуска чистой колонны насосно-компрессорных труб 2 в скважину, либо поддерживание в рабочем состоянии проходного сечения колонны насосно-компрессорных труб 2 в эксплуатационной скважине может быть начато после шаблонирования проходного сечения колонны насосно-компрессорных труб 2, поддерживание в рабочем состоянии проходного сечения колонны насосно-компрессорных труб 2 в эксплуатационной скважине начинают после установки нижнего ограничителя хода 3 ниже интервала парафиноотложения в зоне, имеющей температуру выше температуры плавления асфальтосмолисто-парафиновых отложений.
Автоматические скребки 1 могут быть выполнены с различным наружным диаметром, причем автоматические скребки 1 спускают в колонну насосно-компрессорных труб 2 последовательно, начиная с автоматического скребка 1 с наименьшим внешним диаметром.
Настоящее изобретение может быть использовано с нефтедобывающей и газодобывающей промышленности для предотвращения образования парафиновых и других пробок в колонне насосно-компрессорных труб, что исключает ручной труд по очистке труб от отложений и увеличивает безремонтный период работы скважинной насосной установки.
Формула изобретения
1. Способ поддержания в рабочем состоянии проходного сечения колонны насосно-компрессорных труб в эксплуатационной скважине, включающий расположение нескольких скребков в колонне насосно-компрессорных труб, очистку внутренней поверхности колонны насосно-компрессорных труб возвратно-поступательным и вращательным перемещением скребков относительно колонны насосно-компрессорных труб с изменением направления перемещения верхнего и нижнего скребков соответственно вниз и вверх при взаимодействии верхнего скребка с верхним ограничителем хода и нижнего скребка с нижним ограничителем хода, отличающийся тем, что используют скребки автоматические, перемещающиеся вверх за счет использования энергии потока добываемой среды, вниз – под действием собственного веса и изменяющие направление перемещения верхнего и нижнего скребков соответственно вниз и вверх при взаимодействии верхнего скребка с верхним ограничителем хода в колонне насосно-компрессорных труб и нижнего скребка с нижним ограничителем хода в колонне насосно-компрессорных труб, при этом организуют работу за счет их последовательного запуска в колонну насосно-компрессорных труб таким образом, что когда нижний скребок перемещается вверх, верхний скребок перемещается вниз, а изменение направления перемещения указанных выше скребков на обратное осуществляют при взаимодействии скребков в результате столкновения вышерасположенного скребка с нижерасположенным скребком.
2. Способ поддержания в рабочем состоянии проходного сечения колонны насосно-компрессорных труб в эксплуатационной скважине по п.1, отличающийся тем, что поддерживание в рабочем состоянии проходного сечения колонны насосно-компрессорных труб осуществляют с момента ввода скважины в эксплуатацию после спуска чистой колонны насосно-компрессорных труб в скважину.
3. Способ поддержания в рабочем состоянии проходного сечения колонны насосно-компрессорных труб в эксплуатационной скважине по п.1, отличающийся тем, что поддерживание в рабочем состоянии проходного сечения колонны насосно-компрессорных труб в эксплуатационной скважине начинают после шаблонирования проходного сечения колонны насосно-компрессорных труб.
4. Способ поддержания в рабочем состоянии проходного сечения колонны насосно-компрессорных труб в эксплуатационной скважине по п.1, отличающийся тем, что автоматические скребки выполняют с различным наружным диаметром, причем автоматические скребки спускают в колонну насосно-компрессорных труб последовательно, начиная с автоматического скребка с наименьшим внешним диаметром.
5. Способ поддержания в рабочем состоянии проходного сечения колонны насосно-компрессорных труб в эксплуатационной скважине по п.1, отличающийся тем, что поддерживание в рабочем состоянии проходного сечения колонны насосно-компрессорных труб в эксплуатационной скважине начинают после установки нижнего ограничителя хода ниже интервала парафиноотложения в зоне, имеющей температуру выше температуры плавления асфальто-смолисто-парафиновых отложений.
РИСУНКИ
MM4A Досрочное прекращение действия патента Российской Федерации на изобретение из-за неуплаты в установленный срок пошлины за поддержание патента в силе
Дата прекращения действия патента: 19.12.2005
Извещение опубликовано: 27.01.2007 БИ: 03/2007
|