|
(21), (22) Заявка: 2004101266/03, 20.01.2004
(24) Дата начала отсчета срока действия патента:
20.01.2004
(45) Опубликовано: 20.06.2005
(56) Список документов, цитированных в отчете о поиске:
RU 2179618 C2, 20.02.2002. RU 2152502 C1, 10.07.2000. RU 2208120 C1, 10.07.2003. US 4770259 A, 13.09.1988. US 5259469 A, 09.11.1993. WO 98/15710 A1, 16.04.1998.
Адрес для переписки:
390048, г.Рязань, ул. Новоселов, 54/2, кв.292, В.А. Керимову
|
(72) Автор(ы):
Керимов В.А. (RU), Башкатов А.Д. (RU), Керимов Геннадий Ваидович (MT)
(73) Патентообладатель(и):
Керимов Ваид Амирджанович (RU), Башкатов Алексей Дмитриевич (RU)
|
(54) СПОСОБ И УСТРОЙСТВО ДЛЯ БУРЕНИЯ СКВАЖИН
(57) Реферат:
Изобретение относится к области горного дела, а именно, к способам и устройствам для бурения глубоких скважин из-под башмака обсадной колонны и может быть использовано для бурения нефтяных, газовых и водяных скважин. Способ бурения заключается в бурении, спуске и цементации обсадной колонны, спуске расширителя и бурении из-под башмака обсадной колонны. Бурение производят на глубину, большую длины обсадной колонны, образуют подбашмачную камеру, после засыпки которой песком производят спуск и цементацию обсадной колонны. Бурение из-под башмака обсадной колонны производят после спуска расширителя с промывкой в подбашмачную камеру и центрации относительно оси скважины. Устройство для бурения скважин включает колонну бурильных труб, расширитель, содержащий корпус с эксцентричной породоразрушающей и центрирующей лопастями, пилот-долото. Корпус расширителя снабжен замком и противоположно расположенными под ним направляющими, одна из которых, со стороны эксцентричной породоразрушающей лопасти эксцентрична, с которыми подвижно соединены эксцентричная породоразрушающая и центрирующая лопасти посредством соединительных муфт со средством связи между собой. Соединительная муфта центрирующей лопасти в нижнем положении установлена на направляющих, а соединительная муфта эксцентричной породоразрушающей лопасти на замке. Замок выполнен с учетом эксцентриситета эксцентричной породоразрушающей лопасти. Способ и устройство обеспечивают надежную, стабильную и эффективную работу. 2 н. и 3 з.п. ф-лы, 1 ил. 
Изобретение относится к области горного дела, в частности, к способам и устройствам для бурения скважин из-под башмака обсадной колонны и может быть использовано для нефтяных, газовых и водяных глубоких скважин.
Известен способ бурения скважин, включающий процессы: бурение из-под башмака обсадной колонны долотом-расширителем с раздвижными породоразрушающими лопастями, спуск и цементацию обсадной колонны [1].
Недостатком известного способа является совмещение процессов бурения и крепление ствола скважины, что приводит к осложнениям и авариям, кроме того, использование раздвижных породоразрушающих лопастей не обеспечивает надежную центрацию расширителя относительно оси скважины.
Известен также способ бурения скважин, включающий бурение с использованием долота с эксцентричным расширителем для формирования скважины больше диаметра обсадной колонны или пробуренного ствола, через который спускают инструмент на забой [2].
Недостатком известного способа является сложность обеспечения надежной центрации расширителя относительно оси скважины, что приводит к искривлению скважины в процессе бурения.
Наиболее близким известным способом бурения является способ бурения скважин, включающий бурение под обсадную колонну, спуск и цементацию обсадной колонны, спуск расширителя с эксцентричной породоразрушающей и центрирующей лопастями и бурение из-под башмака [3].
Недостатком известного способа является то, что давление на центрирующую лопасть осуществляется подачей промывочной жидкости, которую через дроссель также подают для промывки скважины, в результате чего она пульсирует и не обеспечивается надежная центрация инструмента и промывка забоя скважины.
В соответствии с настоящим изобретением предусмотрено создание способа бурения скважин, который обеспечивает стабильную и эффективную работу за счет надежной центрации расширителя относительно оси скважины в процессе бурения.
Указанная задача решается тем, что в способе бурения скважин, включающем бурение, спуск и цементацию обсадной колонны, спуск расширителя и бурение из-под башмака обсадной колонны, бурение производят на глубину, большую длины обсадной колонны, образовывают подбашмачную камеру, после засыпки которой песком производят спуск и цементацию обсадной колонны, а бурение из-под башмака обсадной колонны производят после спуска расширителя с промывкой в подбашмачную камеру и центрации относительно оси скважины.
Известно устройство для бурения скважин, включающее колонну бурильных труб с долотом-расширителем с раздвижными породоразрушающими лопастями [1].
Недостатком известного устройства является сложность обеспечения надежной центрации инструмента относительно оси скважины.
Известно также устройство для бурения скважин, включающее эксцентричный расширитель, состоящий из корпуса, расширяющих породоразрушающих элементов, выходящих за габариты пилот-долота [2].
Недостатком известного устройства является недостаточно надежная центрация относительно оси скважины.
Наиболее близким устройством для бурения скважин является устройство, включающее колонну бурильных труб, расширитель, содержащий корпус с эксцентричной породоразрушающей и центрирующей лопастями, пилот-долото [3].
Недостатком известного устройства является отсутствие надежной центрации устройства относительно оси скважины.
В соответствии с настоящим изобретением предусмотрено создание устройства для бурения скважин, обеспечивающего стабильную и эффективную работу за счет надежной центрации устройства относительно оси скважины в процессе бурения.
Указанная задача выполняется тем, что в устройстве для бурения скважин, включающем колонну бурильных труб, расширитель, содержащий корпус с эксцентричной породоразрушающей и центрирующей лопастями, пилот-долото, корпус расширителя снабжен замком и противоположно расположенными под ним направляющими, одна из которых со стороны эксцентричной породоразрушающей лопасти эксцентрична, с которыми соединены подвижно эксцентричная породоразрушающая и центрирующая лопасти посредством соединительных муфт, со средством связи между собой, причем соединительная муфта центрирующей лопасти в нижнем положении установлена на направляющих, а соединительная муфта эксцентричной породоразрушающей лопасти – на замке, который выполнен с учетом эксцентриситета эксцентричной породоразрушающей лопасти.
Кроме того, эксцентричная породоразрушающая и центрирующая лопасти снабжены шарошечными лапами, установленными на меньший диаметр расширения.
Также центрирующая лопасть снабжена радиальными породоразрушающими элементами.
А также средство связи соединительных муфт эксцентричной породоразрушающей лопастей выполнено посредством установки соединительной муфты центрирующей лопасти на опорную раму, установленную подвижно на корпусе и жестко закрепленную к эксцентричной породоразрушающей лопасти.
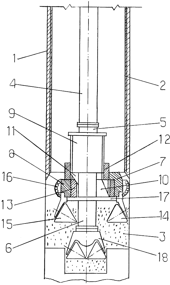
Сущность изобретения пояснена чертежом.
Скважина 1 включает обсадную колонну 2, подбашмачную камеру 3. Устройство для бурения включает колонну бурильных труб 4, расширитель 5 с корпусом 6, эксцентричной породоразрушающей лопастью 7, центрирующей лопастью 8.
Корпус 6 снабжен замком 9, эксцентричной направляющей 10, размещенной на корпусе 6 со стороны эксцентричной породоразрушающей лопасти 7 и направляющей 11, размещенной под замком 9 с противоположной стороны на корпусе 6. Эксцентричная породоразрушающая и центрирующая лопасти и замок 9 с направляющей 11 и эксцентричной направляющей 10 соединены подвижно посредством соединительных муфт 12, 13 и снабжены шарошечными лапами 14, 15, которые установлены на меньший диаметр расширения в сравнении с диаметром расширения эксцентричной породоразрушающей лопасти и радиальных породоразрушающих элементов 16 центрирующей лопасти 8. Разница диаметров составляет 5-10 мм. К эксцентричной породоразрушающей лопасти 7 закреплена жестко опорная рама 17, на которой установлена соединительная муфта 13 и которая установлена подвижно на корпусе 6.
Расширитель 5 соединен с пилот-долотом 18. Замок 9 выполнен с учетом эксцентриситета эксцентричной породоразрушающей лопасти.
Работа устройства заключается в следующем. В пробуренную скважину 1 глубиной более чем длина обсадной колонны на 2,5-3 м засыпают песок для образования подбашмачной камеры и спускают обсадную колонну 2 и цементируют ее.
После этого спускают на колонне бурильных труб 4 расширитель 5 с пилот-долотом 18 и при малых оборотах устройства с промывкой разбуривают цементную пробку и спускают расширитель в подбашмачную камеру и промывают ее и центрируют расширитель 5 относительно оси скважины подачей устройства на забой, при которой шарошечная лапа 14 за счет опоры на забой перемещается в верхнее рабочее положение, а вместе с ней эксцентричная породоразрушающая лопасть 7 и центрирующая лопасть 8 с шарошечной лапой 15.
При этом соединительная муфта 13 предварительно перемещается с меньшего диаметра центрации на номинальный на эксцентричной направляющей 10 и направляющей 11, а после достижения соосности с замком 9 за счет давления опорной рамы 17 перемещается на замок 9 в рабочее положение.
В дальнейшем бурение производится из-под башмака обсадной колонны с обеспечением надежной центрации расширителя относительно оси буримой скважины.
Замок 9 выполнен с учетом некоторого перекрытия рабочего хода в осевом направлении.
После бурения из-под башмака обсадной колонны на глубину, большую длины очередной обсадной колонны, операции по сооружению скважины продолжают аналогично приведенным выше.
При этом при подъеме устройства из скважины центрирующая лопасть 8 перемещается в нижнее транспортное положение.
Технический результат
1. Снижение объема выбуренной породы, расхода долот и капитальных затрат в целом в 1,5-1,8 раза.
2. Повышение коммерческой производительности бурения за счет исключения осложнений в процессе бурения, спуска и крепления обсадных колонн.
3. Снижение диаметров обсадных труб и расширителей на порядок в сравнении с проектными диаметрами без изменения проектного диаметра эксплуатационной колонны.
Пример осуществления способа
1. Бурению подлежит эксплуатационная скважина №76 на пл. Увезовская ПХГ.
Согласно геолого-техническому наряду проектная глубина скважины №76 составляет 800 м, эксплуатационная колонна – 168 мм – 760 м; диаметры и длина обсадных труб: 426 мм – 10 м; 325 мм – 120 м; 245 мм – 540 м; диаметры долот соответственно: 530 мм; 393,7 мм; 295,3 мм; 215,9 мм.
2. В соответствии с настоящим изобретением при использовании проектных длин диаметры обсадных труб составят 324 мм; 273 мм; 219 мм; 168 мм.
3. Бурение под каждую обсадную колонну производится на глубину больше длины обсадной колонны на 2,5-3 м.
4. Диаметры расширителей составят соответственно: 393,7 мм; 320 мм; 295,3 мм; 215,9 мм.
5. Спуск и цементация очередной обсадной колонны производятся после образования, засыпки песком подбашмачной камеры глубиной 2,5-3 м.
6. Процесс бурения из-под башмака обсадных колонн производится после предварительной промывки подбашмачной камеры и центрации расширителя подачей устройства на забой и выведения расширителя в рабочее положение.
7. Бурение эксплуатационного ствола скважины производится согласно геотехническому наряду.
8. Снижение трудозатрат и времени на сооружение скважины составляет 1,5-1,8 раза в сравнении с проектными.
Источники информации
1. Авторское свидетельство СССР №1590537, МКИ 5, Е 21 В 7/20, 07.09.90.
2. Патент РФ №2152502, МПК 7, Е 21 В 7/28, 10.07.2000.
3. Патент РФ №2179618, МПК 7, Е 21 В 7/28, 20.02.2002.
Формула изобретения
1. Способ бурения скважин, включающий бурение, спуск и цементацию обсадной колонны, бурение из-под башмака обсадной колонны, отличающийся тем, что бурение производят на глубину, большую длины обсадной колонны, образуют подбашмачную камеру, после засыпки которой песком производят спуск и цементацию обсадной колонны, а бурение из-под башмака обсадной колонны производят после спуска расширителя с промывкой в подбашмачную камеру и центрации относительно оси скважины.
2. Устройство для бурения скважин, включающее колонну бурильных труб, расширитель, содержащий корпус с эксцентричной породоразрушающей и центрирующей лопастями, пилот – долото, отличающееся тем, что корпус расширителя снабжен замком и противоположно расположенными под ним направляющими, одна из которых со стороны эксцентричной породоразрушающей лопасти эксцентрична, с которыми подвижно соединены эксцентричная породоразрушающая и центрирующая лопасти посредством соединительных муфт со средством связи между собой, причем соединительная муфта центрирующей лопасти в нижнем положении установлена на направляющих, а соединительная муфта эксцентричной породоразрушающей лопасти – на замке, который выполнен с учетом эксцентриситета эксцентричной породоразрушающей лопасти.
3. Устройство по п.2, отличающееся тем, что эксцентричная породоразрушающая и центрирующая лопасти снабжены шарошечными лопастями, установленными на меньший диаметр расширения.
4. Устройство по п.2, отличающееся тем, что центрирующая лопасть снабжена радиальными породоразрушающими элементами.
5. Устройство по п.2, отличающееся тем, что средство связи соединительных муфт эксцентричной породоразрушающей и центрирующей лопастей выполнено посредством установки соединительной муфты центрирующей лопасти на опорную раму, установленную подвижно на корпусе и закрепленную жестко к эксцентричной породоразрушающей лопасти.
РИСУНКИ
PC4A – Регистрация договора об уступке патента Российской Федерации на изобретение
(73) Патентообладатель(и):
Керимов Ваид Амирджанович, Башкатов Алексей Дмитриевич
(73) Патентообладатель:
Закрытое акционерное общество “Русбурмаш”
Дата и номер государственной регистрации перехода исключительного права: 17.04.2007 № РД0020952
Извещение опубликовано: 27.05.2007 БИ: 15/2007
RH4A – Выдача дубликата патента Российской Федерации на изобретение
Дата выдачи дубликата: 05.10.2010
Наименование лица, которому выдан дубликат:
Закрытое акционерное общество “Русбурмаш”
Извещение опубликовано: 20.11.2010 БИ: 32/2010
|