|
|
(21), (22) Заявка: 2003132467/12, 21.03.2002
(24) Дата начала отсчета срока действия патента:
21.03.2002
(30) Конвенционный приоритет:
10.04.2001 (пп.1-4) DE 20106199.6 31.01.2002 (пп.5-9) DE 20202550.0 21.03.2002 (пп.10-14) DE PCT/EP 02/03150
(45) Опубликовано: 20.06.2005
(56) Список документов, цитированных в отчете о поиске:
DE 3015354 A1, 29.01.1981. FR 2549518 A1, 25.01.1985. FR 1480492 A, 12.05.1967. SU 898136 A1, 15.01.1982.
(85) Дата перевода заявки PCT на национальную фазу:
10.11.2003
(86) Заявка PCT:
EP 02/03150 (21.03.2002)
(87) Публикация PCT:
WO 02/084057 (24.10.2002)
Адрес для переписки:
129010, Москва, ул. Б.Спасская, 25, стр.3, ООО “Юридическая фирма Городисский и Партнеры”, пат.пов. Г.Б. Егоровой
|
(72) Автор(ы):
ХЕРГЛОТЦ Тибор (DE), ЛЕНЦЕ Маркус (DE)
(73) Патентообладатель(и):
ДР.ХАН ГМБХ УНД КО.КГ (DE)
|
(54) КРЕПЛЕНИЕ ФУРНИТУРЫ
(57) Реферат:
Крепление фурнитуры осуществляется на профильном стержне, имеющем на стороне крепления открытый наружу профильный паз, который имеет направленные навстречу друг другу, ограничивающие отверстие профильного паза закраины. Фурнитура имеет зажимной элемент, который посредством по меньшей мере одного проходящего через отверстие профильного паза крепежного средства может быть прижат к крепежному элементу. Крепежный элемент (40) имеет по меньшей мере две части (50, 60), которые выполнены таким образом, что они могут быть введены в отверстие (8) профильного паза (4) и затем позиционированы таким образом, что части (50, 60) захватывают сзади соответственно одну из закраин (7) профильного паза (4). Технический результат – облегчение монтажа элементов фурнитуры. 3 с. и 11 з.п. ф-лы, 10 ил. 
Настоящее изобретение относится к креплению фурнитуры типа, соответствующего ограничительной части пункта 1 формулы изобретения.
Предпочтительным примером для фурнитуры являются петли для дверей, окон и тому подобного, язычки или части которых должны закрепляться на неподвижной раме или на раме створки.
Лежащее в основе ограничительной части пункта 1 крепление известно из DE 3015354 A1. Неподвижная рама и рама створки состоят из полых профилей, причем на сторонах, противолежащих друг другу при закрытой створке, предусмотрен соответственно С-образный профильный паз, открытый наружу, то есть в направлении соответственно другой рамы. Фурнитура в этом случае представляет собой шарнироподобную петлю, обе плоские части которой захватываются помещенной перед рамой цапфой петли между профилями рамы. Внутри соответствующего С-образного паза размещен пластинчатый зажимной элемент. Проходящие поперек к частям петли или соответственно зажимным элементам винты стягивают части петли и соответственно относящиеся к ним зажимные элементы друг к другу, так что направленные навстречу друг другу закраины С-образного профильного паза зажимаются между соответствующей частью петли и соответствующим зажимным элементом, и петля таким образом может быть установлена в любом месте в продольном направлении профиля.
Подобное крепление известно также из FR 2549518, в котором крепежный элемент части петли выполнен в виде угольника, который вокруг передней кромки профиля устанавливается внахлест на переднюю сторону рамы створки.
Зажимные элементы подобных креплений заполняют С-образный профильный паз почти полностью и не могут вводиться через отверстие профильного паза. Более того, требуется вводить их в зависимости от длины с конца профильного стержня. Это обстоятельство требует устанавливать зажимные элементы перед сборкой проходящих под прямым углом друг к другу профильных стержней в прямоугольную раму. На практике изготовление подобных рам для дверей, окон и т.п. и их оснащение фурнитурой является препятствующим этому фактором.
Из DE 29711790 известна петля, в которой крепежный элемент и зажимной элемент захватываются в профилированном пазу с перекрещиванием и при этом одной стороной в пазу прилегают к внутренней стороне одной закраины, а на другой стороне на пазу прилегают к внешней стороне противолежащей закраины. Хотя такое выполнение позволяет реализовать любое позиционирование крепления, однако ввиду Х-образной формы имеет недостаток, состоящий в том, что оно в известной степени является пружинящим. К тому же выполнение крепежного элемента за одно целое с частью петли является сложным, что приводит к затруднениям при изготовлении и к удорожанию.
Из D1 (FR-A-1480492) известно обеспечение возможности право- и левостороннего навешивания дверей в раме за счет разрезанного сзади профиля рамы. Крепление язычка петли производится посредством конструктивного элемента в форме ласточкина хвоста, подтягиваемого с помощью винта в отверстие паза. Этот элемент на своей обращенной к основанию паза широкой стороне заметно шире, чем отверстие паза, и поэтому должен вводиться с конца паза, как это обычно имеет место для соединений типа ласточкина хвоста. Вставка позволяет конструктивному элементу в форме ласточкина хвоста только в продольном направлении паза перемещаться с достаточным люфтом, а в остальном обеспечивает то, что после определения монтажной позиции конструктивный элемент в форме ласточкина хвоста удерживается вблизи основания паза, так что становится невозможным заметное перемещение в направлении устья паза в форме ласточкина хвоста. Это неизбежно обусловило бы поперечное смещение точки крепления и тем самым смещение оси петли наружу.
В D2 (US-A-4881296) раскрыты одноэлементные зажимные пластины, смещаемые параллельно пазу в пазу рамы, которые после введения в отверстие 10 паза поворачивают на 90°, чтобы иметь возможность захвата сзади задней поверхности среза паза. Поэтому каждый крепежный винт должен оснащаться независимой зажимной пластиной.
В основе изобретения лежит задача выполнить крепление, соответствующее родовому понятию, таким образом, чтобы облегчить монтаж элементов фурнитуры.
Эта задача решается с помощью изобретения, отраженного в пункте 1 формулы изобретения.
За счет того, что зажимной элемент не является частью фурнитуры и включает в себя по меньшей мере две части, которые выполнены таким образом, что они могут быть по отдельности введены через отверстие профильного паза и затем позиционированы таким образом, что упомянутые части захватывают сзади соответственно одну из закраин профильного паза, появилась возможность зажимной элемент легко ввести в профильный паз и вместе с тем надежно закрепить петлю посредством крепежных элементов. Кроме того, при креплении, согласно изобретению, в противоположность DE 29711790, зажимной элемент изнутри протягивается к закраинам профильного паза, а не прижимается к одной стороне снаружи. Вследствие этого обеспечивается лучшее крепление, а за счет исключения Х-образной формы крепление становится жестким, то есть оно не пружинит. Кроме того, крепление согласно изобретению может использоваться при стандартных петлях, то есть не требуется их обрабатывать или выполнять особым образом. Тем самым крепление допускает дооснащение.
Если одна часть зажимного элемента имеет по меньшей мере один выступ, который в направлении к крепежному элементу устанавливается внахлест с по меньшей мере одной предусмотренной на другой части зажимного элемента поверхностью прилегания, то может достигаться особенно хорошее соединение частей зажимного элемента, что имеет преимущество для прилегания частей с силовым замыканием. Кроме того, за счет выполнения частей с соответствующими размерами между частями может быть обеспечено зажатие, так что они перед скреплением винтами с фурнитурой не соскальзывают друг с друга или не выпадают снова из паза.
Если части зажимного элемента имеют идентичную форму, то может изготавливаться только одна «универсальная» часть и соответственно могут создаваться запасы такой одной части, что ведет к экономии расходов.
Части зажимного элемента предпочтительно имеют в плане примерно р-образную или d-образную форму, так что они внутри профильного паза могут вдвигаться друг в друга. Они могут вводиться в профильный паз по отдельности и затем за счет относительного движения друг к другу в продольном направлении профиля могут вставляться друг в друга. Однако возможны и другие формы выполнения зажимных элементов, например клиновидные формы.
По меньшей мере одна из частей зажимного элемента предпочтительно имеет приподнятую область, которая выступает из профильного паза в пространство между закраинами. Тем самым предотвращается боковое смещение зажимного элемента при монтаже, а также увеличивается длина внутренней резьбы, которая обеспечивает резьбовое соединение крепежного элемента. Последнее может также быть обеспечено тем, что зажимной элемент имеет габаритную глубину, примерно или полностью соответствующую профильному пазу.
В другом варианте осуществления изобретения часть зажимного элемента выполнена таким образом, что она в смонтированном состоянии зажимного элемента так взаимодействует с другой его частью, что эти части не имеют возможности смещения друг относительно друга поперек к продольному направлению профильного паза.
Если на каждую часть зажимного элемента предусмотрен по меньшей мере один винт, то достигается надежное крепление и предотвращается возможность соскальзывания отдельных частей зажимного элемента.
В третьем варианте осуществления изобретения зажимной элемент выполнен из множества частей таким образом, что его части имеют возможность поворота относительно друг друга при уменьшении ширины зажимного элемента до размера, позволяющего ввести зажимной элемент через отверстие профильного паза. Благодаря этому отпадает необходимость сборки отдельных частей зажимного элемента в профильном пазу, что вызывает затруднения при ручных операциях. Тем самым зажимной элемент может вводиться в профильный паз, как единое целое. После его ввода требуется только обратный поворот частей, чтобы обеспечить захват сзади закраин профильного паза.
В особенно предпочтительной форме выполнения зажимного элемента этого варианта его части выполнены поворотными вокруг оси, проходящей примерно параллельно продольному направлению профильного стержня. Для установки фурнитуры предпочтительно, чтобы зажимной элемент имел плоскую монтажную поверхность, которая в смонтированном состоянии обращена к фурнитуре.
Возможность поворота частей зажимного элемента конструктивно обеспечивается предпочтительным образом тем, что части в поперечном сечении имеют поверхности в форме круговых сегментов, которые взаимодействуют в собранном состоянии частей, а именно, предпочтительно так, чтобы они при поворотах частей друг к другу опускались друг на друга.
Другие признаки, детали и преимущества поясняются ниже со ссылками на чертежи, на которых показано следующее:
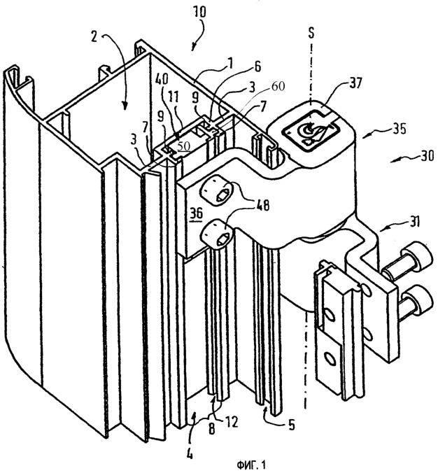
Фиг.1 – первая форма выполнения крепления согласно изобретению на примере фрагмента рамы, на котором закреплена петля, в пространственном представлении;
Фиг.2 – вид сверху фрагмента рамы по фиг.1;
Фиг.3 – пространственный вид сверху зажимного элемента крепления по фиг.1 и 2;
Фиг.4 – пространственный вид снизу зажимного элемента крепления по фиг.1 и 2;
Фиг.5 – вторая форма выполнения крепления согласно изобретению на примере фрагмента рамы, на котором закреплена петля, в пространственном представлении;
Фиг.6 – пространственный вид зажимного элемента крепления по фиг.5;
Фиг.7 – третья форма выполнения крепления согласно изобретению на примере фрагмента рамы, на котором закреплена петля, в пространственном представлении;
Фиг.8 – пространственный вид обеих частей зажимного элемента крепления по фиг.7, причем обе части зажимного элемента показаны отдельно друг от друга;
Фиг.9 – вид зажимного элемента со стороны закрепляемой фурнитуры, причем обе части зажимного элемента состыкованы, и
Фиг.10 – вид сверху зажимного элемента по фиг.9.
На фиг.1 показан фрагмент рамы 10 створки двери, окна или тому подобного элемента, который в приведенном примере выполнения состоит из выполненного профильным прессованием профильного стержня 1 из алюминиевой заготовки. Профильный стержень 1 содержит прямоугольную профильную камеру 2, на стенке 3 которой, находящейся при закрытой створке в области сгиба, с внешней стороны запрессован С-образный профильный паз 4. На внешней стороне стенки 3 имеется еще паз 5 для размещения соответственно уплотнения, которое, однако, для рассматриваемого изобретения несущественно.
С-образный профильный паз 4 имеет перпендикулярно к продольному направлению профильного стержня 1 удлиненное прямоугольное сечение. Перемычка С-образной формы и длинная сторона прямоугольного поперечного сечения образованы стенкой 3 или вдавливанием 11 стенки 3 в профильную камеру 2. Оба плеча 6 С-образной формы соответствуют коротким сторонам, которые на своих внешних концах отклонены на 90° и образуют закраины 7, которые обращены друг к другу, и если бы они касались друг друга, то образовывали бы другую длинную сторону прямоугольного поперечного сечения. Но на самом деле закраины оставляют между собой отверстие 8 постоянной ширины, проходящее по всей длине профильного стержня 1, ограниченное обращенными друг к другу торцевыми сторонами закраин. Как особенно видно из фиг.2, закраины 7 проходят параллельно стенке 3 и имеют толщину, примерно соответствующую толщине стенки 3. Примерно в середине плеч 6 С-образной формы находятся соответственно два выступающих внутрь язычка 9, которые как бы удлиняют стенку 3 перед и после вдавливания 11 и вместе с закраинами 7 образуют на стенках 6 соответственно паз 12, проходящий в продольном направлении профильного паза 4.
Рама 10 створки соединена со стационарной не показанной на чертеже рамой посредством петель 30 с возможностью поворота вокруг вертикальной в смонтированном положении шарнирной оси S. В частях 31, 35 каждой петли 30 установлен не показанный на чертеже болт во втулках болта, которые размещены в соответствующих выемках петель.
Крепление на соответствующем профильном стержне 1, образующем сторону рамы, описано для части 35 петли створки; крепление для части 31 петли рамы показанного на фиг.1 и 6 фрагмента рамы выполняется соответствующим образом.
К внешней стороне 13 закраины 7 прилегает крепежный элемент 36 части 35 петли створки с поверхностью 14 прилегания. Крепежный элемент 36 проходит от шарнирного элемента 37 части петли в область сгиба и для этого дважды повернут на 90°. После первого поворота крепежный элемент 36 проходит сначала параллельно внешней стенке профильного стержня 1 и прилегает к пазу 5 для опоры части 35 петли створки. После второго поворота крепежный элемент 36 проходит параллельно стенке 3.
Крепежный элемент 36 винтами 48 соединен с зажимным элементом 40, который размещен в профильном пазу 4 и винтами 48 после их затягивания зажимает закраины 7 между собой и между крепежным элементом 36 части 35 петли створки.
Зажимной элемент 40, как детально видно из фиг.3 и 4, состоит из двух идентичных частей 50, 60, форма которых в плане может быть описана как примерно прямоугольная р-образная или d-образная. Обе части 50, 60 симметричны и могут поэтому путем поворота на 180о входить друг в друга. Часть 50, 60 имеет максимальную ширину В, которая соответствует отверстию 8 профильного паза 4. Так каждая отдельно взятая часть может просто вводиться в паз, и затем после состыковки они почти полностью заполняют паз 4, в результате чего обеспечивается хороший зажим. При этом головка 51 р-образной части 50 прилегает к плечу 62 d-образной части 60. И наоборот, соответствующим образом плечо 52 р-образной части 50 прилегает к нижней части 61 d-образной части 60.
Части 50, 60 имеют соответственно проходящий по их продольной стороне на их левой и соответственно правой кромке выступ 53, 63, которым они в смонтированном состоянии захватывают сзади закраины 7 С-образного профильного паза 4 и соответственно входят в зацепление с пазом 12, проходящим вдоль профильного паза 4. В смонтированном состоянии зажимной элемент 40 проходит по всей ширине профильного паза 4 и поэтому может после затягивания винтов 48, которые вводятся в соответствующие резьбовые отверстия 55 и 65 отдельных частей 50, 60 зажимного элемента 40, прижимать крепежный элемент 36 к внешней стенке 13 закраин 7 и тем самым обеспечивать его установку.
Для того чтобы части 50, 60 при вдвигании их друг в друга внутри профильного паза не соскальзывали или не смещались, головка 51 р-образной части имеет выступ 57, проходящий по длине головки и входящий снизу в зацепление с кромкой 66 d-образной части 60. Соответствующий выступ 67 предусмотрен также на d-образной части 60 и входит снизу в зацепление с кромкой 56 плеча 52 р-образной части 50.
Обе части 50, 60 имеют между выступами 53 и 57, соответственно 63 и 67 приподнятую область 54 и соответственно 64, которая проходит в отверстие 8 между закраинами 7 и заполняет его почти полностью в области зажимного элемента 40. Для того чтобы зажимной элемент 40 мог надежно прижиматься к внутренней стороне 15 закраин 7 и соответственно крепежный элемент 36 мог надежно прижиматься к внешней стороне 13 закраин 7, высота приподнятых областей 54 и 64 незначительно меньше, чем толщина закраин 7.
Габаритная глубина Т частей 50, 60 зажимного элемента 40 примерно соответствует глубине паза 4, чтобы резьбовые отверстия 55 и 65 имели по возможности большую длину для приема резьбовой части винтов 48 и части 50, 60 могли быть использованы простым способом.
На фиг.5 и 6 показана другая форма выполнения крепления согласно изобретению, причем элементы, соответствующие аналогичным элементам первой формы выполнения, обозначены ссылочными позициями, увеличенными на 100.
На фиг.5 показан соответствующий показанному на фиг.1 фрагмент рамы 110 створки двери, окна и тому подобного элемента, который также состоит из выполненного профильным прессованием фасонного стержня 101 из алюминия. Фасонный стержень 101 содержит прямоугольную профильную камеру 102, на стенке 103 которой, находящейся при закрытой створке в области сгиба, с внешней стороны запрессован С-образный профильный паз 104. В противоположность примеру выполнения по фиг.1 длинная сторона «С»-формы образована стенкой 103, а оба плеча этой «С»-формы образованы перемычками 115 и направленными от них внутрь друг к другу закраинами 107. Перемычки 115 проходят параллельно внешней стенке профильного стержня 101. Закраины 107 проходят параллельно стенке 103 и имеют постоянную толщину, примерно соответствующую толщине стенки 103.
Рама 110 створки соединена со стационарной, показанной ниже рамой посредством петель 130 с возможностью поворота вокруг вертикальной в смонтированном положении шарнирной оси. В соответствующих частях 131, 135 каждой петли 130 установлен не показанный на чертеже болт во втулках болта, которые размещены в соответствующих выемках петель. Крепление на соответствующем профильном стержне 101, образующем сторону рамы, осуществлено так, как описано в первом примере выполнения для части 35 петли створки. И в этом случае крепление для части 131 петли рамы выполняется соответствующим образом.
К внешней стороне 113 закраины 107 прилегает крепежный элемент 136 части 135 петли створки с поверхностью прилегания, причем данная поверхность прилегания не является плоской, как в первом примере выполнения, а имеет вдавливание для размещения описанной ниже приподнятой области 154 зажимного элемента 140, которая проходит между закраинами 107 в область сгиба. Крепежный элемент 136 проходит от шарнирного элемента петли в область сгиба и для этого дважды повернут на 90°, причем после первого поворота крепежный элемент 136 проходит сначала параллельно внешней стенке профильного стержня 101, а затем после второго поворота проходит параллельно стенке 103. Крепежный элемент 136 не показанными на чертеже винтами соединен с зажимным элементом 140, который размещен в профильном пазу 104 и этими винтами после их затягивания зажимает закраины 107 между собой и между крепежным элементом 136 части 135 петли створки.
Зажимной элемент 140, как видно особенно из фиг.6, состоит из двух идентичных частей 150, 160, которые, в противоположность первому примеру выполнения, в плане не имеют уже р-образную или d-образную форму. Часть 160 имеет ширину, которая примерно соответствует ширине отверстия профильного паза, так что она отдельно может просто вводиться в паз 104 с передней стороны. Внешняя продольная кромка части 160 имеет продольную ступеньку 163, которая настолько входит в поперечном направлении в часть 160, чтобы одна из закраин 107 могла входить в нее в смонтированном состоянии, а именно так, чтобы образованная приподнятой областью 154 внешняя поверхность зажимного элемента 140 проходила под прямым углом к боковым стенкам профиля. При этом выступ 163 захватывает сзади закраину 107 С-образного профильного паза 104.
В противоположность этому, часть 150 имеет в поперечном сечении по существу прямоугольную Z-образную форму. При ее введении в профильный паз 104 она посредством выступа 153 захватывает сзади другую закраину 107 профильного паза 104. Другое плечо Z-образной формы образовано другим плечом 158 части 150, которое проходит между закраинами 107 и точно согласовано с расположенным между ними отверстием 108.
Каждая часть 150, 160 может отдельно вводиться в паз и затем монтироваться в вертикальном, то есть в продольном направлении в пазу 104, так что обеспечивается хороший зажим. При этом обращенные друг к другу плоские стороны частей 150, 160 прилегают друг к другу. Часть 150 охватывает плечом 158, снабженным выступом 159, нижнюю область 169 части 160, как видно особенно из фиг.6. При этом выступ 159 прилегает к образованной продольной ступенькой поверхности 168 прилегания второй части 160 или устанавливается на ней внахлест. Это дает хорошую пригонку при вдвигании двух частей друг в друга и обеспечивает точный монтаж. Вследствие этого после соединения части 150, 160 не могут смещаться относительно друг друга в поперечном направлении профильного паза 104.
В поперечном сечении зажимной элемент 140, как и в первом примере выполнения, имеет примерно t-образную форму и, вследствие возможности разложения на две части, может устанавливаться произвольно в любом месте профильного паза 104. Поперечная перемычка Т-образной формы при этом располагается внутри С-образного профильного паза и захватывает сзади его закраины 107, причем профильный паз почти полностью заполняется. После стягивания не показанных на чертеже винтов, которые вставляются в соответствующие резьбовые отверстия в отдельных частях 150, 160 зажимного элемента 140, крепежный элемент надежно прижимается к внешней стороне 113 закраин 107 и тем самым надежно устанавливается. Приподнятая область 154 во втором примере выполнения, в противоположность первому примеру выполнения, образована не обеими частями зажимного элемента, а только плечом 158 первой части 150. При этом она проходит в отверстие 108 между закраинами 107 и заполняет его в области зажимного элемента 140 почти полностью. Так как высота приподнятой области 154 больше, чем толщина закраин 107, крепежный элемент 136 петли, как упоминалось выше, имеет соответствующий паз для размещения приподнятой области, выступающей над закраинами 107. Тем самым для крепежного элемента обеспечивается фиксация от смещения поперек продольной оси профиля и от поворотов относительно оси, проходящей перпендикулярно широким сторонам зажимного элемента, благодаря чему достигается более точное позиционирование петли и можно отказаться от применения установочных винтов или дополнительных установочных штифтов.
На фиг.7-10 показана другая форма выполнения крепления согласно изобретению, причем элементы, соответствующие аналогичным элементам первой формы выполнения, обозначены ссылочными позициями, увеличенными на 200.
На фиг.7 показан соответствующий показанному на фиг.1 фрагмент рамы 210 створки, который также состоит из выполненного профильным прессованием профильного стержня 201 из алюминия. Его выполнение на стороне, служащей для крепления части петли, соответствует выполнению показанного на фиг.5 профильного стержня 101, так что, во избежание повторов, следует ссылаться на соответствующее этому описание.
Обозначенный в целом ссылочной позицией 240 зажимной элемент содержит две части 250 и 260, которые, как в примере выполнения по фиг.1-4, выполнены идентичным образом, т.е. за счет поворота на 180° вокруг оси, перпендикулярной их монтажной стороне 270, которая в смонтированном состоянии обращена к крепежному элементу петли, могут вводиться друг в друга.
Монтажная сторона 270 образуется плоскими участками 250′, 250», 260′, 260», в которых соответственно выполнено проходящее перпендикулярно монтажной стороне 270 резьбовое отверстие 271. Как видно из фиг.9, резьбовые отверстия размещены таким образом, что их центральные продольные оси перпендикулярно пересекают среднюю линию М, проходящую параллельно продольным узким сторонам.
Как видно, в частности, из фиг.8 и 10, обратные стороны образующих монтажную поверхность 270 участков 250′, 250», 260′, 260» изогнуты в поперечном сечении в форме круговых сегментов. В соответствии с этим, обращенные навстречу плоскости участков 250’», 250»», 260’», 260»» снабжены дополняющими поверхностями 272 прилегания, которые в соединенном состоянии зажимного элемента 240 прилегают к имеющим в сечении форму круговых сегментов поверхностям выступов 250′, 250», 260′, 260». На обеих продольных кромках части 250, 260 имеют соответственно по одной продольной ступеньке 253, 263, с которыми в смонтированном состоянии вступает в зацепление одна из закраин 207 профильного стержня 201.
Введение зажимного элемента 240 через отверстие 208 профильного паза 204 может осуществляться таким образом, что обе части 250, 260 при перемещении выступов 250′, 250», 260′, 260» с сечением в форме кругового сегмента к выполненным дополняющим образом противолежащим поверхностям 250’», 250»», 260’», 260»» поворачиваются навстречу друг другу, как показано стрелками на фиг.10 и пунктиром на фиг.7. За счет такого поворота ширина С уменьшается на такую величину, что зажимной элемент 240 в соединенном состоянии может быть введен в отверстие 208. После ввода производится обратный поворот обеих частей 250, 260, пока они в виде сверху не займут по отношению друг к другу показанное на фиг.10 положение, отмечаемое плоской монтажной стороной 270. При этом закраины 207 прилегают, как описано выше, к выступам 253, 263.
Формула изобретения
1. Крепление фурнитуры, особенно части (31, 35; 131, 135) петли (30) для дверей, окон и тому подобного, на профильном стержне (1, 101), который на стороне крепления имеет открытый наружу профильный паз (4, 104), который имеет направленные навстречу друг другу, ограничивающие отверстие (8, 108) профильного паза (4, 104) закраины (7, 107), причем фурнитура (31, 35; 131, 135) имеет крепежный элемент (32, 36, 136), прилегающий к профильному стержню (1, 101), и ей придан зажимной элемент (40, 140), который посредством по меньшей мере одного проходящего через отверстие (8, 108) профильного паза (4, 104) крепежного средства может быть так прижат к крепежному элементу (32, 36; 132, 136), что закраины (7, 107) профильного паза (4, 104) зажимаются между крепежным элементом (32, 36; 132, 136) и зажимным элементом (40, 140), при этом крепежный элемент (40, 140) имеет по меньшей мере две части (50, 60; 150, 160), которые выполнены таким образом, что они могут быть проведены через отверстие (8, 108) профильного паза (4, 104) и затем позиционированы таким образом, что части (50, 60; 150, 160) захватывают сзади соответственно одну из закраин (7, 107) профильного паза (4, 104), причем части (50, 60, 150, 160) зажимного элемента в соединенном состоянии зажимного элемента попеременно зацепляются друг с другом сторонами, а каждая из частей (50, 60; 150, 160) прижимается посредством по меньшей мере одного крепежного средства к крепежному элементу.
2. Крепление по п.1, отличающееся тем, что часть (50) зажимного элемента (40) имеет по меньшей мере один выступ (56), который в направлении к крепежному элементу (32, 36) устанавливается внахлест по меньшей мере с одной поверхностью (67) прилегания, предусмотренной на другой части (60) зажимного элемента (40).
3. Крепление по п.1 или 2, отличающееся тем, что части (50, 60) имеют идентичную форму.
4. Крепление по п.3, отличающееся тем, что части (50, 60) зажимного элемента (40) имеют в плане примерно р-образную или d-образную форму.
5. Крепление по одному из предшествующих пунктов, отличающееся тем, что для каждой части (50, 60; 150, 160) зажимного элемента (40, 140) предусмотрен по меньшей мере один винт (48).
6. Крепление фурнитуры, особенно части (31, 35; 131, 135) петли (30) для дверей, окон и тому подобного, на профильном стержне (1, 101), который на стороне крепления имеет открытый наружу профильный паз (4, 104), который имеет направленные навстречу друг другу, ограничивающие отверстие (8, 108) профильного паза (4, 104) закраины (7, 107), причем фурнитура (31, 35; 131, 135) имеет крепежный элемент (32, 36, 136), прилегающий к профильному стержню (1, 101), и ей придан зажимной элемент (40, 140), который посредством по меньшей мере одного проходящего через отверстие (8, 108) профильного паза (4, 104) крепежного средства может быть так прижат к крепежному элементу (32, 36; 132, 136), что закраины (7, 107) профильного паза (4, 104) зажимаются между крепежным элементом (32, 36; 132, 136) и зажимным элементом (40, 140), при этом крепежный элемент (40, 140) имеет по меньшей мере две части (50, 60; 150, 160), которые выполнены таким образом, что они могут быть проведены в отверстие (8, 108) профильного паза (4, 104) и затем позиционированы таким образом, что указанные части (50, 60; 150, 160) захватывают сзади соответственно одну из закраин (7, 107) профильного паза (4, 104), причем части (50, 60, 150, 160) зажимного элемента в соединенном состоянии зажимного элемента попеременно зацепляются друг с другом сторонами, а одна часть (150) зажимного элемента (140) имеет плечо (158) с выступом (159), который в направлении от крепежного элемента (132, 136) перехлестывает по меньшей мере одну предусмотренную на другой части (160) область (169) или, соответственно, поверхность (169) прилегания.
7. Крепление по одному из предшествующих пунктов, отличающееся тем, что по меньшей мере одна часть (50, 60; 150, 160) зажимного элемента (40, 140) имеет выступающую область (54, 64, 154), которая выступает из профильного паза (4, 104) в пространство между закраинами (7, 7′; 107, 107′).
8. Крепление по одному из предшествующих пунктов, отличающееся тем, что части (150, 160) зажимного элемента (140) выполнены таким образом, что они в соединенном состоянии зажимного элемента (140) не способны смещаться относительно друг друга поперек продольного направления паза (104).
9. Крепление по одному из предшествующих пунктов, отличающееся тем, что зажимной элемент (40, 140) имеет габаритную глубину, примерно или полностью соответствующую пазу (4, 104).
10. Крепление фурнитуры, особенно части петли для дверей, окон и тому подобного, на профильном стержне, который на стороне крепления имеет открытый наружу профильный паз, который имеет направленные навстречу друг другу, ограничивающие отверстие профильного паза закраины, причем фурнитура имеет крепежный элемент, прилегающий к профильному стержню, и ей придан зажимной элемент, который посредством по меньшей мере одного проходящего через отверстие профильного паза крепежного средства способен таким образом прижиматься к крепежному элементу, что закраины профильного паза зажимаются между крепежным элементом и зажимным элементом, отличающееся тем, что крепежный элемент (240) имеет по меньшей мере две части (250, 260), в соединенном состоянии входящие в зацепление друг с другом, которые выполнены таким образом, что они имеют возможность поворота относительно друг друга с уменьшением ширины С зажимного элемента (240) до величины, которая обеспечивает возможность введения зажимного элемента через отверстие (208) профильного паза (204).
11. Крепление по п.10, отличающееся тем, что части (250, 260) выполнены поворотными относительно оси, проходящей примерно параллельно продольной оси профильного стержня.
12. Крепление по п.10 или 11, отличающееся тем, что зажимной элемент имеет плоскую монтажную сторону (270), которая в смонтированном состоянии обращена к фурнитуре (235).
13. Крепление по любому из пп.10-12, отличающееся тем, что части (250, 260) зажимного элемента (240) имеют в поперечном сечении поверхности в форме кругового сегмента, взаимодействующие в соединенном состоянии частей (250, 260).
14. Крепление по п.13, отличающееся тем, что поверхности в форме кругового сегмента в поперечном сечении расположены таким образом, что они при повороте частей (250, 260) друг к другу перемещаются друг на друга.
Приоритет по пунктам:
10.04.2001 по пп. 1-4;
31.01.2002 по пп. 5-9;
21.03.2002 по пп. 10-14.
РИСУНКИ
|
|