|
|
(21), (22) Заявка: 2003122028/15, 17.07.2003
(24) Дата начала отсчета срока действия патента:
17.07.2003
(43) Дата публикации заявки: 10.01.2005
(45) Опубликовано: 20.06.2005
(56) Список документов, цитированных в отчете о поиске:
SU 1381074 A1, 15.03.1986. SU 104460 A1, 30.09.1983. DE 421447 А, 16.12.1993. GB 2106940 А, 13.04.1983. ЯКОВЛЕВ С.В., ВОРОНОВ Ю.В. Водоотведение и очистка соочных вод. М.: Ассоциация строительных ВУЗов, 2002, с.642-643, рис. 23.11.
Адрес для переписки:
150003, г.Ярославль, а/я 1373, ООО НПФ “Экосервис”
|
(72) Автор(ы):
Луговкин А.Н. (RU), Кузнецов А.Д. (RU)
(73) Патентообладатель(и):
ООО Научно-производственная фирма “Экосервис” (RU)
|
(54) УСТАНОВКА ДЛЯ ФЛОТАЦИОННО-ФИЛЬТРАЦИОННОЙ ОЧИСТКИ ВОДЫ
(57) Реферат:
Изобретение относится к технике очистки сточных вод и может быть использовано для очистки воды от нефтепродуктов, жиров, взвешенных веществ, поверхностно-активных веществ, гидроксидов металлов, органических загрязнений и т.д., а также водоподготовки для различных нужд. Установка для флотационно-фильтрационной очистки воды содержит в верхней части технологический блок, включающий флотационную камеру и фильтр, в нижней части – емкость для накопления очищенной воды, соединенную посредством входного трубопровода с технологическим блоком. Отдельно установлены насосный агрегат, эжектор с патрубком подвода атмосферного воздуха, сатуратор и система трубопроводов. Флотационная и фильтрационная камеры расположены в горизонтальной плоскости, в виде отдельных емкостей, образованных путем последовательного размещения по оси симметрии единого корпуса в направлении от стенки последнего к центру разделительной перегородки, выполненной в виде кольца с вырезанным по всей высоте кольца элементом; ограничительного цилиндра, образующего совместно с секционными стенками полость зон флотации и полость для сбора пенного продукта, изготовленного с возможностью обеспечения перетока сфлотированной воды из второй зоны флотационной камеры в переходную технологическую зону за счет наличия отверстий в нижней части ограничительного цилиндра, разделительно-переливной перегородки, отделяющей флотационную камеру от фильтрационной камеры и выполненной в виде цилиндрической трубы с полуотверстиями на верхнем торце, и имеющей внутри вертикально установленную пластину, разделяющую полость трубы на малую и большую зоны. Технический результат: повышение степени очистки сточных вод, расширение функциональных возможностей оборудования, экономия производственных площадей при его эксплуатации. 2 ил. 
Изобретение относится к технике очистки сточных вод и может быть использовано для очистки воды от нефтепродуктов, жиров, взвешенных веществ, поверхностно-активных веществ, гидроксидов металлов, органических загрязнений и т.д., а также водоподготовки для различных нужд.
Известно устройство для очистки сточных вод (А.С. СССР №887468, М.кл. C 02 F 1/24, опубл. 07.12.81 г.), включающее корпус с камерой флотации и фильтр, узлы подвода водовоздушной смеси и отвода очищенной воды, сбора и удаления пены, и снабженное конической перегородкой с патрубками, при этом нижняя часть камеры флотации размещена в полости конической перегородки.
Устройство позволяет осуществлять раздельный вывод пены и взвешенных частиц, однако наличие над фильтром столба очищаемой жидкости, увеличивающегося от оси устройства к периферии, отрицательно сказывается на работе фильтра, поскольку грязеемкость последнего в таких условиях существенно отличается по площади и глубине фильтрующей загрузки.
Известно устройство для очистки жидкости (А.С. СССР №1446113, М.кл. C 02 F 1/24, 1/00, опубл. 23.12.88 г.), содержащее корпус, размещенную по его оси цилиндрическую флотационную камеру, стенки которой по высоте выполнены перфорированными, фильтр, сборник осветленной жидкости и полочные блоки, которые выполнены в виде секций, установленных одна над другой вокруг флотационной камеры и разделенных сплошной перегородкой, а фильтр расположен концентрично снаружи полочных блоков. Данное устройство претендует на обеспечение «практически любой степени очистки жидкости…» за счет многоступенчатой физико-химической очистки жидкости от взвешенных веществ, коллоидных и растворенных загрязнений, однако в устройстве при наличии зоны флотации не предусмотрена зона сепарации пены, т.е. время процесса флотации ограничено, явно недостаточно, что существенно снижает степень очистки жидкости. При этом вход очищаемой воды в полочный блок непосредственно из зоны флотации приводит к проскакиванию крупных пузырьков воздуха в отстойную зону, что нарушает нормальный режим работы устройства. Более того, в устройстве ограничена возможность осуществления качественной обратной промывки фильтра, поскольку при этом неизбежен выброс последней из кольцевого пространства фильтра и попадание материала загрузки в зону тонкослойного отстаивания, что недопустимо.
Цель изобретения – повышение степени очистки сточных вод, расширение функциональных возможностей оборудования, экономия производственных площадей при его эксплуатации.
Поставленная цель достигается тем, что в установке для флотационно-фильтрационной очистки воды, содержащей в верхней части технологический блок, включающий флотационную камеру и фильтр, размещенные в едином корпусе установке, в нижней части расположена емкость для накопления очищенной воды, а также отдельно установленные насосный агрегат, эжектор с патрубком подвода атмосферного воздуха, сатуратор и систему трубопроводов, согласно изобретению флотационная и фильтрационная камеры технологического блока расположены в горизонтальной плоскости, представляют собой отдельные емкости, конструктивно образованные путем последовательного размещения по оси симметрии единого корпуса в направлении от стенки последнего к центру нескольких конструктивных элементов: разделительной перегородки, выполненной в виде кольца с вырезанным по всей высоте кольца элементом (сегментом), обеспечивающей образование зонной конструкции флотационной камеры; ограничительного цилиндра, образующего совместно с секционными стенками, установленными между наружной поверхностью последнего и поверхностью корпуса, полость зон флотации и полость для сбора пенного продукта, изготовленного с возможностью обеспечения перетока сфлотированной воды из второй зоны флотационной камеры в переходную технологическую зону за счет наличия отверстий в нижней части ограничительного цилиндра; разделительно-переливной перегородки, отделяющей флотационную камеру от фильтрационной камеры и выполненной в виде цилиндрической трубы с полуотверстиями на верхнем торце, и имеющей внутри вертикально установленную пластину, высота которой меньше высоты цилиндрической трубы, разделяющую полость трубы на малую и большую зоны; емкость для накопления очищенной воды размещена в едином корпусе установки и посредством входного трубопровода соединена с технологическим блоком.
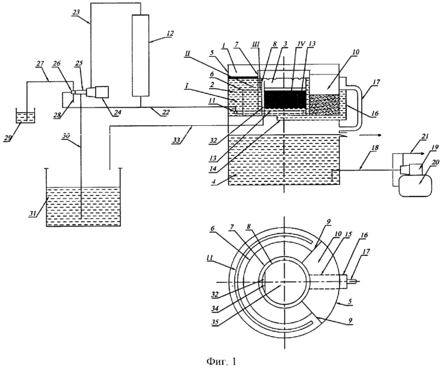
Схема установки представлена на фиг.1, 2.
Технологический блок 1 установки размещен в горизонтальной плоскости и содержит камеру для флотации 2 и фильтрационную камеру 3, ниже блока 1 размещена емкость 4 для накопления очищенной воды; при этом технологический блок 1 и емкость 4 расположены в едином корпусе 5.
В технологическом блоке 1 по оси симметрии в направлении к центру последовательно размещены: разделительная перегородка 6, ограничительный цилиндр 7 и разделительно-переливная перегородка 8, две секционные стенки 9, установленные вертикально, которые ограничивают разделительную перегородку 6 по ее торцевым срезам и соединяют ограничительный цилиндр 7 с корпусом 5 установки. Разделительная перегородка 6 выполнена в виде кольца с вырезанным по всей высоте кольца сегментом, ограничительный цилиндр 7 имеет в нижней части отверстия 36, а разделительно-переливная перегородка 8 представлена в виде цилиндрической трубы, с установленной внутри вертикальной пластиной 34 (высота которой меньше высоты центральной трубы), разделяющей полость последней на малую 32 и большую 35 зоны. Малая зона 32 цилиндрической трубы формирует полость кармана, предназначенного для аварийного перелива избытка объема очищаемой воды, перетекающего по трубопроводу 33 в отстойник 31.
На площади верхнего горца разделительно-переливной перегородки 8 выполнены полуотверстия 37, предназначенные для перетекания сфлотированной воды в зону фильтрации IV.
Основное назначение разделительно-переливной перегородки 8 – образование зоны фильтрации воды путем размещения в ее полости фильтрующей загрузки 13 и формирование полости кармана аварийного слива воды 32.
Последовательно размещенные разделительная перегородка 6, ограничительный цилиндр 7 и разделительно-переливная перегородка 8, а также две секционные стенки 9 конструктивно формируют отдельные полости, в которых соответственно расположены в направлении к центру устройства: первая зона I флотации, вторая зона II флотации, переходная технологическая зона III и зона фильтрования IV в центре блока; при этом две секционные стенки 9 в совокупности с корпусом 5 блока 1 и наружной поверхностью ограничительного цилиндра 7 формируют полость 10 для сбора и отстаивания пенного продукта.
В нижней части I зоны флотации размещен распределительный коллектор 11, предназначенный для подвода водовоздушной смеси из сатуратора 12.
Ниже фильтрующей загрузки 13 образована небольшая полость 14 для сбора отфильтрованной воды. Выходное отверстие полости 14 сообщается посредством выходного канала 15 фильтрационной камеры с переливным карманом 16, который своим выходным патрубком через трубопровод 17 соединен с емкостью 4 для сбора очищенной воды. Всасывающий трубопровод 18, соединенный с насосным агрегатом 19 вместе с гидроаккумулятором 20 предназначены для перекачивания очищенной воды из емкости 4 через напорный трубопровод 21 потребителю.
Сатуратор 12 установки соединен с распределительным коллектором 11 технологического блока 1 посредством трубопровода 22, который заканчивается соплом, установленным на входе в распределительный коллектор 11.
Верхняя часть сатуратора 12 связана напорным трубопроводом 23 с насосным агрегатом 24, на байпасной линии которого установлен эжектор 25, смонтированный с помощью переходника непосредственно на входе насосного агрегата 24. Эжектор имеет камеру вакуумирования 26 с соплом и патрубки подвода химреагента 27 и атмосферного воздуха 28, который подается из емкости 29.
Очищаемая вода поступает в насосный агрегат по трубопроводу 30 из отстойника 31.
Установка работает следующим образом:
Очищаемая вода из отстойника 31 подается посредством насосного агрегата 24 и эжектора 25 всасывающим трубопроводом 30 совместно с атмосферным воздухом (патрубок 28) и химическим реагентом (патрубок 27) по напорному трубопроводу 23 в сатуратор 12.
После обработки химреагентом и перенасыщения воздухом в сатураторе 12, вода подается по трубопроводу 22 в распределительный коллектор 11 первой зоны флотации (I) технологического блока 1. Подаваемая вода истекает из отверстий, равномерно расположенных на нижней поверхности коллектора 11, при этом струи воды ударяются в дно камеры флотации с выделением растворенного и воде воздуха в условиях пониженного давления. Мелкодисперсные пузырьки воздуха захватывают частицы загрязнений и выносят их на поверхность очищаемой воды, где образуется слой пенного продукта; при этом захват частиц загрязнений воздушными пузырьками осуществляется не только в толще воды над коллектором 11, но и при движении воды вдоль стенок корпуса 5 и распределительной перегородки 6, что увеличивает степень первичной очистки воды.
Образующийся на поверхности очищаемой воды пенный продукт сразу удаляется вращающимся скребковым механизмом в шламосборник 10. Первично очищенная в зоне I вода переливается через верхний срез разделительной перегородки 6, изменяя направление своего движения на 180°, во вторую зону флотации II, образованную разделительной перегородкой 6 и ограничительным цилиндром 7.
Далее очищаемая вода снова изменяет направление движения на 180°, проникая через переливные отверстия 36 в нижней части ограничительного цилиндра 7 и, попадая в переходную технологическую зону III, поднимается вверх в узком кольцевом пространстве этой зоны. Перетекая через полуотверстия 37 верхнего торца разделительно-переливной перегородки 8, вода вновь меняет свое направление движения на 180° и поступает в полость, заполненную фильтрующей загрузкой 13, где происходит фильтрование воды, предварительно прошедшей эффективную флотационную очистку. Отфильтрованная вода собирается в полости 14, расположенной ниже фильтрующей загрузки 13 и через выходное отверстие фильтра и выходной канал 15 поступает в переливной карман 16, откуда посредством выходного патрубка 17 перетекает в емкость 4 для сбора очищенной воды. Перекачивание очищенной воды потребителю осуществляется с помощью всасывающего трубопровода 18 насосным агрегатом 19 вместе с гидроаккумулятором 20 через напорный трубопровод 21.
Создание в зонах флотации сложного движения очищаемой воды, поступающей из распределительного коллектора, за счет размещения во флотационной камере новых конструктивных элементов, позволяющих осуществлять переток воды с изменением направления ее движения на 180 и 360 градусов, обеспечивает существенное увеличение времени для гарантированного завершения химических реакций в очищаемой среде и повышенное объемное содержание сфлотированных загрязнений в пенном продукте при завершении процесса флотации. Увеличению степени флотационной очистки, как показали наши эксперименты, способствует и возможность создания при флотации условий, когда над распределительным коллектором высота столба воды не превышает 450 мм, поскольку в этом случае очистка происходит в сравнительно небольших постоянных объемах воды. В этих условиях сравнительно небольшой объем очищаемой воды, заполняющий первую зону флотации I, практически на всю высоту столба пронизывается мелкими пузырьками выделяемого воздуха, с последующим ускоренным образованием пенного продукта на поверхности воды. Благоприятные условия для флотации создаются и за счет образования увеличенной суммарной площади зон флотации, конструктивно обеспеченной наличием разделительной перегородки и ограничительного цилиндра. При этом технологический процесс флотационной очистки осуществляется независимо от условий последующего фильтрования воды за счет новой конструкции разделительно-переливной перегородки, отделяющей флотационную камеру от фильтрационной камеры, что позволяет потребителю в ряде случаев не проводить дополнительную очистку фильтрованием, используя только сфлотированную воду, что экономически выгодно.
Образование увеличенной площади поверхности фильтра, размещенного в полости разделительно-переливной перегородки 8 и выполненной с применением новых конструкционных решений, в совокупности позволили получить неожиданно повышенную степень очистки на фильтре по взвешенным веществам, нефтепродуктам и т.д. по сравнению с известными техническими решениями. Указанный выше эффект можно объяснить тем, что в данных условиях очистки и при поступлении воды движением сверху вниз практически исключена возможность проникновения крупных воздушных пузырьков, частично остающихся в воде после флотации, через слой зернистой загрузки вместе с очищаемой водой.
Поскольку переливное: карман 32 установлен выше фильтрующей загрузки 13, то образуется относительно спокойная полузастойная зона воды над верхним слоем зернистой загрузки фильтра, в которой и происходит всплытие оставшихся крупных воздушных пузырьков.
Кроме того, повышенная степень очистки воды связана и с проведением фильтрационной обработки в небольшом установившемся слое воды.
Таким образом, на конечной стадии очистки воды – фильтровании через слой зернистой загрузки, удалось существенно повысить функциональные возможности засыпного фильтра, когда последний верхним своим слоем эффективно выполняет функции тонкослойного фильтра-десорбера воздушных пузырьков и связанных с ним частиц загрязнений, а нижеследующие слои засыпки выполняют роль зернистого фильтра, осуществляя эффективную тонкую доочистку воды от взвешенных веществ, нефтепродуктов и т.д.
Анализ отличительных признаков по критерию «существенные отличия» показал нижеследующее:
1. Разработка технологического блока установки, включающего флотационную и фильтрационную камеры, как конструктивно отдельные емкости, расположенные в горизонтальной плоскости, в сочетании с размещением под технологическим блоком емкости для накопления очищенной воды в едином с этим блоком корпусе, обеспечивает технологически оптимальный вариант компоновки, позволяющий, как показали проведенные исследования, полнее использовать перспективные, но малоизученные технические возможности технологических процессов флотации и фильтрации, совмещенных в одном горизонтально расположенном устройстве. При этом в совокупности с существенными отличительными признаками конструктивных элементов, создающих новую конструкцию флотационно-фильтрационного блока, обеспечиваются условия проведения очистки с получением повышенных качественных показателей по сравнению с возможностями прототипа.
Преимущества размещения флотационной и фильтрационной камер в горизонтальной плоскости, конструктивно отделенных друг от друга, выявленные экспериментально на макетных образцах, заключаются в нижеследующем: возможность разработки флотационно-фильтрационного блока, отличающегося большим значением соотношения диаметра рабочих полостей к его рабочей высоте, и, следовательно, увеличенной площадью поверхности флотационной и фильтрационной камер; осуществление очистки на всех стадиях технологического процесса при наличии невысокого столба воды; обеспечение технологической независимости рабочего процесса, осуществляемого во флотационной камере устройства от функциональных возможностей фильтрационной камеры в случае аварийного состояния загрузки фильтра.
Признак, когда флотационная и фильтрационная камеры технологического блока размещены в горизонтальной плоскости и конструктивно сформированы как функционально независимые объекты, из патентной и технической литературы неизвестен, что позволяет считать его новым и существенным.
Размещение под технологическим блоком емкости для накопления очищенной воды, соединенной с последним посредством входного трубопровода, обеспечивает логичное завершение технологического цикла очистки воды путем прямого перетока из верхней части в нижнюю в едином корпусе без использования дополнительных площадей. Предложенное нами техническое решение, несмотря на известность в технике, отличается от решения, предложенного в установке прототипа, а с учетом простоты технического воплощения, и компактностью представляется существенным отличием.
2. Создание флотационно-фильтрационного технологического блока путем последовательного размещения по оси симметрии единого корпуса (в направлении от стенки корпуса к центру) нескольких конструктивных элементов, а именно: разделительной перегородки, ограничительного цилиндра и разделительно-переливной перегородки, а также двух секционных стенок, позволило сформировать в одном устройстве несколько технологических зон флотационной и фильтрационной очистки, и зону сбора пенного продукта. При этом наличие разделительной перегородки и ограничительного цилиндра обеспечило образование увеличенной суммарной площади двух зон флотации, а установка разделительно-переливной перегородки, образовавшей двухзонную полость для фильтрационной очистки и аварийного перелива, позволила получить увеличенную суммарную площадь зон фильтрации воды, а две секционные стенки, установленные вертикально, ограничивающие разделительную перегородку по ее торцевым срезам и соединяющие ограничительный цилиндр с корпусом технологического блока, образовали (совместно с наружной поверхностью ограничительного цилиндра и внутренней поверхностью корпуса блока) полость для сбора и отстаивания пенного продукта. Данный признак из патентной и технической литературы не известен, что позволяет считать его новым и существенным.
3. Конструкция разделительной перегородки, представленная в виде кольца с вырезанным по всей высоте кольца элементом (сегментом), в совокупности с размещенными аксиально перегородке ограничительным цилиндром и двумя секционными стенками, установленными вертикально и соединяющими между собой внутреннюю поверхность корпуса блока и наружную поверхность ограничительного цилиндра, обеспечивает образование увеличенной площади флотации в полости флотационной камеры путем последовательного расположения двух зон флотации со всеми вытекающими из этого важного обстоятельства позитивными последствиями, в первую очередь – повышение качества флотационной очистки воды. Это является главной задачей, которую выполняет разделительная перегородка, для достижения целей изобретения в совокупности с другими конструктивными элементами, образующими зонную конструкцию флотационной камеры. При этом перегородка выполняет нижеследующие функции: формирование поднимающегося потока очищаемой воды в первой зоне (над коллектором), изменение направления движения частично сфлотированного в данной зоне потока при переливе последнего через верхний срез перегородки во вторую зону флотации для практического завершения в ней флотационной очистки воды. Высота разделительной перегородки обеспечивает условие поддержания требуемого невысокого столба очищаемой воды в первой зоне флотации, не превышающего 450 мм. В этих условиях сравнительно небольшой объем очищаемой воды, заполняющий первую зону флотации, практически на всю высоту столба пронизывается мелкими пузырьками выделяемого воздуха с последующим ускоренным образованием пенного продукта на поверхности воды. В технике очистки воды известно применение разделительной перегородки во флотационных камерах для улучшения качества флотации воды, однако предложенная в заявляемой установке многофункциональная конструкция, связанная в совокупном технологическом процессе с другими конструктивными элементами устройства, представляют собой существенный отличительный признак, способствующий достижению целей изобретения.
4. Ограничительный цилиндр образует своей наружной поверхностью совместно с двумя секционными стенками (установленными вертикально и ограничивающими полость флотационной камеры со стороны торцов разделительной перегородки) и внутренней поверхностью корпуса блока две отдельные технологические полости: для флотации (двухзонная полость) и сбора пенного продукта (однозонная полость). Кроме того, конструктивно подготавливает условия для формирования фильтрационной полости устройства. При этом ограничительный цилиндр отсекает флотационную полость устройства от будущей фильтрационной полости, но выполняет и главное свое назначение – обеспечивает переток сфлотированной воды из флотационной полости (через переходную технологическую зону III) и далее в полость фильтрационную за счет наличия в своей нижней части отверстий. Данный признак из патентной и технической литературы нам неизвестен, и тем более, учитывая его конструктивную многофункциональность, объединяющую другие конструктивные элементы устройства (обладающие новыми существенными отличительными признаками) для достижения целей изобретения, представляется обоснованным считать его новым и существенным.
5. Наличие разделительно-переливной перегородки, изготовленной в виде цилиндрической трубы, установленной по оси симметрии в центре флотационно-фильтрационного блока, конструктивно формирует переходную технологическую зону III и отдельную камеру для фильтрования. При этом отличительными признаками конструкции фильтрационной камеры являются: наличие внутри цилиндрической трубы вертикально установленной пластины (высота которой меньше высоты разделительно-переливной перегородки), разделяющей фильтрационную камеру на малую и большую зоны; на площади верхнего торца цилиндрической трубы выполнены полуотверстия, перпендикулярные ее оси. Наличие зон в полости фильтрационной камеры позволяет сформировать большую емкость, заполненную фильтрующим материалом и полость кармана аварийного перелива (малая емкость), предназначенную для приема избытка воды при аварийной ситуации. Изготовление полуотверстий на верхнем торце цилиндрической трубы обеспечивает процесс перелива сфлотированной воды на загрузку фильтра (при ее движении сверху вниз) путем перетекания ламинарных струй через полуотверстия на внутреннюю поверхность фильтрационной камеры (т.е. по периметру поверхности за исключением небольшого сектора поверхности, примыкающего к карману аварийного перелива) в виде пристеночного слоя воды. При этом полуотверстия обеспечивают равномерное поступпение воды, что позволяет создать успокоенный слой последней на поверхности фильтра. Создаются благоприятные условия фильтров, для спокойного слоя при равномерном расположении загрязнений на увеличенной поверхности зернистой загрузки (верхняя часть последней), осуществляется эффективное накопление и всплытие пузырьков в верхней части загрузки, и связанных с ними частиц загрязнений, существенное снижение степени загрязнения по глубине фильтра. При этом верхняя часть загрузки фильтра работает как тонкослойный фильтр, а нижележащие слои выполняют функции зернистого фильтра, осуществляя чистовую обработку воды. Таким образом, указанное выше конструктивное выполнение полуотверстий способствует эффективному функционированию фильтра, увеличению периода его грязестойкости до промывки и достижению целей изобретения. Представленный выше важный комплексный признак, связанный с конструктивным использованием разделительно-переливной перегородки, позволяющий в совокупности использовать существенные отличительные признаки составных элементов перегородки для достижения целей изобретения, является новым в технике очистки воды и представляется существенным отличительным признаком.
Таким образом, в заявляемой установке создан многофункциональный технологический блок, включающий в себя флотационную и фильтрационную камеры, отличающиеся способностью обеспечить качественное осуществление всех технологических операций очистки воды и удаления пенного продукта, а также передать необходимый объем воды непосредственно в нижнюю часть установки. При этом за счет оптимальных конструктивных решений, обладающих существенными отличительными признаками, использованных в совокупности, удалось обеспечить повышенную степень очистки воды по нефтепродуктам, взвешенным веществам и т.п., т.е. достичь цели изобретения.
Дополнительными преимуществами заявляемого объекта являются его способность эффективно очищать воду практически от любых видов загрязнений с использованием различных химических реагентов (коагулянтов, флокулянтов), простота конструкции и технического обслуживания.
Формула изобретения
Установка для флотационно-фильтрационной очистки воды, содержащая в верхней части технологический блок, включающий флотационную камеру и фильтр, размещенные в едином корпусе установки, в нижней части расположена емкость для накопления очищенной воды и отдельно установленные насосный агрегат, эжектор с патрубком подвода атмосферного воздуха, сатуратор и систему трубопроводов, отличающаяся тем, что флотационная и фильтрационная камеры технологического блока расположены в горизонтальной плоскости, представляют собой отдельные емкости, конструктивно образованные путем последовательного размещения по оси симметрии единого корпуса в направлении от стенки последнего к центру нескольких конструктивных элементов: разделительной перегородки, выполненной в виде кольца с вырезанным по всей высоте кольца элементом, обеспечивающей образование зонной конструкции флотационной камеры; ограничительного цилиндра, образующего совместно с секционными стенками, установленными между наружной поверхностью последнего и поверхностью корпуса, полость зон флотации и полость для сбора пенного продукта, изготовленного с возможностью обеспечения перетока сфлотированной воды из второй зоны флотационной камеры в переходную технологическую зону за счет наличия отверстий в нижней части ограничительного цилиндра; разделительно-переливной перегородки, отделяющей флотационную камеру от фильтрационной камеры и выполненной в виде цилиндрической трубы с полуотверстиями на верхнем торце, и имеющей внутри вертикально установленную пластину, высота которой меньше высоты цилиндрической трубы, разделяющую полость трубы на малую и большую зоны; емкость для накопления очищенной воды размещена в едином корпусе установки и посредством входного трубопровода соединена с технологическим блоком.
РИСУНКИ
MM4A – Досрочное прекращение действия патента СССР или патента Российской Федерации на изобретение из-за неуплаты в установленный срок пошлины за поддержание патента в силе
Дата прекращения действия патента: 18.07.2008
Извещение опубликовано: 27.05.2010 БИ: 15/2010
NF4A Восстановление действия патента СССР или патента Российской Федерации на изобретение
Дата, с которой действие патента восстановлено: 10.06.2010
Извещение опубликовано: 10.06.2010 БИ: 16/2010
|
|