Патент на изобретение №2254279

Published by on




РОССИЙСКАЯ ФЕДЕРАЦИЯ



ФЕДЕРАЛЬНАЯ СЛУЖБА
ПО ИНТЕЛЛЕКТУАЛЬНОЙ СОБСТВЕННОСТИ,
ПАТЕНТАМ И ТОВАРНЫМ ЗНАКАМ
(19) RU (11) 2254279 (13) C2
(51) МПК 7
B65G17/12
(12) ОПИСАНИЕ ИЗОБРЕТЕНИЯ К ПАТЕНТУ

Статус: по данным на 16.11.2012 – действуетПошлина: не взимаются – статья 1366 ГК РФ

На основании пункта 3 статьи 13 Патентного закона Российской Федерации от 23 сентября 1992 г. № 3517-I патентообладатель обязуется передать исключительное право на изобретение (уступить патент) на условиях, соответствующих установившейся практике, лицу, первому изъявившему такое желание и уведомившему об этом патентообладателя и федеральный орган исполнительной власти по интеллектуальной собственности, – гражданину РФ или российскому юридическому лицу.

(21), (22) Заявка: 2003119932/11, 01.07.2003

(24) Дата начала отсчета срока действия патента:

01.07.2003

(43) Дата публикации заявки: 27.01.2005

(45) Опубликовано: 20.06.2005

(56) Список документов, цитированных в отчете о
поиске:
SU 123455 А, 27.01.1959. SU 557012.05.05.1977. SU 1172842A.15.08.1985.

Адрес для переписки:

656000, г.Барнаул, пр-т Красноармейский, 96А, кв.11, В.И. Лобанову

(72) Автор(ы):

Лобанов В.И. (RU),
Карманов С.В. (RU)

(73) Патентообладатель(и):

Лобанов Владимир Иванович (RU)

(54) КОВШОВЫЙ ЭЛЕВАТОР


(57) Реферат:

Изобретение относится к транспортирующим машинам, в частности к ковшовым элеваторам. Элеватор содержит корпус с башмаком и головкой, в которой установлен выгрузной патрубок. Элеватор содержит также ведомый и ведущий барабаны, тяговый орган с закрепленными на нем ковшами. Выгрузной патрубок содержит заслонку, образующую между нею и стенкой выгрузного патрубка камеру для выдачи сыпучего материала. Согласно изобретению заслонка подпружинена и выполнена в виде двуплечего рычага, плечи которого расположены под углом друг к другу, причем одно из плеч выполнено в виде пластины, а второе – в виде стержня, выступающего за начало выгрузного патрубка. Изобретение обеспечивает повышение надежности при эксплуатации элеватора. 1 з.п. ф-лы, 2 ил.



Изобретение относится к транспортирующим машинам, в частности к конструкциям ковшовых элеваторов для подъема зернового материала, например, в зерноочистительных, зерносушильных агрегатах и комплексах.

Известны устройства для выгрузки сыпучих материалов, содержащие выгрузной патрубок, в котором установлена подпружиненная заслонка (SU 557012 А, 05.05.1977, В 65 G 33/00-2 с., и SU 1172842 А, 15.08.1985, В 65 G 33/00). Недостатком данного устройства является то, что подпружиненная заслонка слабо воздействует в целях побуждения на истечение материала из выгрузного патрубка.

Наиболее близким по технической сущности является ковшовый элеватор, включающий корпус, состоящий из кожуха с башмаком и головкой, в последней из которых установлен выгрузной патрубок, ведомый и ведущий барабаны, тяговый орган с закрепленными на нем ковшами, при этом выгрузной патрубок содержит заслонку, образующую между нею и стенкой выгрузного патрубка камеру для выдачи сыпучего материала (SU 123455 А, 1959 г., B 65 G 17/12 – 2 c.).

Недостатком данного устройства является зависание материала при истечении его из выгрузного патрубка.

Задачей настоящего изобретения является повышение эксплуатационной надежности работы устройства за счет исключения зависания сыпучего материала в камере, образуемой заслонкой и стенками выгрузного патрубка.

Настоящая задача решается тем, что в ковшовом элеваторе, включающем корпус, состоящий из кожуха с башмаком и головкой, в последней из которых установлен выгрузной патрубок, ведомый и ведущий барабаны, тяговый орган с закрепленными на нем ковшами, при этом выгрузной патрубок содержит заслонку, образующую между нею и стенкой выгрузного патрубка камеру для выдачи сыпучего материала, заслонка подпружинена и выполнена в виде двуплечего рычага, плечи которого расположены под углом друг к другу, причем одно из плеч выполнено в виде пластины, а второе – в виде стержня, выступающего за начало выгрузного патрубка. Конец стержня выполнен из эластичного материала.

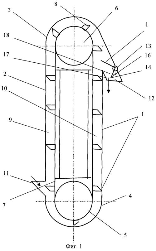
На фиг.1 показан общий вид элеватора.

На фиг 2 показана конструкция заслонки.

Ковшовый элеватор включает корпус 1, состоящий из кожуха 2, в верхней части которого расположена головка 3, а в нижней – башмак 4.

В башмаке 4 установлен ведомый барабан 5, а в головке 3 – ведущий барабан 6. На ведомом барабане 5 и ведущем барабане 6 закреплен тяговый орган 7 с ковшами 8. Между кожухом 2 и тяговым органом 7 с одной стороны расположена рабочая зона 9, а с другой – зона 10 холостого хода. В башмаке 4 установлен загрузочный патрубок 11, а в головке 3 – выгрузной патрубок 12. В выгрузном патрубке 12 на шарнире 13 крепится пластинчатая заслонка 14, выполненная в виде двуплечего рычага, одним плечом которого является сама заслонка 14, а вторым стержень 15. Заслонка 14 опирается на пружину 16. Концы двуплечего рычага (стержень 15 и заслонка 14) расположены под углом друг к другу, причем заслонка направлена в конец выгрузного патрубка, а стержень за начало патрубка. Консольный конец рычага 15 из-за уменьшения трения выполнен из эластичного материала. Заслонка 14 и стенка 17 выгрузного патрубка 12 образуют дозирующую камеру 18.

Элеватор работает следующим образом. Зерновой материал поступает в башмак 4, захватывается ковшами 8 тягового органа 7 и по рабочей зоне 9 поступает в головку 3, где ковши переворачиваются на ведущем барабане 6 и поднятый материал высыпается в выгрузной патрубок 12, а ковши 8 отпускаются по зоне холостого хода 10. Для того чтобы материал из выгрузного патрубка 12 поступал не циклически, а непрерывно, проходное сечение патрубка уменьшают за счет установки заслонки 14 и образуют дозирующую камеру 18, которая в начальный момент времени работы элеватора пропускает сыпучего материала меньше, чем в нее поступает, а затем под увеличивающимся весом материала в патрубке пружина 16 сжимается, увеличивая площадь пропускного отверстия патрубка. В случае исключения зависания сыпучего продукта в дозирующей камере и ее переполнения стержень 15 под весом зерна, действующего на заслонку, отгибается в зону холостого хода тягового органа и от взаимодействия с опускающимися ковшами 8 заслонка 14 вибрирует, возбуждая тем самым исход сыпучего материала, или на короткий промежуток времени увеличивает проходное сечение.


Формула изобретения


1. Ковшовый элеватор, включающий корпус, состоящий из кожуха с башмаком и головкой, в последней из которых установлен выгрузной патрубок, ведомый и ведущий барабаны, тяговый орган с закрепленными на нем ковшами, при этом выгрузной патрубок содержит заслонку, образующую между ею и стенкой выгрузного патрубка камеру для выдачи сыпучего материала, отличающийся тем, что заслонка подпружинена и выполнена в виде двуплечего рычага, плечи которого расположены под углом друг к другу, причем одно из плеч выполнено в виде пластины, а второе – в виде стержня, выступающего за начало выгрузного патрубка.

2. Ковшовый элеватор по п.1, отличающийся тем, что конец стержня выполнен из эластичного материала.


РИСУНКИ

Categories: BD_2254000-2254999