|
|
(21), (22) Заявка: 2003132570/11, 06.11.2003
(24) Дата начала отсчета срока действия патента:
06.11.2003
(45) Опубликовано: 20.06.2005
(56) Список документов, цитированных в отчете о поиске:
RU 2056307 С1, 20.03.1996. SU 1525035 А1, 30.11.1989. US 5265435 А, 30.11.1993. WO 02/090848 А1, 14.11.2002.
Адрес для переписки:
603093, г.Нижний Новгород, ул. Донецкая, 6, кв.2, Д.И. Образцову
|
(72) Автор(ы):
Оболенский Б.А. (RU)
(73) Патентообладатель(и):
ООО “Автодело” (RU)
|
(54) СИСТЕМА “ТЕПЛО-ХОЛОД” ДЛЯ АВТОМОБИЛЯ С ТЕПЛОИЗОЛИРОВАННЫМ ФУРГОНОМ
(57) Реферат:
Изобретение относится к области транспортного машиностроения и предназначено, предпочтительно, для охлаждения рабочих объемов термокузовов, устанавливаемых на транспортных средствах. Система “тепло-холод” для автомобиля с теплоизолированным фургоном содержит холодильную систему, отопитель и систему их управления. Новым является то, что она оснащена источниками тепловой энергии в виде ТЭНов, установленных внутри испарительного блока холодильной системы и получающих электроэнергию от дополнительного автомобильного генератора, установленного в подкапотном пространстве автомобиля. Привод дополнительного автомобильного генератора, а также компрессора холодильной системы осуществляется посредством ременной передачи с одного шкива. В качестве дополнительного генератора используется 12-вольтовый автомобильный генератор постоянного тока, преобразованный в трехфазный 40-вольтовый генератор переменного тока посредством исключения из его конструкции регулятора напряжения и диодного моста. Обмотки генератора могут быть соединены треугольником или звездой и изолированы от земли. Техническим результатом является повышение эффективности и экономичности системы охлаждения и нагревания термокузовов, уменьшение ее габаритов, а также расширение ее функциональных возможностей. 2 ил. 
Изобретение относится к системам для охлаждения воздуха и пищевых продуктов, а также создания комфортных условий для пассажиров и экипажа на транспортном средстве, оборудованном теплоизолированным фургоном. В частности, система предназначена для охлаждения рабочего объема фургона до температуры от -15°С до -18°С при внешней температуре до +35°С или подогрева рабочего объема до +5°С при внешней температуре -30°С.
Известны различные устройства и системы, обеспечивающие вышеуказанные функции, в частности, «Рефрижератор» по а.с. СССР №1689123, В 60 Н 3/00, В 60 Р 3/20, содержащий теплоизолированную камеру для охлажденных объектов, теплоизолированную емкость с криоагентом, соединенным трубопроводом с испарителем подъема давления, и трубопровод подачи криоагента из упомянутой емкости в камеру, он снабжен эжектором, подсоединенным к трубопроводу подачи криоагента из емкости в камеру патрубком, подсоединенным к всасывающей полости эжектора, емкость криоагента расположена в камере, а испаритель подъема давления установлен внутри упомянутого патрубка.
Известны «Кондиционируемый контейнер транспортного средства» по патенту РФ №1483807, 6 В 60 H 1/32, 10.11.96, Бюл. №31, содержащий теплоизолированный кузов с люками, разделенными перегородкой на кондиционированный и машинный отсеки, кондиционер, размещенный в машинном отсеке и соединенный с кондиционированным отсеком всасывающим и нагнетающим воздуховодом, люки и воздуховоды конденсатора кондиционера, у которого перегородка и нагнетательный вохдуховод выполнены герметичными и теплозвуконепроницаемыми, входной люк воздуховода конденсатора кондиционера выполнен в днище машинного отсека, во всасывающем воздуховоде установлена заслонка, по обе стороны которой выполнены воздушные каналы, связывающие воздуховод с люками, воздуховоды кондиционера снабжены гибкими вставками и глушителями, а один из воздуховодов кондиционера расположен над днищем теплоизолированного кузова.
Известно «Транспортное средство для перевозки скоропортящихся пищевых продуктов» по а.с. СССР №1576358, В 60 H 1/32, 07.07.90, Бюл. №25, содержащее размещенный в теплоизолированном кузове криогенный сосуд с арматурной головкой, связанной с распределительным коллектором, предохранительный клапан установлен в газовой магистрали, управляющий канал подключен к регулятору температуры.
Однако вышеуказанные технические решения обладают ограниченными функциональными возможностями и недостаточно эффективны.
Известен «Автомобиль» по патенту РФ №2167770, 7 В 60 Н 1/32, 27.05.01, оснащенный газобаллонным оборудованием, включающим в себя емкость для сжиженного газа, редуктор-испаритель, систему клапанов и переключателей видов топлива, снабженный также радиатором-испарителем, установленным между емкостью для сжиженного газа и редуктором-испарителем и включенным в состав климатической установки охлаждения подаваемого в салон воздуха или охлаждения теплоносителя, между редуктором-испарителем и радиатором-испарителем установлен обратный клапан, система питания выполнена с дополнительной магистралью, соединяющей редуктор-испаритель с емкостью для сжиженного газа, дополнительная магистраль соединена с редуктором-испарителем через участок трубопровода, соединяющего редуктор-испаритель с обратным каналом, автомобиль снабжен датчиком давления, сообщенным с редуктором-испарителем.
Известна «Автономная система теплоснабжения» по свидетельству РФ на полезную модель №30179, 7 F 24 D 15/00, 3/00, содержащая дизельный двигатель, к входу которого подсоединен теплообменник-утилизатор отходящих газов, вихревой теплогенератор, насос, отопительные радиаторы, выход теплообменника-утилизатора, через насос, подсоединенный к двигателю, подключены входы отопительных радиаторов, а вход теплообменника-утилизатора соединен с выходом отопительных радиаторов.
Однако и эти технические решения недостаточно эффективны и ограничены по функциональным возможностям.
Известно «Устройство для охлаждения воздуха и пищевых продуктов на транспортном средстве» по а.с. СССР №1337286, В 60 Н 1/32, 15.09.87, Бюл. №34, содержащее кондиционер парокомпрессионного типа и холодильник для пищевых продуктов, испаритель которого подключен к циркуляционному контуру кондиционера, выход испарителя холодильника подключен между терморегулирующим вентилем и испарителем кондиционера, испаритель холодильника выполнен из листотрубной конструкции, образующей холодильную камеру, а в холодильной камере выполнено отверстие, к которому присоединена гибкая трубка для слива конденсата.
Известен «Транспортный холодильный агрегат» по а.с. СССР №1525035, В 60 Н 1/32, F 25 D 19/00, 30.11.89, Бюл. №44, содержащий размещенную на раме автоматизированную холодильную установку, включающую в себя установленные внутри кузова вентилятор с охладителем и вне кузова компрессорный агрегат, вентилятор конденсатора, приводимый во вращение посредством ременной передачи, и приводной двигатель компрессора и вентилятора, вентилятор охладителя расположен на общем валу приводного двигателя, охладитель установлен соосно вентилятору, компрессорный агрегат выполнен в виде двух компрессоров, оси которых параллельны, симметрично расположены относительно вала приведенного двигателя и связаны с ним посредством упомянутой ременной передачи, а конденсаторы расположены соосно компрессорам, на осях которых установлены вентиляторы конденсаторов.
Известна также «Система охлаждения и нагревания текучей среды» по патенту РФ №2078697, 6 В 60 Н 3/00, 10.05.97, Бюл. №13, содержащая электрический источник напряжения, подключаемый к нему по меньшей мере один термоэлектрический элемент, имеющий находящуюся в тепловом контакте с указанной текучей средой первую поверхность, охлаждаемую при первом режиме работы и нагреваемую при втором режиме работы, и вторую поверхность, соответственно нагреваемую при первом режиме работы и охлаждаемую при втором режиме работы, средство подвода текучей среды и первой указанной поверхности термоэлектрического элемента при первом режиме работы и подвода тепла к ней при втором режиме работы и последнее указанное средство выполнено в виде теплового аккумулятора, находящегося в тепловом контакте со второй указанной поверхностью термоэлектрического элемента.
Однако эти вышеуказанные технические решения имеют существенные недостатки, а именно недостаточно экономичны и эффективны, ограничены по функциональному применению.
Известна система “Terno-King”, используемая в теплоизолированных фургонах, включающая в себя дизельный привод и реверсивную холодильную систему, которая за счет смены направления потока фреона с помощью четырехходового клапана обеспечивает как охлаждение, так и нагревание рабочего теплоизолированного объема,
Однако эта система сложна по конструкции и дорога в изготовлении, приводит к неоправданному расходу ресурса фреонового компрессора при работе в режиме нагрева в условиях пониженной температуры.
К недостаткам этой системы следует отнести необходимость введения внутрь рабочего объема теплоизолированного фургона еще одной конструкции, расположенной на полу, так как в качестве такой системы обычно используется штатный тосоловый отопитель салона автомобиля “Газель” (ГАЗ-3302). Дополнительная конструкция на полу уменьшает и без того ограниченный объем фургона, а будучи поднятой вверх от пола, не работает эффективно как нагреватель. К тому же при низкой наружной температуре начинает переохлаждаться двигатель автомобиля.
Целью предлагаемого изобретения является создание экономичной, эффективной, малогабаритной, с широкими функциональными возможностями системы нагревания и охлаждения воздуха внутри теплоизолированного объема транспортного средства, в частности – автомобиля.
Указанная цель достигается тем, что система “тепло-холод” для автомобиля с теплоизолированным фургоном, включающая холодильную систему, отопитель и систему их управления, дополнительно оснащена источниками тепловой энергии в виде ТЭНов, установленных внутри испарительного блока холодильной системы и получающих электроэнергию от дополнительного автомобильного генератора, установленного в подкапотном пространстве автомобиля, привод которого, а также компрессора холодильной системы, осуществляется посредством ременной передачи с одного шкива, в качестве дополнительного генератора использован автомобильный генератор постоянного тока, например, марки 2502.3771, который преобразован в трехфазный 40-вольтовый генератор переменного тока посредством исключения из его конструкции регулятора напряжения и диодного моста, а обмотки генератора могут быть соединены треугольником или звездой и изолированы от земли.
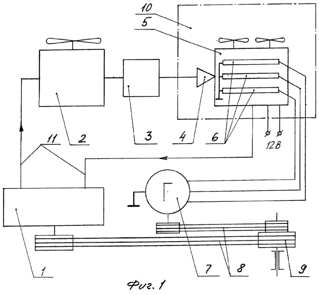
На фиг.1 схематично показана система “тепло-холод” для автомобиля с теплоизолированным фургоном, на фиг.2 – график изменения температуры внутри теплоизолированного фургона от времени работы системы в режиме отопления при температуре наружного воздуха -16°С.
Система состоит из компрессора 1, например, марки SD5H11, производительностью 110 см3/об при 2000 об/мин, мощностью 4 КВт (Япония), конденсатора 2 (для сжижения фреона), ресивера 3, расширительного клапана 4, испарителя 5, внутри которого расположены 6 ТЭНы сопротивлением 3 Ом, генератора переменного тока 7 с отключенной системой регулирования напряжения и удаленным диодным мостом.
Привод генератора и компрессора осуществляется посредством ременной передачи 8 с одного шкива 9 оригинальной конструкции. Испаритель установлен в теплоизолированном фургоне 10. Система оснащена соединительными трубопроводами 11 и системой управления и контроля (на фиг.1 не показана).
Система работает следующим образом (в режиме отопления).
В теплоизолированном объеме (фургоне автомобиля) 10 установлен фреоновый испаритель 5, в котором в качестве источника тепловой энергии применены ТЭНы, получающие электропитание от дополнительного 12-вольтового автомобильного генератора, который в результате вышеуказанных переделок превратился в 40-вольтовый трехфазный генератор переменного тока. При работе системы под нагрузкой напряжение на генераторе на ТЭНах падает до 30 В, что позволяет в заявляемой системе, не перегружая чрезмерным током обмотки генератора, снимать с него (ТЭНами) до 900 Вт тепловой мощности. Так как ТЭНы компактны (диаметром 13 и длиной 400 мм), то для обеспечения достаточного эффекта для эксплуатации в режиме подогрева воздуха в теплоизолированном фургоне при наружной температуре до -30°С, они легко монтируются внутри конструкции фреонового испарителя вблизи его мощных вентиляторов, которые снимают тепло с ТЭНов и распределяют его по всему объему теплоизолированного фургона.
При этом мощные вентиляторы обеспечивают достаточно эффективную циркуляцию воздуха в фургоне, что исключает значительные градиенты температуры в теплоизолированном фургоне, особенно при загроможденности перевозимым грузом. Кроме того, внутри фургона отсутствуют, в сравнении с прототипом, дополнительные конструкции холодильной системы, что увеличивает полезный объем фургона.
Предлагаемая система легко состыковывается с автоматикой холодильной системы и обеспечивает поддержание заданной температуры путем включения и выключения в соответствии с показателями датчика температуры тока подмагничивания на роторе дополнительного генератора (поз.7 на фиг.1) и вентиляторов испарителя.
Переоборудование штатного 12-вольтового генератора постоянного тока вышеуказанным способом позволило применить в системе его коммутации провода меньшего сечения, “превратить” его в трехфазный 40-вольтовый генератор переменного тока и, как следствие, создать высокоэффективную, компактную систему “тепло-холод” и обеспечить нагрев теплоизолированного объема фургона до +5°С при -35°С снаружи, а также охлаждение до -18°С при внешней температуре до +35°С более надежно, эффективно, экономично и за более короткое время по сравнению с подобными системами.
Заявляемая система успешно освоена в производстве, освоена в автомобилях, в частности, марки “Газель” и эффективно эксплуатируется в России.
Формула изобретения
Система “тепло-холод” для автомобиля с теплоизолированным фургоном, содержащая холодильную систему, отопитель и систему их управления, отличающаяся тем, что она оснащена источниками тепловой энергии в виде ТЭНов, установленных внутри испарительного блока холодильной системы и получающих электроэнергию от дополнительного автомобильного генератора, установленного, например, в подкапотном пространстве автомобиля, привод которого, а также компрессора холодильной системы, осуществляется посредством ременной передачи с одного шкива, в качестве дополнительного генератора используется 12-вольтовый автомобильный генератор постоянного тока, например, марки 2502.3771, который преобразован в трехфазный 40-вольтовый генератор переменного тока посредством исключения из его конструкции регулятора напряжения и диодного моста, а обмотки генератора могут быть соединены треугольником или звездой и изолированы от земли.
РИСУНКИ
MM4A – Досрочное прекращение действия патента СССР или патента Российской Федерации на изобретение из-за неуплаты в установленный срок пошлины за поддержание патента в силе
Дата прекращения действия патента: 07.11.2006
Извещение опубликовано: 20.02.2008 БИ: 05/2008
|
|