|
|
(21), (22) Заявка: 2004101575/02, 19.01.2004
(24) Дата начала отсчета срока действия патента:
19.01.2004
(45) Опубликовано: 20.06.2005
(56) Список документов, цитированных в отчете о поиске:
SU 1553260 A1, 30.03.1990. SU 303866 А, 30.07.1961. SU 1247173 A1, 30.07.1981. RU 2033903 C1, 30.04.1995. JP 03-208534 A, 11.09.1991.
Адрес для переписки:
625000, г.Тюмень, ул. Володарского, 38, ТюмГНГУ, патентно-информационный отдел, пат.пов. Л.С.Ивановой, рег.№ 765
|
(72) Автор(ы):
Кусков В.Н. (RU), Артамонов Е.В. (RU), Чуйков Р.С. (RU), Трифонов В.Б. (RU), Костив В.М. (RU)
(73) Патентообладатель(и):
Государственное образовательное учреждение высшего профессионального образования Тюменский государственный нефтегазовый университет (RU)
|
(54) МЕТАЛЛОРЕЖУЩИЙ ИНСТРУМЕНТ
(57) Реферат:
Изобретение относится к области обработки металлов резанием, в том числе труднообрабатываемых сталей и сплавов. Металлорежущий инструмент содержит корпус с прикрепленной к нему с помощью прихвата и винта режущей пластиной, соединенной с источником постоянного тока, под которой расположен изолированный от корпуса полупроводниковый слой. Для повышения стойкости он снабжен токоподводящей пластиной, установленной под полупроводниковым слоем и изолированной от корпуса, при этом полупроводниковый слой выполнен из смеси дисульфида молибдена с жидким стеклом, а электрическая цепь замкнута через прихват, винт и корпус. 3 ил. 
Изобретение относится к обработке металлов резанием и может быть использовано при обработке сталей и сплавов, в том числе труднообрабатываемых.
Наиболее близким по технической сущности, выбранным в качестве прототипа, является режущий инструмент Девяткина С.П. [А.с. СССР №1553260, МКИ 5 В 23 В 27/16, опубл. 1990].
Известное устройство содержит корпус, на котором с помощью винта закреплены режущая и полупроводниковая пластины с изолирующей прокладкой. К полупроводниковой пластине подключен источник постоянного электрического тока, второй полюс которого замкнут на обрабатываемую деталь. На режущей пластине закреплен электромагнит с сердечником, воздействующим на геркон, который замыкается или размыкается при изменении температуры режущей пластины, увеличивая или уменьшая теплопоглощение на контакте пластин в соответствии с эффектом Пельтье, поддерживая тем самым температуру режущей пластины на оптимальном уровне.
Известной причиной, препятствующей получению технического результата, который обеспечивает предлагаемое изобретение, является циклическое изменение температуры режущей пластины при включении и выключении геркона, что приводит к накоплению внутренних напряжений и повышает опасность растрескивания твердого сплава (известна рекомендация о поддержании температуры зубьев фрезы вне зоны резания, равной температуре резания за счет горячего воздуха [Остафьев В.А. Расчет динамической прочности режущего инструмента. – М.: Машиностроение, 1979. 168 с.]). Наличие значительного градиента температуры по высоте режущей пластины (между нагревающейся режущей кромкой и охлаждаемой границей с полупроводниковой пластиной) также увеличивает напряжения растяжения и повышает ее склонность к растрескиванию. Имеются определенные трудности в подборе материала сердечника с требуемой температурой точки Кюри для разных сочетаний режущего и обрабатываемого материалов. Кроме того, часть тока в известном устройстве уходит через винт в корпус инструмента, снижая коэффициент полезного действия тока; перед креплением режущей пластины к корпусу в ней необходимо изготовить отверстие, подогнанное по размерам сердечника для адекватного изменения температуры в этих элементах, в то время как коэффициент теплового линейного расширения материалов режущей пластины и сердечника различен.
Задачей, на решение которой направлено заявляемое изобретение, является повышение стойкости металлорежущего инструмента с режущими пластинами из твердого сплава.
При осуществлении изобретения поставленная задача решается за счет достижения технического результата, который заключается в снижении величины износа режущей пластины благодаря повышению ее трещиностойкости после предварительного нагрева до температуры 300-500°С перед началом процесса резания. Такой подогрев предотвращает хрупкое разрушение режущей пластины в виде выкрашивания и микросколов в период приработки, когда ее температура повышается от комнатной до рекомендованной (при этом твердый сплав переходит из хрупкого в хрупкопластическое состояние).
Указанный технический результат достигается тем, что в металлорежущем инструменте, содержащем корпус с прикрепленной к нему с помощью прихвата и винта режущей пластиной, соединенной с источником постоянного тока, под которой расположен изолированный от корпуса полупроводниковый слой, согласно изобретению он снабжен токоподводящей пластиной, установленной под полупроводниковым слоем и изолированной от корпуса, при этом полупроводниковый слой выполнен из смеси дисульфида молибдена с жидким стеклом, а электрическая цепь замкнута через прихват, винт и корпус.
Между заявленным техническим результатом и существенными признаками изобретения существует следующая причинно-следственная связь: предварительный нагрев твердосплавной режущей пластины до 300-500°С перед обработкой резанием за счет пропускания постоянного электрического тока, дополнительно используя эффект Пельтье на границе контакта с полупроводниковым слоем, состоящим из смеси дисульфида молибдена с жидким стеклом, повышает начальную трещиностойкость режущей пластины и увеличивает ее стойкость; указанный подогрев обеспечивает комплекс конструктивных элементов, составляющих заявляемый металлорежущий инструмент; в процессе механической обработки требуемая величина трещиностойкости поддерживается за счет тепловыделения при резании.
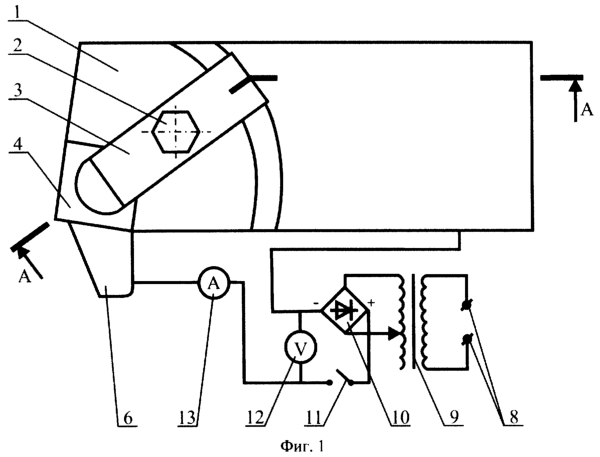
На фиг.1 изображен металлорежущий инструмент с принципиальной электрической схемой предварительного подогрева; на фиг.2 – разрез указанного инструмента; фиг.3 иллюстрирует повышение стойкости и уменьшение износа режущей платины ВК8 при точении детали из стали 40Х со скоростью резания 197,8 м/мин, подачей 0,61 мм/об и глубиной резания 1,0 мм (1 – точение без подогрева, 2 – точение с предварительным подогревом до 450°С).
Металлорежущий инструмент содержит корпус 1, на котором с помощью винта 2 и прихвата 3 закреплена режущая пластина 4, под которой расположены полупроводниковый слой 5 и токоподводящая пластина 6. Полупроводниковый слой 5 и токоподводящая пластина 6 изолированы от корпуса 1 металлорежущего инструмента изолирующей прокладкой 7. В электрическую цепь, обеспечивающую предварительный подогрев режущей пластины 4, входят источник питания 8, лабораторный трансформатор 9, выпрямитель 10, ключ 11, вольтметр 12, амперметр 13, токоподводящая пластина 6, полупроводниковый слой 5, режущая пластина 4, прихват 3, винт 2, корпус 1. Непосредственньм источником постоянного тока для предварительного нагрева режущей пластины 4 служат источник питания 8, лабораторный трансформатор 9 и выпрямитель 10.
В отличие от прототипа в устройстве отсутствуют геркон и электромагнит с сердечником; электрическая цепь замыкается через дополнительно установленную токоподводящую пластину 6, прихват 3 и корпус 1 металлорежущего инструмента и не включает обрабатываемую деталь. Полупроводниковый слой состоит из смеси дисульфида молибдена и жидкого стекла, что обеспечивает дополнительный нагрев за счет эффекта Пельтье.
Устройство работает следующим образом.
Перед обработкой детали резанием замыкают ключ 11. Электрический ток от источника питания 8 проходит через лабораторный трансформатор 9, выпрямитель 10, ключ 11, амперметр 13, токоподводящую пластину 6, полупроводниковый слой 5, режущую пластину 4, прихват 3, винт 2, корпус 1. При прохождении электрического тока основное количество теплоты выделяется в контакте режущей пластины 4 с полупроводниковым слоем 5 за счет эффекта Пельтье, а также в самой режущей пластине 4 в соответствии с законом Джоуля – Ленца. Причем для нагрева режущей пластины до 850°С достаточно тока не более 200 А, тогда как в известных устройствах [А.с. СССР №1247173, МКИ 4 В 23 В 27/16, опубл. 1986] он достигает 2000 А. После нагрева режущей пластины до температуры 300-500°С ключ 11 размыкают и начинают резание. В процессе обработки детали режущая пластина 4 нагревается за счет превращения механической энергии резания в тепловую.
Благодаря повышению трещиностойкости режущей пластины в начальный период резания и последующему ее поддержанию за счет режима резания стойкость металлорежущего инструмента увеличивается на 60-70%, а износ режущей пластины по задней поверхности h3 снижается (фиг.3).
Формула изобретения
Металлорежущий инструмент, содержащий корпус с прикрепленной к нему с помощью прихвата и винта режущей пластиной, соединенной с источником постоянного тока, под которой расположен изолированный от корпуса полупроводниковый слой, отличающийся тем, что он снабжен токоподводящей пластиной, установленной под полупроводниковым слоем и изолированной от корпуса, при этом полупроводниковый слой выполнен из смеси дисульфида молибдена с жидким стеклом, а электрическая цепь замкнута через прихват, винт и корпус.
РИСУНКИ
PC4A – Регистрация договора об уступке патента Российской Федерации на изобретение
(73) Патентообладатель(и):
Государственное образовательное учреждение высшего профессионального образования “Тюменский государственный нефтегазовый университет”
(73) Патентообладатель:
Артамонов Евгений Владимирович
(73) Патентообладатель:
Чуйков Роман Сергеевич
(73) Патентообладатель:
Чуйков Сергей Сергеевич
Дата и номер государственной регистрации перехода исключительного права: 21.06.2010 № РД0066164
Извещение опубликовано: 10.08.2010 БИ: 22/2010
|
|