|
|
(21), (22) Заявка: 2003134568/02, 27.11.2003
(24) Дата начала отсчета срока действия патента:
27.11.2003
(45) Опубликовано: 20.06.2005
(56) Список документов, цитированных в отчете о поиске:
SU 404609 А, 14.03.1974. SU 870070 A, 07.10.1981. SU 921677 A, 23.04.1982. SU 1357133 A1, 07.12.1987.
Адрес для переписки:
625000, г.Тюмень, ул. Володарского, 38, ТюмГНГУ, патентно-информационный отдел, Л.С. Ивановой
|
(72) Автор(ы):
Некрасов Ю.И. (RU), Потерянский С.Л. (RU), Некрасов Р.Ю. (RU), Проскуряков Н.А. (RU)
(73) Патентообладатель(и):
Государственное образовательное учреждение высшего профессионального образования Тюменский государственный нефтегазовый университет (RU)
|
(54) УСТРОЙСТВО И СПОСОБ ИЗМЕРЕНИЯ КОЭФФИЦИЕНТА УСАДКИ СТРУЖКИ
(57) Реферат:
Изобретение относится к области металлообработки, определению деформации срезаемого слоя при резании металлов. Устройство содержит два корпуса, соединенных одним концом при помощи винта. При этом на других концах указанных корпусов установлены вращающиеся элементы с возможностью взаимодействия одного из них со срезаемой стружкой, а другого с обрабатываемой поверхностью в процессе резания. Для повышения эффективности измерения вращающиеся элементы выполнены в виде роликов, причем один ролик, взаимодействующий с обрабатываемой поверхностью, соединен гибким валом с первым валиком компьютерного указательного устройства, а другой ролик, взаимодействующий со срезаемой стружкой, соединен другим гибким валом со вторым валиком компьютерного указательного устройства. Способ заключается в том, что при точении на станке первый вращающийся элемент взаимодействует с обрабатываемой поверхностью, а второй вращающийся элемент взаимодействует со срезаемой стружкой. Для повышения эффективности измерения используют указанное выше устройство. При этом генерируемые вращающимися валиками компьютерного указательного устройства сигналы, содержащие информацию об угловых перемещениях вращающихся элементов, обрабатывают контроллером и передают в ПЭВМ, где производят расчет коэффициента усадки стружки по приведенному выражению и полученную информацию отображают на мониторе в цифровой форме. 2 н.п. ф-лы, 1 ил. 
Изобретение относится к области металлообработки и может быть использовано для определения деформаций срезаемого слоя при резании металлов.
Известно устройство для измерения усадки стружки, состоящее из двух частей: постоянного корпуса и регулируемого корпуса, которые устанавливают и крепят относительно друг друга с помощью винта [А.С. 404609 СССР, М. Кл. B 23 Q l5/00. Устройство для измерения усадки стружки / Плющ Ю.А. – №1746199/25-8, Заявл. 08.02.72; Опубл. 22.10.73, Бюл. №44 (прототип)]. Оба корпуса снабжены углублениями, в которых размещены стеклянные трубки. Стеклянные трубки наполнены машинным маслом на одном уровне, определяемом по делениям шкалы, нанесенной на корпусы. Стеклянные трубки закреплены винтом и снабжены наконечниками. В наконечники установлены вращающиеся элементы в виде шариков с возможностью вращения и взаимодействия со стружкой и обрабатываемой поверхностью при точении. Шарик, установленный в наконечнике постоянного корпуса, приводят в соприкосновение с поверхностью стружки, а шарик, установленный в наконечнике регулируемого корпуса, приводят в соприкосновение с поверхностью обрабатываемой заготовки. При вращении шариков расходуется находящееся в стеклянных трубках масло. Так как скорость перемещения шарика по поверхности стружки и обрабатываемой поверхности (заготовки) неодинаковы, расход масла в трубках различается. Показания уровня остатка масла в трубках снимают с левой и правой частей шкалы. Коэффициент усадки стружки определяют как отношение числа делений на левой части шкалы к числу на правой части шкалы.
Однако это устройство не позволяет с достаточной точностью и надежностью измерять коэффициент усадки стружки, вследствие того, что корпусы с открытыми трубками, заполненными маслом, при измерениях приходится наклонять, что приводит к возможности разлива масла и затруднениям при работе.
Известен способ определения коэффициента усадки стружки, в котором устанавливают на станке заготовку, глубину резания t и подачу S. Точением срезают с заготовки слой обрабатываемого материала, превращающегося в стружку, и отделяют отрезок стружки. Измеряют длину отрезка стружки lcmp и взвешивают отрезок стружки на весах [Машевич З.А. Основы учения о резании металлов и режущий инструмент. – Машгиз, 1957, cтр.58-61]. Коэффициент усадки стружки рассчитывают по формуле

где l0 – длина пути, проходимая резцом при резании, мм;
lcmp – длина отрезка стружки, мм;
fcmp – площадь поперечного сечения стружки, мм2;
f – площадь поперечного сечения срезаемого слоя, мм2;
Vcmp – объем отрезка стружки, мм3;
t – глубина резания, мм;
S – подача, мм/об;
g – вес отрезка стружки, г;
– удельный вес обрабатываемого материала, г/мм3.
Для определения удельного веса обрабатываемого материала изготавливают образец материала, как правило в форме цилиндра, взвешивают образец на весах и определяют вес образца gоб. Далее измеряют диаметр Доб, высоту lоб, образца и вычисляют его объем по формуле

где Doб – диаметр образца, мм;
lоб – высота образца, мм.
Удельный вес материала образца рассчитывают по выражению

где goб – вес образца, г;
Vоб – объем образца, мм3.
Однако этот способ не позволяет с достаточной точностью определять коэффициент усадки стружки вследствие накапливания погрешностей, возникающих при измерении длины, взвешивании отрезка стружки и образца, при измерении размеров образца и при определении удельного веса материала образца.
Задачей, на решение которой направлено заявленное изобретение, является разработка эффективной технологии определения коэффициента усадки стружки.
При осуществлении изобретения поставленная задача решается за счет достижения технического результата, который заключается в повышении точности и надежности определения коэффициента усадки стружки путем исключения изготовления образца, исключения измерения его размеров, исключения взвешивания и определения удельного веса образца, исключения наклонов корпусов и разлива масла, а также в использовании ПЭВМ для повышения точности и оперативности измерения коэффициента усадки стружки.
Указанный технический результат по объекту – устройство достигается тем, что устройство для измерения коэффициента усадки стружки содержит два корпуса, соединенных одним концом при помощи винта. При этом на других концах корпусов установлены вращающиеся элементы, выполненные в виде роликов, которые установлены в плоскости вращения обрабатываемой детали и в плоскости схода стружки с возможностью соприкосновения со стружкой и обрабатываемой поверхностью. Причем первый вращающийся элемент диаметром d1, который взаимодействует с обрабатываемой поверхностью, соединен гибким валом с первым валиком компьютерного указательного устройства. А второй вращающийся элемент диаметром d2, который взаимодействует со срезаемой стружкой, соединен другим гибким валом со вторым валиком компьютерного указательного устройства.
Указанный технический результат по объекту – способу достигается тем, что в способе измерения коэффициента усадки стружки при точении на станке первый вращающийся элемент взаимодействует с обрабатываемой поверхностью, а второй вращающийся элемент взаимодействует со срезаемой стружкой. Угловое перемещение от роликов передают посредством гибких валов на вращающиеся валики компьютерного указательного устройства. При этом генерируемые вращающимися валиками сигналы, содержащие информацию об угловых перемещениях вращающихся элементов, обрабатывают контроллером и передают в ПЭВМ, где производится расчет коэффициента усадки стружки по выражению

где – угловое перемещение первого валика компьютерного указательного устройства, соединенного гибким валом с первым вращающимся элементом, который взаимодействует с обрабатываемой поверхностью, рад;
– угловое перемещение второго валика компьютерного указательного устройства, соединенного гибким валом со вторым вращающимся элементом, который взаимодействует со срезаемой стружкой, рад;
d1 – диаметр первого вращающегося элемента, взаимодействующего с обрабатываемой поверхностью, мм;
d2 – диаметр второго вращающегося элемента, взаимодействующего со срезаемой стружкой, мм.
Полученную ПЭВМ информацию отображают на мониторе ПЭВМ в цифровой форме.
Заявленная группа изобретений соответствует требованию единства изобретения, поскольку образует единый изобретательский замысел, причем один из заявленных объектов группы – устройство предназначено для осуществления другого заявленного объекта группы – способа определения коэффициента усадки стружки. При этом оба объекта направлены на решение одной и той же задачи с получением единого технического результата.
Преимуществом заявляемых устройства и способа определения коэффициента усадки стружки является использование гибких валов для передачи угловых перемещений от роликов на вращающиеся валики компьютерного указательного устройства, использование компьютерного указательного устройства для ввода данных в ПЭВМ, непосредственное использование ПЭВМ для вычисления и оперативного цифрового отображения коэффициента усадки стружки на мониторе.
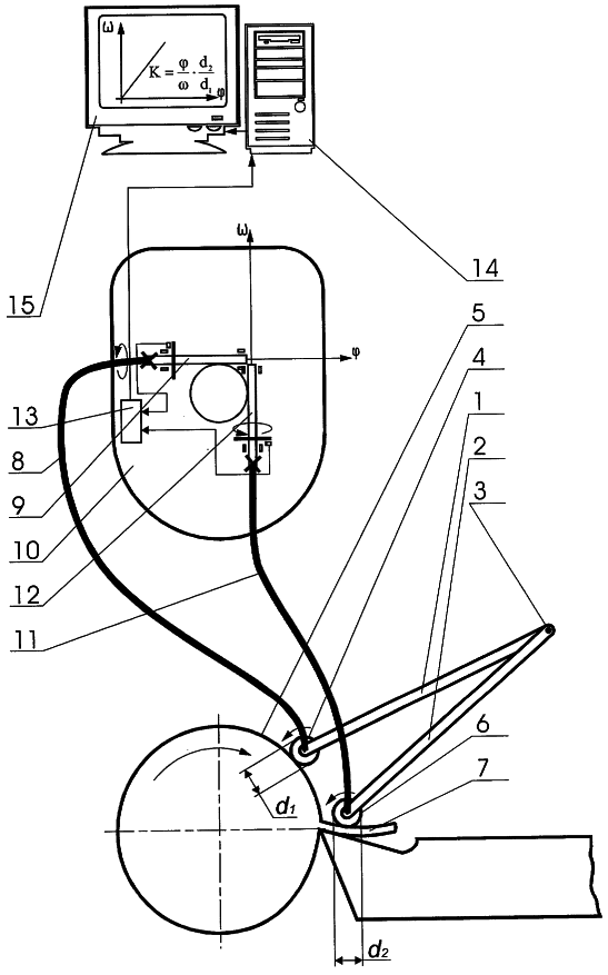
Устройство и способ поясняются чертежом, где представлен общий вид.
Устройство состоит из двух частей: корпуса 1 и корпуса 2, которые устанавливают и крепят одним концом относительно друг друга с помощью винта 3. На другом конце корпуса 1 устанавливают вращающийся элемент 4, выполненный в виде ролика с диаметром d1, взаимодействующий с обрабатываемой поверхностью 5. А на другом конце корпуса 2 устанавливают вращающийся элемент 6, выполненный в виде ролика с диаметром d2, взаимодействующий со срезаемой стружкой 7. Причем один вращающийся элемент 4 соединен гибким валом 8 с первым валиком 9 компьютерного указательного устройства 10, а другой вращающийся элемент 6 соединен другим гибким валом 11 со вторым валиком 12 компьютерного указательного устройства 10.
Способ определения коэффициента усадки стружки с использованием устройства осуществляют следующим образом.
При точении срезают с заготовки слой обрабатываемого материала, превращающегося в стружку 7. Первый вращающийся элемент 4 устанавливают с возможностью взаимодействия с обрабатываемой поверхностью 5, а второй вращающийся элемент 6 устанавливают с возможностью взаимодействия со срезаемой стружкой 7. Вращательное движение вращающихся элементов 4 и 6 передают посредством гибких валов 8 и 11 соответственно на первый валик 9 и второй валик 12 компьютерного указательного устройства 10. При этом генерируемые вращающимися валиками 9 и 12 сигналы, содержащие информацию об угловых перемещениях вращающихся элементов 4 и 6, обрабатывают контроллером 13 и передают в ПЭВМ 14, где производится расчет коэффициента усадки стружки по выражению

где – угловое перемещение первого валика 9 компьютерного указательного устройства 10, соединенного гибким валом 8 с первым вращающимся элементом 4, который взаимодействует с обрабатываемой поверхностью 5, рад;
– угловое перемещение второго валика 12 компьютерного указательного устройства 10, соединенного гибким валом 11 со вторым вращающимся элементом 6, который взаимодействует со срезаемой стружкой 7, рад;
d1 – диаметр первого вращающегося элемента 4, взаимодействующего с обрабатываемой поверхностью 5, мм;
d2 – диаметр второго вращающегося элемента 6, взаимодействующего со срезаемой стружкой 7, мм.
Полученную ПЭВМ информацию отображают на мониторе 15 в цифровой форме.
Такая реализация устройства и способа измерения коэффициента усадки стружки вследствие исключения погрешностей измерений, вызванных утечкой масла, а также определением геометрических размеров срезаемой стружки, процессом взвешивания, позволяет в процессе резания оперативно получать величину коэффициента усадки стружки непосредственно на мониторе, а также автоматизировать управление процессом резания.
Формула изобретения
1. Устройство для измерения коэффициента усадки стружки, содержащее два корпуса, соединенных одним концом при помощи винта, при этом на других концах указанных корпусов установлены вращающиеся элементы, с возможностью взаимодействия одного из них со срезаемой стружкой, а другого с обрабатываемой поверхностью в процессе резания, отличающееся тем, что оно снабжено компьютерным указательным устройством, содержащим первый и второй валики, предназначенные для генерации сигналов об угловых перемещениях вращающихся элементов, и контроллером обработки указанных сигналов, при этом вращающиеся элементы выполнены в виде роликов, причем один ролик, взаимодействующий с обрабатываемой поверхностью, соединен гибким валом с первым валиком компьютерного указательного устройства, а другой ролик, взаимодействующий со срезаемой стружкой, соединен другим гибким валом со вторым валиком компьютерного указательного устройства.
2. Способ измерения коэффициента усадки стружки, в котором при точении на станке первый вращающийся элемент взаимодействует с обрабатываемой поверхностью, а второй вращающийся элемент взаимодействует со срезаемой стружкой, отличающийся тем, что используют устройство согласно п.1, при этом генерируемые вращающимися валиками компьютерного указательного устройства сигналы, содержащие информацию об угловых перемещениях вращающихся элементов, обрабатывают контроллером и передают в персональную электронно-вычислительную машину (ПЭВМ), где производят расчет коэффициента усадки стружки по выражению:

где – угловое перемещение первого валика компьютерного указательного устройства, соединенного гибким валом с первым вращающимся элементом, который взаимодействует с обрабатываемой поверхностью, рад;
– угловое перемещение второго валика компьютерного указательного устройства, соединенного гибким валом со вторым вращающимся элементом, который взаимодействует со срезаемой стружкой, рад;
d1 – диаметр первого вращающегося элемента, взаимодействующего с обрабатываемой поверхностью, мм;
d2 – диаметр второго вращающегося элемента, взаимодействующего со срезаемой стружкой, мм, и полученную информацию отображают на мониторе в цифровой форме.
РИСУНКИ
|
|