|
|
(21), (22) Заявка: 2002123354/02, 26.03.2001
(24) Дата начала отсчета срока действия патента:
26.03.2001
(30) Конвенционный приоритет:
29.03.2000 EP 00870058.5
(43) Дата публикации заявки: 27.02.2004
(45) Опубликовано: 20.06.2005
(56) Список документов, цитированных в отчете о поиске:
ЕР 0222070 А1, 20.05.1987. SU 1799683 A1, 07.03.1993. US 4840296 A, 20.06.1989. DE 19611210 A1, 25.09.1997. WO 9805451 A1, 12.02.1998.
(85) Дата перевода заявки PCT на национальную фазу:
28.08.2002
(86) Заявка PCT:
BE 01/00051 (26.03.2001)
(87) Публикация PCT:
WO 01/72453 (04.10.2001)
Адрес для переписки:
119034, Москва, Пречистенский пер., д.14, стр.1, Гоулингз Интернэшнл Инк., пат.пов. В.Н.Дементьеву
|
(72) Автор(ы):
БУАДЕКЕН Винсен (BE), МУТСААР Филипп (BE)
(73) Патентообладатель(и):
ВЕЗУВИУС КРУСИБЛ КОМПАНИ (US)
|
(54) ЗАЖИМ ШИБЕРА ДЛЯ ОГНЕУПОРНОЙ ПЛИТЫ
(57) Реферат:
Изобретение относится к установкам для разливки металлов. Зажим имеет с одной стороны зону приложения осевого усилия, а с другой – два конца, прижимаемых к огнеупорной плите. Зажим изготовлен из упругодеформируемого материала. При приложении усилия зажима каждый из двух концов зажима деформируется до тех пор, пока не упрется в соответствующую кромку огнеупорной плиты. За счет теплового расширения плиты или за счет большего усилия зажимания зажим упрется также в смежную стенку гнезда шибера. Обеспечивается автоматическая адаптация зажима к опорным поверхностям огнеупорной плиты. Предотвращается возникновение в зажиме напряжений, приводящих к его повреждению. 5 н. и 7 з.п. ф-лы, 6 ил. 
Настоящее изобретение имеет отношение к созданию зажима шибера для огнеупорной плиты, установленной в гнезде шибера в установке для разливки, к созданию узла, который содержит огнеупорную плиту и ее гнездо, к шиберу, который содержит такой узел, и к установке для разливки, которая содержит такой шибер, а также к способу зажимания огнеупорной плиты.
Известно, что огнеупорные плиты, которые используют в шиберах в металлургических установках для разливки, устанавливают в своих гнездах при помощи зажимания.
Эти гнезда могут иметь форму фиксированных элементов на раме шибера в случае неподвижных (фиксированных) плит или салазок для подвижных плит шибера. Зажимания обычно производят при помощи зажима, который, с одной стороны, упирается в кромку плиты, а с другой стороны, упирается в регулируемый упор, который служит для прижимания зажима к плите для того, чтобы зафиксировать ее.
В известных зажимах плита удерживается в своем гнезде удовлетворительным образом, однако возникает значительная трудность по причине непостоянства (вариабильности) форм плит, которое может быть вызвано процессом изготовления или же может потребоваться по различным причинам. Это непостоянство может приводить к нарушениям опорного контакта между зажимом и плитой, что приводит к возникновению весьма высоких локализованных напряжений (сил).
С течением времени эти повышенные напряжения могут приводить к повреждению как зажима, так и плиты, которая уже имеет толщины в результате ее нормального износа.
Задачей настоящего изобретения является создание зажима, который не имеет недостатков известных ранее зажимов.
Предметом настоящего изобретения является зажим для шибера для огнеупорной плиты, установленной в гнезде шибера в установке для разливки, причем указанный зажим имеет, с одной стороны, зону приложения осевого усилия, к которой приложено усилие зажимания, которое стремится принудительно прижать зажим к огнеупорной плите, расположенной в гнезде, и, с другой стороны, два конца зажима, каждый из которых может быть прижат к кромке огнеупорной плиты, характеризуемый тем, что зажим выполнен с возможностью упругой деформации, причем каждый из двух концов зажима выполнен таким образом, что он упирается в смежную стенку гнезда за счет соответствующего усилия зажимания (которое превышает усилие, создаваемое зажимом, который просто упирается в кромки плиты), или за счет теплового расширения плиты, вызванного высокими температурами, возникающими в ходе операций разливки, или за счет комбинированного воздействия этих двух процессов.
В патенте ЕР-А1-220070 раскрыт зажимной механизм для плиты в опорной раме. Этот зажимной механизм содержит скобу или U-образный зажим, адаптированный к периферическому профилю торцевой поверхности огнеупорной плиты. Скоба или U-образный зажим имеют средство регулировки и направляющие для установки параллельно периферическому профилю огнеупорной плиты. Так как скоба не упирается одновременно в огнеупорную плиту и в опорную раму (фиг.2), то зажимание может быть обеспечено только самим зажимом, который поэтому должен быть изготовлен из твердого материала.
Когда в рабочем состоянии плита нагревается до высокой температуры и расширяется, то в плите возникают чрезвычайно высокие местные напряжения, так как скоба или U-образный зажим изготовлены из материала, который совершенно не обладает упругостью. С другой стороны, если производить зажимание плиты не сразу, а после того, как она уже нагрелась, то существует риск перемещения плиты в ее опорной раме. Такое перемещение может иметь катастрофические последствия для безопасности персонала и надежности установки.
Одним из преимуществ зажима в соответствии с настоящим изобретением является то, что он автоматически адаптируется к геометрии плиты, которую надо зафиксировать, при этом изменения формы плит, вызванные процессом изготовления, не создают никаких проблем зажимания. Аналогично, способность зажима автоматически адаптироваться к опорным поверхностям плиты за счет своей упругости предотвращает возникновение в самом зажиме чрезмерных напряжений, которые могут приводить к его поломке.
За счет своей упругости зажим в соответствии с настоящим изобретением сам поглощает некоторые деформации плиты, вызванные ее расширением, а затем в ходе операций разливки передает к гнезду плиты усилия зажимания, создаваемые регулируемым упором и деформацией, вызванной расширением плиты.
Другими словами, зажим ведет себя подобно самоустанавливаемой распорке между плитой и ее гнездом.
В том, что касается упругой деформации зажима, то необходимо принимать во внимание следующие факторы: преимущественно следует выбирать зажим с коэффициентом жесткости менее 10 Т/мм, предпочтительно менее 5 Т/мм, а еще лучше, ориентировочно от 1 до 3 Т/мм. Эти величины можно сравнить с теми, которые используют в известных зажимах, а именно в диапазоне от 10 до 30 Т/мм или даже больше. До сих пор всегда считали, что зажим, который непосредственно воздействует на плиту при движении шибера, должен иметь достаточную жесткость и не допускать возникновения малейшего люфта. В такой ситуации необходимо было иметь зажим с коэффициентом жесткости по меньшей мере более 10 Т/мм, а обычно более 20-30 Т/мм. В отличие от известных принципов, в изобретении предлагается намного менее жесткий зажим, упругость которого поглощает часть расширения плиты без генерирования высоких напряжений до того момента, когда концы зажима входят в контакт со стенками гнезда и упираются в них (причем указанные стенки обычно имеют коэффициент жесткости более 40 Т/мм, и даже порядка 150-200 Т/мм в случае некоторых шиберов ковша). После этого зажим действует как распорка между плитой, которая в это момент почти достигла своего максимального размера, и гнездом. Так как плита почти достигла своего максимального размера, когда концы зажима начинают упираться в стенки гнезда, то весьма существенно снижаются развивающиеся в плите напряжения.
Однако преимущественно зажим не должен поглощать всю деформацию, вызванную тепловым расширением плиты, так чтобы последняя оставалась в сжатом состоянии в ходе операций разливки. В самом деле, поддержание плиты в сжатом состоянии является благоприятным, так как при этом любые трещины, которые могут развиться, удерживаются закрытыми.
Зажим преимущественно изготавливают в виде одной детали при помощи обработки на станке, литья или ковки, из материала, который обладает требуемыми свойствами в отношении температурных условий, механической прочности и упругости зажима. В качестве примеров подходящих материалов для изготовления зажима в соответствии с настоящим изобретением можно указать все типы сталей, а в особенности сталь 42СrМо4.
В соответствии с особым вариантом осуществления настоящего изобретения, по меньшей мере, один из двух концов зажима соединен с зоной приложения осевого усилия при помощи упругодеформируемого участка зажима, что позволяет изменять ориентацию конца.
Это изменение ориентации позволяет указанному концу упираться в плиту по контактной поверхности и избежать приложения точечных усилий, вредных для плиты. Вторая опорная поверхность, которая является закругленной, служит в качестве “шарнира”, который позволяет контакту между концом зажима и плитой задавать ориентацию указанного конца таким образом, что контакт становится контактом поверхностного типа.
В соответствии с особым вариантом осуществления, зажим имеет только одну зону приложения осевого усилия, В этом случае усилие зажимания, которое приложено при помощи регулируемого упора в гнезде, автоматически распределяется между двумя концами зажима, что позволяет исключить любой разбаланс между усилиями зажимания, приложенными при помощи двух концов зажима к плите.
Зона приложения осевого усилия преимущественно имеет гладкую поверхность (которая может быть плоской или закругленной) для осуществления контакта с регулируемым упором в гнезде, который может прикладывать свое усилие зажимания в любой точке на этой гладкой поверхности. За счет этого упор может занимать сбалансированное положение между гнездом и зажимом возможно за счет отклонения от продольной оси гнезда по причине асимметрии плиты, без распределения опорного контакта между регулируемым упором гнезда и зоной приложения осевого усилия.
В соответствии с особым вариантом осуществления, по меньшей мере, один из концов зажима имеет, в поперечном сечении, вырез, который позволяет указанному концу заходить под выступ в стенке гнезда.
Этот выступ служит для предотвращения выпадения зажима из гнезда, когда усилие зажимания плиты ослаблено.
Предметом настоящего изобретения является также узел огнеупорной плиты и ее гнезда в виде салазок или фиксированного элемента на раме шибера, который содержит гнездо для установки указанной огнеупорной плиты, характеризуемый тем, что огнеупорная плита удерживается в гнезде при помощи описанного выше зажима.
В соответствии с особым вариантом осуществления изобретения, салазки или фиксированный элемент рамы шибера снабжены зажимным приспособлением, которое прикладывает усилие зажимания к зажиму. Это зажимное приспособление содержит винт, кулачок и упор или же может быть выполнено в любом другом варианте, известном специалистам в данной области.
Это зажимное приспособление преимущественно является съемным, так что в случае его заедания в положении зажима оно легко может быть снято с узла.
Настоящее изобретение также имеет отношение к созданию шибера в установке для разливки, который содержит такой узел, и к установке для разливки.
Настоящее изобретение также имеет отношение к созданию способа зажимания плиты в гнезде шибера в установке для разливки, который включает в себя операцию размещения зажима между плитой и одной кромкой гнезда, причем указанный зажим имеет, с одной стороны, зону приложения осевого усилия, к которой может быть приложено усилие зажимания таким образом, чтобы прижать зажим к плите, расположенной в гнезде, и, с другой стороны, два конца зажима, каждый из которых может быть прижат к стороне плиты, способ характеризуется тем, что приложенное к зажиму усилие зажимания вызывает его упругую деформацию до тех пор, пока каждый из концов зажима не упрется в соответствующую кромку плиты, а преимущественно до тех пор, пока концы зажима не будут достаточно близки к стенкам гнезда, чтобы упираться в них, когда плита расширяется под действием повышенной температуры в ходе разливки.
Указанные ранее и другие характеристики изобретения будут более ясны из последующего детального описания, данного в качестве примера, не имеющего ограничительного характера и приведенного со ссылкой на сопроводительные чертежи.
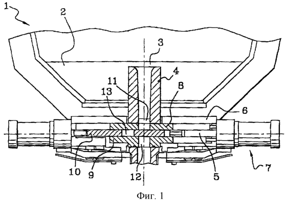
На фиг.1 показано осевое поперечное сечение части дна металлургического резервуара, снабженного шибером. На фиг.2 показан фиксированный элемент рамы шибера. На фиг.3 показан вид подвижных салазок. На фиг.4 показан вид в перспективе одного из зажимов фиг.1-3. На фиг.5 показано сечение по стрелке V-V фиг.3. На фиг.6 показан развернутый вид в перспективе системы регулируемого упора на подвижных салазках.
Показанный на фиг.1 металлургический резервуар 1 имеет дно 2 с отверстием для разливки 3, которое имеет внутреннее сопло 4, пропущенное через дно резервуара и донную плиту 6 рамы шибера. Шибер 7 установлен на резервуаре при совмещении с отверстием для разливки 3. Шибер имеет две фиксированные огнеупорные плиты – верхнюю 8 и нижнюю 9 – и подвижную огнеупорную плиту 10, которая предназначена для скольжения между двумя фиксированными плитами под действием цилиндра 5. Несмотря на то, что на фиг.1 показан шибер с тремя плитами, следует иметь в виду, что настоящее изобретение может быть использовано в вариантах и с двумя плитами, а также в таких вариантах, в которых узел образован одной плитой и другим компонентом для разливки (например, трубой или внутренним соплом).
В каждой из плит 8, 9 и 10 проходит соответствующее сквозное отверстие для разливки 11, 12 и 13, причем эти отверстия имеют главным образом такую же площадь поперечного сечения, что и внутреннее сопло. Регулировку или прерывание разливки производят известным образом за счет перемещения подвижной плиты 10 таким образом, чтобы изменять размер отверстия, образованного совмещением отверстий для разливки в трех плитах. В примере, показанном на фиг.2 и 3, каждая из плит 8, 9 и 10 является круглой. Каждая плита установлена в своем гнезде за счет зажимания при помощи U-образного зажима 14, показанного на фиг.4. Неподвижная плита 8 зажата в фиксированном элементе рамы шибера (не показан), неподвижная плита 9 зажата в крышке шибера, которая показана на фиг.2, а подвижная плита 10 зажата в подвижных салазках, которые видны на фиг.3. Крышка 15 на фиг.2 имеет на краях ряд элементов, которые здесь не объясняются, так как они не являются необходимыми для понимания изобретения. В своей центральной части крышка имеет выемку 16, имеющую главным образом такую же толщину, что и огнеупорная плита 9, в которую входит эта плита и зажим 14.
Плита 9 имеет удлиненную форму в виде прямоугольника с четырьмя усеченными углами, как это описано, например, в патенте ЕР 99870258.3 или в документе WO 98/05451. Плита зафиксирована в своем гнезде при помощи своих четырех кромок, образованных усеченными углами прямоугольника. Кромки 18 и 18′ упираются в фиксированные упоры 20 и 20′, в то время как кромки 19 и 19′ поддерживаются концами 21 и 21′ зажима 14.
Как это лучше всего показано на фиг.4, каждый конец 21, 21′ зажима имеет первую опорную поверхность, образованную при помощи плоской внутренней стороны 22, 22′, которая упирается в одну из кромок 19, 19′ плиты, и вторую опорную поверхность, образованную при помощи закругленной поверхности 23, 23′, расположенной напротив плоской стороны 22, 22′, которая предназначена для упора в кромку 24, 24′ гнезда 16, образованного в крышке 15. Закругленная форма поверхности 23, 23′ обеспечивает линейный контакт со стороной 24, 24′ гнезда, так что никакая особая ориентация конца 21, 21′ зажима не получает преимущества в прижиме к указанной кромке. Таким образом, за счет своего контакта с плоской кромкой 19, 19′ плоская сторона 22, 22′ может задавать такую ориентацию конца 21, 21′, что образованный таким образом контакт является контактом поверхностного типа. Каждый конец 21, 21′ соединен с корпусом зажима при помощи зоны пониженного поперечного сечения 34, 34′, которая придает повышенную упругую деформируемость этой площади зажима, что позволяет получать правильную ориентацию каждого конца относительно плиты.
Кроме указанной локальной упругости зажима у его концов в деформировании зажима 14 также участвует внутреннее или внешнее перемещение его двух плеч, которое также является упругим. За счет этого зажим может точно воспринимать форму плиты, при этом его два конца входят между стороной 24, 24′ гнезда и каждой стороной 19, 19′, причем каждый конец 21, 21′ принимает свою оптимальную индивидуальную ориентацию, как это только что было описано.
На фиг.3 показаны подвижные салазки 26, которые поддерживают подвижную плиту 10. Кроме различных элементов на краях, которые не будет здесь описаны, салазки имеют в своей центральной части гнездо 27 для установки подвижной плиты 10, которая фиксируется при помощи зажима 14. Поступательное перемещение салазок обеспечивается при помощи цилиндра 5, шток плунжера которого входит в предназначенную для этого выемку 28. На фиксированном (неподвижном) элементе рамы 15 и на подвижных салазках 26 зажим удерживается в гнезде при помощи своих двух концов, даже если не приложено усилие зажимания, за счет выреза 29 в каждом конце 21, 21′ и выступа 30, 30′ на кромке 24, 24′ гнезда, как это показано на фиг.5. Зажим 14 может быть извлечен из гнезда только за счет выхода со скольжением своих двух концов 21, 21′ из выступов, что невозможно, пока подвижный упор, который прижимает зажим к плите, остается на месте даже тогда, когда к этому подвижному упору не приложена сила.
На фиг.6 показан детально пример подвижного упора, который имеет резьбовую часть 31, которая входит в выемку 32, предусмотренную для этого на боковой стороне гнезда, по продольной оси гнезда. После введения резьбовую часть 31 закрепляют в щели при помощи крепежных винтов 33. Может быть предусмотрен также контровочный винт (не показан), который проходит внутри гнезда и упирается во внешнюю гладкую поверхность 25 (фиг.4) зоны приложения осевого усилия зажима.
Принимая во внимание, что эта поверхность 25 является цилиндрической и гладкой, не возникает никакой преимущественной точки упора винта в эту поверхность, что позволяет зажиму принимать наиболее подходящее положение для крепления плиты, причем это положение определяется единственно опорным контактом его концов 21, 21′ между сторонами 19, 19″ и стороной 24, 24′.
Единственное усилие, которое создается при помощи контровочного винта зажима, автоматически балансируется между двумя концами 21, 21′, что гарантирует крепление плиты в ее гнезде. В другом варианте (не показан) винт может быть заменен кулачком.
Несмотря на то, что был описан предпочтительный вариант осуществления изобретения, совершенно ясно, что он не имеет ограничительного характера и в него специалистами в данной области могут быть внесены изменения и дополнения, которые не выходят однако за рамки приведенной далее формулы изобретения.
Формула изобретения
1. Зажим для огнеупорной плиты, установленной в гнезде шибера (7) установки для разливки, имеющий с одной стороны зону (25) приложения осевого усилия зажимания и прижатия его к огнеупорной плите и с другой стороны два конца (21, 21′), приспособленных для прижатия к кромке (19, 19′) огнеупорной плиты, отличающийся тем, что зажим изготовлен из упругодеформируемого материала, причем каждый из двух концов (21, 21′) зажима выполнен с возможностью упругого деформирования до тех пор, пока он не упрется в соответствующую кромку огнеупорной плиты при приложении к зажиму усилия зажимания и в смежную стенку гнезда шибера под действием усилия зажимания и/или за счет теплового расширения плиты.
2. Зажим по п.1, отличающийся тем, что он выполнен в виде одной детали.
3. Зажим по п.1 или 2, отличающийся тем, что, по меньшей мере, один из его концов (21, 21′) соединен с зоной приложения осевого усилия при помощи упругодеформируемого участка, позволяющего изменять ориентацию конца.
4. Зажим по п.1, отличающийся тем, что зона приложения осевого усилия имеет гладкую поверхность для приложения усилия зажимания в любой точке на этой поверхности.
5. Зажим по любому из пп.1-4, отличающийся тем, что, по меньшей мере, один из его концов имеет в поперечном сечении вырез для захода конца под выступ (30, 30′) в стенке (24, 24′) гнезда шибера.
6. Зажим по любому из пп.1-5, отличающийся тем, что, по меньшей мере, один из его концов имеет плоскую опорную поверхность (22, 22′), предназначенную для упора в соответствующую кромку (19, 19′) огнеупорной плиты, и закругленную опорную поверхность (23, 23′), предназначенную для упора в стенку гнезда (24, 24′).
7. Узел огнеупорной плиты и салазок или фиксированного элемента рамы шибера (6, 15), содержащий гнездо для приема огнеупорной плиты и зажим для крепления огнеупорной плиты в гнезде, отличающийся тем, что зажим выполнен в соответствии с одним из пп.1-6.
8. Узел по п.7, отличающийся тем, что салазки или фиксированный элемент рамы шибера (6, 15) снабжены зажимным приспособлением для приложения усилия зажимания к зажиму, при этом зажимное приспособление содержит винт, кулачок или упор.
9. Шибер установки для разливки, отличающийся тем, что он содержит узел, выполненный в соответствии с п.7 или 8.
10. Установка для разливки, расположенная между верхним металлургическим резервуаром и нижним металлургическим резервуаром, отличающаяся тем, что она содержит шибер, выполненный в соответствии с п.9.
11. Способ зажимания плиты в гнезде шибера в установке для разливки, включающий размещение зажима (14) между плитой и одной стенкой гнезда, имеющего с одной стороны зону приложения осевого усилия зажимания и прижатия его к огнеупорной плите и с другой стороны два конца (21, 21′), приспособленных для прижатия к кромке огнеупорной плиты, отличающийся тем, что зажим выполняют в соответствии с одним из пп.1-6, прикладывают к зажиму усилие зажимания и вызывают упругую деформацию его до тех пор, пока каждый из концов (21, 21′) зажима не упрется в соответствующую кромку плиты и концы зажима будут достаточно близки к стенкам (24, 24′) гнезда, чтобы иметь возможность упора в них при тепловом расширении плиты.
12. Способ по п.11, отличающийся тем, что усилие зажимания прикладывают к зажиму в единственной точке.
РИСУНКИ
|
|