|
|
(21), (22) Заявка: 2004101600/12, 19.01.2004
(24) Дата начала отсчета срока действия патента:
19.01.2004
(45) Опубликовано: 20.06.2005
(56) Список документов, цитированных в отчете о поиске:
RU 2017541 C1, 15.08.1994. RU 2017542 C2, 15.08.1994. RU 1821247 A1, 15.06.1993. GB 2155554 A, 25.09.1985. GB 2147483 А, 15.05.1985. FR 2529103 A2, 30.12.1983. DE 343810 A, 18.10.1984. RU 2196539 C2, 20.01.2003. RU 2196540 С2, 20.01.2003.
Адрес для переписки:
346428, Ростовская обл., г. Новочеркасск, ул. им. Ф. Энгельса, 42, кв.9, О.Н. Моисееву
|
(72) Автор(ы):
Моисеев О.Н. (RU)
(73) Патентообладатель(и):
Моисеев Олег Николаевич (RU)
|
(54) УСТРОЙСТВО ДЛЯ ОБРАБОТКИ ЖИВОТНЫХ И ПОМЕЩЕНИЙ АЭРОЗОЛЕМ БАЛЛОНЧИКА
(57) Реферат:
Предлагаемое изобретение относится к ветеринарной и медицинской технике, конкретно к устройствам и приспособлениям, позволяющим проводить лечебно-профилактические и гигиенические обработки без присутствия оператора в опасной для его здоровья зоне. Предлагаемое устройство содержит расположенный в корпусе соленоид, который при включении электротока пультом управления опускает вниз подпружиненный сердечник, снабженный стержнем с закругленным концом, контактирующим нужное время с головкой клапана, обеспечивающим выход аэрозоля нужное время. При выключении электротока пультом дистанционного управления соленоид прекращает притягивать сердечник, он поднимается вверх пружинами, закругленный конец его стержня прекращает взаимодействовать с головкой клапана, закрывающего выходное отверстие, прекращающего ход аэрозолю во внешнюю среду. Считаем, что предлагаемое устройство найдет применение в ингаляториях, при обработках аэрозолями животных и помещений различного назначения без присутствия оператора. Техническим результатом изобретения является обеспечение возможности автоматизирования процесса включения-выключения клапана баллончика в нужное время суток и на заданную длительность работы без присутствия оператора. 2 ил. 
Предлагаемое изобретение относится к ветеринарной и медицинской технике, конкретно к устройствам и приспособлениям, позволяющим проводить лечебно-профилактические и гигиенические обработки без присутствия оператора в опасной для его здоровья зоне.
По патенту РФ №2196539 С2, кл. А 61 D 7/00, 20.01.2003 известно устройство для обработки животных и помещений аэрозолем, содержащее установленный на основании с помощью средств для закрепления баллончик с клапаном, имеющим головку, и соленоид с подпружиненным сердечником, имеющим стержень.
Основные недостатки известного устройства следующие:
– для перемещения вниз и включения клапана оператор должен непосредственно сместить винт и дышать во время нахождения в закрытом помещении ядовитыми и вредными веществами аэрозоля;
– не позволяет дистанционно выключить клапан из работы.
Задачей изобретения является автоматизация включения -выключения клапана баллончика в нужное время на нужную длительность без присутствия в помещении оператора.
Поставленная задача решается тем, что в устройстве для обработки животных и помещений аэрозолем баллончика, содержащем установленный на основании с помощью средств для закрепления баллончика с клапаном, имеющим головку, и соленоид с подпружиненным сердечником, согласно изобретению стержень подпружиненного сердечника выполнен с закругленным концом, размещенным с возможностью контакта с верхней поверхностью головки клапана при включении соленоида до полного освобождения баллончика от содержимого, а средства для закрепления баллончика выполнены в виде парных ножек-зацепов корпуса, охватывающего соленоид, между кромками которых установлена верхняя часть баллончика.
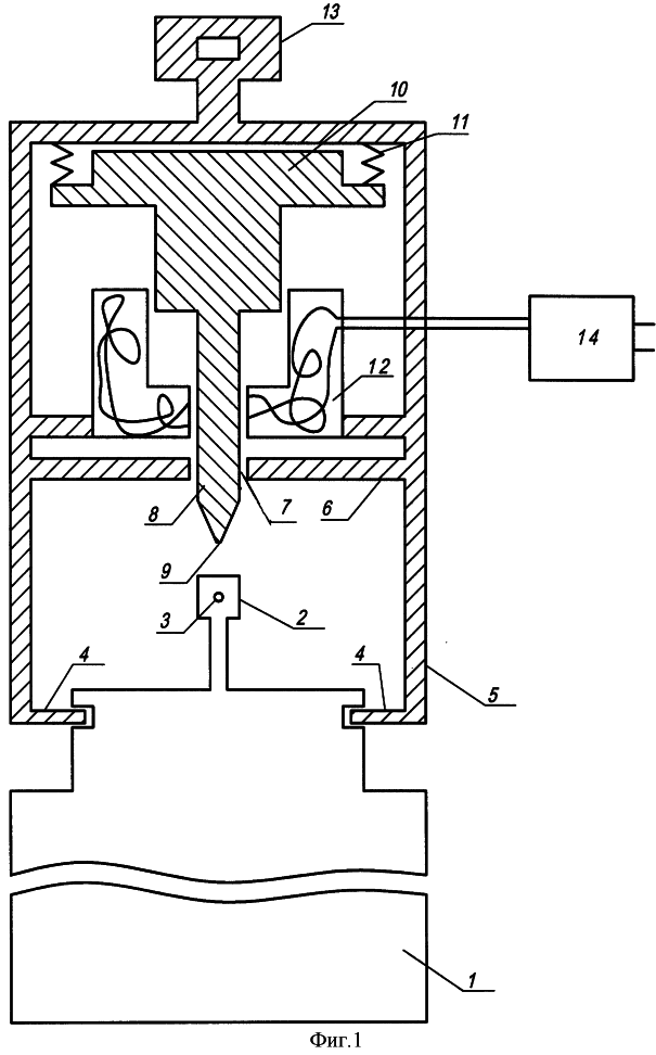
Устройство схематично изображено на фиг.1 в нерабочем, на фиг.2 в рабочем положении.
Устройство содержит установленный с помощью средств для закрепления баллончик 1 с головкой 2 клапана с соплом 3, закрепленного между парными кромками ножек-зацепов 4 корпуса 5, пластину 6 с направляющим отверстием 7, стержень 8 с закругленным концом 9, размещенным с возможностью контакта с верхней поверхностью головки 2 клапана при включении его в работу до полного освобождения баллончика от содержимого, сердечник 10, его пружины 11, соленоид 12, охватываемый парными ножками-зацепами 4 корпуса 5.
Позицией 13 обозначена скоба, 14 – пульт дистанционного управления.
Работа устройства: посредством скобы 13 прикрепляют устройство к потолку, скобе стойки помещения, между кромками ножек-зацепов 4 закрепляют верхнюю часть баллончика 1, задают программу работы пульту 14 дистанционного управления.
В заданное программой время пульт 14 включается в работу и выдает электроток. Он по проводам поступает в соленоид 12, намагничивает его. Вследствие этого он притягивает сердечник 10, при этом пружины 11 растягиваются, стержень 8 перемещается вниз по направляющему отверстию 7, закругленный конец 9, не смещаясь с места, нажимает на головку 2 клапана, через сопло 3 в воздух помещения выходит в одну сторону аэрозоль.
По истечении заданного времени пульт 14 дистанционного управления выключается, при этом прекращается поступление электротока в соленоид 12. Под воздействием пружин 11 сердечник 10 поднимается вверх со стержнем 8, перемещающимся в направляющем отверстии 7 пластины 6, закругленный конец 9 его отходит от верхней поверхности головки 2 клапана баллончика 1, выход аэрозоля через сопло 3 прекращается.
В заданное время пульт 14 дистанционного управления включится и вся работа повторится по новой.
Считаем, что предлагаемое устройство найдет применение в ингаляториях, при лечебно-профилактических обработках животных в закрытых небольших фермерских помещениях, при санитарных обработках складских и других помещений аэрозолями без присутствия оператора.
Формула изобретения
Устройство для обработки животных и помещений аэрозолем баллончика, содержащее установленный с помощью средств для закрепления баллончик с клапаном, имеющим головку, и соленоид с подпружиненным сердечником, отличающееся тем, что стержень подпружиненного сердечника выполнен с закругленным концом, размещенным с возможностью контакта с верхней поверхностью головки клапана при включении соленоида до полного освобождения баллончика от содержимого, а средства для закрепления баллончика выполнены в виде парных ножек-зацепов корпуса, охватывающего соленоид, между кромками которых установлена верхняя часть баллончика.
РИСУНКИ
|
|