|
(21), (22) Заявка: 2000112737/03, 11.05.2000
(24) Дата начала отсчета срока действия патента:
11.05.2000
(43) Дата публикации заявки: 20.06.2002
(45) Опубликовано: 20.06.2005
(56) Список документов, цитированных в отчете о поиске:
RU 2057587 C1, 10.04.1996. RU 2062147 C1, 22.06.1996. RU 2007948 C1, 28.02.1994. SU 938907 A, 05.07.1982. SU 412937 A, 31.05.1974. GB 1249816 A, 13.10.1971. GB 2180170 A, 25.03.1987. US 4610397 A , 09.09.1986. FR 2374087 A1, 13.07.1978.
Адрес для переписки:
633128, Новосибирская обл., п. Краснообск, а/я 443, ОПКТБ СибНИПТИЖ
|
(72) Автор(ы):
Власов В.Н. (RU), Власова М.В. (RU), Трусов Н.А. (RU), Безродных В.М. (RU), Клишин В.И. (RU)
(73) Патентообладатель(и):
Опытное проектно-конструкторско-технологическое бюро Сибирского научно-исследовательского и проектно-технологического института животноводства ОПКТБ СибНИПТИЖ (RU)
|
(54) ИЗМЕЛЬЧИТЕЛЬ
(57) Реферат:
Изобретение предназначено для измельчения пищевых продуктов. Измельчитель включает корпус, воронку для загрузки кусков сырья, режущий орган, выполненный в виде конической измельчительной полости с жестко закрепленными на внутренней боковой поверхности измельчительными продольными лезвийными ножами, в стенке конической измельчительной полости выполнено, по меньшей мере, одно поперечное окно, на кромке которого закреплен подрезной поперечный лезвийный нож с образованием щели, и в этой же полости смонтирована, по меньшей мере, одна лопатка. Коническая измельчительная полость может быть установлена вертикально с раструбом и приемной воронкой, в раструбе выполнена проточка, а на приводном венце закреплены лопатки. Коническая измельчительная полость может быть выполнена под наклоном к горизонтальной плоскости, а в приводном венце смонтирована винтовая лопасть. Измельчительные продольные лезвийные ножи могут быть установлены на внутренней боковой поверхности конической измельчительной полости по винтовой линии, а подрезной поперечный лезвийный нож снабжен элементами изменения угла наклона. Изобретение позволяет повысить качество мясного фарша. 5 з.п. ф-лы, 10 ил. 
Предлагаемое изобретение относится к устройствам для измельчения пищевых продуктов, преимущественно мяса, и может быть использовано в домашних и производственных условиях для приготовления мясного фарша, пельменей, беляшей, биточков и т.п.
При изготовлении фарша из мяса в домашних условиях необходимо в первую очередь заботиться о вкусовых качествах получаемого продукта. Известна мясорубка, которая содержит корпус с загрузочной горловиной, полый цилиндр для размещения внутри него шнека с проходным отверстием для выходного вала шнека, рукоятку и упругий элемент в виде витков пружины, крестообразный нож, перфорированную решетку и нажимное кольцо. Дополнительно в мясорубку введен упругий элемент в виде двух тарельчатых пружин с центральными отверстиями, скрепленных большими основаниями заодно, а отверстия перфорированной решетки размещены серпообразно по лагорифмической спирали, которая расположена под углом 30-60° к радиусу кривизны (патент RU 2099141 С1, 20.12.1997).
Недостатком мясорубки являются низкие вкусовые качества получаемого мясного фарша из-за выдавливания жидких ферментов из клетчатки мяса при прессовании через решетку во время измельчения.
Наиболее близким по технической сущности изобретением является измельчитель, включающий корпус, воронку для загрузки кусков сырья, режущий орган с ножами, привод (RU 2057587 С1, 10.04.1996).
Недостатком известного изобретения является невозможность получения мясного фарша для пельменей высокого вкусового качества из-за выдавливания жидких ферментов из клетчатки мяса при прессовании через решетку. Кроме того, это устройство имеет ограниченную производительность.
Задачей изобретения является создание измельчителя для качественного приготовления мясного фарша с малым расходом потребляемой энергии.
Поставленная задача решается тем, что в измельчителе, включающем корпус, воронку для загрузки кусков сырья, режущий орган с ножами, привод, согласно изобретению режущий орган выполнен в виде конической измельчительной полости с жестко закрепленными на внутренней боковой поверхности измельчительными продольными лезвийными ножами, и в стенке конической измельчительной полости выполнено по меньшей мере одно поперечное окно, на кромке которого закреплен подрезной поперечный лезвийный нож с образованием щели для выхода из конической измельчительной полости срезанного поперечным лезвийным ножом сырья и в этой же полости смонтирована, по меньшей мере, одна лопатка с внешними элементами привода с возможностью вращательного перемещения лопатки над внутренней боковой поверхностью конической измельчительной полости.
В предлагаемом техническом решении измельчение мяса ведется резанием с помощью продольных лезвийных ножей, жестко закрепленных на внутренней боковой поверхности конической измельчительной полости. Измельчение острыми продольными лезвийными ножами (лезвийные ножи по определению всегда острые) производится без сдавливающих нагрузок, что сохраняет кусочки мяса насыщенными естественными жидкими компонентами. В измельчителе предусматривается измельчение мяса в тонкой приграничной зоне, находящейся на контакте с внутренней боковой поверхностью конической измельчительной полости.
Для того чтобы не было переизмельчения, этот слой непрерывно срезается подрезным поперечным лезвийным ножом и удаляется из конической измельчительной полости. Измельчение мяса резанием с помощью острых лезвийных ножей с ограниченной площадью соприкосновения поверхностно полученным срезом характеризуется малой энергоемкостью, что снизит мощность привода.
Коническая форма измельчительной полости обеспечивает компактное самоцентрирующее расположение сырья в полости измельчителя. При послойном срезании обеспечивается равномерное опускание сырья в конической измельчительной полости, что исключает его переизмельчение. Кроме того, обеспечивается равномерная нагрузка на все установленные лезвийные ножи. Каждый из лезвийных ножей обрабатывает свою зону, и при обоснованном размещении измельчительных лезвийных ножей обеспечивается равномерное измельчение сырья до заданной крупности. При измельчении не происходит сжатия и выдавливания жидких компонентов, что и обеспечивает в последующем вкусовые качества при минимальном расходе на измельчение.
Кроме того, коническая измельчительная полость установлена вертикально с раструбом и приемной воронкой, а в раструбе выполнена проточка для размещения приводного венца, кинематически связанного с приводом, и на приводном венце закреплены лопатки вращательного перемещения сырья над внутренней боковой поверхностью конической измельчительной полости, при этом коническая измельчительная полость выполнена под наклоном к горизонтальной плоскости.
Это обеспечивает перемещение сырья механизмом над внутренней боковой поверхностью с минимальным количеством деталей. Кроме того, если коническую измельчительную полость выполнить из материала, обладающего водоотталкивающими свойствами, или покрыть не смачивающими покрытиями, то значительно сокращаются энергетические расходы на вращение сырья. Подводимая энергия будет расходоваться только на измельчение мяса до заданной крупности без переизмельчения, что и создает возможность установки привода меньшей мощности, снижает расходы на изготовление и расходы энергии при эксплуатации.
Такое исполнение позволяет использовать собственный вес сырья для создания его прижима к режущим кромкам подрезных продольных и измельчительных поперечных лезвийных ножей, что обеспечит равномерное резание (измельчение) при минимальных нагрузках и минимальных расходах энергии. Кроме того, предлагаемое техническое решение упрощает конструктивное оформление измельчителя.
Выполнение конической измельчительной полости под наклоном к горизонтальной плоскости упрощает технологию обслуживания измельчителя при его санитарной обработке за счет создания удобства замены лезвийных ножей.
Кроме того, в приводном венце смонтирована винтовая лопасть загрузки сырьем конической измельчительной полости, измельчительные продольные лезвийные ножи установлены на внутренней боковой поверхности конической измельчительной полости по винтовой линии.
Винтовая полость выполнена в специальном кольце, посредством которого она устанавливается и закрепляется в приводном венце при необходимости принудительной загрузки сырьем конической измельчительной полости. Это обеспечивает возможность использования измельчителя для переработки сырья с повышенной прочностью, например полузамершего мяса, или при переработке овощных культур.
Расположение измельчительных продольных лезвийных ножей на внутренней боковой поверхности конической измельчительной полости по винтовой линии расширяет область воздействия каждым данным ножом и обеспечивает принудительное опускание столба сырья вкручивающими действиями. Для повышения степени измельчения часть измельчительных продольных лезвийных ножей устанавливают по винтовой линии в противоположном направлении, а часть – по круговой траектории. Вышеуказанное обеспечивает конструктивно заданную кусковатость измельченного материала, исключает переизмельчение, а также травмирование (сдавливание) отдельных частей кусочков, что повышает вкусовые качества получаемого фарша и снижает расходы энергии на переизмельчение.
Кроме того, подрезной поперечный лезвийный нож, установленный на кромке окна в корпусе конической измельчительной полости, снабжен элементами изменения угла наклона к боковой поверхности и толщины срезаемой стружки сырья.
Данное техническое решение позволяет регулировать крупность измельчения мясного фарша в необходимых размерах, исключает переизмельчение, что повышает вкусовые качества полученного фарша и снижает расходы на переизмельчение.
Сущность технического решения поясняется примером конкретного исполнения, где на:
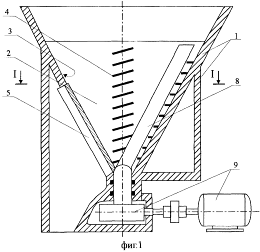
фиг.1 показана принципиальная схема измельчителя, проекция на вертикальную плоскость;
фиг.2 – то же, сечение I-I на фиг.1;
фиг.3 – узел “а” на фиг.2 размещения измельчительного продольного лезвийного ножа на боковой поверхности конической измельчительной полости;
фиг.4 – то же, что и фиг.3 при использовании измельчительного продольного лезвийного ножа повышенной высоты;
фиг.5 – то же, разрез II-II на фиг.4;
фиг.6 – принципиальная схема измельчителя с размещением обечайки над конической измельчительной полостью;
фиг.7 – принципиальная схема измельчителя с принудительным заполнением конической измельчительной полости, проекция на вертикальную плоскость;
фиг.8 – то же, сечение III-III на фиг.7;
фиг.9 – крепление подрезного поперечного лезвийного ножа;
фиг.10 – измельчитель с наклонно установленной конической измельчительной полостью.
Измельчитель состоит из каркаса 1, в котором размещена коническая измельчительная полость 2 с внутренней боковой поверхностью 3, на которой жестко закреплены измельчительные продольные лезвийные ножи 4 (фиг.1, 2). В стенке конической измельчительной полости 2 выполнено по меньшей мере одно окно 5, на кромке которого закреплен подрезной поперечный лезвийный нож 6 с образованием щели 7 для выхода из конической измельчительной полости 2 срезанного поперечным лезвийным ножом сырья.
В конической измельчительной полости 2 смонтирована по меньшей мере одна лопатка 8 с приводом 9, с возможностью вращательного перемещения лопатки 8 над внутренней боковой поверхностью 3 конической измельчительной полости 2. Привод 9 выполнен, например, электродвигателем с червячной передачей. Измельчительные продольные лезвийные ножи 4 закрепляются на внешней стороне корпуса 1 с помощью быстроразъемного соединения 10, а их лезвийная часть размещается в гнездах 11 (фиг.3) боковой стенки 12 конической измельчительной полости 2. В конической измельчительной полости 2 измельчительные продольные лезвийные ножи 4 выходят по хорде 13 на высоту, равную 2-5 слоев снимаемой стружки, причем длина размещения измельчительных продольных лезвийных ножей 4 в конической измельчительной полости 2 равна половине хорды 13 (это снижает сопротивление ножа в мясном сырье).
Расположение измельчительного продольного лезвийного ножа 4 по хорде 13 обеспечивает минимальное сопротивление резанию. Измельчительные продольные лезвийные ножи 4 на внутренней боковой поверхности 3 обеспечивают траекторию перемещения в сырье по винтовой линии по ходу вращения лопатки 8 и винтовой линии против вращения лопатки 8. Подбором величины угла с последующим экспериментальным уточнением определяют конструктивную схему расположения измельчительных продольных лезвийных ножей 4 и глубины их вхождения в мясное сырье для переработки.
Часть измельчительных продольных лезвийных ножей 4, выполняющих круговую траекторию, могут быть выполнены с повышенной глубиной внедрения в сырье (фиг.4, 5) для разрезания соединительных тканей. Для этого в лопатке 8 предусматривается прорезь 14 для прохода измельчительного продольного лезвийного ножа 4 повышенной величиной заглубления в сырье. На лопатках 8 (когда их две и более) можно закреплять обечайку 15 с небольшим наклоном боковой поверхности (фиг.6). Наличие обечайки 15 позволяет увеличить величину столба сырья в измельчителе, что повысит стабильность его работы. Обечайка 15 вращается совместно с лопатками 8. Для обеспечения безопасности работы она может быть защищена неподвижным кожухом 16. Для уменьшения сопротивления вращательному перемещению сырья внутренняя поверхность обечайки 15 и внутренняя боковая коническая поверхность 3 конической измельчительной полости 2 может быть покрыта водонесмачивающим и жироотталкивающим покрытием.
При выполнении измельчителя с вертикальным расположением конической измельчительной полости 2 над ней могут размещать раструб 17 с приемной воронкой 18 (фиг.7). В раструбе 17 выполнена проточка 19 для размещения приводного венца 20, кинематически связанного с приводом, например, зубчатой передачей. В приводном венце 20 смонтирована винтовая лопасть 21 загрузки, выполненная на кольце 22, что обеспечивает совместное вращение и принудительную подачу сырья из раструба 17 в коническую измельчительную полость 2.
Подрезной поперечный лезвийный нож 6 (фиг.8, 9), установленный на кромке окна 5 в корпусе конической измельчительной полости 2, снабжен элементами настройки, например, посредством сменных прокладок 23, с помощью которых изменяется угол наклона подрезного поперечного лезвийного ножа 6 и толщина снимаемой стружки. Для удобства обслуживания измельчителя коническая измельчительная полость 2 может быть смонтирована под наклоном к горизонту (фиг.10).
Пример работы измельчителя приведен ниже.
Включается привод 9, который вращает лопатку 8 над внутренней боковой поверхностью 3 конической измельчительной полости 2 (фиг.1, 2). В коническую измельчительную полость 2 помещают кусочки мяса, которые подхватываются лопаткой 8 и перемещаются над внутренней боковой поверхностью 3. При этом движении кусочки мяса встречаются с измельчительными продольными лезвийными ножами 4 (фиг.1, 2, 3), выступающими над внутренней боковой поверхностью 3. Малый угол наклона измельчительного продольного лезвийного ножа 4 (фиг.4) обеспечивает хорошую, надежную зарезку (образование начальной фазы) в кусочке мяса и дальнейшее образование надреза при минимальных затратах энергии. Величина выступающей части измельчительного продольного лезвийного ножа 4 равна двум-трем миллиметрам на длине в половину хорды 13, что обеспечивает минимальное сопротивление измельчительному продольному лезвийному ножу 4, следовательно, и малый расход энергии на эту операцию.
На внутренней боковой конической поверхности 3 установлен комплект измельчительных продольных лезвийных ножей 4 с траекториями перемещения в мясном сырье по левой или правой винтовой навивке, а также по круговой траектории. При перемещении по внутренней боковой поверхности 3 конической измельчительной полости 2 кусочки мяса разрезаются на множество надрезов на глубину два-три миллиметра. Кроме того, часть измельчительных продольных лезвийных ножей 4 перемещаются в сырье по круговой траектории и имеют повышенную высоту – три-пять и более миллиметров (фиг.4, 5), что позволяет разрезать связи на большую глубину.
При движении лопатки 8 измельченное мясное сырье на контакте с внутренней боковой поверхностью 3 конической измельчительной полости 2 проходит над окном 5, где посредством подрезного поперечного лезвийного ножа 6 подрезается в виде стружки толщиной в половину миллиметра до миллиметра и более. Далее через щель 7 (фиг.8, 9) сырье выдается из конической измельчительной полости 2. Толщина срезаемой стружки регулируется, например, сменными прокладками 23.
Внутренняя боковая поверхность 3 конической измельчительной полости 2 может быть покрыта материалом, обладающим водоотталкивающими свойствами, что обеспечивает минимальное трение сцепления между измельчаемым мясом и внутренней боковой поверхностью 3, а также сокращает затраты энергии на эту операцию.
Поджатие сырья в конической измельчительной полости 2 осуществляется под действием собственного веса, а острые лезвийные ножи обеспечивают нормальное измельчение. Для повышения надежности работы измельчителя можно увеличить высоту столба кусочков мяса за счет дополнительной вращающей обечайки 15 (фиг.6). Кроме того, над конической измельчительной полостью 2 может быть установлен раструб 17 (фиг.7), в проточке 19 которого размещен приводной венец 20 с винтовой лопастью 21. При помощи вращающейся винтовой лопасти 21 осуществляется принудительная подача кусочков мяса в коническую измельчительную полость 2.
Измельчитель обеспечивает резание кусочков мяса до необходимой крупности без травмирования и отжима жидких компонентов, что в последующем обеспечит вкусное приготовление мясных изделий (пельменей, беляшей и т.п.). Для упрощения обслуживания измельчителя, замены лезвийных ножей, разборки и промывки деталей измельчитель выполняют с наклонным расположением конической измельчительной полости 2 к горизонтальной плоскости (фиг.10).
Измельчение резанием в конструктивно заданном объеме исключает переизмельчение и обеспечивает минимальный расход энергии на эту операцию. Этому также способствует перемещение сырья по внутренней боковой поверхности 3 конической измельчительной полости 2, выполненной из материалов, обладающих несмачивающими свойствами и препятствующих накоплению жира.
Формула изобретения
1. Измельчитель, включающий корпус, воронку для загрузки кусков сырья, режущий орган с ножами, привод, отличающийся тем, что режущий орган выполнен в виде конической измельчительной полости с жестко закрепленными на внутренней боковой поверхности измельчительными продольными лезвийными ножами, и в стенке конической измельчительной полости выполнено, по меньшей мере, одно поперечное окно, на кромке которого закреплен подрезной поперечный лезвийный нож с образованием щели для выхода из конической измельчительной полости срезанного поперечным лезвийным ножом сырья и в этой же полости смонтирована, по меньшей мере, одна лопатка с внешними элементами привода с возможностью вращательного перемещения лопатки над внутренней боковой поверхностью конической измельчительной полости.
2. Измельчитель по п.1, отличающийся тем, что коническая измельчительная полость установлена вертикально с раструбом и приемной воронкой, а в раструбе выполнена проточка для размещения приводного венца, кинематически связанного с приводом, и на приводном венце закреплены лопатки вращательного перемещения сырья над внутренней боковой поверхностью конической измельчительной полости.
3. Измельчитель по любому из пп.1 и 2, отличающийся тем, что коническая измельчительная полость выполнена под наклоном к горизонтальной плоскости.
4. Измельчитель по любому из пп.2 и 3, отличающийся тем, что в приводном венце смонтирована винтовая лопасть загрузки сырьем конической измельчительной полости.
5. Измельчитель по п.1, отличающийся тем, что измельчительные продольные лезвийные ножи установлены на внутренней боковой поверхности конической измельчительной полости по винтовой линии.
6. Измельчитель по п.1, отличающийся тем, что подрезной поперечный лезвийный нож, установленный на кромке окна в корпусе конической измельчительной полости, снабжен элементами изменения угла наклона к боковой поверхности и толщины срезаемой стружки сырья.
РИСУНКИ
MM4A Досрочное прекращение действия патента Российской Федерации на изобретение из-за неуплаты в установленный срок пошлины за поддержание патента в силе
Дата прекращения действия патента: 12.05.2005
Извещение опубликовано: 27.01.2007 БИ: 03/2007
|