|
(21), (22) Заявка: 2004106767/12, 11.03.2004
(24) Дата начала отсчета срока действия патента:
11.03.2004
(45) Опубликовано: 20.06.2005
(56) Список документов, цитированных в отчете о поиске:
RU 2111032C1, 20.05.1998. FR 2666233 A, 06.03.1992. WO 9428975 A, 22.12.1994.
Адрес для переписки:
105318, Москва, ул. Вельяминовская, 32, ФГУП “Государственное научно-производственное предприятие “Базальт”
|
(72) Автор(ы):
Кореньков В.В. (RU), Терешин А.А. (RU), Супрунов Н.А. (RU), Гарнов Н.К. (RU), Мелков В.Н. (RU), Власов В.Ф. (RU)
(73) Патентообладатель(и):
Федеральное государственное унитарное предприятие “Государственное научно-производственное предприятие “Базальт” (RU)
|
(54) АВИАЦИОННОЕ СРЕДСТВО ПОЖАРОТУШЕНИЯ
(57) Реферат:
Изобретение относится к средствам борьбы с пожарами, а более точно касается устройства для локализации и/или тушения пожара, и может быть использовано для эффективной борьбы с крупномасштабными и мощными пожарами, в том числе лесными и лесостепными, а также с пожарами, возникающими в труднодоступных местах как географически (крутые горы, непроходимая тайга, джунгли), так и по причине близкого расположения источника опасности (взрывы, высокая температура). Авиационное средство пожаротушения включает выполненные из термопластичного материала стабилизатор и емкость, в полости которой размещены диспергирующий заряд и огнетушащий состав, взрывательное устройство и подвесную систему в виде накладки с ушками и элементов, охватывающих емкость, при этом подвесная система соединена гибкой связью с дном стабилизатора и снабжена механизмом расцепления и элементами принудительного отделения от емкости. Технический результат состоит в исключении осколочного поля при срабатывании авиационного средства пожаротушения при одновременном увеличении поверхности взаимодействия огнетушащего состава с горящим материалом. 3 з.п. ф-лы, 3 ил. 
Изобретение относится к средствам борьбы с пожарами, а более точно касается устройства для локализации и/или тушения пожара, и может быть использовано для эффективной борьбы с крупномасштабными и мощными пожарами, в том числе лесными и лесостепными, а также с пожарами, возникающими в труднодоступных местах как географически (крутые горы, непроходимая тайга, джунгли), так и по причине близкого расположения источника опасности (взрывы, высокая температура).
Известно устройство для локализации и тушения пожаров, возникающих в местах труднодоступных географически либо по причине близкого расположения источника опасности (Франция, заявка №2643820, А 62 С 3/02, 1990 г.).
Известное устройство, называемое водяной бомбой, предназначено для транспортировки самолетами или тяжелыми вертолетами и сбрасывания на очаги пожаров. Водяная бомба характеризуется наличием цилиндрического резервуара из тонкого стального листа с отверстиями для наполнения огнетушащей жидкостью и для выхода воздуха, имеющего на всех боковых стенках надрезы до середины толщины металла. В качестве огнетушащего наполнителя может быть использована вода, смачивающая жидкость и углекислота. При сбрасывании водяной бомбы она разрывается при соприкосновении с землей благодаря предварительно ослабленным зонам в металле и позволяет огнетушащей жидкости выливаться на очаг огня.
Недостатком данного пожароподавляющего устройства является большая вероятность преждевременного разрыва цилиндрического резервуара от удара о препятствие, размещенное до зоны пожара, что снижает эффективность пожаротушения.
Кроме того, к недостаткам данного устройства следует отнести:
– образование осколочного поля из материала цилиндрического резервуара;
– неравномерное распределение огнетушащего состава после разрыва оболочки;
– незначительная площадь воздействия огнетушащего состава на очаг пожара.
Известно пожароподавляющее устройство по патенту РФ №2111032, 6 А 62 С 3/02, принятое в качестве наиболее близкого аналога и содержащее емкость из прессованного картона, диспергирующий заряд, калиберный стабилизатор и взрывательное устройство в виде датчика высоты и/или контактного датчика с инициаторами взрыва.
В случае использования вертолета в качестве средства доставки устройство по патенту №2111032 должно быть размещено в специальном контейнере, подвешенном под днищем вертолета, и зафиксировано замком, освобождающим устройство по сигналу сброса.
К недостаткам данного устройства следует отнести:
– невозможность применения самолетов и вертолетов армейской авиации, оборудованных балочными держателями для подвески грузов в качестве средства доставки, так как в конструкции устройства отсутствует подвесная система под балочный держатель;
– низкий коэффициент полезной нагрузки из-за необходимости размещения устройства в специальном контейнере, подвешиваемом под днищем воздушного средства доставки на тросе;
– высокая трудоемкость изготовления устройства из-за дополнительного изготовления контейнера и нанесения водостойкого покрытия на элементы емкости и стабилизатора.
Задачей предлагаемого изобретения является повышение эффективности и безопасности пожаротушения при применении авиационного средства пожаротушения.
Технический результат состоит в исключении осколочного поля при срабатывании авиационного средства пожаротушения при одновременном увеличении поверхности взаимодействия огнетушащего состава с горящим материалом.
Технический результат достигается тем, что авиационное средство пожаротушения включает выполненные из термопластичного материала стабилизатор и емкость, в полости которой размещены диспергирующий заряд и огнетушащий состав, взрывательное устройство и подвесную систему в виде накладки с ушками и элементов, охватывающих емкость, при этом подвесная система соединена гибкой связью с дном стабилизатора и снабжена механизмом расцепления и элементами принудительного отделения от емкости.
При срабатывании данного авиационного средства пожаротушения достигается исключение осколочного поля за счет:
– снабжения подвесной системы механизмом расцепления, который при срабатывании на траектории автономного полета авиационного средства пожаротушения обеспечивает снятие связи «корпус емкости – подвесная система»;
– снабжения подвесной системы элементами принудительного отделения от емкости, которые создают ей дополнительную скорость движения относительно скорости движения емкости;
– соединения подвесной системы гибкой связью с дном стабилизатора, что исключает ее автономный полет и, вместе с тем, выводит ее из зоны действия диспергирующего заряда;
– выполнения (по аналогии с прототипом) корпусов емкости, диспергирующего заряда и стабилизатора из термопластичного материала.
Увеличение поверхности взаимодействия огнетушащего состава с горящим материалом достигается за счет вывода из зоны действия диспергирующего заряда подвесной системы, что позволяет создать мелкодисперсное облако огнетушащего состава в виде тора с заданными диаметром и высотой.
Механизм расцепления подвесной системы авиационного средства пожаротушения может быть выполнен в виде втулки с двумя продольными каналами, в одном из которых размещены два подпружиненных поршня со штоками, в другом – газогенератор с элементом замедления, причем каналы закрыты с торцов и соединены между собой с образованием камер, а каждый шток поршня подвижно соединен с одним из элементов подвесной системы, охватывающим емкость.
Указанное конструктивное исполнение механизма расцепления позволяет обеспечить:
– безопасность средства доставки при сбросе авиационного средства пожаротушения за счет исключения возможности соударения подвесной системы с элементами конструкции средства доставки;
– повышение надежности отделения подвесной системы от емкости за счет одновременного раскрытия элементов подвесной системы, охватывающих емкость;
– вывод крепежных деталей элементов, охватывающих емкость, из зоны действия диспергирующего заряда (исключается их участие в образовании осколочного поля при срабатывании авиационного средства пожаротушения);
– установку подвесной системы на емкость авиационного средства пожаротушения как в заводских, так и в полевых условиях.
Элементы принудительного отделения подвесной системы от емкости авиационного средства пожаротушения могут быть выполнены в виде пластинчатых пружин, что позволит значительно упростить конструкцию подвесной системы и обеспечить высокую надежность ее отделения от емкости.
Элементы, охватывающие емкость могут быть выполнены в виде двух обручей, разнесенных вдоль продольной оси и подвижно соединенных с накладкой подвесной системы.
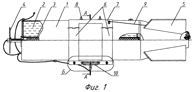
На фиг.1 показано авиационное средство пожаротушения.
На фиг.2 показана подвесная система с элементами принудительного отделения.
На фиг.3 показан механизм расцепления подвесной системы.
Авиационное средство пожаротушения включает емкость 1 с огнегасящим составом 2 и диспергирующим зарядом 3, взрывательное устройство 4, стабилизатор 5, подвесную систему в виде элементов 6, охватывающих емкость, накладки 7, двух ушков 8. Подвесная система соединена гибкой связью 9 с дном стабилизатора 5 и снабжена механизмом расцепления 10 и элементами принудительного отделения 11 от емкости 1.
Механизм расцепления 10 содержит втулку 12 с двумя продольными каналами 13 и 14, два подпружиненных поршня 15 со штоками 16, камеры 17, газогенератор 18 с элементами замедления.
Элементы 6, охватывающие емкость 1,соединены крепежными деталями 19.
Авиационное средство пожаротушения при сбросе его с носителей, оборудованных штатными балочными держателями грузов, работает следующим образом.
По команде летчика подается сигнал на срабатывание замка балочного держателя грузов.
После срабатывания замка ушки 8 подвесной системы выходят из зацепления и средство пожаротушения под действием силы тяжести отделяется от носителя, при этом импульс электрического тока через рейку механизма подачи импульса носителя подается на электровоспламенители взрывательного устройства 4 и газогенератора 18.
Через заданные промежутки времени взрывательное устройство 4 готово к действию и срабатывает газогенератор 18. Пороховые газы газогенератора 18 через канал 13 втулки 12 поступают в камеры 17. Под действием пороховых газов поршни 15 со штоками 16 двигаются навстречу друг другу. Штоки выходят из отверстий крепежных деталей 19, соединяющих элементы 6, освобождая связь подвесной системы с емкостью 1.
Подвесная система при помощи пружин 11 и набегающего воздушного потока перемещается за дно стабилизатора 5 и продолжает движение на гибкой связи 9 совместно с средством пожаротушения.
При встрече авиационного средства пожаротушения с грунтом (или кроной деревьев) срабатывает взрывательное устройство 4, детонационный импульс которого напрямую или через передаточный заряд взрывчатого вещества задействует диспергирующий заряд 3.
Образующиеся в результате срабатывания диспергирующего заряда детонационная волна и продукты взрыва увеличивают давление в объеме емкости 1 в сотни тысяч раз, что приводит к разрушению емкости и метанию огнетушащего состава 2. В процессе движения огнетушащий состав дробится на капли размером в несколько десятков микрон, что увеличивает поверхность взаимодействия состава с горящим материалом. Расширение продуктов взрыва диспергирующего заряда 3 вызывает образование воздушной ударной волны, которая движется со сверхзвуковой скоростью впереди облака огнетушащего состава. Механизм тушения состоит в одновременном воздействии на очаг пожара воздушной волны, скоростного напора и огнетушащего состава. Первые два фактора сбивают пламя и удаляют горящий материал, а огнетушащий состав охлаждает очаги и изолирует горящий материал, прекращая пиролиз и прогрев окружающей среды.
Авиационное средство пожаротушения может применяться с носителей, не оборудованных балочными держателями грузов (гражданская авиация), при этом вместо подвесной системы используется, например, подвесной контейнер, описанный в патенте РФ №2111032.
Формула изобретения
1. Авиационное средство пожаротушения, содержащее выполненные из термопластичного материала стабилизатор и емкость, в полости которой размещены диспергирующий заряд и огнетушащий состав, взрывательное устройство и подвесную систему в виде накладки с ушками и элементов, охватывающих емкость, при этом подвесная система соединена гибкой связью с дном стабилизатора и снабжена механизмом расцепления и элементами принудительного отделения от емкости.
2. Авиационное средство пожаротушения по п.1, отличающееся тем, что механизм расцепления выполнен в виде втулки с двумя продольными каналами, в одном из которых размещены два подпружиненных поршня со штоками, в другом – газогенератор с элементом замедления, причем каналы закрыты с торцов и соединены между собой с образованием камер, а каждый шток поршня подвижно соединен с одним из элементов, охватывающих емкость.
3. Авиационное средство пожаротушения по п.1, отличающееся тем, что элементы принудительного отделения подвесной системы от емкости выполнены в виде пластинчатых пружин.
4. Авиационное средство пожаротушения по п.1, отличающееся тем, что элементы, охватывающие емкость, выполнены в виде двух обручей, разнесенных вдоль продольной оси и подвижно соединенных с накладкой подвесной системы.
РИСУНКИ
|