|
|
(21), (22) Заявка: 2001107319/12, 15.02.2001
(24) Дата начала отсчета срока действия патента:
15.02.2001
(30) Конвенционный приоритет:
20.12.1999 (пп.1-3) KR 59483/1999 20.12.1999 (пп.4-5) KR 59488/1999
(45) Опубликовано: 10.06.2005
(56) Список документов, цитированных в отчете о поиске:
JP 10-134246 A1, 22.05.1998. RU 2138853 C1, 27.09.1999. RU 2140101 C1, 20.10.1999. FR 2169254 A1, 07.09.1973. US 4094398 A, 13.06.1978.
Адрес для переписки:
129010, Москва, ул. Б.Спасская, 25, стр.3, ООО “Юридическая фирма Городисский и Партнеры”, пат.пов. С.А.Дорофееву
|
(72) Автор(ы):
ПАРК Хае-Чан (KR), КИМ Ох-Бок (KR), КИМ Дзунг-Ги (KR)
(73) Патентообладатель(и):
САМСУНГ КВАНГДЖУ ЭЛЕКТРОНИКС., КО ЛТД. (KR)
|
(54) УСТРОЙСТВО ДЛЯ ПРОДАЖИ ТОВАРОВ ТОРГОВОГО АВТОМАТА (ВАРИАНТЫ)
(57) Реферат:
Изобретение относится к торговым автоматам, а более конкретно к устройствам для продажи товаров торгового автомата, в котором шланги не перекручиваются между собой, благодаря чему воду свободно подают при смешивании ингредиентов с водой путем вращения крыльчатки, и в котором форма колпачка крыльчатки и торговый цикл автомата упрощены. Кроме того, изобретение обеспечивает сокращение траектории перемещения стакана, благодаря чему упрощается торговый цикл автомата, а также фиксирование перемешивающего двигателя и силовой линии, снижение таким образом уровня шума и вибрации и повышение долговечности торгового автомата. В устройстве стакан, подаваемый из бункера подачи стаканов, передают с помощью узла транспортирования стаканов, в стакан подают ингредиенты, ингредиенты смешивают с водой, подаваемой из колпака смешивающего устройства, закрепленного на верхней части узла транспортирования. Затем стакан перемещают к окошку для стаканов, причем бункер подачи стаканов установлен в шкафу автомата. Колпак крыльчатки прикреплен на месте к смешивающему узлу так, что его не перемещают вверх и вниз, что исключает перекручивание шлангов. Так как траектория переноса стакана уменьшена, то цикл торгового автомата упрощается, а так как смешивающий двигатель не перемещают во время вращения, то снижается уровень шума и вибрации и повышается долговечность смешивающего двигателя. 2 н. и 3 з.п. ф-лы, 12 ил.

Настоящее изобретение относится к торговым автоматам, а более конкретно к устройству для продажи товаров торгового автомата, в котором шланги не перекручиваются между собой, благодаря чему воду свободно подают при смешивании ингредиентов с водой путем вращения крыльчатки, и в котором форма колпачка крыльчатки и торговый цикл автомата упрощены.
Вообще, существует много типов торговых автоматов для автоматической продажи товаров, например стакана кофе.
Торговые автоматы для продажи напитков, например стакана кофе, описан в японской выложенной заявке на патент №10-013426. Как показано на Фиг.1-4, стакан 6, который выпадает из канала 5а, 5b для подачи стаканов узла 5 для подачи стаканов, попадает на опору 21 стакана узла 20 для транспортирования стаканов из положений 1, 2, показанных на Фиг.3. Одновременно ингредиенты товаров из бункера 1 для ингредиентов, который размещен позади узла 5 для подачи стаканов, подают в стакан 6 из положений 3, 4 и 5, показанных на Фиг.3. Узел 5 для подачи стаканов расположен в верхней части шкафа 14 автомата.
Кроме того, стакан 6, который помещают на верхнюю часть узла 20 для транспортирования стаканов и в который подают ингредиенты, перемещают в положение, показанное на Фиг.3, с помощью узла 20 для транспортирования стаканов так, что холодную и горячую воду и лед подают по шлангу 2а для подачи горячей воды, шлангу 3а для подачи холодной воды и каналу 4а для подачи льда из резервуара 2 для горячей воды, резервуара 3 для холодной воды и из резервуара для приготовления льда в стакан 6. Затем ингредиенты, воду и лед смешивают крыльчаткой 43, которая установлена с возможностью вращения на нижнем конце вращаемого вала 42. Вращаемый вал 42 вращают от смешивающего двигателя 41, который опускают и поднимают с помощью приводного узла 44 миксера 40.
При этом крыльчатка 43 укрыта колпаком 45, который поднимают и опускают с помощью приводного узла 44. Таким образом предотвращают разбрызгивание перемешиваемой воды из стакана 6, когда воду перемешивают крыльчаткой 43.
Постоянно после подъема крыльчатки 43, если стакан 6 перемещен в положение, показанное на Фиг.3, с помощью узла 20 для транспортирования стаканов, то стакан затем вынимают через окно 16 для выемки товара, которое расположено в передней стенке 15 шкафа 14 автомата. Передняя стенка 15 установлена на передней стороне шкафа 14 автомата так, что ее можно поворачивать относительно одной ее стороны. Окно 16 для выемки товара снабжено заслонкой 17.
Когда стакан 6 перемещают в положение, показанное на Фиг.3, с помощью узла 20 для транспортирования стаканов, небольшое количество горячей и холодной воды подают по шлангу 2а для подачи горячей воды и шлангу За для подачи холодной воды к крыльчатке 43 с помощью контроллера (не показан). В это время крыльчатку 43 вращают с помощью смешивающего двигателя 41, чтобы промыть крыльчатку.
Затем опору 21 стакана возвращают в положение выстоя для продажи товара.
Позицией 18 обозначен поддон для стоков со сливным отверстием 19, а позицией 12 обозначен контейнер для сбора воды, сливаемой через сливное отверстие 19.
В торговом автомате, как это описано выше, когда смешивающий двигатель 41 поднимают и опускают, колпак 45 миксера также поднимают и опускают. Таким образом, так как шланг 2а для подачи горячей воды, шланг 3а для подачи холодной воды и канал 41 для льда, которые установлены на колпаке 45 миксера, перекручиваются между собой, в результате чего возникает проблема, связанная с тем, что вода не может свободно проходить по шлангам.
Кроме того, возникает другая проблема, связанная с тем, что усложняется процесс монтажа торгового автомата, так как колпак 45 миксера перемещают вверх и вниз вместе с крыльчаткой 41.
Еще одна проблема заключается в том, что узел 20 транспортирования стаканов, с помощью которого перемещают опору 21 стакана, имеет такой цикл действия, при котором его надо переместить в положения 1, 2, 3, 4, 5, 6 и 7 при его повороте, и все это время длится цикл продажи.
Технической задачей настоящего изобретения, таким образом, является создание торгового автомата, в котором колпак миксера зафиксирован так, что шланги не перекручиваются между собой, в результате чего вода может быть легко подана и в котором форма и процесс монтажа колпака миксера упрощены.
Другой технической задачей настоящего изобретения является сокращение траектории перемещения стакана, благодаря чему упрощается торговый цикл торгового автомата.
Еще одной технической задачей настоящего изобретения является фиксирование перемешивающего двигателя и силовой линии и снижение таким образом уровня шума и вибрации и повышения долговечности торгового автомата.
Указанные технические задачи решаются за счет того, что в устройстве для продажи товаров торгового автомата, в котором стакан, подаваемый из бункера подачи стаканов, передается с помощью узла транспортирования стаканов и принимает ингредиенты, и ингредиенты смешаны с водой, подаваемой из колпака крыльчатки, закрепленного на верхней части узла транспортирования стаканов, а стакан затем перемещен к окошку для стаканов, причем бункер подачи стаканов установлен в шкафу автомата, согласно изобретению, колпак крыльчатки прикреплен к месту смешивающего узла так, чтобы не перемещаться вверх и вниз.
Предпочтительно узел для транспортирования стаканов содержит: опору стакана, которая установлена с возможностью вращения в шкафу автомата; часть для транспортирования стаканов, которая расположена в верхней части опоры стакана и предназначена для приема стакана, выпадающего из бункера для подачи стаканов, и поворота опоры стакана в одном направлении для приема ингредиентов и поворота в обратном направлении опоры стакана для выдачи стакана; часть для выдачи стакана, которая предназначена для отделения стакана от части для транспортирования стаканов, когда стакан переносят к окошку для стаканов с помощью части для транспортирования стаканов; и часть для установки смешивающего устройства, которая размещена в верхней части опоры стакана, предназначенной для установки смешивающего узла в верхней части части для транспортирования стаканов.
Предпочтительно смешивающий узел содержит: кронштейн, расположенный вертикально в верхней части части для установки смешивающего устройства; привод, установленный на одной стороне кронштейна; вращаемый элемент, который установлен на другой стороне кронштейна так, чтобы его можно было поворачивать с помощью привода; вертикально перемещаемый рычаг, прикрепленный к стороне вращаемого элемента и стороне кронштейна так, чтобы можно было поворачивать вверх и вниз в пределах определенного угла; поддерживающий элемент, установленный на верхней части части для установки смешивающего устройства параллельно кронштейну; вертикально перемещаемый элемент, который направляют с помощью продолговатого паза в поддерживающем элементе так, чтобы он мог скользить в вертикальном направлении; смешивающую часть, установленную на верхней поверхности вертикально перемещаемого элемента для смешивания воды с ингредиентами, содержащимися в стакане С; колпак крыльчатки, прикрепленной к одной стороне поддерживающего элемента с помощью закрепляющего кронштейна так, чтобы крыльчатку смешивающей части можно было перемещать вверх и вниз в колпаке, и микропереключатель, установленный около верхней и нижней сторон кронштейна так, чтобы передавать сигналы на останов привода, когда вертикально перемещаемый элемент доходит до верхней и нижней мертвых точек.
Технические задачи также решаются за счет того, что в устройство для продажи товаров торгового автомата, в котором стакан, подаваемый из бункера подачи стаканов, передается с помощью узла транспортирования стаканов и принимает ингредиенты, и ингредиенты смешаны с водой, подаваемой из колпака смешивающего узла, закрепленного на верхней части узла транспортирования стаканов, а стакан затем перемещается к окошку для стаканов, причем бункер подачи стаканов установлен в шкафу автомата, согласно изобретению, крыльчатка смешивающего узла установлена с возможностью вращения на смешивающей части, которая перемещается вертикально, и крыльчатка приводится во вращение с помощью возбуждаемой электродвижущей силы магнита, который вращается за одно со смешивающим двигателем, расположенным с нижней стороны опоры стакана, когда крыльчатка находится вблизи магнита с зазором.
Предпочтительно узел для транспортирования стаканов содержит: опору стакана, которая установлена с возможностью вращения в шкафу автомата; часть для транспортирования стаканов, которая расположена в верхней части опоры стакана и предназначена для приема стакана, выпадающего из бункера подачи стаканов, и поворота опоры стакана в одном направлении для приема ингредиентов и поворота в обратном направлении опоры стакана для выдачи стакана; часть для выдачи стакана, которая предназначена для отделения стакана от части для транспортирования стаканов, когда стакан переносят к окошку для стаканов с помощью части для транспортирования стаканов; и часть для установки смешивающего устройства, которая размещена в верхней части опоры стакана, предназначенной для установки смешивающего узла в верхней части части для транспортирования стаканов.
Другие преимущества настоящего изобретения станут более понятными при ознакомлении с подробным описанием предпочтительных вариантов исполнения изобретения со ссылками на прилагаемые чертежи, на которых
Фиг.1 – вид с разрезом, на котором показана внутренняя структура обычного торгового автомата;
Фиг.2 – вид сбоку устройства, представленного на Фиг.1;
Фиг.3 – вид сверху, на котором показан узел транспортирования стаканов обычного торгового автомата;
Фиг.4 – схематическое поперечное сечение, на котором показан смешивающий узел обычного торгового автомата;
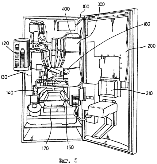
Фиг.5 – вид в перспективе одного варианта исполнения торгового автомата, выполненного в соответствии с настоящим изобретением;
Фиг.6 – вид спереди, на котором показано положение, когда узел транспортирования стаканов и смешивающий узел установлены на опорном элементе торгового автомата, выполненного в соответствии с настоящим изобретением;
Фиг.7 – вид сверху устройства, показанного на Фиг.6;
Фиг.8 – сечение А-А на Фиг.6;
Фиг.9 – вид в перспективе другого варианта исполнения торгового автомата, выполненного в соответствии с настоящим изобретением;
Фиг.10 – вид спереди, на котором показано положение, когда узел транспортирования стаканов и смешивающий узел установлены на опорном элементе торгового автомата, выполненного в соответствии с вышеупомянутым вариантом исполнения настоящего изобретения;
Фиг.11 – вид сверху устройства, показанного на Фиг.10;
Фиг.12 – поперечное сечение по А-А на Фиг.10;
На Фиг.5 показан вид в перспективе одного варианта исполнения торгового автомата, выполненного в соответствии с настоящим изобретением; на Фиг.6 изображен вид спереди, на котором показано положение, когда узел транспортирования стаканов и перемешивающийся узел установлены на опорном элементе торгового автомата, выполненного в соответствии с настоящим изобретением; на Фиг.7 изображен вид сверху устройства, показанного на Фиг.6, а на Фиг.8 – сечение А-А на Фиг.6.
Торговый автомат, выполненный в соответствии с вариантом исполнения настоящего изобретения, содержит шкаф 100 и переднюю дверь 200, которая расположена с одной стороны шкафа 100 так, что ею можно открывать и закрывать внутренность шкафа 100.
Здесь расположено устройство для продажи товаров, которое установлено внутри шкафа 100. Устройство для продажи товаров содержит резервуар 110 для подачи воды, который расположен в нижней части внутри шкафа 100 и предназначен для хранения горячей воды, и бункер 120 для стаканов для подачи стаканов. Элемент 130 для направления стаканов расположен снизу бункера 120 для стаканов так, чтобы ставить стакан в предварительно определенное положение.
Кроме того, около нижней части элемента 130 для направления стаканов расположен узел 150 для транспортирования стаканов и смешивающий узел 160. С помощью узла 150 для транспортирования стаканов переносят стакан на верхнюю часть опоры 140 стакана, которая установлена с возможностью вращения в шкафу 100. С помощью перемешивающего узла 160 производят смешивание ингредиента с водой.
В верхней части резервуара для подачи воды размещен сливной элемент 170, имеющий требуемую форму.
Множество контейнеров 300 для ингредиентов, в которых хранят каждый в отдельности ингредиент в порошкообразной форме, расположено в средней части шкафа 100 автомата так, что они образуют полукруглую форму.
Далее, в требуемой части передней двери 200 против узла 150 для транспортирования стаканов оборудовано окно 210 для стакана, через которое вынимают стакан с напитком.
Позади контейнеров 300 с ингредиентами расположен резервуар 400 с водой, в котором воду, подаваемую из водяного бака (не показан), охлаждают и хранят.
Как показано на Фиг.6-8, узел 150 для транспортирования стаканов содержит часть 151 для транспортирования стаканов, часть 152 для выдачи стаканов и часть 153 для установки смешивающего узла. Частью 151 для транспортирования стаканов принимают стакан С, выпадающий из бункера 120 для стаканов, который расположен в верхней части опоры 140 стакана, и переносят стакан С в одном направлении так, чтобы можно было подать в него ингредиенты, а затем переносят стакан С снова в другом направлении так, что стакан С выходит через окно 210 для стакана наружу. Когда стакан С перемещают к окну 210 для стакана с помощью части 151 для транспортирования стаканов, частью 152 для выдачи стакана отделяют стакан С от части 151 для транспортирования стаканов. Часть 153 для установки смешивающего узла расположена в верхней части опоры 140 стакана и предназначена для установки смешивающего узла 160 около верхней части 151 для транспортирования стаканов.
Часть 151 для транспортирования стаканов содержит: привод 151а, расположенный у верхней центральной части опоры 140 стакана так, чтобы можно было поворачивать на определенный угол по сигналу; кронштейн 151b, который установлен с одной стороны привода 151а; переносящий кулачок, который расположен с возможностью вращения с помощью привода 151а так, чтобы его можно было вводить в контакт и отводить от микропереключателя 151с, установленного со стороны привода 151а, таким образом включая и выключая микропереключатель 151с; рычаг 151, одно плечо которого и центральная часть соответственно шарнирно соединены с кронштейном 151b и переносящим кулачком 151d, и захватывающую стакан тягу 151f, которая шарнирно соединена с другим концом рычага 151е и может быть повернута в положение, при котором она плотно контактирует с частью 151 для выдачи стакана так, чтобы захватить или выдать стакан С.
Кроме того, часть 152 для выдачи стакана содержит: часть 152а для отделения стакана, которая установлена на верхней части опоры 140 стакана так, чтобы направлять стакан С, переносимый рычагом 151е и захватывающей стакан тягой 151f части 151 для транспортирования стаканов, а также для увеличения внутреннего диаметра захватывающей тяги 151f за счет выступа, направленного к нижней части захватывающей тяги 151f; и часть 151b для предотвращения возврата стакана, которая расположена так, что ее нужно переформировать из прижатого состояния в выступающее состояние, когда стакан С перемещают к окну 210 для выдачи стакана, так чтобы предотвратить захват стакана С и возврат его захватывающей тягой 151f, когда захватывающую тягу 151f возвращают в ее исходное положение.
Позицией 152с обозначен микропереключатель, с помощью которого определяют операционное положение части 152b для предотвращения возврата стакана и управляют приводом 151а, а позицией 154 обозначен армирующий элемент.
Смешивающий узел 160 содержит: кронштейн 161, который расположен вертикально около верхнего положения части 153 для установки смешивающего узла; привод 162, который установлен с одной стороны кронштейна 161; вращаемый элемент 163, который установлен с другой стороны кронштейна 161 так, чтобы его можно было вращать с помощью привода 162; и часть 164, которую можно перемещать в вертикальном направлении, прикрепленную к стороне вращаемого элемента 163 и к стороне кронштейна 161 так, чтобы ее можно было поворачивать вверх и вниз в пределах определенного угла.
Кроме того, смешивающий узел 160 далее содержит: поддерживающий элемент 165, который установлен на верхней части 153 для установки смешивающего узла так, что он расположен параллельно кронштейну 161; элемент 166, перемещаемый в вертикальном направлении, который направляют продолговатым пазом 165а в поддерживающем элементе 165 так, чтобы он мог скользить в вертикальном направлении; смешивающую часть 167, которая установлена на верхней поверхности вертикально перемещаемого элемента 166 так, чтобы смешивать воду с ингредиентами, содержащимися в стакане С; и колпак 168 крыльчатки, закрепленный с одной стороны поддерживающего элемента 165 с помощью закрепляющего кронштейна 168а так, чтобы крыльчатку 167а смешивающей части 167 можно было перемещать вверх и вниз.
В смешивающем узле 160 также установлены микропереключатель 169а, 169b, который расположен на верхней и нижней стороне кронштейна 161 так, чтобы передавать сигналы на останов привода 162, когда вертикально перемещаемый элемент 166 доходит до верхней и нижней мертвой точки.
С одной стороны колпака 168 крыльчатки размещено сопло, соединенное со шлангами для подачи горячей и холодной воды, и с его использованием подают горячую и холодную воду в колпак 168 крыльчатки.
Таким образом, когда устройство для продажи товаров работает, стакан выпадает из бункера 120 для подачи стаканов. Стакан направляют в часть 151 для транспортирования стаканов узла 150 для транспортирования стаканов, который находится в положении, показанном на Фиг.7, с помощью элемента 130 для направления стаканов. Затем в стакан подают ингредиенты из контейнеров 300 для ингредиентов.
Далее, в то время как привод 151а части для транспортирования стаканов вращается в одном направлении, рычаг 151е и тяга 151f, которой захватывают стакан, движутся в положение, показанное на Фиг.7.
В это время, если с использованием блока управления (не показан) устанавливают с помощью микропереключателя 151с, что стакан перемещен в положение, показанное на Фиг.7, то подают горячую или холодную воду через резервуар 400 с холодной водой.
После этого вращаемый элемент 163 поворачивают приводом 162 смешивающего узла 160. Вертикально перемещаемый рычаг 164 (см. Фиг.6), продольный паз которого установлен с возможностью скольжения на вращаемом элементе 163, поворачивают вниз так, что вертикально перемещаемый элемент 166 также перемещается вниз.
В это время, если одна сторона вертикально перемещаемого элемента 166 контактирует с микропереключателем 169а, то смешивающая часть 167 вращается и крыльчатка 167а таким образом вращается в стакане С, чтобы смешать воду с ингредиентами.
После прохождения требуемого времени смешивающая часть 167 смешивающего узла 160 останавливается. Привод 162 вращается в обратном направлении так, чтобы вертикально перемещаемый рычаг 164 повернулся вверх. Таким образом, вертикально перемещаемый элемент 166 перемещают вверх.
В этом положении, если одна сторона вертикально перемещаемого элемента 166 контактирует с микропереключателем 169b, привод 162 останавливается.
Затем часть 151 для транспортирования стаканов узла 150 для транспортирования стаканов срабатывает так, что рычаг 151е и тягу 151f для захвата стакана поворачивает с помощью привода 151а, чтобы переместить стакан в положение, показанное на Фиг.7.
Кроме того, как раз перед тем как переместить в положение, показанное на Фиг.7, внутренний диаметр тяги 151f для захвата стакана увеличивают так, что тяга 151f для захвата стакана приходит в положение, показанное на Фиг.7, в состояние, при котором стакан высвобождают.
Если с использованием блока управления устанавливают с помощью микропереключателя 151с, который плотно контактирует с переносящим кулачком 151d, что рычаг 151е переместился в положение, показанное на Фиг.7, то привод 151а включается в действие, чтобы повернуть переносящий кулачок 151d. Таким образом, рычаг 151е, который установлен с возможностью поворота на переносящем кулачке 151d и кронштейне 151b, поворачивают в положение, показанное на Фиг.7, так чтобы он стоял готовый для продажи.
Чтобы предотвратить возможность возврата стакана тягой 151f для захвата стакана, когда рычаг 151е повернут в положение, показанное на Фиг.7, часть 152b для предотвращения возврата стакана отжимают, когда стакан перемещен в положение, показанное на Фиг.7, и часть 152b для предотвращения возврата стакана выводят после того, как стакан полностью перемещен в положение, показанное на Фиг.7.
Тем временем, когда стакан перемещают из положения 2, показанного на Фиг.7, в положение 3, показанное на Фиг.7, воду подают через сопло 168b колпака 168 крыльчатки к крыльчатке 167а, которой снабжена смешивающая часть 167 смешивающего узла 160, и крыльчатку 167а вращают одновременно в течение некоторого времени. Таким образом промывают крыльчатку 167а.
В это время вода, которой промывают крыльчатку 167а, стекает на сливной элемент 170.
Описанные выше операции постоянно повторяют, таким образом продавая товары.
Далее будет описан другой вариант исполнения настоящего изобретения со ссылками на Фиг.9-13.
В соответствии с этим вариантом исполнения смешивающий узел 160 содержит: кронштейн 161, который расположен вертикально около верхней части узла 153 для установки смешивающего узла; привод 162, установленный на одной стороне кронштейна 161; вращаемый элемент 163, установленный на другой стороне кронштейна 161 так, чтобы вращать его от привода 162; и вертикально перемещаемый рычаг 164, закрепленный на стороне вращаемого элемента 163 и стороне кронштейна 161 так, чтобы поворачивать его вверх и вниз в пределах определенного угла.
Кроме того, смешивающий узел 160 далее содержит: поддерживающий элемент 165, установленный на верхней части узла 153 для установки смешивающего устройства так, чтобы он был расположен параллельно кронштейну 161; вертикально перемещаемый элемент 166, направляемый с помощью продольного паза 165а в поддерживающем элементе 165 так, чтобы его можно было перемещать в вертикальном направлении; смешивающую часть 167, установленную на верхней поверхности вертикально.
Тем временем, как раз перед тем как переместить в положение, показанное на Фиг.11, внутренний диаметр тяги 151f для захвата стакана увеличивают так, что тяга 151Г для захвата стакана приходит в положение, показанное на Фиг.11, в состояние, при котором стакан высвобождают.
Если с использованием блока управления устанавливают с помощью микропереключателя 151с, который плотно контактирует с переносящим кулачком 151а, что рычаг 151е переместился в положение, показанное на Фиг.11, то привод 151а включается в действие, чтобы повернуть переносящий кулачок 151а. Таким образом, рычаг 151е, который установлен с возможностью поворота на переносящем кулачке 151а и кронштейне 151b, поворачивают в положение, показанное на Фиг.11 так, чтобы он стоял готовый для продажи.
Чтобы предотвратить возможность возврата стакана тягой 151f для захвата стакана, когда рычаг 151е повернут в положение, показанное на Фиг.11, часть 152b для предотвращения возврата стакана отжимают, когда стакан перемещен в положение, показанное на Фиг.11, и часть 152b для предотвращения возврата стакана выводят после того, как стакан полностью перемещен в положение, показанное на Фиг.11.
Тем временем, когда стакан перемещают из положения 2, показанного на Фиг.11, в положение 3, показанное на Фиг.11, подают воду через сопло 168b колпака 168 крыльчатки к крыльчатке 167 а, которой снабжена смешивающая часть 167 смешивающего узла 160. Таким образом промывают крыльчатку 167 а.
В это время вода, которой промывают крыльчатку 167а, стекает на сливной элемент 170.
Описанные выше операции постоянно повторяют, таким образом продавая товар.
В соответствии с настоящим изобретением, как это описано выше, так как колпак крыльчатки смешивающего узла закреплен, шланги не перекручиваются между собой. Следовательно, воду легко подавать, и форма и процесс монтажа колпака крыльчатки упрощаются.
Кроме того, так как траектория переноса стакана уменьшена, то цикл действия торгового автомата упрощается.
Далее, так как смешивающий двигатель не перемещают во время вращения, снижается уровень шума и вибрации и увеличивается долговечность смешивающего двигателя.
Для специалистов очевидно, что могут быть выполнены различные модификации и вариации настоящего изобретения без отступления от сущности или объема изобретения. Таким образом, предполагается, что настоящее изобретение охватывает модификации и вариации настоящего изобретения, которые подпадают под объем прилагаемой формулы изобретения.
Формула изобретения
1. Устройство для продажи товаров торгового автомата, в котором стакан, подаваемый из бункера подачи стаканов, передается с помощью узла транспортирования стаканов и принимает ингредиенты, ингредиенты смешаны с водой, подаваемой из колпака крыльчатки, закрепленного на верхней части узла транспортирования стаканов, а стакан затем перемещен к окошку для стаканов, причем бункер подачи стаканов установлен в шкафу автомата, отличающееся тем, что колпак крыльчатки прикреплен к месту смешивающего узла так, чтобы не перемещаться вверх и вниз.
2. Устройство по п.1, отличающееся тем, что узел для транспортирования стаканов содержит опору стакана, которая установлена с возможностью вращения в шкафу автомата, часть для транспортирования стаканов, которая расположена в верхней части опоры стакана и предназначена для приема стакана, выпадающего из бункера для подачи стаканов, и поворота опоры стакана в одном направлении для приема ингредиентов и поворота в обратном направлении опоры стакана для выдачи стакана, часть для выдачи стакана, которая предназначена для отделения стакана от части для транспортирования стаканов, когда стакан переносят к окошку для стаканов с помощью части для транспортирования стаканов, и часть для установки смешивающего устройства, которая размещена в верхней части опоры стакана, предназначенной для установки смешивающего узла в верхней части части для транспортирования стаканов.
3. Устройство по п. 1 или 2, отличающееся тем, что смешивающий узел содержит кронштейн, расположенный вертикально в верхней части части для установки смешивающего устройства, привод, установленный на одной стороне кронштейна, вращаемый элемент, который установлен на другой стороне кронштейна так, чтобы его можно было поворачивать с помощью привода, вертикально перемещаемый рычаг, прикрепленный к стороне вращаемого элемента и стороне кронштейна так, чтобы можно было поворачивать вверх и вниз в пределах определенного угла, поддерживающий элемент, установленный на верхней части части для установки смешивающего устройства параллельно кронштейну, вертикально перемещаемый элемент, который направляют с помощью продолговатого паза в поддерживающем элементе так, чтобы он мог скользить в вертикальном направлении, смешивающую часть, установленную на верхней поверхности вертикально перемещаемого элемента для смешивания воды с ингредиентами, содержащимися в стакане С, колпак крыльчатки, прикрепленной к одной стороне поддерживающего элемента с помощью закрепляющего кронштейна так, чтобы крыльчатку смешивающей части можно было перемещать вверх и вниз в колпаке, и микропереключатель, установленный около верхней и нижней сторон кронштейна так, чтобы передавать сигналы на останов привода, когда вертикально перемещаемый элемент доходит до верхней и нижней мертвых точек.
4. Устройство для продажи товаров торгового автомата, в котором стакан, подаваемый из бункера подачи стаканов, передается с помощью узла транспортирования стаканов и принимает ингредиенты, ингредиенты смешаны с водой, подаваемой из колпака смешивающего узла, закрепленного на верхней части узла транспортирования стаканов, а стакан затем перемещается к окошку для стаканов, причем бункер подачи стаканов установлен в шкафу автомата, отличающееся тем, что крыльчатка смешивающего узла установлена с возможностью вращения на смешивающей части, которая перемещается вертикально, и крыльчатка приводится во вращение с помощью возбуждающей электродвижущей силы магнита, который вращается заодно со смешивающим двигателем, расположенным с нижней стороны опоры стакана, когда крыльчатка находится вблизи магнита с зазором.
5. Устройство по п.4, отличающееся тем, что узел для транспортирования стаканов содержит опору стакана, которая установлена с возможностью вращения в шкафу автомата; часть для транспортирования стаканов, которая расположена в верхней части опоры стакана и предназначена для приема стакана, выпадающего из бункера подачи стаканов, и поворота опоры стакана в одном направлении для приема ингредиентов и поворота в обратном направлении опоры стакана для выдачи стакана, часть для выдачи стакана, которая предназначена для отделения стакана от части для транспортирования стаканов, когда стакан переносят к окошку для стаканов с помощью части для транспортирования стаканов, и часть для установки смешивающего устройства, которая размещена в верхней части опоры стакана, предназначенной для установки смешивающего узла в верхней части части для транспортирования стаканов.
РИСУНКИ
PC4A – Регистрация договора об уступке патента Российской Федерации на изобретение
(73) Патентообладатель(и):
САМСУНГ КВАНГДЖУ ЭЛЕКТРОНИКС., КО ЛТД. (KR)
(73) Патентообладатель:
Лотте Инджиниеринг энд Машинери М-эф-джи Ко. Лтд. (KR)
Дата и номер государственной регистрации перехода исключительного права: 27.09.2006 № РД0012502
Извещение опубликовано: 10.11.2006 БИ: 31/2006
MM4A – Досрочное прекращение действия патента СССР или патента Российской Федерации на изобретение из-за неуплаты в установленный срок пошлины за поддержание патента в силе
Дата прекращения действия патента: 16.02.2009
Извещение опубликовано: 20.07.2010 БИ: 20/2010
|
|