|
(21), (22) Заявка: 2003134584/28, 28.11.2003
(24) Дата начала отсчета срока действия патента:
28.11.2003
(45) Опубликовано: 10.06.2005
(56) Список документов, цитированных в отчете о поиске:
SU 548820 А, 28.02.1966. А.П.ЮЗЕФОВИЧ, Л.В.ОГОРОДОВА. Гравиметрия. – М.: Недра, 1980, с.43-46. RU 2016383 С1, 15.07.1994. US 4550601 A, 05.11.1985. SU 307384 А, 21.06.1971. US 5357802 A, 25.10.1994.
Адрес для переписки:
119454, Москва, а/я 58, С.Е. Кирееву
|
(72) Автор(ы):
Быков А.П. (RU), Кулеш В.П. (RU), Москалик Л.М. (RU), Енина О.Е. (RU)
(73) Патентообладатель(и):
Открытое акционерное общество “Нефтяные контрольно-измерительные приборы” (“Нефтекип”) (RU)
|
(54) ГРАВИМЕТР
(57) Реферат:
Использование: при проведении высокоточных измерений силы тяжести или ее приращений. Сущность: гравиметр содержит корпус с размещенными в нем упругим элементом и пробной массой, устройство регистрации смещения пробной массы и систему обработки результатов. Устройство регистрации смещения пробной массы выполнено в виде лазерного измерителя перемещений с реверсивным счетом интерференционных полос, причем упругий элемент содержит, по меньшей мере, две плоские пружины. Гетеродинный лазерный измеритель перемещений с реверсивным счетом интерференционных полос содержит уголковые отражатели. Вершины уголковых отражателей могут быть размещены, по меньшей мере, в одной из вертикальных плоскостей симметрии упругого элемента. Технический результат: повышение точности и стабильности результатов измерений и повышение быстродействия работы гравиметра. 7 з.п. ф-лы, 3 ил.

Изобретение относится к области гравитационных измерений, в частности к конструкциям гравиметрических устройств, и может быть использовано при проведении высокоточных измерений силы тяжести или ее приращений.
Известен баллистический лазерный гравиметр, содержащий вакуумную камеру, лазер, светоделитель, по меньшей мере, два уголковых отражателя, по одному в опорном и измерительном плече интерферометра, фотодетектор, блок обработки сигнала и вычислительное устройство (Патент РФ №2193786, МПК7: G 01 V 7/14, опубликован 27.11.2002 г.) – аналог.
Известный гравиметр предназначен для измерения абсолютных значений силы тяжести и имеет низкую чувствительность, а следовательно, точность при измерении малых смещений пробной массы. Это обусловлено тем, что ширина интерференционной полосы в нем определяется как /2, а дискретность отсчетов в блоке обработки сигнала в лучшем случае четверти интерференционной полосы, т.е. /8 или по перемещению, Zmin=0,08 мкм, что позволяет сделать вывод о недостаточной точности измерений гравиметра.
Известен гравиметр, содержащий корпус с размещенным в нем упругим элементом, пробную массу, устройство регистрации смещений пробной массы и устройство обработки результатов (Авторское свидетельство СССР №548820, G 01 V 7/02, БИ №8 за 1977 г.) – прототип. Основным недостатком известного гравиметра является низкая точность измерений, что происходит из-за недостаточной точности применяемого емкостного регистратора смещения пробной массы.
В известном устройстве, также как и в заявляемом гравиметре, используется прямой метод измерения смещения пробной массы в отличие от гравиметров с силовой компенсацией смещения с помощью измерительной пружины.
Известно, что емкостной метод измерения смещения пробной массы обеспечивает высокую точность только при измерениях его компенсационным методом, при котором величина зазора обеспечивается постоянной, т.е. емкостной датчик выполняет функцию нуль-органа в системе силовой компенсации гравиметра, а в случае прямого метода измерения его динамический диапазон не превышает что в пересчете на приращение силы тяжести составляет около 0,2 мГал и не является достаточным для проведения измерений с достаточной точностью.
Задачей, на решение которой направлено заявляемое изобретение, является повышение точности и стабильности результатов измерений и повышение быстродействия работы гравиметра.
Заявленный технический результат достигается тем, что в гравиметре, содержащем корпус с размещенными в нем упругим элементом и пробной массой, устройство регистрации смещения пробной массы и систему обработки результатов, устройство регистрации смещения пробной массы выполнено в виде одного лазерного измерителя перемещений с реверсивным счетом интерференционных полос, содержащего два уголковых отражателя, причем упругий элемент содержит, по меньшей мере, две плоские пружины.
В гравиметре устройство регистрации смещения пробной массы может быть снабжено дополнительным регистратором смещения пробной массы.
В гравиметре в качестве дополнительного регистратора смещения пробной массы может использоваться дополнительный лазерный дифференциальный измеритель перемещений.
В гравиметре вершины уголковых отражателей могут быть размещены, по меньшей мере, в одной из вертикальных плоскостей симметрии упругого элемента.
В гравиметре упругий элемент и пробная масса расположены в термостатированном корпусе, причем термостат может быть выполнен, по меньшей мере, двухступенчатым.
В гравиметре система обработки результатов может быть выполнена в виде вычислительного устройства.
В гравиметре упругий элемент может иметь форму призмы.
Заявляемый гравиметр иллюстрируется чертежами, представленными на фиг.1-3.
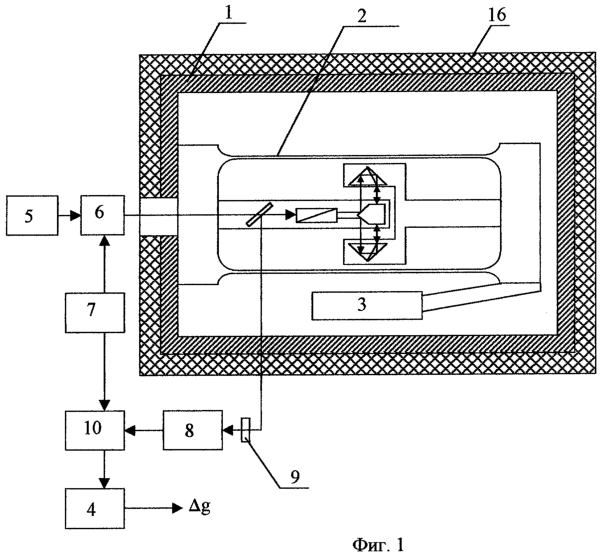
На фиг.1 изображена конструктивная схема гравиметра с устройством регистрации пробной массы в виде лазерного измерителя перемещений с реверсивным счетом интерференционных полос.
На фиг.2. – оптическая схема устройства регистрации пробной массы, выполненного в виде лазерного измерителя перемещений с реверсивным счетом интерференционных полос.
На фиг.3 – оптическая схема устройства регистрации пробной массы, выполненного в виде лазерного измерителя перемещений с реверсивным счетом интерференционных полос и снабженного дополнительным лазерным дифференциальным измерителем перемещения.
Гравиметр содержит корпус 1 с размещенными в нем упругим элементом 2 и пробной массой 3, устройство регистрации смещения пробной массы и систему обработки результатов 4.
Устройство для регистрации смещения пробной массы выполнено в виде лазерного измерителя перемещений с реверсивным счетом интерференционных полос и расположено как внутри корпуса 1, так и за его пределами, и выполнено состоящим из трех частей: первая из которых расположена вне корпуса 1 (I), вторая – расположена в корпусе 1 и установлена неподвижно относительно него (II), а третья – расположена в корпусе 1 и выполнена с возможностью перемещения относительно части лазерного измерителя перемещений, неподвижно установленного в корпусе 1 (III).
Часть (I) состоит из лазера 5, оптического частотного модулятора 6, установленного вдоль оси лазера 5 и подключенного к задающему генератору 7, фотоприемника 8, поляризатора 9 и фазометра 10, на опорный вход которого подается сигнал с задающего генератора 7, на измерительный вход – сигнал с фотоприемника 8, а выход фазометра подключен к вычислительному устройству 4.
Часть (II) состоит из зеркальной призмы 11, установленной между уголковыми отражателями 12 и 13 и двулучепреломляющей призмы 14, перед которой установлен светоделитель 15.
Часть (III) состоит из уголковых отражателей 12 и 13, выполненных с возможностью перемещения, причем для достижения оптимального результата вершины уголковых отражателей могут располагаться, по меньшей мере, в одной из вертикальных плоскостей симметрии упругого элемента 2.
Корпус 1 расположен в термостате 16, причем и в корпусе 1, и в термостате 16 выполнены окна для прохождения сигнала лазерного измерителя перемещений с реверсивным счетом интерференционных полос.
При работе гравиметра в полевых условиях, при его транспортировке из одного пункта измерений к другому, а также при его работе в жестких условиях, например в условиях высокой сейсмики или ударных нагрузок, для расширения режимов работы гравиметра, при которых сохраняются надежность и стабильность его результатов, целесообразно использовать дополнительный регистратор.
Дополнительным регистратором может быть любой бесконтактный датчик смещения (датчик координаты): оптронный, световодный, емкостной, оптический, растровый и т.п.
В заявляемом изобретении в качестве дополнительного регистратора может быть использован лазерный дифференциальный измеритель перемещений.
Такой лазерный дифференциальный измеритель перемещений с независимой шкалой имеет ряд преимуществ перед другими аналогичными устройствами, так как его принцип действия основан на том же принципе, что и основное устройство для регистрации смещений пробной массы, выполненное в виде лазерного измерителя перемещений с реверсивным счетом интерференционных полос. В его работе используются уже имеющиеся пучки излучения, используется такой же фазометр, который в настоящее время легко выполняется многоканальным (в заявляемом устройстве применяется четырехканальный фазометр).
Дополнительный лазерный дифференциальный датчик перемещений может содержать положительную линзу 17, дополнительную двулучепреломляющую призму 18, положительную линзу 19, выполненную с возможностью перемещения диафрагму 20, жестко связанную с подвижной частью упругого элемента 2, фотоприемник 21, перед которым установлен поляризатор 22, ориентированный своими осями под углом 45 градусов к направлениям поляризации пучков. Выход фотоприемника 21 подключен к измерительному входу дополнительного фазометра 23, к опорному входу которого подается сигнал с задающего генератора 7, а выход дополнительного фазометра 23 подключен к вычислительному устройству 4. Положительные линзы 17 и 19 образуют телескопическую систему, то есть задний фокус положительной линзы 17 совпадает с передним фокусом положительной линзы 19. Расположенная между линзами двулучепреломляющая призма 18 идентична призме 15 основного лазерного измерителя перемещений с реверсивным счетом интерференционных полос, но, как правило, имеет меньшую длину в направлении пучков для уменьшения размеров конструкции гетеродинного лазерного измерителя перемещений с реверсивным счетом интерференционных полос.
Упругий элемент, может иметь, например, рамочную конструкцию, как это показано на приведенных чертежах.
Достижение указанного технического результата при работе заявляемого гравиметра, в котором в качестве устройства регистрации смещения пробной массы используется лазерный измеритель перемещений с реверсивным счетом интерференционных полос, обосновывается следующим.
Пучок излучения лазера 5 с линейной поляризацией направляется в оптический частотный модулятор 6 (ОЧМ), осуществляющий сдвиг частоты излучения на величину , равной частоте задающего генератора 7. На выходе ОЧМ 6 излучение представляет собой два соосных пучка с взаимно ортогональной поляризацией Ех и Ez:

где – круговая частота излучения лазера,
0 – некоторая начальная фаза.
Пучки Ex и Ez проходят через двулучепреломляющую призму 14, которая ориентирована своими кристаллографическими осями по осям ОХ и OZ. На выходе двулучепреломляющей призмы 14 пучки(1) пространственно разделяются в плоскости yOz, оставаясь параллельными друг другу. Далее с помощью прямоугольной зеркальной призмы 11 пучки направляются соответственно на верхний 12 и нижний 13 уголковые отражатели. Пройдя уголковые отражатели 12 и 13, пучки затем отражаются обратно от граней той же зеркальной призмы 11, проходят в обратном направлении по тому же пути и с помощью светоделителя 15 направляются на фотоприемник 8, перед которым установлен поляризатор 9, ориентированный своими осями под углом 45 градусов к направлениям поляризации падающих на него соосных пучков.
Если перемещение по оси OZ верхнего уголкового отражателя – z1, а нижнего – z2, то на входе в фотодетектор излучение пуков Ех и Ez можно записать в виде


где к=2 n/ – волновое число.
На фотоприемнике 8 пучки Ех и Ez интерферируют, выходной фототок I с фотоприемника имеет вид

Сигнал (4) представляет собой биения на частоте , а фаза содержит информацию о смещении z. Сигнал (4) подается на измерительный вход фазометра 10, например электронного фазометра, с реверсивным счетом фазовых циклов, опорным сигналом для которого служит сигнал u~cos( t+ 0) с задающего генератора 7. Полная разность фаз на выходе фазометра 11 имеет вид

где 0 – некоторый постоянный фазовый сдвиг, который далее примем равным нулю.
Так как уголковые отражатели 12 и 13 жестко связаны друг с другом, то z2=- z2= z.
Тогда разность фаз (5) равна

Это значение разности фаз (6) в виде числового массива поступает на вычислительное устройство 4, в котором вычисляется z, и по нему определяется приращение g силы тяжести, по заранее определенному путем градуировки пересчетному коэффициенту, как и для любого гравиметра.
Так как измерительные плечи в схеме предлагаемого устройства лазерного измерителя перемещений с реверсивным счетом интерференционных полос идентичны друг другу, то при малых относительных смещениях элементов неподвижной части схемы, например лазера 5 относительно остальной части устройства, длины измерительных плеч изменяются на одинаковую величину, что не сказывается на результате измерения.
При изменении температуры окружающей среды вследствие теплового расширения материала подвижной части лазерного измерителя перемещений с реверсивным счетом интерференционных полос уголковые отражатели 12 и 13 смещаются на величину z1 и z2 соответственно в противоположных направлениях. При симметричном расположении уголковых отражателей 12 и 13 относительно зеркальной призмы 11 получаем – z1= z2. Подставляя эти значения в формулу (5), получим Ф=0, т.е. изменения температуры окружающей среды не сказывается на результате измерения перемещения подвижного звена лазерного измерителя перемещений с реверсивным счетом интерференционных полос относительно неподвижного, и точность измерений повышается.
С другой стороны, если уголковые отражатели 12 и 13 закрепить несимметрично на упругом элементе 2, то, подбирая материал детали, на которой закреплены уголковые отражатели и/или подбирая точку их крепления, можно точно скомпенсировать температурную зависимость модуля упругости материала упругого элемента.
Применение дополнительного регистратора для получения оптимальных характеристик гравиметра целесообразно, кроме указанных выше, еще и в том случае, если приращение силы тяжести g превосходит величину, при которой соответствующее значение разности фаз больше или равно 2 , что обосновывается следующим.
Полная разность фаз в формуле (6) может быть записана в виде

где N – целое число фазовых циклов или интерференционных полос, посчитанное счетчиком при прохождении смещения z, = /8 – ширина интерференционной полосы для рассматриваемого измерителя перемещений, Ф – дробная часть фазы, в пределах 2 .
Для того чтобы определять однозначно полную разность фаз (7), предлагается использовать, по крайней мере, один дополнительный регистратор смещения пробной массы.
Пусть дополнительный регистратор смещения пробной массы имеет функцию преобразования вида

Если полный диапазон смещения равен Z, выходной сигнал, то есть функция U, должна быть однозначной на данной области определения 0 z Z. В этом случае существует однозначная обратная функция z=f-1(U). Так как величина z как в формуле (7), так и в формуле (8) есть результат измерения одного и того же смещения, то между ними можно поставить знак приближенного равенства

так как точность измерения смещения в основном и дополнительном каналах различна.
Формулу (9) также можно переписать в виде

откуда число целых циклов фазы приближенно равно

Если погрешность измерения смещения с помощью дополнительного регистратора меньше перемещения в 0.5

то N можно найти путем округления до ближайшего целого

где int(x) – функция целой части числа х.
Тогда искомое значение смещения z равно

Уравнение (12) позволяет найти однозначно смещение z в диапазоне Z или, что то же самое, в полном диапазоне изменения силы тяжести.
Если условие (10) для дополнительного регистратора невыполнимо, может потребоваться еще один дополнительный регистратор, в качестве которого может использоваться любой бесконтактный датчик смещения (датчик координаты), который будет удовлетворять заданным условиям.
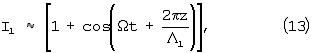
При работе гравиметра на выходе двулучепреломляющей призмы 18 получаются два расходящихся пучка, оси которых параллельны, лежат в плоскости yOz, а расстояние между ними – d. На выходе линзы 19 пучки становятся коллимированными и пересекаются в задней фокальной плоскости этой линзы. Если перед фокальной плоскостью поместить поляризатор 22, распределение интенсивности света в фокальной плоскости описывается уравнением

где W – фокусное расстояние линзы 19.
Распределение (13) представляет собой пространственную решетку с периодом 1. На выходе диафрагмы 20, если ее размер поперек решетки много меньше ее периода, интенсивность света описывается тем же выражением (13).
Уравнение (13) аналогично уравнению (4) для основного канала лазерного измерителя перемещений с реверсивным счетом интерференционных полос, но с другим значением интерференционной полосы 1. Оптический сигнал (13) попадает на фотоприемник 21, сигнал с которого подается на второй канал фазометра 10. Так как то следовательно, чувствительность дополнительного канала регистратора много меньше чем основного.
Заявляемый гравиметр работает следующим образом. Приращение силы тяжести g вызывает изменение веса пробной массы 3, что приводит к деформации упругого элемента 2 по оси OZ, и, как следствие, к смещению уголковых отражателей 12 и 13, что в свою очередь приводит к возникновению оптической разности хода из-за изменения расстояния (геометрической разности хода) между уголковыми отражателями 12 и 13 и зеркальной призмой 11. Оптическая разность хода приводит к появлению фазового сдвига в сигнале с фотоприемника 8 по отношению к сигналу с задающего генератора 7 и, как следствие, возникает фазовый сдвиг, содержащий информацию о величине смещения упругого элемента 2, которое измеряется фазометром 10 и передается на вычислительное устройство 4, в котором сигнал обрабатывается и выводится на монитор.
В случае наличия дополнительного регистратора лазерный измеритель перемещений с реверсивным счетом интерференционных полос работает в том же режиме, но одновременно со смещением уголковых отражателей 12 и 13 происходит смещение на ту же величину и диафрагмы 20, что приводит к приращению фазы сигнала с фотоприемника 21 по отношению к фазе сигнала с задающего генератора 7 на величину 2 . Это приращение измеряется фазометром 23, для которого опорным сигналом является также сигнал с задающего генератора 7. Сигнал с фазометра 23 передается на вычислительное устройство 4, на которое поступает также и сигнал с лазерного измерителя перемещений с реверсивным счетом интерференционных полос. В вычислительном устройстве анализируются значения фазовых сдвигов, поступивших с обоих устройств, что в результате позволяет определить величину g с достоверностью, близкой к 1, даже для случаев работы гравиметра в условиях повышенной микросейсмики, ударных воздействий и т.д.
Рассмотрим численный пример.
1) для случая выполнения устройства регистрации пробной массы в виде лазерного измерителя перемещений с реверсивным счетом интерференционных полос.
Для примера оценим чувствительность или разрешающую способность предлагаемого устройства. Для He-Ne лазера =0,6328 мкм. Современные фазометры позволяют измерять фазовый сдвиг с точностью ~2 /3000. В пересчете на смещение это составит ~0,025 нм, что в перерасчете на приращение силы тяжести составит 0,005 мГал.
2) для случая выполнения устройства регистрации пробной массы в виде лазерного измерителя перемещений с реверсивным счетом интерференционных полос и дополнительного регистратора.
Характерное смещение пробной массы для предлагаемого гравиметра при изменении силы тяжести на 8000 мГал (максимальное изменение силы тяжести в земных условиях) составляет 40 мкм. Для однозначного измерения смещения с помощью дополнительного лазерного измерителя перемещений с реверсивным счетом интерференционных полос должно быть 1<40 мкм. Абсолютная погрешность измерения согласно (10) должна быть меньше /2, где =0,08 мкм, относительная – меньше 0,08 мкм/40 мкм = 1/500. В терминах измерения фазы в интерферометрах погрешность измерения должна быть не хуже 1/500 доли интерференционной полосы. Как отмечалось выше, современные фазометры позволяют измерять фазовый сдвиг с точностью 1/3000, то есть в нашем случае достаточно одного дополнительного регистратора для однозначного определения смещения пробной массы с помощью лазерного интерферометра.
Формула изобретения
1. Гравиметр, содержащий корпус с размещенными в нем упругим элементом с плоскими пружинами и пробной массой, устройство регистрации смещения пробной массы и систему обработки результатов, отличающийся тем, что устройство регистрации смещения пробной массы выполнено в виде лазерного измерителя перемещений с реверсивным счетом интерференционных полос, содержащего два уголковых отражателя, закрепленных на упругом элементе.
2. Гравиметр по п.1, отличающийся тем, что устройство регистрации смещения пробной массы снабжено дополнительным регистратором смещения пробной массы.
3. Гравиметр по п.2, отличающийся тем, что в качестве дополнительного регистратора смещения пробной массы используется дополнительный лазерный дифференциальный измеритель перемещения.
4. Гравиметр по п.1, отличающийся тем, что вершины уголковых отражателей размещены, по меньшей мере, в одной из вертикальных плоскостей симметрии упругого элемента.
5. Гравиметр по п.1, отличающийся тем, что упругий элемент и пробная масса расположены в термостатированном корпусе.
6. Гравиметр по п.5, отличающийся тем, что термостат выполнен, по меньшей мере, двухступенчатым.
7. Гравиметр по п.1, отличающийся тем, что система обработки результатов выполнена в виде вычислительного устройства.
8. Гравиметр по п.1, отличающийся тем, что упругий элемент имеет форму призмы.
РИСУНКИ
MM4A Досрочное прекращение действия патента Российской Федерации на изобретение из-за неуплаты в установленный срок пошлины за поддержание патента в силе
Дата прекращения действия патента: 29.11.2005
Извещение опубликовано: 27.01.2007 БИ: 03/2007
|