|
|
(21), (22) Заявка: 2000128149/28, 13.11.2000
(24) Дата начала отсчета срока действия патента:
13.11.2000
(30) Конвенционный приоритет:
13.11.1999 DE 19954662.2
(43) Дата публикации заявки: 10.12.2002
(45) Опубликовано: 10.06.2005
(56) Список документов, цитированных в отчете о поиске:
US 5367552 A, 22.11.1994. RU 2119659 C1, 27.09.1998. RU 2137114 C1, 10.09.1999. RU 2065156 C1, 10.08.1996. ЕР 0271723 А1, 22.06.1988. ЕР 0354045 А2, 07.02.1990.
Адрес для переписки:
101000, Москва, пер. М.Златоустинский, 10, кв.15, “ЕВРОМАРКПАТ”, Веселицкому М.Б.
|
(72) Автор(ы):
РИЗ Герман (DE), ШАЛЛ Патрисия (DE), КОРДЕЗ Франк (DE), ХАРТИКК Мартин (DE)
(73) Патентообладатель(и):
ХАЙМАНН СИСТЕМС ГМБХ (DE)
|
(54) УСТРОЙСТВО И СПОСОБ ДЛЯ ОБНАРУЖЕНИЯ НЕРАЗРЕШЕННЫХ ПРЕДМЕТОВ
(57) Реферат:
Использование: для определения неразрешенных предметов багажа. Сущность изобретения заключается в том, что предлагается целенаправленно контролировать предмет лишь в одной локальной зоне (GM). С этой целью детекторное устройство подразделяют на более низкую и более высокую ступени контроля. На более низкой ступени контроля определяют координаты локальной зоны (GM), на которую затем на более высокой ступени контроля наводят электронограф. При этом с использованием рентгенодифракционного анализа можно, в частности, определять материал взрывчатого вещества предмета в объекте. Электронограф состоит из коллимационно-детекторной системы, которая выполнена регулируемой по высоте и в боковом направлении на более высокой ступени контроля, и согласованного с ней, регулируемого по положению в боковом направлении источника рентгеновского излучения. Коллимационно-детекторная система имеет предпочтительно лишь один коллиматор и один детектор. Коллиматор имеет конически расширяющуюся круговую щель, воспроизводящую заданный угол M рассеянного излучения. Технический результат: повышение скорости автоматического обнаружения не разрешенных к провозу предметов багажа. 2.н. и 11 з.п. ф-лы, 4 ил.

Настоящее изобретение относится к устройству для обнаружения неразрешенных предметов в объектах, преимущественно в багаже, а также к способу для обнаружения таких предметов с помощью рентгеновского излучения.
В целях обеспечения безопасности, например, воздушного сообщения багаж с входящими в этот багаж предметами необходимо контролировать прежде всего на наличие взрывчатых веществ, для чего задействуются самые современные технические средства. С этой целью объект (багаж) проходит, как правило, две или несколько ступеней контроля, при этом на первой ступени контроля часто предусматривается применение быстродействующей рентгеновской системы, которая рассчитана на большой объем проверяемых предметов багажа. При наличии внутри багажа материалов, не поддающихся однозначной идентификации, проводится дополнительное обследование на второй ступени контроля.
С этой целью, как описано в DE 4406956 С2, для ускоренного контроля на второй, соответственно более высокой, ступени контроля с помощью компьютера конкретно определяется несколько координат тех зон, которые не были однозначно определены на более низкой, первой, ступени контроля, и эта информация направляется на вторую, соответственно более высокую, ступень контроля.
Для поиска взрывчатых веществ может быть, в частности, использован рентгенодифракционный анализ, в котором измеряют рассеянное кристаллической структурой рентгеновское излучение и сравнивают его с характерными энергетическими спектрами, например, различных взрывчатых веществ, что позволяет на основании указанного измерения энергии сделать вывод о наличии в объекте взрывчатого вещества, а также о материале взрывчатого вещества.
В DE 19510168 А1 описано соответствующее устройство. В этом устройстве на источнике рентгеновского излучения установлена диафрагма, с помощью которой формируется веерообразный пучок рентгеновских лучей, направляемый на контролируемую зону проверяемого материала. В контролируемой зоне напротив источника рентгеновского излучения симметрично оси центрального рентгеновского луча в плоскости, перпендикулярной веерообразному пучку рентгеновских лучей, расположены щелевые коллиматоры. Рентгеновское излучение детектируется по всей просвечиваемой контролируемой зоне несколькими детекторами.
В ЕР 0354045 А2 описаны устройство и способ, в которых также предусмотрено формирование веерообразного пучка рентгеновских лучей. При просвечивании проверяемого объекта этим веерообразным пучком рентгеновские лучи дифрагируют на кристаллической решетке объекта, что регистрируется в виде энергетического спектра несколькими детекторами.
Еще одно устройство описано в US 4956856. В этом устройстве формируется узкий пучок рентгеновских лучей, который вращающимся диском со спиралевидной щелью направляется на просвечиваемый объект. Этой щелью узкий пучок перемещается по проверяемому объекту в поперечном направлении.
Использование в рентгеновской установке первичного пучка лучей небольшого сечения описано в DE 4101544 А1. При этом рассеянное излучение первичного пучка лучей регистрируется несколькими детекторами и концентрической коллиматорной системой.
Недостаток вышеописанных устройств состоит в том, что для определения всех не разрешенных к провозу предметов багажа сканированию всегда подвергается все место багажа целиком.
Из DE 4130039 А1 известна система для формирования вытянутого пучка рентгеновских лучей. Используемая для этой цели диафрагма состоит из двух ограничительных элементов, которые ориентированы друг относительно друга таким образом, чтобы ограничивать промежуток, соответствующий форме пучка лучей. Эта система предназначена для увеличения охватываемой рентгеновским излучением площади поверхности.
Исходя из вышеизложенного, в основу настоящего изобретения была положена задача разработать способ для быстрого и автоматического обнаружения не разрешенных к провозу предметов багажа внутри детекторного устройства, а также разработать соответствующее устройство для осуществления этого способа.
В предлагаемом способе обнаружения неразрешенных предметов, в котором используется детекторное устройство с более низкой ступенью контроля, на которой объект представляют по меньшей мере в двухмерной системе координат, вышеупомянутая задача решается за счет того, что на более низкой ступени контроля просвечиваемый, считающийся неразрешенным предмет определяют и вводят в память в виде локальной зоны в контролируемом объекте, описываемой в системе координат по меньшей мере двумя координатами, координаты, которые описывают положение этой локальной зоны, передают на более высокую ступень контроля детекторного устройства и по ним не идентифицированный однозначно предмет затем подвергают целенаправленному непосредственному контролю, который осуществляют с использованием рентгенодифракционного анализа.
При осуществлении предлагаемого способа одна из координат, описывающих положение вышеупомянутой локальной зоны, может определяться с помощью детектора, регистрирующего распространяющийся вдоль соответствующего пути луч веерообразного пучка рентгеновских лучей на более низкой ступени контроля, а вторая координата – на основании данных о начальном положении транспортерной ленты, регистрируемом при поступлении объекта на более высокую ступень контроля. Если на более высокой ступени контроля использовать регулируемый по положению электронограф, его можно навести непосредственно на описанную с помощью более низкой ступени контроля локальную зону и перемещать вдоль определенного на этой более низкой ступени контроля пути распространения по высоте и при необходимости вбок. Возникающее при обнаружении предмета рассеянное излучение преобразуется в анализируемый сигнал, который направляют на обработку и анализ.
С помощью дополнительного веерообразного пучка рентгеновских лучей на более низкой ступени контроля может определяться третья координата, описывающая положение локальной зоны. В этом случае, если на более высокой ступени контроля использовать регулируемый по положению электронограф, его можно навести непосредственно на описанную тремя координатами точку. Рассеянное излучение, возникающее в этой точке, преобразуется в анализируемый сигнал, который направляют на обработку и анализ.
Предлагаемое устройство для обнаружения неразрешенных предметов имеет детекторное устройство с более низкой ступенью контроля, содержащее источник рентгеновского излучения, детекторный блок, а также транспортер и маркировочный блок, при этом детекторный блок и маркировочный блок электрически соединены с компьютером. В этом устройстве вышеупомянутая задача решается за счет того, что за источником рентгеновского излучения и детекторным блоком, реализующими более низкую ступень контроля, расположен электронограф, реализующий более высокую ступень контроля и электрически соединенный с компьютером.
При этом основная идея изобретения состоит в том, чтобы разбить весь процесс на несколько этапов и предварительно сканировать контролируемый багаж на более низкой ступени контроля в детекторном устройстве с тем, чтобы на основании одной локальной зоны/локальной точки или нескольких локальных зон/локальных точек, определенных на более низкой ступени контроля и описанных двумя или тремя координатами, осуществлять на более высокой ступени контроля в детекторном устройстве целенаправленное обнаружение считающегося(-ихся) не разрешенным(-и) к провозу предмета(-ов) багажа в каждой из этих установленных локальных зон. Тем самым отпадает необходимость в сканировании всего места багажа, что обеспечивает экономию времени и позволяет подвергать объект воздействию более низкой дозы облучения. На более высокой ступени контроля на основании информации об указанной описанной локальной зоне, соответственно об указанных описанных локальных зонах определяется тип материала с использованием рентгенодифракционного анализа. Таким образом, вторая более высокая ступень контроля позволяет создать в аэропорту эффективное средство для быстрого, несложного и одновременно автоматического контроля багажа.
Достигается указанный результат за счет того, что на более низкой ступени контроля на основании данных о положении транспортерной ленты, соответственно объекта и с помощью детектора, контролирующего предмет багажа, определяют соответствующую точку, с которой начинает работать расположенный на более высокой ступени контроля электронограф.
Электронограф может иметь еще один источник рентгеновского излучения и расположенную на более высокой ступени контроля коллимационно-детекторную систему, которая ориентирована на этот источник рентгеновского излучения и имеет возможность регулирования ее положения по высоте относительно источника рентгеновского излучения с помощью соответствующих приспособлений и возможность синхронного регулирования ее бокового положения вместе с этим источником рентгеновского излучения, для чего источник рентгеновского излучения может быть выполнен с возможностью направленного перемещения в боковом направлении с помощью соответствующего приспособления, а управление всеми указанными приспособлениями осуществляться компьютером.
В устройстве может быть предусмотрен транспортер, перемещающий предмет в продольном направлении, благодаря чему происходит сканирование предмета багажа в этой определенной точке с использованием рентгенодифракционного анализа.
С помощью регулируемого по положению электронографа можно на основании двух известных координат сканировать предмет багажа по третьей координате или же на основании трех известных координат производить измерение только в одной локальной точке. С этой целью электронограф либо наводят на определяемое как координата Х положение транспортерной ленты и перемещают по высоте и соответственно в боковом направлении по ходу распространения лучей, либо непосредственно наводят на эту точку.
При этом регулируемая по высоте коллимационно-детекторная система предпочтительно состоит из коллиматора и расположенного за ним детектора. Коллиматор может иметь конически расширяющуюся круговую щель, воспроизводящую заданный угол и ориентированную на чувствительную к рентгеновскому излучению поверхность детектора.
На более высокой ступени контроля можно дополнительно определять точное пространственное расположение и габариты предмета в объекте, например, не разрешенного к провозу предмета в багаже, т.е. координаты предмета X, Y и Z.
На следующей стадии, зная дифракционный спектр и дополнительно определяемый по среднему значению заряда ядра атомов тип материала, можно получить дополнительную информацию для определения этого материала. С этой целью в коллиматоре с круговой щелью предусмотрено центральное глухое отверстие, в котором на определенном расстоянии друг от друга последовательно расположены два детекторных блока и с помощью которого известным образом определяется среднее значение заряда ядра атомов для находящегося в первичном пучке предмета.
Первый детекторный блок может быть выполнен в виде детектора для более низкой, а второй детекторный блок – для более высокой энергии рентгеновского излучения. Кроме того, коллимационно-детекторная система может быть ориентирована первым детекторным блоком и вторым детекторным блоком на первичный пучок от источника рентгеновского излучения.
Предпочтительно более низкая и более высокая ступени контроля расположены в общем детекторном устройстве на второй ступени контроля.
Ниже изобретение более подробно поясняется на примере одного из вариантов его выполнения со ссылкой на прилагаемые чертежи, на которых показано:
на фиг.1 – упрощенная схема просвечивания объекта с предметами в рентгеновской камере на более низкой ступени контроля детекторного устройства,
на фиг.2 – схематичное изображение предлагаемого в изобретении устройства на более высокой ступени контроля,
на фиг.2а – изображение коллимационно-детекторной системы, показанной на фиг.2,
на фиг.2б – схема, поясняющая принцип работы системы, показанной на фиг.2,
на фиг.3 – изображение в перспективе детекторного устройства, основные элементы которого показаны на фиг.1 и 2,
на фиг.4 – еще одна схема коллимационно-детекторной системы, показанной на фиг.2.
Как известно, на первой (или более низкой) ступени контроля в не показанной более подробно контрольной системе багаж 5 (объект) проверяется на наличие в нем важного с точки зрения безопасности материала. При обнаружении подобного подозрительного материала этот объект 5 поступает для повторной проверки и определения типа материала подозрительных предметов 6 и/или 7 багажа на вторую (или более высокую) ступень контроля. Указанные ступени контроля, как известно, пространственно отделены друг от друга. Поэтому в данном случае преимущественно рассматривается вторая ступень контроля, на которой определяется тип материала.
На второй ступени (детекторное устройство 30) предусмотрены предпочтительно две ступени контроля, а именно 30.1 и 30.2, при этом более низкая ступень контроля обозначена позицией 30.1, а более высокая ступень контроля обозначена позицией 30.2.
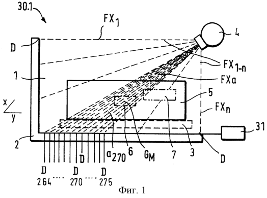
На фиг.1 представлена более низкая ступень контроля.
Объект 5 помещают в известную рентгеновскую камеру 1 более низкой ступени 30.1 контроля подробно не показанного на чертеже детекторного устройства 30. Внутри рентгеновской камеры 1 расположены, например, Г-образный детекторный блок 2, транспортер 3, служащий базовой горизонтальной плоскостью, и источник 4 рентгеновского излучения, размещенный сбоку. Источник 4 рентгеновского излучения предпочтительно располагают над транспортером 3 и напротив детекторного блока 2. На транспортере 3 находится просвечиваемый объект 5 с предметами 6, 7. Детекторный блок 2 имеет при этом несколько отдельных детекторов D1-n, с помощью которых обычным образом определяется тип материала. Для упрощения детекторы D1-n показаны лишь на небольшом по протяженности участке. Для определения материала источником 4 рентгеновского излучения известным образом формируется предпочтительно веерообразный пучок FX рентгеновских лучей. Этим пучком, имеющим предпочтительно узкое сечение, просвечивается рентгеновская камера 1, а тем самым и проверяемый объект 5. Г-образная форма детекторного блока 2 и индивидуальное расположение и направленность отдельных детекторов D1-n обеспечивают при этом падение рентгеновских лучей FX1-n веерообразного пучка этих лучей под прямым углом на каждый детектор D1-n. В других вариантах могут также применяться несколько веерообразных пучков рентгеновских лучей различной энергии и/или различной направленности.
При нахождении одного или нескольких предметов 6, 7 на соответствующем пути a1-n распространения рентгеновских лучей FX1-n происходит ослабление этих рентгеновских лучей FX1-n, что регистрируется расположенными на пути a1-n распространения лучей детекторами D1-n.
На фиг.2 схематично показана более высокая ступень 30.2 контроля. В данном случае объект 5 на транспортере 3, поступающий предпочтительно с более низкой ступени 30.1 контроля, перемещается далее к более высокой ступени 30.2 контроля детекторного устройства 30, имеющего регулируемый по положению электронограф 10. Этот электронограф 10 состоит из коллимационно-детекторной системы 11 и источника 12 рентгеновского излучения. Коллимационно-детекторная система 11 ориентирована на рентгеновский луч FX’, который предпочтительно представляет собой узкий первичный пучок, излучаемый указанным источником 12 рентгеновского излучения, который предпочтительно располагать в рентгеновской камере 2 под транспортером 4. Коллимационно-детекторная система 11 выполнена регулируемой по положению с возможностью ее одновременного перемещения по высоте и в боковом направлении (в направлениях Z и Y), для чего предусмотрены не показанные более подробно приспособления 13. Вместе с этим источник 12 рентгеновского излучения также выполнен регулируемым в боковом направлении с возможностью перемещения в направлении Y, для чего служит приспособление 14, на котором он закреплен. Направленное перемещение коллимационно-детекторной системы 11 и источника 12 рентгеновского излучения происходит синхронно, для чего предусмотрено централизованное управление приспособлениями 13 и 14, например прямолинейными направляющими с приводом от ходового винта. Такое перемещение может координировать подробно не показанный на чертеже компьютер 31.
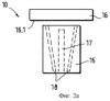
На фиг.2а более подробно показан предпочтительный вариант выполнения изображенной на фиг.2 коллимационно-детекторной системы 11, предназначенной для рентгенодифракционного анализа.
Коллиматор 15 имеет круговую щель 18, которая имеет форму усеченного конуса и которая выполнена таким образом, чтобы пропускать только ту часть рассеянного излучения, идущего от контролируемой точки объекта, которая падает под определенным углом M. Это рассеянное излучение улавливается чувствительной к рентгеновскому излучению поверхностью 16.1 установленного за коллиматором детектора 16. В центре коллиматор 15 имеет глухое отверстие 17, которое предусмотрено на тот случай, если коллимационно-детекторная система 11 должна будет взять на себя дополнительные функции (о которых сказано ниже).
На фиг.2б в упрощенном виде поясняется принцип рентгенодифракционного анализа. Позицией 12 обозначен источник рентгеновского излучения, показанный на фиг.2. Для получения первичного пучка FX’ перед источником 12 рентгеновского излучения установлена диафрагма 20, например точечная диафрагма. Над источником 12 рентгеновского излучения расположен транспортер 3, на котором находится объект 5. При падении первичного пучка FX’ на материал этот пучок FX’, как известно, частично отклоняется кристаллической решеткой материала (закон Брэгга) и выходит из материала в виде рассеянного излучения FX’’. В результате по энергетическому спектру, полученному чувствительным к энергии излучения детектором 16, можно определить кристаллическую структуру материала, а тем самым идентифицировать и сам материал. Подобным образом можно, в частности, распознавать и различать также взрывчатые вещества.
На фиг.3 в перспективе показано целиком детекторное устройство 30, включая наиболее важные детали по фиг.1 и 2, при этом более наглядно показаны приспособления 13 и 14.
В данном примере в целях наглядности при совместном рассмотрении схем по фиг.1-3 более подробно описан только контроль предмета 6.
При поступлении объекта 5 на более низкую ступень 30.1 контроля не показанным подробно маркировочным блоком в память компьютера 31 вводится первая метка X1, характеризующая положение транспортерной ленты и начало объекта 5. Таким маркировочным блоком может служить оптопара. При дальнейшем перемещении объекта 5 в память записываются последующие положения транспортерной ленты, определяемые, например, путем отсчета элементов изображения (пикселей). При обнаружении предмета 6 в память вводится соответствующее так называемое начальное положение ХAG транспортерной ленты, при этом наряду с зарегистрированными положениями ленты дополнительно в эту же или еще одну память компьютера 31 поступают также сигналы от детекторов D266-275, регистрирующих уменьшение энергии излучения, и соответствующие данные о путях а1-n распространения лучей.
На основании этой сохраненной информации системой обработки изображений по специальным критериями определяется “типичная” локальная зона GM. Эта зона может быть описана, например, двумя координатами, причем координату Х определяют на основании сохраненных в памяти данных о положении XAG транспортерной ленты, а координата Y определяется контролирующим детектором D270, и она равна YG. Данные об относящемся к этому детектору D270 пути а270 распространения лучей также сохраняются в памяти. При описании локальной точки GM тремя пространственными координатами, например, с использованием дополнительного направления излучения и с применением дополнительной детекторной системы на более низкой ступени 30.1 контроля предпочтительно определяется средняя точка просвеченной поверхности предмета 6, лежащего в пределах веерообразного пучка FX1-n лучей, причем указанная средняя точка определяется в этом случае координатами XGM, YGM и ZGM. Эта операция также выполняется в компьютере 31, и ее результаты запоминаются в нем.
Компьютер 31 передает указанные данные на более высокую ступень 30.2 контроля детекторного устройства 30.
После этого электронограф 10 на более высокой ступени контроля перемещается в соответствии с координатами локальной зоны или локальной точки GM, переданными с более низкой ступени 30.1 контроля на более высокую ступень 30.2 контроля.
При наличии двух известных координат локальной зоны GM электронограф 10 предпочтительно перемещается в определенное для предмета 6 начальное положение ХAG транспортерной ленты. Затем коллимационно-детекторная система 11 перемещается параллельно направлению а270, т.е. синхронно перемещается по высоте и в боковом направлении, при этом вдоль линии а270 выборочно регистрируется энергия рассеянного предметом излучения. Соответствующим образом источник 12 рентгеновского излучения синхронно перемещается в горизонтальном направлении.
Характеризующие изменение энергии сигналы накапливаются, образуя один или при необходимости несколько последовательных во времени энергетических спектров, что позволяет также пространственно различать материалы, измерение параметров которых осуществляется вдоль линии a270.
Полученные спектры известным образом сравниваются в компьютере 31 с известными энергетическими спектрами. Такое сравнение позволяет определять тип материала, в частности наличие взрывчатого вещества.
При наличии трех известных пространственных координат локальной точки GM, определенной на более низкой ступени контроля, предмет 6 перемещают в заранее определенное положение XGM транспортерной ленты, а коллимационно-детекторную систему 11 и источник 12 рентгеновского излучения электронографа 10 переводят на локальную точку GM таким образом, чтобы в этой точке GM круговая щель 18 коллиматора 15 улавливала рассеянное излучение FX’’ от источника 12 рентгеновского излучения, отклоняемое кристаллической решеткой предмета 6. В этом случае нет необходимости в дополнительном перемещении системы для определения типа материала.
Существует также возможность комбинировать информацию о координатах, полученную на более низкой ступени контроля, с дополнительной пространственной информацией, полученной на более высокой ступени контроля, расширив ее при необходимости за счет использования нескольких измерительных проходов, и таким образом определять объем и точное пространственное расположение предмета 6 в объекте 5.
Предпочтительный вариант выполнения коллиматора 15 с круговой щелью представлен на фиг.4. При этом в коллиматоре 15 предпочтительно предусмотреть центральное глухое отверстие 17. В этом отверстии 17 расположен первый детекторный блок 21, а за ним и на определенном расстоянии от него – второй детекторный блок 22. Первый детекторный блок 21 выполнен в виде детектора для более низкой, а второй детекторный блок 22 – в виде детектора для более высокой энергии рентгеновского излучения. При такой конструкции с помощью этого коллиматора 15 можно, например, дополнительно проводить обычное обнаружение материалов путем определения средней величины заряда ядра атомов у материала предмета 6. Комбинирование указанной величины заряда ядра с полученным энергетическим спектром позволяет более надежно идентифицировать материал предмета 6. Такая возможность имеет особое значение прежде всего в тех случаях, когда предмет 6 содержит материал с высокой поглощающей способностью. Так, в частности, часто более низкая энергия центрального пучка FX’ поглощается этим материалом, в результате чего в измеренном энергетическом спектре отсутствуют соответствующие дифракционные линии. Информацию об их отсутствии вместе с результатом дополнительного определения материала можно вводить в компьютер 31 для их учета в сравнительном анализе.
Кроме того, детекторные блоки 21, 22 позволяют с высокой точностью пространственно наводить (юстировать) коллимационно-детекторную систему 11 на источник 12 рентгеновского излучения. Саму юстировку при этом производят без присутствия объекта 5 между коллимационно-детекторной системой 11 и источником 12 рентгеновского излучения.
Очевидно, что в изобретение можно вносить различные изменения, не выходя при этом за его объем. Так, например, ступени 30.1 и 30.2 контроля можно выполнить отдельными, благодаря чему в этом случае на более низкой ступени контроля как первой ступени будут определяться описывающие локальную зону или точку координаты, которые будут передаваться на более высокую, в данном случае вторую, ступень контроля, при этом необходимо обеспечить передачу определенных на первой ступени контроля координат на вторую ступень контроля без искажения информации о положении этой зоны или точки. Помимо этого, можно использовать и другие электронографы 10, например такие, которые известны и описаны в уровне техники, при этом необходимо предусматривать возможность регулирования электронографа 10 по положению, как это, например, рассмотрено в настоящем описании.
Формула изобретения
1. Способ обнаружения с помощью рентгеновского излучения неразрешенных предметов в объектах, преимущественно в багаже, с помощью детекторного устройства с более низкой ступенью контроля, на которой объект представляют по меньшей мере в двухмерной системе координат, отличающийся тем, что на более низкой ступени (30.1) контроля просвечиваемый, считающийся неразрешенным предмет (6, 7) определяют и вводят в память в виде локальной зоны (GM) в контролируемом объекте (5), описываемой в системе координат по меньшей мере двумя координатами, координаты, которые описывают положение этой локальной зоны (GM), передают на более высокую ступень (30.2) контроля детекторного устройства (30) и по ним затем не идентифицированный однозначно предмет (6, 7) подвергают целенаправленному непосредственному контролю, который осуществляют с использованием рентгенодифракционного анализа.
2. Способ по п.1, отличающийся тем, что одну из описывающих указанное положение координат (Y) определяют с помощью детектора (D1-n), который регистрирует распространяющийся вдоль соответствующего пути (а) луч веерообразного пучка (FX) рентгеновских лучей на более низкой ступени (30.1) контроля, а вторую описывающую указанное положение координату (X) определяют на основании данных о начальном положении (ХAG) транспортерной ленты, регистрируемом при поступлении объекта (5) на более высокую ступень (30.2) контроля.
3. Способ по п.1, отличающийся тем, что третью описывающую указанное положение координату (ZG) определяют с помощью дополнительного веерообразного пучка рентгеновских лучей на более низкой ступени (30.1) контроля.
4. Способ по п.2, отличающийся тем, что на более высокой ступени (30.2) контроля находится регулируемый по положению электронограф (10), который наводят непосредственно на описанную с помощью более низкой ступени (30.1) контроля локальную зону (GM) и перемещают вдоль определенного на этой более низкой ступени (30.1) контроля пути (а) распространения по высоте и при необходимости вбок, при этом возникающее при обнаружении предмета (6, 7) рассеянное излучение (FX’’) преобразуют в анализируемый сигнал, который направляют на обработку и анализ.
5. Способ по п.3, отличающийся тем, что на более высокой ступени (30.2) контроля находится регулируемый по положению электронограф (10), который наводят непосредственно на описанную тремя координатами (ХGM, YGM, ZGM) точку (GM), возникающее в которой рассеянное излучение (FX’’) преобразуют в анализируемый сигнал, который направляют на обработку и анализ.
6. Способ по любому из пп.1-5, отличающийся тем, что на основании информации о координатах в пределах более высокой ступени (30.2) контроля определяют локальное расположение и габариты предмета (6, 7) в объекте (5).
7. Способ по п.4 или 5, отличающийся тем, что с помощью расположенных внутри электронографа (10) детекторных блоков (21, 22) дополнительно определяют среднее значение заряда ядра атомов у материала предмета (6, 7).
8. Устройство для обнаружения неразрешенных предметов в объектах, преимущественно в багаже, имеющее детекторное устройство с более низкой ступенью контроля, содержащее источник рентгеновского излучения, детекторный блок, а также транспортер и маркировочный блок, при этом детекторный блок и маркировочный блок электрически соединены с компьютером, отличающееся тем, что за источником (4) рентгеновского излучения и детекторным блоком (2), реализующими более низкую ступень (30.1) контроля, расположен электронограф (10), реализующий более высокую (30.2) ступень контроля и электрически соединенный с компьютером (31).
9. Устройство по п.8, отличающееся тем, что электронограф (10) имеет еще один источник (12) рентгеновского излучения и коллимационно-детекторную систему (11), которая ориентирована на этот источник (12) рентгеновского излучения и которая имеет возможность регулирования ее положения по высоте относительно источника (12) рентгеновского излучения с помощью соответствующих приспособлений (13) и возможность синхронного регулирования ее бокового положения вместе с этим источником рентгеновского излучения, для чего источник (12) рентгеновского излучения выполнен с возможностью направленного перемещения в боковом направлении с помощью соответствующего приспособления (14), а управление всеми указанными приспособлениями (13, 14) осуществляется компьютером (31).
10. Устройство по п.9, отличающееся тем, что коллимационно-детекторная система (11) состоит из коллиматора (15) и расположенного за ним детектора (16), при этом коллиматор (15) имеет конически расширяющуюся круговую щель (18), воспроизводящую заданный угол ( M) и ориентированную на чувствительную к рентгеновскому излучению поверхность (16.1) детектора (16).
11. Устройство по п.10, отличающееся тем, что коллиматор (15) имеет центральное глухое отверстие (17), в котором на определенном расстоянии друг от друга последовательно расположены два детекторных блока (21, 22).
12. Устройство по п.11, отличающееся тем, что первый детекторный блок (21) выполнен в виде детектора для более низкой, а второй детекторный блок (22) выполнен в виде детектора для более высокой энергии рентгеновского излучения.
13. Устройство по п.11 или 12, отличающееся тем, что коллимационно-детекторная система (11) ориентирована детекторным блоком (21) и детекторным блоком (22) на первичный пучок (FX’) от источника (12) рентгеновского излучения.
РИСУНКИ
|
|