|
|
(21), (22) Заявка: 2004101382/02, 13.01.2004
(24) Дата начала отсчета срока действия патента:
13.01.2004
(45) Опубликовано: 10.06.2005
(56) Список документов, цитированных в отчете о поиске:
Наставления по стрелковому делу. – М.: Военное издательство Минобороны СССР, 1973, с.161-163. RU 2100740 C1, 27.12.1997. RU 2207478 С2, 27.06.2003. RU 2110034 С1, 27.04.1998. DE 2364372 A1, 24.07.1975.
Адрес для переписки:
193015, Санкт-Петербург, ул. Очаковская, 8, пом.2Н, Творческий союз изобретателей
|
(72) Автор(ы):
Леонтьев Д.В. (RU)
(73) Патентообладатель(и):
Леонтьев Денис Васильевич (RU)
|
(54) ШТЫК-НОЖ
(57) Реферат:
Изобретение относится к холодному оружию, а именно к многоцелевым штык-ножам, предназначенным как для рукопашного боя при укреплении штык-ножа на дульной части стрелкового оружия и в качестве метательного средства при отделении штык-ножа от стрелкового оружия, так и для использования его в экстремальных условиях в качестве ножа выживания. Штык-нож содержит клинок, рукоять, скрепленную с хвостовиком клинка, приспособление для крепления штык-ножа на стрелковом оружии, состоящее из крестовины с отверстием и запорным устройством в головке рукояти. На торцевых поверхностях крестовины параллельно плоскости клинка выполнены направляющие рейки. Торцевая поверхность крестовины со стороны обуха клинка выполнена выгнутой к оси клинка, а отверстие в крестовине образовано полукольцом, сопряженным с прямолинейными участками, входящими в направляющие рейки, и вогнутой поверхностью крестовины. Сопряженные с полукольцом прямолинейные участки выполнены с возможностью их перемещения вдоль направляющих реек и фиксации их в заданном положении, а радиус вогнутости крестовины выполнен равным внутреннему радиусу полукольца. Изобретение позволяет повысить удобство в эксплуатации. 4 з.п. ф-лы, 4 ил.

Настоящее изобретение относится к холодному оружию, а именно к многоцелевым штык-ножам, предназначенным как для рукопашного боя при укреплении штык-ножа на дульной части стрелкового оружия и в качестве метательного средства при отделении штык-ножа от стрелкового оружия, так и для использования его в экстремальных условиях в качестве ножа выживания.
Известен нож выживания (см. патент РФ №2100740, кл. F 41 В 13/00, В 26 В 3/06), содержащий клинок, закрепленный в рукояти. Рукоять состоит из гарды с ограничителем.
В указанном ноже не предусмотрены устройства для крепления его к дульной части стрелкового оружия и он может быть использован только как нож выживания.
Известен штык с рукояткой и ножнами (см. заявку WO №9621541, кл. В 25 В 1/22, В 26 В 3/06), имеющий лезвие с хвостовиком, между которыми расположен фланец с защелкой. На хвостовик надета ручка, на заднем конце которой установлена запорная пластина, в отверстие которой входит задний конец хвостовика. Штык вставляется в ножны.
Указанный штык может быть использован и как штык-нож, и как нож для выживания. Однако фланец, установленный между лезвием и хвостовиком, значительно выступает над кромками лезвия, что мешает пользователю при эксплуатации штыка в качестве ножа выживания. Для предотвращения нанесения травм пользователю (при ношении штыка) ножны выполнены с выемкой для выступающего фланца, что усложняет изготовление ножен и снижает их прочность в месте огибания выступающего конца фланца. Кроме того, выступ фланца создает помехи пользователю в экстремальных условиях. Выступ во фланце не позволяет сбалансировать штык, что снижает точность броска штыка при его метании.
Известен штык-нож образца 1989 г. к автоматам АК-74 и Ан-94 (см. Многоцелевые штыки-ножи XX в. книга Штыки мира , том 2, СПб.: Атлант , 2002 г., автор А.Н.Кулинский), выбранный в качестве прототипа, содержащий клинок с насечкой на обухе и с отверстием, расположенным в передней части клинка, рукоять, скрепленную с хвостовиком клинка, приспособление для крепления штык-ножа на стрелковом оружии, состоящее из кольца в крестовине для надевания на дульную часть и Т-образного паза с пружинной защелкой в головке рукояти. Штык-нож вставлен в стальные ножны.
Данный штык-нож, как и рассмотренный выше аналог, отличается универсальностью, т.е. может быть использован и как штык-нож, и как нож выживания.
Однако как и в выше рассмотренном аналоге следует отметить недостаточное удобство в эксплуатации. Крестовина с отверстием значительно выступает за очертания штык-ножа, что создает неудобство пользователю при ношении штык-ножа на ремне, портупеи и др., а в экстремальных условиях может нанести травму пользователю. Из-за выступа на крестовине нож недостаточно сбалансирован, что мешает прицельному броску. Из-за выступающей за очертания штык-ножа крестовины ножны имеют значительно большие, чем периметр штык-ножа размеры, что, учитывая материал ножен (сталь), утяжеляет штык-нож в ножнах.
Кроме того, поверхность клинка недостаточно полезно использована для создания лучших условий для выживания.
В основу настоящего изобретения положена задача создания такого штык-ножа, в котором крестовина с отверстием была бы выполнена таким образом, чтобы обеспечивались удобство и безопасность в эксплуатации с одновременным снижением размеров и массы ножен, а поверхность клинка использовалась более рационально, расширяя возможности выживания пользователя.
Указанная задача решается тем, что в штык-ноже, содержащем клинок, рукоять, скрепленную с хвостовиком клинка, приспособление для крепления штык-ножа на стрелковом оружии, состоящее из крестовины с отверстием и запорным устройством в головке рукояти, согласно изобретению, на торцевых поверхностях крестовины параллельно плоскости клинка выполнены направляющие рейки, торцевая поверхность крестовины со стороны обуха клинка выполнена вогнутой к оси клинка, а отверстие в крестовине образовано полукольцом, сопряженным с прямолинейными участками, входящими в направляющие рейки, и вогнутой поверхностью крестовины, при этом сопряженные с полукольцом прямолинейные участки выполнены с возможностью их перемещения вдоль направляющих реек и фиксации их в заданном положении, а радиус вогнутости крестовины выполнен равным радиусу полукольца.
Такое выполнение крестовины и отверстия под дульную часть стрелкового оружия позволяет при снятии штык-ножа со стрелкового оружия убрать выступающую часть крестовины, обеспечив безопасность и удобство пользователя, а также выполнять ножны без лишних допусков на выступ крестовины, что значительно снижает их габариты и массу.
По одному из вариантов выполнения штык-ножа целесообразно на поверхности направляющих реек выполнить поперечные канавки по две с каждой стороны клинка, а на прямолинейных участках, входящих в направляющие рейки, с каждой стороны клинка устанавливать пружинную кнопку со штырем, взаимодействующим с поперечными канавками.
Такое выполнение штык-ножа позволяет наиболее простым образом обеспечить надежное закрепление прямолинейных участков в двух основных положениях крестовины: с отверстием и без отверстия.
Перемещение прямолинейных участков по направляющим рейкам и их фиксация могут быть осуществлены и с помощью других замковых средств.
Еще по одному варианту выполнения штык-ножа целесообразно в задней части клинка выполнить по меньшей мере одно калиброванное отверстие.
Такое выполнение штык-ножа позволяет полезно использовать поверхность клинка для удержания в калиброванных отверстиях пуль соответствующего калибра, порох которых может потребоваться пользователю для выживания в экстремальных условиях (разжечь костер и др.)
Еще по одному варианту выполнения штык-ножа целесообразно отверстия в клинке выполнять диаметром 7,62 и 5,45 мм.
Такое выполнение штык-ножа позволяет использовать стандартные патроны, что повышает удобство в эксплуатации штык-ножа.
Еще по одному варианту выполнения штык-ножа целесообразно внутри ножен выполнить карман, в котором разместить устройство для соединения и разъединения ножен с полукольцом крестовины, содержащее подпружиненный кулачок со штангой, с которой связана, установленная на внешней поверхности ножен, кнопка, а также Г-образный рычаг, входящий коротким концом в зацепление с полукольцом крестовины при взаимодействии длинного конца рычага с кулачком.
Такое выполнение соединения ножен со штык-ножом стало возможным благодаря устранению выступа в крестовине при снятии штык-ножа с дульной части стрелкового оружия. При этом габариты ножен существенно уменьшены, что обеспечивает снижение расхода материала для ножен и снижает их массу.
Данную конструкцию ножен можно использовать не только для штык-ножа заявленной конструкции, но и для любого ножа выживания с коротким обушком-ограничителем, например охотничьего ножа и других типов ножей.
Указанные выше и другие преимущества, а также особенности настоящего изобретения будут более понятными после рассмотрения ниже подробного описания, сопровождаемого чертежами, на которых:
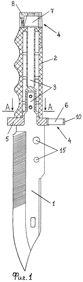
фиг.1 изображает штык-нож в разрезе согласно изобретению;
фиг.2 – сечение А-А по фиг.1;
фиг.3 – крестовина штык-ножа в увеличенном размере по фиг.1;
фиг.4 – штык-нож в комплекте с ножнами в разрезе согласно изобретению.
Штык-нож содержит клинок 1 (фиг.1), рукоять 2, скрепленную с хвостовиком 3 клинка 1, приспособление 4 (по стрелке) для крепления штык-ножа на стрелковом оружии, состоящее из крестовины 5 с отверстием 6 и запорным устройством 7 в головке 8 рукояти 2. На торцевых поверхностях крестовины 5 параллельно плоскости клинка 1 выполнены направляющие рейки 9 (фиг.2). Торцевая поверхность крестовины 5 со стороны обуха клинка 1 выполнена вогнутой к оси клинка 1, а отверстие 6 в крестовине 5 образовано полукольцом 10, сопряженным с прямолинейными участками 11, входящими в направляющие рейки 9, и вогнутой поверхностью крестовины 5. Сопряженные с полукольцом 10 прямолинейные участки 11 выполнены с возможностью их перемещения вдоль направляющих реек 9 и фиксации их в заданном положении. Радиус вогнутости крестовины 5 выполнен равным внутреннему радиусу полукольца 10.
На поверхности направляющих реек 9 выполнены поперечные канавки 12 по две с каждой стороны клинка 1 (фиг.1), а на прямолинейных участках 11, входящих в направляющие рейки 9, с каждой стороны клинка 1 (фиг.1) установлена пружинная кнопка 13 (фиг.2, 3, 4) со штырем 14 (фиг.2), взаимодействующим с поперечными канавками 12. В задней части клинка 1 (фиг.1) выполнено по меньшей мере одно калиброванное отверстие 15 требуемого диаметра. В данном примере осуществления устройства выполнено два отверстия 15 с диаметром 7,62 и 5,45 мм под калибр стандартных патронов.
Штык-нож вставляется в ножны 16 (фиг.4), внутри которых выполнен карман 17 с размещенным в нем устройством 18 (по стрелке) для соединения и разъединения ножен 16 с полукольцом 10 (фиг.1, 2, 3) крестовины 5 (фиг.4), содержащим подпружиненный кулачок со штангой (на чертежах не показаны), кнопку 19 и Г-образный рычаг 20, входящий коротким концом в зацепление с полукольцом 10 (фиг.1, 2, 3) крестовины 5 (фиг.4) при взаимодействии длинного конца рычага 20 с кулачком (на чертеже не показано).
На ножнах 16 имеется приспособление 21, служащее для использования штык-ножа в качестве ножниц для резки проволоки и др. Ножны 16 могут быть снабжены кодовым замком 22, что препятствует использованию штык-ножа другими лицами, кроме пользователя.
Рукоять 2 (фиг.1) в данном примере выполнена полой из пластмассы, что уменьшает массу штык-ножа и расширяет возможности использования штык-ножа в качестве ножа выживания за счет размещения в полости рукояти 2 дополнительных средств выживания (спички, леска, крючки и др.).
Работа штык-ножа очевидна.
При вынимании штык-ножа из ножен 16 (фиг.4) необходимо нажать на кнопку 19, при этом Г-образный рычаг 20 автоматически откидывается, освобождая крестовину 5. При размещении штык-ножа на стволе стрелкового оружия предварительно образуют отверстие 6 (фиг.2) путем одновременного нажатия на пружинные кнопки 13 и перемещения их вдоль направляющих реек 9 до пары поперечных канавок 12 в сторону вогнутой поверхности крестовины 5. При этом диаметр отверстия 6 соизмерим с диаметром ствола стрелкового оружия.
При использовании штык-ножа в качестве ножа выживания производят одновременно нажатие пружинных кнопок 13 и перемещают их вдоль направляющих реек 9 до пары поперечных канавок 12 в сторону от вогнутой поверхности крестовины 5. Таким образом происходит фиксация направляющих реек 9 в двух положениях: с отверстием и без отверстия.
При вставлении штык-ножа в ножны 16 Г-образный рычаг 20 (фиг.4) автоматически закрепляет крестовину 5 штык-ножа в ножнах 16.
Вышеприведенный пример осуществления настоящего изобретения допускает различные модификации и дополнения, которые являются очевидными для специалистов в области, к которой данное изобретение относится. То есть настоящее изобретение ни в коей мере нельзя ограничивать этим описанием предложенного устройства, и в него могут быть внесены изменения и дополнения, определяемые ниже пунктами патентной формулы изобретения.
Использование штык-ножа в качестве ножа выживания без выступающего отверстия на крестовине расширяет эксплуатационные возможности штык-ножа и повышает безопасность пользователя (нож становится более сбалансированным, имеет обтекаемую форму и, следовательно не может случайно зацепиться за выступающие части униформы пользователя, строп парашюта, ветки деревьев, кустарников и др.).
Формула изобретения
1. Штык-нож, содержащий клинок, рукоять, скрепленную с хвостовиком клинка, приспособление для крепления штык-ножа на стрелковом оружии, состоящее из крестовины с отверстием и запорным устройством в головке рукояти, отличающийся тем, что на торцевых поверхностях крестовины параллельно плоскости клинка выполнены направляющие рейки, торцевая поверхность крестовины со стороны обуха клинка выполнена вогнутой к оси клинка, а отверстие в крестовине образовано полукольцом, сопряженным с прямолинейными участками, входящими в направляющие рейки, и вогнутой поверхностью крестовины, при этом сопряженные с полукольцом прямолинейные участки выполнены с возможностью их перемещения вдоль направляющих реек и фиксации их в заданном положении, а радиус вогнутости крестовины выполнен равным внутреннему радиусу полукольца.
2. Штык-нож по п.1, отличающийся тем, что на поверхности направляющих реек выполнены поперечные канавки по две с каждой стороны клинка, а на прямолинейных участках, входящих в направляющие рейки, с каждой стороны клинка установлена пружинная кнопка со штырем, взаимодействующим с поперечными канавками.
3. Штык-нож по п.1 или 2, отличающийся тем, что в задней части клинка выполнено по меньшей мере одно калиброванное отверстие.
4. Штык-нож по п.3, отличающийся тем, что отверстия в клинке выполнены с диаметром 7,62 и 5,45 мм.
5. Штык-нож по любому из пп.1-4, отличающийся тем, что имеет ножны, внутри которых выполнен карман, в котором размещено устройство для соединения и разъединения ножен с полукольцом крестовины, содержащее подпружиненный кулачок со штангой, с которой связана установленная на внешней поверхности ножен кнопка, а также Г-образный рычаг, входящий коротким концом в зацепление с полукольцом крестовины при взаимодействии длинного конца рычага с кулачком.
РИСУНКИ
MM4A – Досрочное прекращение действия патента СССР или патента Российской Федерации на изобретение из-за неуплаты в установленный срок пошлины за поддержание патента в силе
Дата прекращения действия патента: 14.01.2008
Извещение опубликовано: 10.11.2009 БИ: 31/2009
|
|