|
|
(21), (22) Заявка: 2004104195/02, 16.02.2004
(24) Дата начала отсчета срока действия патента:
16.02.2004
(45) Опубликовано: 10.06.2005
(56) Список документов, цитированных в отчете о поиске:
RU 2191965 С1, 27.10.2002. RU 2138000 С1, 20.09.1999. US 5675107 А, 07.10.1997. US 5036747 А, 06.08.1991. US 5063827 А, 12.11.1991. US 5333529 А, 02.08.1994.
Адрес для переписки:
121165, Москва, Г-165, а/я 15, ООО “ППФ-ЮСТИС”, пат.пов. А.Е.Груниной, рег. № 401
|
(72) Автор(ы):
Кузнецов А.К. (RU)
(73) Патентообладатель(и):
Кузнецов Александр Константинович (RU)
|
(54) УСТРОЙСТВО ДЛЯ ТОРМОЖЕНИЯ ОТДАЧИ СТРЕЛКОВОГО ОРУЖИЯ
(57) Реферат:
Изобретение относится к надульным устройствам для уменьшения отдачи стрелкового оружия. Устройство содержит подвижный ствол с кольцевым упором в задней части и газоотводными каналами в дульной части, подпружиненный возвратной пружиной относительно кольцевого упора направляющего цилиндра, жестко закрепленного на задней стенке цилиндрического кожуха, имеющего передний открытый торец, в котором расположен газодинамический поршень, выполненный с возможностью свободно перемещаться как внутри кожуха, так и частично по наружной части ствола. Поршень имеет с задней стороны вогнутую поверхность, образующую с кожухом расширительную камеру, с передней стороны – форму конуса, расширяющегося в сторону дульного среза ствола и контактирующего своей поверхностью с коническими частями клиновых затворов, перемещающихся перпендикулярно оси канала ствола в пазах опорной пяты, закрепленной на дульной части ствола, и перекрывающих всю площадь его поперечного сечения, а в центральной части – цилиндрическую поверхность, контактирующую с наружной поверхностью ствола и частично перекрывающую в крайнем левом положении газоотводные каналы ствола и открывающую полное сечение газоотводных каналов в крайнем правом положении. Использование изобретения позволяет повысить технологичность и компактность устройства, снизить металлоемкость и массу подвижных его частей, а также повысить эффективность использования энергии пороховых газов. 3 з.п. ф-лы, 2 ил.

Изобретение относится к устройствам для уменьшения отдачи стрелкового оружия, интегрированным в кинематическую схему оружия.
Известно устройство для торможения отдачи стрелкового оружия, принятое в качестве ближайшего аналога, содержащее установленный на стволе подпружиненный относительно него цилиндр с передней стенкой и поршень. Ствол выполнен с газоотводными каналами, устройство снабжено цилиндрическим кожухом с задней стенкой и передним торцом, ствол имеет возможность перемещения относительно кожуха, который связан с цилиндром и охватывает его и выступающую из него переднюю часть ствола, которая выполнена с передней газодинамической лопаткой и, по меньшей мере, с одной дополнительной лопаткой, каждая из лопаток имеет С-образное радиальное сечение с выпуклостью, обращенной к выходному отверстию ствола, и образует с кожухом кольцевую камеру, каждая дополнительная лопатка имеет перепускное окно, газоотводные отверстия ствола направлены под углом к оси ствола с вершиной угла, обращенной к входному отверстию ствола, и соединяют полость ствола с соответствующими кольцевыми камерами, цилиндр выполнен с продувочными каналами в передней стенке, а поршень выполнен неподвижным относительно ствола (см. RU 2191965 С1, МПК 7 F 41 A 21/36, публикация 27.10.2002).
Недостатком известного устройства является низкая технологичность из-за наличия набора газодинамических лопаток, а также невысокая эффективность из-за неполного использования энергии пороховых газов.
Технической задачей, на решение которой направлено предлагаемое изобретение, является повышение технологичности и компактности устройства, снижение металлоемкости и массы подвижных его частей, а также повышение эффективности использования энергии пороховых газов.
Технический результат изобретения заключается в полной компенсации инерционных сил импульса отдачи и устранения других отрицательных явлений, сопутствующих выстрелу, вследствие создания импульса реактивного момента и ударного импульса подвижных частей устройства посредством блокировки и купирования пороховых газов с изменением направления их движения (после выполнения работы в полном объеме по ускорению пули (снаряда) в канале ствола) для преобразования энергии избыточного давления в механическую работу.
Технический результат достигается тем, что устройство для торможения отдачи стрелкового оружия содержит подвижный ствол с кольцевым упором в задней части и газоотводными каналами в дульной части, подпружиненный возвратной пружиной относительно кольцевого упора направляющего цилиндра, жестко закрепленного на задней стенке цилиндрического кожуха, имеющего передний открытый торец, в котором расположен газодинамический поршень, выполненный с возможностью свободно перемещаться как внутри кожуха, так и частично по наружной части ствола и имеющий с задней стороны С-образное радиальное сечение, образующий с кожухом расширительную камеру, с передней стороны – форму конуса, расширяющегося в сторону дульного среза ствола и контактирующего своей поверхностью с коническими частями клиновых затворов, перемещающихся перпендикулярно оси канала ствола в пазах опорной пяты, закрепленной на дульной части ствола, и перекрывающих всю площадь его поперечного сечения, а в центральной части – цилиндрическую поверхность, контактирующую с наружной поверхностью ствола и частично перекрывающую в крайнем левом положении газоотводные каналы ствола и открывающую полное сечение газоотводных каналов в крайнем правом положении.
В частных вариантах изобретения в дульной части ствола выполнен кольцевой прилив, образующий с вогнутой поверхностью поршня, при упоре в нее, первичную расширительную камеру, соединенную с первым рядом газоотводных каналов ствола.
Кольцевой прилив с задней своей стороны имеет вогнутую поверхность, а с передней – выпуклую.
Ствол может быть соединен с опорной пятой резьбовым соединением.
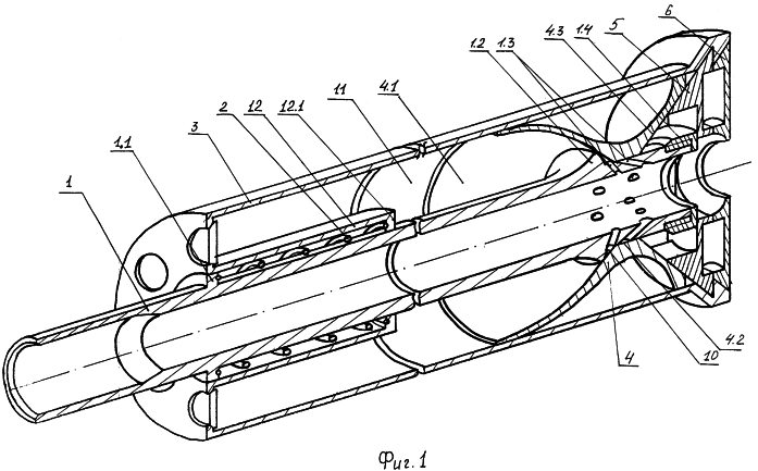
Сущность изобретения поясняется чертежами, где на фиг.1 изображено поперечное сечение ствола с надульным устройством. На фиг.2 изображено поперечное сечение ствола с надульным устройством на разных этапах выстрела.
Устройство для торможения отдачи стрелкового оружия содержит подвижный ствол 1 с кольцевым упором 1.1 в задней части, кольцевым приливом 1.2, газоотводными каналами 1.3 и резьбой 1.4 в дульной части. Ствол 1 подпружинен возвратной пружиной 2 относительно кольцевого упора 12.1 направляющего цилиндра 12, жестко закрепленного на задней стенке цилиндрического кожуха 3, имеющего передний открытый торец, в котором расположен газодинамический поршень 4, выполненный с возможностью свободно перемещаться как внутри кожуха 3, так и частично по наружной части ствола 1, и задний закрытый конец, в стенке которого выполнены отверстия, перекрываемые обратными клапанами 8.
Для охлаждения и снижения давления газов в расширительной камере 11 расположен интеркуллер 9 (теплообменник) – кассета с набором радиаторов из теплопроводного материала.
Поршень 4 имеет с задней стороны С-образное радиальное сечение 4.1, образуя с кожухом расширительную камеру 11.
С передней стороны поршень 4 имеет форму конуса 4.3, расширяющегося в сторону дульного среза ствола 1 и контактирующего своей поверхностью с коническими частями клиновых затворов 5, перемещающихся перпендикулярно оси канала ствола 1, преодолевая силу воздействия пружин 7, и перекрывающих всю площадь его поперечного сечения в пазах опорной пяты 6, закрепленной на дульной части ствола 1. На торце передней части поршня 4 образован буферный упор 4.4, упирающийся в поверхность опорной пяты 6 при своем движении вперед.
В центральной части поршень 4 имеет цилиндрическую поверхность 4.2, контактирующую с наружной поверхностью ствола 1 и частично перекрывающую в крайнем левом положении газоотводные каналы 1.3 ствола 1, а в крайнем правом положении открывающую полное сечение данных каналов.
В дульной части ствола 1 выполнен кольцевой прилив 1.2, образующий с С-образной в сечении вогнутой поверхностью 4.1 поршня 4 при упоре в нее первичную расширительную кольцевую камеру 10, соединенную с первым рядом газоотводных каналов 1.3 ствола 1.
Ствол 1 и опорная пята 6 имеют резьбу 1.4 и 6.1 соответственно.
Работа устройства осуществляется следующим образом.
При выстреле, когда пуля (снаряд), двигаясь по каналу ствола 1, минует первый ряд газоотводных каналов 1.3 (считая от патронника), газопороховая смесь через вышеуказанные каналы устремляется в первичную (малую) кольцевую, газовую камеру 10 (этап I на фиг.2).
Учитывая малый объем последней, пороховые газы за минимальный промежуток времени создают в первичной камере 10 высокое давление, которое, воздействуя на внутреннюю поверхность основания вогнутой (сферической) части 4.1 поршня 4, сообщает ему энергию, перемещая вперед до момента соприкосновения буферного упора 4.4 газодинамического поршня 4 с опорной пятой 6.
В процессе поступательного движения газодинамического поршня 4 вперед, вдоль оси канала ствола 1, его передняя коническая часть 4.3, взаимодействуя с одноименными частями клиновых затворов 5, передвигает последние навстречу друг другу до полного соприкосновения, по пазам опорной пяты 6, в плоскости, перпендикулярной оси канала ствола 1, герметично блокируя всю площадь его поперечного сечения (этап II на фиг.2).
По мере перекрывания канала ствола 1 клиновыми затворами 5 цилиндрическая часть 4.2 газодинамического поршня 4, смещаясь вперед, дополнительно открывает второй ряд газоотводных каналов 1.3, через
которые, совместно с первым рядом каналов, в расширительную камеру 11 устремляется вся масса газопороховой смеси, разворачиваясь на 180° относительно первоначального направления движения.
Газопороховая смесь, энергично продвигая пулю (снаряд) к дульному срезу канала ствола 1, наталкивается на плоскости клиновых затворов 5, перекрывающих канал немедленно, после прохождения пули (снаряда) дульного среза, сообщая стволу 1 через жестко связанную с ним опорную пяту 6 и плоскости клиновых затворов 5 еще и энергию собственной массы с вектором сил, направленным вперед.
Далее, избыточное давление газопороховой смеси из канала ствола 1 через два ряда газоотводных каналов 1.3 свободно проникает на внутреннюю поверхность вогнутой (сферической) части 4.1 газодинамического поршня 4, находящегося в передней части расширительной камеры 11.
Наличие кислорода, находящегося в расширительной камере 11, способствует вторичному расширению и полному догоранию газопороховой смеси.
Так как эпицентр вторичного расширения находится непосредственно в вогнутой части 4.1 газодинамического поршня 4, то энергия порохового заряда при вторичном расширении сообщает последнему, опорной пяте 6, а заодно и связанному с ними стволу 1 импульс реактивного момента с вектором сил, направленным вперед, заставляя ствол 1 преодолеть момент инерции собственной массы и усилие возвратной пружины 2, энергично переместится вперед, до взаимного контакта демпферных отбойных упоров, закрепленных соответственно на кольцевых упорах ствола и цилиндрического кожуха (на чертежах условно не показаны) (этап III на фиг.2).
После этого кинетическая энергия движущегося вперед ствола 1 полностью передается цилиндрическому кожуху 3 и оружию в целом, окончательно останавливая инерцию движения оружия назад, полученную импульсом отдачи, сообщая последнему незначительное движение вперед, которое компенсируется при возращении ствола 1 в исходное положение возвратной пружиной 2.
Предлагаемое устройство обладает следующими преимуществами по сравнению с ближайшим аналогом:
– более высокой технологичностью из-за отсутствия набора газодинамических лопаток, перепускных окон, продувочных каналов, меньшего количества газоотводных отверстий;
– повышенной компактностью при тех же баллистических характеристиках пули (снаряда) за счет увеличения на 15-20% длины активной части канала ствола (от патронника до первого ряда газоотводных каналов);
– конструктивно созданы идеальные условия для полного сгорания газопороховой смеси за счет перевода газов из канала ствола в расширительную камеру;
– конструктивно созданы условия для полного и более эффективного использования энергии пороховых газов за счет блокирования дульной части канала ствола (что позволяет удерживать давление пороховых газов внутри устройства и преобразовывать энергию газов в полезную механическую работу) – способствует устранению всех отрицательных явлений, сопутствующих выстрелу;
– существенное снижение металлоемкости, массы и габаритов устройства и всего оружия;
– значительное упрощение разборки для обслуживания и чистки устройства;
– существенное снижение массы подвижных деталей;
– за счет полного использования энергии пороховых газов достигнуты максимальная эффективность и параметры устройства и оружия в целом.
Формула изобретения
1. Устройство для торможения отдачи стрелкового оружия, содержащее подвижный ствол с кольцевым упором в задней части и газоотводными каналами в дульной части, подпружиненный возвратной пружиной относительно кольцевого упора направляющего цилиндра, жестко закрепленного на задней стенке цилиндрического кожуха, имеющего передний открытый торец, отличающееся тем, что в переднем открытом торце цилиндра расположен газодинамический поршень, выполненный с возможностью свободно перемещаться как внутри кожуха, так и частично по наружной части ствола, имеющий с задней стороны вогнутую поверхность, образующую с кожухом расширительную камеру, с передней стороны – форму конуса, расширяющегося в сторону дульного среза ствола и контактирующего своей поверхностью с коническими частями клиновых затворов, перемещающихся перпендикулярно оси канала ствола в пазах опорной пяты, закрепленной на дульной части ствола, и перекрывающих всю площадь его поперечного сечения, а в центральной части – цилиндрическую поверхность, контактирующую с наружной поверхностью ствола и частично перекрывающую в крайнем левом положении газоотводные каналы ствола и открывающую полное сечение газоотводных каналов в крайнем правом положении.
2. Устройство по п.1, отличающееся тем, что в дульной части ствола выполнен кольцевой прилив, образующий с вогнутой поверхностью поршня при упоре в нее первичную расширительную камеру, соединенную с первым рядом газоотводных каналов ствола.
3. Устройство по п.2, отличающееся тем, что кольцевой прилив с задней своей стороны имеет вогнутую поверхность, а с передней – выпуклую.
4. Устройство по п.1, отличающееся тем, что ствол соединен с опорной пятой резьбовым соединением.
РИСУНКИ
MM4A – Досрочное прекращение действия патента СССР или патента Российской Федерации на изобретение из-за неуплаты в установленный срок пошлины за поддержание патента в силе
Дата прекращения действия патента: 17.02.2006
Извещение опубликовано: 20.02.2007 БИ: 05/2007
|
|