|
|
(21), (22) Заявка: 2003133121/06, 13.11.2003
(24) Дата начала отсчета срока действия патента:
13.11.2003
(45) Опубликовано: 10.06.2005
(56) Список документов, цитированных в отчете о поиске:
RU 2039910 C1, 20.07.1995. SU 1772526 A1, 30.10.1992. RU 2039883 C1, 20.07.1995. GB 2285227 A, 05.07.1995. FR 2600755 A1, 31.12.1987. ЕР 0581230 А2, 02.02.1994.
Адрес для переписки:
121165, Москва, Кутузовский пр-т, 31 А, ГУП НПО “Гидротрубопровод”, зам.генерального директора А.С.Кондратьеву
|
(72) Автор(ы):
Петраков А.П. (RU), Делягин Г.Н. (RU), Савошин С.А. (RU), Шуев А.М. (RU)
(73) Патентообладатель(и):
Государственное унитарное предприятие Научно-производственное объединение (НПО) “Гидротрубопровод” (RU)
|
(54) ФОРСУНКА ДЛЯ РАСПЫЛИВАНИЯ ВЯЗКИХ ЖИДКОСТЕЙ
(57) Реферат:
Изобретение относится к технике распыливания жидкостей, преимущественно вязких и содержащих абразивные включения, и может использоваться в различных направлениях производственной деятельности, в частности в топливосжигающих агрегатах для повышения эффективности работы путем улучшения качества распыливания и регулирования геометрии распыла в широком диапазоне расхода распыливаемой жидкости. Этот результат достигается тем, что в форсунке для распыливания вязких жидкостей согласно изобретению часть камеры смешения, расположенная за радиальными соплами первичного распылителя, выполнена конической формы. По окружности на выходе конической части камеры выполнены сопла третичного распылителя, подключенные к кольцевому ряду каналов первичного распылителя, подключенные к кольцевому ряду каналов первичного распылителя, при этом сопла третичного распылителя установлены под углом  15° относительно вертикальной оси форсунки и под углом  15° относительно ее плоскости. 1 з.п. ф-лы, 2 ил.

Изобретение относится к технике распыливания жидкостей, преимущественно вязких и содержащих абразивные включения, и может использоваться в различных направлениях производственной деятельности, в частности в топливосжигающих агрегатах.
Известна форсунка для распыливания вязких жидкостей, включающая корпус с центральным топливным каналом подачи распылителя, подключенным к камере смешения, а также радиальные сопла первичного распылителя и сопла вторичного распылителя, сообщающие кольцевой канал с камерой смешения. (Авторское свидетельство СССР №1444585 кл. F 23 D 11/04, 1987).
Также известна форсунка для распыливания вязких жидкостей (прототип), содержащая корпус с центральным топливным каналом и коаксиальным кольцевым каналом подачи распылителя, подключенными к цилиндрической камере смешения, а также радиальные сопла первичного распылителя и сопла вторичного распылителя, сообщающие кольцевой канал с камерой смешения, причем в корпусе форсунки выполнен кольцевой ряд аксиальных каналов, подключенных на входе к камере смешения, а на выходе – к радиальным соплам первичного распылителя, продольные оси которых расположены на расстоянии от выходного среза топливного канала, превышающем их диаметр в 1,5-3,0 раза, выходные срезы указанных радиальных сопл расположены от оси корпуса на расстоянии, превышающем их диаметр в 4-6 раз, а сопла вторичного распылителя выполнены аксиальными и смещены в окружном направлении относительно аксиальных каналов, при этом их продольные оси расположены от оси корпуса на расстоянии, превышающем их диаметр в 1,5-3,0 раза. (Патент РФ №2039910 кл. F 23 D 11/10, 1992).
Недостатками известных форсунок являются полидисперсность распыла, небольшой угол раскрытия “факела”, высокая плотность орошения, невозможность регулирования геометрическими характеристиками распыливаемой жидкости, т.е. изменять длину и угол раскрытия “факела” при изменении расхода форсунки в широких пределах.
Цель изобретения – повышение эффективности работы форсунки путем улучшения качества распыливания и регулирования геометрии распыла в широком диапазоне расхода распыливаемой жидкости.
Цель достигается за счет того, что в форсунке для распыливания вязких жидкостей, содержащей корпус с центральным топливным каналом и коаксиальным кольцевым каналам подачи распылителя, подключенными к камере смешения, радиальные сопла первичного распылителя, сопла вторичного распылителя, сообщающие кольцевой канал с камерой смешения, а также кольцевой ряд аксиальных каналов первичного распылителя и кольцевой ряд каналов вторичного распылителя, подключенные на входе к коаксиальному кольцевому каналу подачи распылителя, а на выходе соответственно – к соплам первичного распылителя и соплам вторичного распылителя, выходные срезы радиальных сопл первичного распылителя расположены от оси корпуса на расстоянии, превышающем их диаметр в 4-6 раз, продольные оси сопл расположены от выходного среза центрального топливного канала на расстоянии, превышающем их диаметр также в 1,5-3,0 раза, в отличие от прототипа часть камеры смешения, расположенная за радиальными соплами первичного распылителя, выполнена конической формы, по окружности на выходе конической части камеры выполнены сопла третичного распылителя, при этом сопла третичного распылителя установлены под углом  15° относительно вертикальной оси форсунки и под углом  15° относительно ее плоскости.
Кроме того, сопла третичного распылителя подключены к кольцевому ряду каналов первичного распылителя.
Выполнение выходной части камеры смешения, расположенной за радиальными соплами первичного распылителя, конической формы, как части диффузора, позволяет оптимально разместить нужное количество сопл третичного распылителя по окружности на выходе конической части камеры смешения и, кроме того, создать условия для взаимодействия потоков распыляющего агента и капельно-воздушной массы, исключив абразивный износ стенки камеры смешения расширяющимися струями, истекающими из сопл вторичного распылителя.
Наличие сопл третичного распылителя на выходе конической части камеры смешения позволяет значительно сузить область полидисперсности распыла, дополнительно раздробив капельно-воздушную массу до монодисперсного состояния в определенном диапазоне, увеличить угол конусности распыляемой жидкости, уменьшить длину распыла, снизить плотность орошения, создать область разрежения внутри конуса, увеличить пропускную способность форсунки для одного типоразмера.
Установка сопл третичного распылителя под углом  15° относительно вертикальной оси корпуса форсунки позволяет достичь максимально равномерного взаимодействия потоков за счет захвата струей, истекающей из сопла распыляющего агента, определенного сектора капельно-воздушной массы на выходе из конической части камеры смешения при отсутствии взаимодействия этих струй между собой. При изменении количества сопл, для выполнения этих условий угол может изменяться в сторону увеличения.
Установка сопл третичного распылителя под углом  15° относительно плоскости форсунки позволяет получать нужный угол конусности распыленной капельно-воздушной массы.
Подключение сопл третичного распылителя к кольцевому ряду каналов первичного распылителя выполнено для варианта одновременной подачи распыляющего агента в каналы первичного, вторичного и третичного распылителя и для простоты изготовления форсунки.
За счет деления потока распылителя на три – первичный, вторичный и третичный – осуществляется поэтапное дробление, чем достигается максимальное взаимодействие топлива и распылителя, обеспечивающее его качественный распыл, приближая его к монодисперсному состоянию в определенном диапазоне, т.е. значительно суживается полифракционность распыла, а также придание нужной геометрии. На срезе распылителя отсутствуют пленки, нити и крупные капли, характерные для многих распылителей.
Широкий диапазон регулирования расходов топлива и распылителя без ухудшения качественных показателей распыла осуществляется во время работы форсунки при организации раздельной подачи распылителя в каналы первичного, вторичного и третичного потоков.
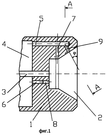
На фиг.1 представлена форсунка для распыливания вязких жидкостей, поперечный разрез; на фиг.2 показан разрез по А-А на фиг.1.
Форсунка содержит корпус 1 с внешней камерой 2 смешения, центральным топливным каналом 3, подключенным к камере смешения, коаксиальным кольцевым каналом 4 подачи распылителя. В корпусе выполнен кольцевой ряд аксиальных каналов 5 для подачи первичного потока распылителя (воздух, пар и т.п.) и кольцевой ряд каналов 6 для подачи вторичного потока распылителя. Каналы 5 и 6 расположены вокруг центрального топливного канала 3 и подключены на входе к коаксиальному кольцевому каналу 4. Каналы 5 снабжены на выходе радиальными соплами 7 первичного распылителя. Часть камеры 2 смешения, расположенная до сопл 7 первичного распылителя, выполнена цилиндрической формы, за соплами первичного распылителя – конической формы. Радиальные сопла 7 первичного распылителя подключены к боковой стенке камеры смешения 2 в ее цилиндрической части, выходные срезы продольных радиальных сопл 7 расположены от оси корпуса на расстоянии, превышающем их диаметр в 4-6 раз, а от выходного среза топливного канала они расположены на расстоянии, превышающем их диаметр в 1,5-3 раза. Каналы 6 снабжены на выходе соплами 8 вторичного распылителя, подсоединенными к донной цилиндрической части камеры 2 смешения, при этом их продольные оси расположены от оси корпуса на расстоянии, превышающем их диаметр в 1,5-3 раза. По окружности на выходе конической части камеры 2 смешения выполнены сопла 9 третичного распылителя, подключенные к каналу 5 первичного распылителя. Сопла 9 третичного распылителя установлены под углом  15° относительно вертикальной оси форсунки и под углом  15° относительно ее плоскости.
Форсунка работает следующим образом. По центральному топливному каналу 3 подают в камеру 2 смешения вязкое топливо (например, водоугольное топливо – ВУТ), распыливающий агент (например, воздух) подают из канала 4 подачи распылителя одновременно в каналы 5 первичного распылителя и каналы 6 вторичного распылителя. При этом потоки воздуха, истекающие из каналов 5 через сопла 7 первичного распылителя, направленные к оси центрального топливного канала 3 навстречу друг другу, создают эффект газодинамического запирания потока топлива, вследствие чего струя топлива первоначально дробится на крупные фракции, которые хаотично движутся в турбулентных потоках, возникающих при взаимодействии встречно направленных струй, что приводит к дополнительному дроблению крупных фракций топлива на более мелкие капли, располагающиеся в секторах, образованных истечением потоков воздуха из этих сопл.
Выходящий из сопл 8 вторичного распылителя поток воздуха дробит капли ВУТ до полифракционного состояния и выносит топливовоздушную смесь к выходу из камеры смешения, где установлены сопла 9 третичного распылителя. Высокоскоростной поток воздуха, истекающий из сопл третичного распылителя, окончательно дробит полифракционную капельно-воздушную смесь, приближая ее к монодисперсному состоянию, т.е. значительно суживает диапазон дисперсности и придает ей нужные геометрические характеристики: длину, угол конусности и соответственно низкую плотность орошения. Кроме того, истечение воздуха из сопл третичного распылителя создает эжектирующий эффект как на периферии, так и внутри конуса, необходимый при организации процесса устойчивого воспламенения и горения топлив.
Для регулировки параметров распыла форсунки в широких пределах может быть осуществлена и раздельная подача распыляющего агента в сопла первичного, вторичного и третичного распылителя. Изменяя параметры подачи распыляющего агента и его перераспределение по соплам распылителей при определенном конструкционном исполнении сопл и камеры смешения, можно варьировать расходом топлива, дисперсностью распыла, длиной распыла, углом конусности от 15 до 160° и плотностью орошения. Например, форсунка одного типоразмера удовлетворительно работает в диапазоне расхода топлива от 100 до 1000 кг/ч.
Установка сопл третичного распылителя не увеличивает расход распыляющего агента, т.к. появляется возможность конструктивно изменять количество сопл и варьировать диаметром сопл первичного, вторичного и третичного распылителя. Удельный расход распыляющего агента составляет <20% от расхода топлива, как в прототипе.
Формула изобретения
1. Форсунка для распыливания вязких жидкостей, содержащая корпус с центральным топливным каналом и коаксиальным кольцевым каналом подачи распылителя, подключенными к камере смешения, радиальные сопла первичного распылителя, сопла вторичного распылителя, сообщающие кольцевой канал с камерой смешения, а также кольцевой ряд аксиальных каналов первичного распылителя и кольцевой ряд каналов вторичного распылителя, подключенные на входе к коаксиальному кольцевому каналу подачи распылителя, а на выходе соответственно к соплам первичного распылителя и соплам вторичного распылителя, выходные срезы радиальных сопел первичного распылителя расположены от оси корпуса на расстоянии, превышающем их диаметр в 4-6 раз, продольные оси сопел расположены от выходного среза центрального топливного канала на расстоянии, превышающем их диаметр также в 1,5-3,0 раза, отличающаяся тем, что часть камеры смешения, расположенная за радиальными соплами первичного распылителя, выполнена конической формы, по окружности на выходе конической части камеры выполнены сопла третичного распылителя, при этом сопла третичного распылителя установлены под углом  15° относительно вертикальной оси форсунки и под углом  15° относительно ее плоскости.
2. Форсунка по п.1, отличающаяся тем, что сопла третичного распылителя подключены к кольцевому ряду каналов первичного распылителя.
РИСУНКИ
MM4A – Досрочное прекращение действия патента СССР или патента Российской Федерации на изобретение из-за неуплаты в установленный срок пошлины за поддержание патента в силе
Дата прекращения действия патента: 14.11.2007
Извещение опубликовано: 20.06.2009 БИ: 17/2009
NF4A Восстановление действия патента СССР или патента Российской Федерации на изобретение
Дата, с которой действие патента восстановлено: 20.03.2010
Извещение опубликовано: 20.03.2010 БИ: 08/2010
|
|