|
|
(21), (22) Заявка: 2004120037/06, 30.06.2004
(24) Дата начала отсчета срока действия патента:
30.06.2004
(45) Опубликовано: 10.06.2005
(56) Список документов, цитированных в отчете о поиске:
RU 2229057 C1, 10.05.2004. RU 2218206 С2, 10.12.2003. RU 2085809 C1, 27.07.1997. DE 4332933 А1, 30.03.1995. ЕР 0517646 А2, 09.12.1999. WO 93/12385 А1, 24.06.1993.
Адрес для переписки:
620026, г.Екатеринбург, ул. Мамина-Сибиряка, 193, кв.224, С.В. Агееву
|
(72) Автор(ы):
Власенко В.И. (RU), Кайсин В.П. (RU), Карпов А.А. (RU), Лекомцев В.М. (RU), Решетников В.А. (RU), Черепанов О.В. (RU), Шавельзон Б.М. (RU)
(73) Патентообладатель(и):
Черепанов Олег Валентинович (RU), Шавельзон Борис Моисеевич (RU)
|
(54) СПОСОБ ГАЗОМАЗУТНОГО ОТОПЛЕНИЯ ПРЕИМУЩЕСТВЕННО СТАЛЕПЛАВИЛЬНОЙ ПЕЧИ
(57) Реферат:
Изобретение относится к высокотемпературным металлургическим печным агрегатам и непосредственно касается способа газомазутного отопления преимущественно сталеплавильной печи, позволяющего увеличить ее производительность и улучшить качество плавки при одновременном сокращении расхода природного газа, мазута, компрессорного воздуха и технического кислорода и улучшении экологических параметров. Способ газомазутного отопления сталеплавильной печи с замещением части подаваемого мазута водой и получением водомазутной эмульсии включает подачу к горелочному устройству печи природного газа, полученной водомазутной эмульсии, вентиляторного и компрессорного воздуха и технического кислорода, сжигание горючих компонентов в факеле и отвод продуктов горения. Согласно изобретению водомазутную эмульсию получают путем подачи мазута и воды в роторное устройство для гидроакустической обработки жидкостей, содержащее лопастное рабочее колесо в виде несущего и покрывающего дисков с периферийной кольцевой стенкой, снабженной рядом выходных отверстий, и образованную периферийной кольцевой стенкой рабочего колеса и сплошной коаксиальной стенкой статора кольцевую резонансную полость, сообщенную со сборной камерой. 3 з.п. ф-лы, 2 ил., 1 табл.

ОБЛАСТЬ ТЕХНИКИ
Изобретение относится к высокотемпературным металлургическим печным агрегатам, таким как мартеновские, двухванные и т.п. печи, и непосредственно касается способа газомазутного отопления преимущественно сталеплавильной печи.
УРОВЕНЬ ТЕХНИКИ
Из уровня техники известен способ газомазутного отопления сталеплавильных печей [1], в котором используется газообразное топливо, например природный газ, а в качестве добавочного топлива-карбюризатора применяется мазут в количестве до 30-40% (по теплу), что значительно повышает себестоимость продукции из-за относительно высокой стоимости мазута. Кроме того, содержащаяся в мазуте сера (до 1% в малосернистых и до 3% в сернистых мазутах) приводит к насыщению выплавляемого металла серой, что ухудшает его качество и также вызывает коррозию оборудования и увеличение выбросов экологически вредных оксидов серы в атмосферу.
Из уровня техники известен также способ комбинированного масломазутного отопления сталеплавильной печи [2], включающий подачу мазута к горелочным устройствам печи и смешивание его с отработанным маслом перед подачей в горелочное устройство. Доля отработанного масла в смеси с мазутом не превышает 35%, при этом температуру подогрева масломазутной смеси снижают на 3-5°С на каждые 10% подачи масла и расход распылителя на основное горелочное устройство снижают пропорционально доле масла в мазуте с переносом этой сниженной части распылителя на боковые фурмы горелочного устройства. Это изобретение решает задачу экономии мазута при сохранении параметров плавки, а также сокращения выбросов оксидов серы в атмосферу. Однако в условиях высокотемпературных сталеплавильных печей добавка масла к мазуту приводит к снижению результирующего отношения углерода к водороду (С/Н) и соответствующему снижению степени черноты (светимости) факела и теплоотдачи от факела, что приводит к потере производительности печи, повышению температуры отходящих газов и перегреву насадок регенераторов. Эта проблема решается тем, что в данном способе используется укрупнение капель распыленного топлива, что приводит к увеличению степени черноты факела. Но, с другой стороны, укрупнение капель распыленного топлива приводит к ухудшению параметров сгорания – снижению полноты сгорания топлива и увеличению количества вредных выбросов.
Из уровня техники известно эффективное использование в мартеновских печах водомазутных эмульсий (ВМЭ) [3] с содержанием воды от 4 до 20%, редко до 30%. Отмечаются улучшение теплотехнических свойств топлива, излучательной способности факела, экологических параметров, а также сокращение времени плавки. При этом коэффициент С/Н, определяющий сажеобразование подобного топлива, для мазута и ВМЭ оказался одинаковым (7…8) и не зависящим от степени обводненности топлива.
Из уровня техники известно роторное устройство для гидроакустической обработки жидкостей [4], содержащее лопастное рабочее колесо в виде несущего и покрывающего дисков с периферийной кольцевой стенкой, снабженной рядом выходных отверстий, и образованную периферийной кольцевой стенкой рабочего колеса и сплошной коаксиальной стенкой статора кольцевую резонансную полость, сообщенную со сборной камерой. Это устройство предназначено, в частности, для теплоэнергетических целей и позволяет приготавливать высокодисперсную и структурно стабильную водомазутную эмульсию.
ЗАДАЧА И СУЩНОСТЬ ИЗОБРЕТЕНИЯ
Задачей настоящего изобретения является создание такого способа газомазутного отопления преимущественно сталеплавильной печи, который позволяет повысить температуру факела и снизить температуру отходящих газов с соответствующим увеличением производительности печи и улучшением качества плавки при одновременном сокращении расхода природного газа, мазута, компрессорного воздуха и технического кислорода и улучшении экологических параметров.
Поставленная задача решается предлагаемым способом газомазутного отопления преимущественно сталеплавильной печи с замещением части подаваемого мазута водой и получением водомазутной эмульсии, который, как и вышеупомянутый известный, включает подачу к горелочному устройству печи горючего газа, например природного, полученной водомазутной эмульсии, вентиляторного и компрессорного воздуха и технического кислорода, сжигание горючих компонентов в факеле и отвод продуктов горения. Согласно основному воплощению изобретения водомазутную эмульсию получают путем подачи мазута и воды в роторное устройство для гидроакустической обработки жидкостей, содержащее лопастное рабочее колесо в виде несущего и покрывающего дисков с периферийной кольцевой стенкой, снабженной рядом выходных отверстий, и образованную периферийной кольцевой стенкой рабочего колеса и сплошной коаксиальной стенкой статора кольцевую резонансную полость, сообщенную со сборной камерой.
Использование в способе газомазутного отопления сталеплавильной печи устройства описанной конструкции позволяет приготавливать высококачественную водомазутную эмульсию с содержанием воды до 50%. Это само по себе уже позволяет сократить расход мазута, снизить температуру и улучшить экологические параметры отходящих газов, а также повысить качество плавки благодаря сокращению поглощения расплавленным металлом серы из продуктов горения. Последнее объясняется уменьшением содержания серы в водомазутной эмульсии соответственно содержанию в ней воды.
Согласно предпочтительному воплощению изобретения содержание воды в водомазутной эмульсии регулируют в зависимости от температуры и излучательной способности факела таким образом, чтобы они сохранялись по крайней мере на уровне температуры и излучательной способности факела при работе на чистом мазуте.
Благодаря этому удается выбрать максимально возможное в конкретных условиях плавки содержание воды в приготовляемой водомазутной эмульсии, что соответствует максимальной экономии мазута, а также природного газа, без ухудшения теплотехнических параметров факела.
Согласно более предпочтительному воплощению изобретения вязкость водомазутной эмульсии снижают в зависимости от содержания в ней воды путем повышения температуры водомазутной эмульсии на входе в горелочное устройство таким образом, чтобы она сохранялась по крайней мере на уровне вязкости мазута при работе на чистом мазуте.
Благодаря этому удается выбрать и поддерживать оптимальную степень распыления водомазутной эмульсии при минимальном расходе всех компонентов, формирующих факел.
Согласно наиболее предпочтительному воплощению изобретения интегральный коэффициент избытка воздуха снижают по сравнению с таковым при работе на чистом мазуте на такую величину, чтобы температура и излучательная способность факела сохранялись по крайней мере неизменными.
Благодаря этому в итоге достигается сокращение расхода природного газа, мазута, вентиляторного и компрессорного воздуха и технического кислорода при одновременном улучшении экологических параметров отходящих газов.
Другие особенности изобретения будут ясны из нижеследующего подробного описания его воплощений со ссылками на прилагаемые чертежи.
ЧЕРТЕЖИ
Изобретение поясняется примером его практического воплощения с иллюстрацией схематическими чертежами, на которых представлены
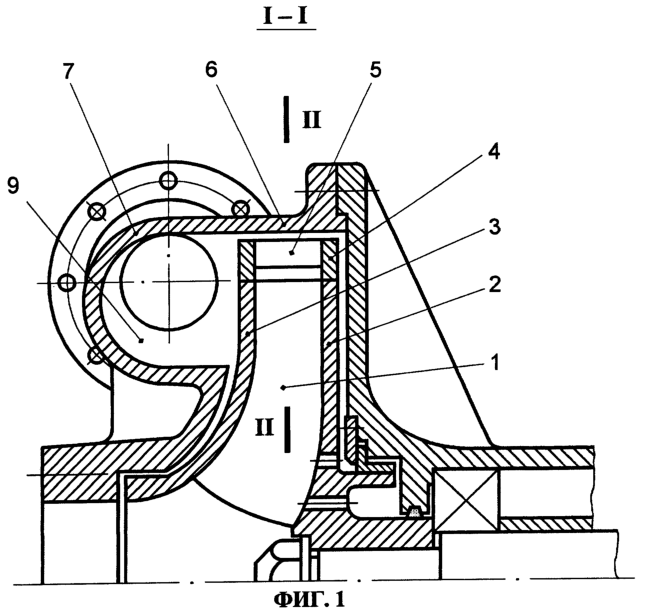
фиг.1 – роторное устройство для гидроакустической обработки жидкостей, частичный продольный разрез по I-I (фиг.2);
фиг.2 – то же, частичное поперечное сечение по II-II (фиг.1).
ПОДРОБНОЕ ОПИСАНИЕ ИЗОБРЕТЕНИЯ
Способ газомазутного отопления преимущественно сталеплавильной печи, например мартеновской, предусматривает замещение части подаваемого мазута водой с получением водомазутной эмульсии и включает подачу к горелочному устройству печи горючего газа, например природного, полученной водомазутной эмульсии, вентиляторного и компрессорного воздуха и технического кислорода, сжигание горючих компонентов в факеле и отвод продуктов горения.
Водомазутную эмульсию получают путем подачи мазута и воды в роторное устройство для гидроакустической обработки жидкостей, например, подобное вышеописанному (патент RU 2218206). Такое устройство содержит лопастное рабочее колесо 1 (фиг.1 и 2), выполненное аналогично рабочему колесу центробежного насоса в виде несущего 2 и покрывающего 3 дисков с дополнительной периферийной кольцевой стенкой 4. Последняя снабжена рядом (30…150 шт.) выходных отверстий 5 вытянутой параллельно оси рабочего колеса формы, окружная ширина которых примерно равна окружной ширине перемычек между ними. Периферийная кольцевая стенка 4 рабочего колеса 1 вместе со сплошной (т.е. не имеющей никаких отверстий) коаксиальной стенкой 6 статора 7 образует кольцевую резонансную полость 8 (фиг.2), сообщенную со сборной камерой 9. Гидроакустическая обработка жидкости осуществляется благодаря ее резонансному возбуждению со звуковой частотой, зависящей от заданной частоты вращения и количества выходных отверстий 5 рабочего колеса 1. При этом химические связи углеводородной жидкости подвергаются деструктивному воздействию на молекулярном уровне. Такое роторное устройство для гидроакустической обработки жидкостей позволяет приготавливать высокодисперсную и структурно стабильную водомазутную эмульсию с содержанием воды до 50% и более.
Содержание воды в водомазутной эмульсии регулируют в зависимости от температуры и излучательной способности факела таким образом, чтобы они сохранялись по крайней мере на уровне температуры и излучательной способности факела при работе на чистом мазуте. Для этого непрерывно контролируют текущее содержание воды в водомазутной эмульсии, например, известным диэлькометрическим методом и радиационную температуру факела, например, известным пирометрическим методом. Таким образом устанавливают оптимальное для конкретных условий плавки содержание воды в водомазутной эмульсии.
Экспериментально установлено, что в зависимости от содержания воды в водомазутной эмульсии ее вязкость повышается по сравнению с вязкостью исходного мазута при той же температуре, несмотря на то, что при одной и той же температуре вязкость воды значительно меньше вязкости мазута. Это оказывает существенное негативное влияние на степень распыления топлива и режим работы горелочного устройства печи. Для избежания этого влияния вязкость водомазутной эмульсии снижают в зависимости от содержания в ней воды путем повышения температуры водомазутной эмульсии на входе в горелочное устройство таким образом, чтобы она сохранялась по крайней мере на уровне вязкости мазута при работе на чистом мазуте. Для оперативного управления процессом отопления печи вязкость водомазутной эмульсии контролируют косвенно по данным диэлькометрического контроля ее водосодержания с использованием установленной экспериментально зависимости между водосодержанием и вязкостью водомазутной эмульсии при определенных температурах.
Экспериментально установлено, что обычно применяемый при газомазутном отоплении, например, мартеновской печи коэффициент избытка воздуха является значительно завышенным при использовании водомазутной эмульсии вместо чистого мазута. Поэтому интегральный (т.е. учитывающий все подаваемые носители окислителя) коэффициент избытка воздуха снижают по сравнению с таковым при работе на чистом мазуте на такую величину, чтобы температура и излучательная способность факела сохранялись по крайней мере неизменными. Реальный коэффициент избытка воздуха может составлять при этом величину 1,05…1,07.
ПРОМЫШЛЕННАЯ ПРИМЕНИМОСТЬ
Изобретение может быть использовано в черной и цветной металлургии для отопления плавильных и нагревательных печей, а также в теплоэнергетической промышленности для отопления котельных установок.
В таблице приведен конкретный пример практической реализации изобретения.
| Пример практической реализации изобретения на 250-тонной мартеновской печи Чусовского металлургического завода (режим: плавка) |
| Наименование |
Единица измерения |
Величина |
| Мазут |
ВМЭ |
| Содержание воды в топливе |
% |
4 |
29 |
| Расход мазута |
т/час |
2000 |
– |
| Расход ВМЭ |
т/час |
– |
2000 |
| Температура жидкого топлива |
°С |
80 |
90 |
| Расход природного газа |
м3/час |
2050 |
1950 |
| Расход компрессорного воздуха |
м3/час |
1750 |
1700 |
| Расход вентиляторного воздуха |
м3/час |
46000 |
43000 |
| Расход технического кислорода |
м3/час |
1000 |
800 |
| Температура факела |
°С |
1900 |
1940 |
| Температура отходящих газов |
°С |
750 |
680 |
| Интегральный коэффициент избытка воздуха |
– |
1,2 |
1,05 |
| Продолжительность плавки |
час |
7,2 |
6,9 |
ЛИТЕРАТУРА
1. Лисиенко В.Г., Китаев Б.И., Кокарев Н.И. Усовершенствование методов сжигания природного газа в сталеплавильных печах. М.: Металлургия, 1977, 280 с.
2. Российский патент No.2229057, опубликованный 20.05.2004.
4. Российский патент No.2218206, опубликованный 10.12.2003.
Формула изобретения
1. Способ газомазутного отопления преимущественно сталеплавильной печи с замещением части подаваемого мазута водой и получением водомазутной эмульсии, включающий подачу к горелочному устройству печи горючего газа, например природного, полученной водомазутной эмульсии, вентиляторного и компрессорного воздуха и технического кислорода, сжигание горючих компонентов в факеле и отвод продуктов горения, отличающийся тем, что водомазутную эмульсию получают путем подачи мазута и воды в роторное устройство для гидроакустической обработки жидкостей, содержащее лопастное рабочее колесо в виде несущего и покрывающего дисков с периферийной кольцевой стенкой, снабженной рядом выходных отверстий, и образованную периферийной кольцевой стенкой рабочего колеса и сплошной коаксиальной стенкой статора кольцевую резонансную полость, сообщенную со сборной камерой.
2. Способ по п.1, отличающийся тем, что содержание воды в водомазутной эмульсии регулируют в зависимости от температуры и излучательной способности факела таким образом, чтобы они сохранялись по крайней мере на уровне температуры и излучательной способности факела при работе на чистом мазуте.
3. Способ по п.2, отличающийся тем, что вязкость водомазутной эмульсии снижают в зависимости от содержания в ней воды путем повышения температуры водомазутной эмульсии на входе в горелочное устройство таким образом, чтобы она сохранялась по крайней мере на уровне вязкости мазута при работе на чистом мазуте.
4. Способ по п.3, отличающийся тем, что интегральный коэффициент избытка воздуха снижают по сравнению с таковым при работе на чистом мазуте на такую величину, чтобы температура и излучательная способность факела сохранялись по крайней мере неизменными.
РИСУНКИ
MM4A – Досрочное прекращение действия патента СССР или патента Российской Федерации на изобретение из-за неуплаты в установленный срок пошлины за поддержание патента в силе
Дата прекращения действия патента: 01.07.2006
Извещение опубликовано: 10.06.2007 БИ: 16/2007
|
|