|
|
(21), (22) Заявка: 2000130475/06, 06.12.2000
(24) Дата начала отсчета срока действия патента:
06.12.2000
(43) Дата публикации заявки: 20.11.2002
(45) Опубликовано: 10.06.2005
(56) Список документов, цитированных в отчете о поиске:
RU 2079703 C1, 20.05.1997. SU 29419 A, 28.02.1933. SU 1787210 A3, 07.01. 1993. RU 2064603 C1, 27.07.1996. RU 2067211 С1, 27.09.1996. DE 834077 А, 17.03.1952. DE 3444005 А1, 17.07.1986.
Адрес для переписки:
125319, Москва, ул. Усиевича, 1/5, кв.73, В.Я.Вейнбергу
|
(73) Патентообладатель(и):
Вейнберг Вениамин Яковлевич (RU)
|
(54) ЭНЕРГОПРЕОБРАЗОВАТЕЛЬ
(57) Реферат:
Изобретение относится к ветроэнергетике, а именно к устройствам, преобразующим энергию движения воздуха в электрическую энергию. Технический результат заключается в повышении КПД устройства за счет упрощения его конструкции и уменьшения количества передач. Энергопреобразователь содержит флюгерный ветродвигатель, выполненный в виде лопастей, установленных на рабочем валу, приводной вал, кинематически связанный с рабочим валом генератора электроэнергии, и направляющий хвостовик. Рабочий вал и приводной вал установлены с возможностью вращения на одном кронштейне и связаны друг с другом через коническую передачу, при этом кронштейн выполнен с возможностью независимого вращения относительно оси приводного вала, и к этому же кронштейну подсоединен направляющий хвостовик флюгера. 1 з.п. ф-лы. 5 ил.

Заявленное устройство относится к энергетическим установкам, использующим в качестве источника энергии силу движения газа, например воздуха, и преобразование его в электрическую энергию, в качестве приводного элемента которого используются лопасти. Данное устройство может найти широкое применение в промышленности и быту для производства электрической энергии.
Известен энергопреобразователь, содержащий ветродвигатель, соединенный с генератором электрической энергии, и направляющий хвост. (Патент RU 2064603, кл. 6 F 03 D 5/00, от 27.07.96).
Недостатком данного устройства является необходимость подвешивания генератора вместе с ветродвигателем, что значительно усложняет электрокоммуникационную систему и эксплуатацию устройства.
Известно устройство, содержащее лопастной ротор, кинематически связанный с валом генератора электрической энергии, и направляющее крыло или направляющий хвост, или направляющий хвостовик. (Патент RU 2079703 от 20.05.97).
Недостатком известного устройства является сложность конструкции с большим количеством механических передач, снижающих его КПД.
Целью изобретения является повышения КПД устройства за счет упрощения его конструкции и уменьшения количества передач.
Эта цель достигается за счет того, что ветродвигатель выполнен в виде флюгера, рабочий вал лопостного устройства которого установлен на кронштейне с возможностью вращения вокруг своей оси, с противоположной стороны на этом же кронштейне установлен хвостовик или управляющее крыло, или управляющий хвост, при этом рабочий вал через коническую передачу связан с приводным валом, закрепленным с возможностью вращения к горизонтальной части того кронштейна, который также имеет возможность вращаться относительно приводного вала, соединенного с валом генератора электрической энергии.
Энергопреобразователь поясняется следующими чертежами:
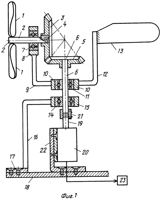
Фиг.1 – Принципиальная схема устройства.
Фиг.2 – Узел конической передачи устройства.
Фиг.3 – Принципиальная электрическая схема устройства.
Фиг.4 а) и б) – Узел соединения лопастей с рабочим валом.
Фиг.5 – Узел соединения лопастей с рабочим валом.
Энергопреобразователь содержит лопасти 1, закрепленные на горизонтальном рабочем валу 2, например приварены к нему, с противоположной стороны на котором установлено колесо 3 конической зубчатой передачи, которое зафиксировано шпонкой 4. Колесо 3 контактно соединено с шестерней 5, закрепленной, например запрессованой, на вертикальном приводном валу 6. На горизонтальном рабочем валу 2 между лопастями 1 и колесом 3 установлен подшипник 7, например запрессовано на нем его внутреннее кольцо, на внешнем кольце которого установлена втулка 8, например запрессована на ней. К втулке 8 присоединен угловой кронштейн 9, например приварен к ней, другой конец кронштейна 9 соединен с втулкой 10, например приварен к ней, в которой установлен подшипник 11, например в ней запрессовано его внешнее кольцо, а его внутреннее кольцо запрессовано на вертикальном приводном валу 6.
С противоположной стороны по отношению точки подсоединения кронштейна 9 к втулке 10 к этой втулке 10 подсоединен другой угловой кронштейн 12, например приварен к ней. К вертикальной части кронштейна 12 подсоединен по меньшей мере один направляющий хвостовик 13, например приварен к нему, направляющий хвостовик 13 флюгера иначе можно назвать направляющим хвостом или направляющим крылом.
На приводном валу 6 установлен подшипник 14, например запрессовано на приводном валу 6 его внутреннее кольцо, а на его внешнем кольце запрессована втулка 15, к которой присоединен штатив 16, основание 17 которого закреплено на станине 18, например на крыше или другой части строения.
К приводному валу 6 подсоединен вал 19 электрического генератора 20, например, при помощи муфты 21. Электрический генератор 20 может быть установлен на штативе 22, который может также крепится на станине 18. Электрический выход генератора 20 функционально связан с нагрузкой 23, которой могут быть лампочки, нагреватели, радио- и телеприемники и т.д.
В энергопреобразователе могут быть использованы генераторы электрической энергии с различной принципиальной электрической схемой. На Фиг.3 показан пример выполнения принципиальной электрической схемы электрического генератора 20 с паралельным возбуждением. В этом примере обмотки якоря 24 через щетки 25 коллектора электрически связаны с обмоткой возбуждения 26 и последовательно установленным с ним переменным сопротивлением 27 регулирующего реостата в цепи возбуждения. На выходе генератора 20 может быть установлена нарузка 23, например лампочка, нагреватель или другие электроприборы, параллельно которой могут быть установлены аккумулятор 28 и источник тока 29, последовательно последнему может быть установлена пусковая кнопка 30.
Лопасти 1, установленные на рабочем валу 2, могут иметь различную форму: например они могут быть выполнены винтовой формы или в виде лопастного колеса.
Лопасти 1 могут быть установлены на рабочем валу 2 с возможностью поворота относительно продольной оси, которая перпендикулярна оси рабочего вала 2, это может быть осуществлено при помощи следующего соединения: с торца комля лопасти 1 установлена цилиндрическая пята 31, например приваренная к ней, к которой присоединена накидная гайка 32, например, при помощи резьбового соединения, в полости, образованной нижней частью пяты 31 и накидной гайкой 32, установлен грибообразный подпятник 33 с возможностью вращения пяты 31 с накидной гайкой 32 вокруг его оси. Подпятник 33 установлен, например при помощи резьбового соединения на отводе 34, который соединен с рабочим валом 2 перпендикулярно его оси, например приварен к нему или имеет с ним резьбовое соединение. Комоль лопасти 1 зафиксирован на отводе 34 при помощи возвратной пружины 35, одно ее окончание введено в отверстие, выполненное в комле лопасти 1, а другое ее окончание введено в отверстие, выполненное в отводе 34, при этом ее ось совпадает с осью вращения пяты 31. Комоль лопасти 1 является ее частью, а отвод 34 является частью рабочего вала 2, таким образом, можно считать, что пружина 35 связывает лопасти 1 и рабочий вал 2.
Таким образом, лопасти установлены на валу с возможностью колебательного движения вокруг оси подпятника 31, точнее относительно оси, перпендикулярной оси рабочего вала 2, отклоняясь от определенного пружиной 35 положения при сильном порыве ветра.
Так могут быть выполнены все лопасти 1, установленные на валу 2, например их может быть три и они устанавливаются под углом 120є, относительно друг к другу.
Втулка 8, кронштейн 9, втулка 10, кронштейн 12, жестко соединенные между собой, представляют собой участки единого кронштейна, на котором установлены рабочий вал 2, приводной вал 6 и направляющий хвостовик 13.
Всю конструкцию, расположенную над валом 21 генератора 20, начиная от приводного вала и кончая лопастями 1, можно назвать ветродвигателем, выполненным в форме флюгера.
Штатив 16 выполняет роль дополнительного фиксатора через втулку 10 с подшипником 11 приводного вала 6.
Энергопреобразователь работает следующим образом: ветер начинает вращать лопасти 1, это вращение через рабочий вал 2 передается колесу 3 конической передачи, которое начинает вращать шестерню 5. Шестерня 5 вращает приводной вал 6, который в свою очередь приводит во вращение вал 19, и генератор 20 начинает генерировать электрическую энергию, передавая ее нагрузке 23, лампочки загораются, нагреватели нагреваются и т.д.
Как только меняется направление ветра, направляющий хвостовик 13, которых может быть несколько и они могут крепиться на кронштейне 12 параллельно, разворачивает лопасти по направлению ветра, исключая их простои и увеличивая КПД энергопреобразователя.
Таким образом, кронштейны 9 и 12, связанные друг с другом через втулку 10, являются как бы единым целым и могут быть расположены в одной плоскости или параллельных плоскостях, и установлены на приводном валу 6 через подшипник 11 с возможностью независимого вращения от вращения приводного вала 6 с вертикальной осью вращения, а рабочий вал 2 с лопастями 1 установлен на кронштейне 9 через втулку 8 и подшипник 7 с возможностью вращения вокруг горизонтальной оси, это вращение через коническую передачу передается валу 19.
Лопасти 1 обычно развернуты под определенным углом относительно плоскости поперечного сечения рабочего вала 2, но под действием сильного порыва ветра их начинает разворачивать параллельно направлению вектора движения воздуха, преодолевая натяжение пружины 35, которая скручавается, тем самым защищая ее от повреждения, обороты при этом уменьшаются. Если же по какой-либо причине лопасти начинают вращаться слишком сильно при средней скорости ветра, то лопасти стремятся уменьшить угол отклонения от плоскости перпендикулярного сечения приводного вала 2, тем самым уменьшая их сопротивление воздуху, скручивая пружину 35 в обратную сторону. Это отклонение лопастей 1 обеспечивается возможностью вращения лопастей 1, их комля с пятой 31 и с накидной гайкой относительно подпятника 33 и отвода 34. Тем самым стабилизируется скорость вращения рабочего вала 2 и защищается конструкция ветродвигателя.
Формула изобретения
1. Энергопреобразователь, содержащий флюгерный ветродвигатель, выполненный в виде лопастей, установленных на рабочем валу, кинематически связанном с приводным валом, который соединен с валом генератора электрической энергии, и направляющий хвостовик, отличающийся тем, что рабочий вал и приводной вал установлены с возможностью вращения на одном кронштейне и связаны друг с другом через коническую передачу, при этом кронштейн выполнен с возможностью независимого вращения относительно оси приводного вала и к этому же кронштейну подсоединен направляющий хвостовик флюгера.
2. Энергопреобразователь по п.1, отличающийся тем, что лопасти установлены на рабочем валу с возможностью поворота относительно оси, перпендикулярной его оси, и связаны с этим валом возвратной пружиной.
РИСУНКИ
MM4A Досрочное прекращение действия патента Российской Федерации на изобретение из-за неуплаты в установленный срок пошлины за поддержание патента в силе
Дата прекращения действия патента: 07.12.2005
Извещение опубликовано: 27.01.2007 БИ: 03/2007
|
|