|
|
(21), (22) Заявка: 2003123156/06, 22.07.2003
(24) Дата начала отсчета срока действия патента:
22.07.2003
(43) Дата публикации заявки: 27.01.2005
(45) Опубликовано: 10.06.2005
(56) Список документов, цитированных в отчете о поиске:
GB 1394408 А, 14.05.1975. RU 2027059 C1, 20.01.1995. GB 1505397 A, 30.03.1978. GB 366299 А, 04.02.1932. RU 29967 U1, 10.06.2003.
Адрес для переписки:
445667, Самарская обл., г. Тольятти, ГСП, ул. Белорусская, 14а, Тольяттинский государственный университет, корп.УНИ, комн.201, В.И. Столбову
|
(72) Автор(ы):
Столбов В.И. (RU)
(73) Патентообладатель(и):
Столбов Владимир Иванович (RU)
|
(54) УСТРОЙСТВО ДЛЯ НЕПОСРЕДСТВЕННОГО ВПРЫСКА ТОПЛИВА В КАМЕРУ СГОРАНИЯ ДВИГАТЕЛЯ
(57) Реферат:
Изобретение относится к двигателестроению, в частности, к аппаратуре впрыскивания высокого давления с приводом от толчков поршня двигателя. Изобретение позволяет снизить уровень токсичности, повысить топливную экономичность и упростить конструкцию массовой аппаратуры впрыска. Устройство для непосредственного впрыска топлива в камеру сгорания содержит на стенках цилиндрической камеры сгорания ряд калиброванных отверстий, которые сообщаются с топливопроводами высокого давления для подачи топлива или отдельных его компонентов. Внутри камеры сгорания установлен поршень, который при возвратно-поступательном движении то открывает (полностью или частично), то закрывает калиброванные отверстия, обеспечивая точную дозировку количества топлива или отдельных его компонентов, подаваемых в камеру сгорания. 2 ил.

Изобретение относится к топливовпрыскивающей аппаратуре двигателей внутреннего сгорания (ДВС), а более конкретно – к устройству для непосредственного впрыска топлива в камеру сгорания двигателя, например роторного типа.
Известны устройства для впрыска топлива во впускной тракт двигателя, содержащие систему со впрыском в зону впускных клапанов или со впрыском во впускную трубу (см. Аппаратура впрыска легкого топлива автомобильных двигателей. Ю.И.Будыко, Ю.В.Духнин, В.Э.Коганер, К.М.Маскенсков; Под общ. ред. Ю.Б.Будыко. 2-е изд. перераб. и доп., – Л.: Машиностроение, Ленинград. отд-ние, 1982. – 144 с.). Недостатком известных устройств при введении разветвленного впускного трубопровода является неравномерность распределения топлива по отдельным цилиндрам двигателя и их работа при различных коэффициентах избытка воздуха, что способствует появлению в продуктах сгорания оксидов углерода СО при обогащении смеси и окислов азота NOx при объединении смеси, т.е. возникает повышенная токсичность отработавших газов.
Этот недостаток устранен в системе непосредственного впрыска, содержащий форсунку, устанавливаемую в головке блока или в блоке цилиндров так, что топливо подается прямо в камеру сгорания, где образуется горючая смесь, и управляющее устройство, позволяющее точно дозировать количество бензина, подаваемого в цилиндры двигателя при разных режимах работы, выбранное в качестве прототипа (см. Аппаратура впрыска легкого топлива автомобильных двигателей. Ю.И.Будыко, Ю.В.Духнин, В.Э.Коганер, К.М.Маскенсков; Под общ. ред. Ю.Б.Будыко. – 2-е изд. перераб. и доп., – Л.: Машиностроение, Ленинград, отд-ние, 1982. – 144 с.).
Недостатком такой системы является сложность и дороговизна аппаратуры впрыска, обеспечивающей уровень токсичности отработавших газов и топливной экономичности ДВС, обусловленный действующим законодательством стран мира.
Цель изобретения – снижение уровня токсичности и повышение топливной экономичности ДВС путем упрощения конструкции и удешевления аппаратуры впрыска.
Указанная цель достигается тем, что в устройстве для непосредственного впрыска топлива в камеру сгорания на стенках цилиндрической камеры сгорания имеется ряд калиброванных отверстий, которые сообщаются с топливопроводами высокого давления для подачи топлива или отдельных его компонентов. Внутри камеры сгорания установлен поршень, который при возвратно-поступательном движении то открывает (полностью или частично), то закрывает калиброванные отверстия, обеспечивая точную дозировку количества топлива или его компонентов, подаваемых в камеру сгорания.
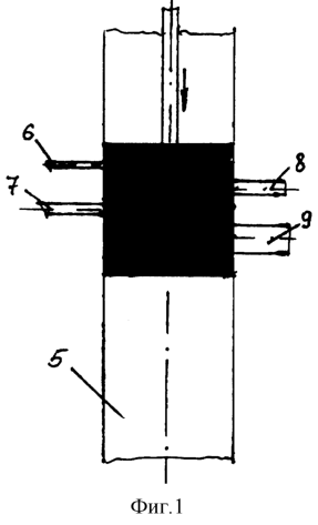
На чертежах представлено устройство для непосредственного впрыска топлива в камеру сгорания двигателя. Фиг.1 – устройство в исходном положении, фиг.2 – устройство в состоянии впрыска.
Устройство для непосредственного впрыска топлива в камеру сгорания двигателя (см. фиг.) содержит ряд калиброванных отверстий 1-4 на стенках цилиндрической камеры сгорания 5, которые сообщаются с топливопроводами 6-9 высокого давления, и поршень 10.
Устройство работает следующим образом. В исходном состоянии (фиг.1) все калиброванные отверстия 1-4, pacпoлoжeнныe на cтeнкax цилиндрической камеры сгорания 5, закрыты поршнем 10. При возвратно-поступательном движении поршня 10 отверстия 1-4 открываются (фиг.2) (полностью или частично) или закрываются (фиг.1), обеспечивая точную дозировку количества топлива или требуемых его компонентов, подаваемых в камеру сгорания 5. Компоненты топлива будут смешиваться в требуемой пропорции, обеспечивая наиболее эффективный режим горения, а следовательно, режим и работу ДВС. Если какие-то компоненты в данный момент не нужны, отверстия могут оставаться перекрытыми.
Использование изобретения позволит упростить и удешевить массовую топливовпрыскивающую аппаратуру, что приведет к снижению уровня токсичности отработанных газов и повышению топливной экономичности ДВС.
Формула изобретения
Устройство для непосредственного впрыска топлива в камеру сгорания, отличающееся тем, что на стенках цилиндрической камеры сгорания имеется ряд калиброванных отверстий, которые сообщаются с топливопроводами высокого давления для подачи топлива или отдельных его компонентов, и внутри камеры сгорания установлен поршень, который при возвратно-поступательном движении то открывает (полностью или частично), то закрывает калиброванные отверстия, обеспечивая точную дозировку количества топлива или отдельных его компонентов, подаваемых в камеру сгорания.
РИСУНКИ
|
|