|
(21), (22) Заявка: 2004123774/03, 05.08.2004
(24) Дата начала отсчета срока действия патента:
05.08.2004
(45) Опубликовано: 10.06.2005
(56) Список документов, цитированных в отчете о поиске:
RU 2209941 C1, 10.08.2003. RU 94017936 A1, 10.02.1996. RU 200111563 A, 20.05.2003. RU 2171887 C1, 10.08.2001. RU 2097536 C1, 27.11.1997. RU 2039126 C1, 09.07.1995. RU 2082875 C1, 27.06.1997. RU 2141560 C1, 20.11.1999. RU 2158820 C1, 10.11.2000. RU 2068943 C1, 10.11.1996. RU 2055156 C1, 27.02.1996. SU 1492022 А1, 07.07.1989. US 4945994 A, 07.08.1990.
Адрес для переписки:
423450, Республика Татарстан, г. Альметьевск, ул. Ленина, 35, НГДУ “Альметьевнефть”, нач. тех. отд.
|
(72) Автор(ы):
Ибрагимов Н.Г. (RU), Миннуллин Р.М. (RU), Момот В.И. (RU), Кирдин А.В. (RU)
(73) Патентообладатель(и):
ОАО “Татнефть” им. В.Д. Шашина (RU)
|
(54) СПОСОБ ЗАКАНЧИВАНИЯ СКВАЖИНЫ
(57) Реферат:
Изобретение относится к нефтяной промышленности и может найти применение при строительстве и заканчивании скважины. Обеспечивает увеличение продуктивности скважины за счет исключения кольматирующего влияния цемента на призабойную зону пласта и сохранения достаточного диаметра скважины в интервале продуктивного пласта. Сущность изобретения: по способу ведут цементирование под давлением ранее перфорированных интервалов и установку в скважине цементного моста с образованием нового искусственного забоя выше интервалов перфорации. С глубины выше верхнего интервала перфорации бурят наклонный ствол скважины и спускают в него обсадную колонну. Выше кровли продуктивного пласта разобщают внутренний объем обсадной колонны на верхний и нижний объемы. Организуют сообщение верхнего объема обсадной колонны с затрубным пространством выше кровли продуктивного пласта. Организуют сообщение нижнего объема обсадной колонны с затрубным пространством в интервале продуктивного пласта. Исключают движение жидкости из затрубного пространства в верхний объем обсадной колонны. Прокачивают цементный раствор через верхний объем обсадной колонны в заколонное пространство выше кровли продуктивного пласта. Проводят технологическую выдержку для схватывания и твердения цемента. Организуют сообщение верхнего и нижнего объемов обсадной колонны и движение жидкости по внутреннему объему обсадной колонны. 1 ил.

(56) (продолжение):
CLASS=”b560m”US 5244041 A, 14.09.1993. СОЛОВЬЕВ Е. М. и др. Заканчивание скважин. – М.: Недра, 1973, с. 46-47.
Изобретение относится к нефтяной промышленности и может найти применение при заканчивании скважины для обеспечения усиления добычи нефти.
Известен способ заканчивания скважины, включающий цементировку под давлением ранее перфорированных интервалов и установку в скважине цементного моста с образованием нового искусственного забоя выше интервалов перфорации, с глубины выше верхнего интервала перфорации бурение нового наклонного ствола скважины с переходом на горизонтальный ствол в невыработанном пласте или наклонный ствол, проходящий через несколько невыработанных пластов, расположение новых забоев на расстоянии не менее 50 м от забоев ранее пробуренных скважин, назначение плотности перфорации стволов в невыработанных пластах согласно коллекторским свойствам пластов и отбор нефти из всех вскрытых пластов одновременно (патент РФ №2097536, опублик. 1997 г.).
В известном способе весь новый наклонный ствол скважины снабжают обсадной колонной и цементируют заколонное пространство, однако это приводит к невысокой продуктивности скважины вследствие кольматирования цементом пор пласта.
Наиболее близким к изобретению по технической сущности является способ заканчивания скважины, включающий цементирование под давлением ранее перфорированных интервалов и установку в скважине цементного моста с образованием нового искусственного забоя выше интервалов перфорации, с глубины выше верхнего интервала перфорации бурение нового наклонного ствола скважины, определение в продуктивном пласте зоны поглощения и зоны обрушения породы, спуск обсадной колонны до последней зоны поглощения или зоны обрушения породы, цементирование заколонного пространства, бурение через обсадную колонну горизонтального ствола меньшего диаметра и его оставление без обсадной колонны, при этом бурение и цементирование нового наклонного ствола скважины до последней зоны поглощения или зоны обрушения породы ведут на репрессии (патент РФ №2209941, опубл. 10.08.2003 г. – прототип).
Известный способ позволяет избежать кольматирующего влияния цемента на призабойную зону, однако продуктивность скважины остается невысокой вследствие малого диаметра скважины в интервале продуктивного пласта.
В изобретении решается задача увеличения продуктивности скважины за счет исключения кольматирующего влияния цемента на призабойную зону пласта и сохранения достаточного диаметра скважины в интервале продуктивного пласта.
Задача решается тем, что в способе заканчивания скважины, включающем цементирование под давлением ранее перфорированных интервалов и установку в скважине цементного моста с образованием нового искусственного забоя выше интервалов перфорации, с глубины выше верхнего интервала перфорации бурение наклонного ствола скважины, спуск обсадной колонны в наклонный ствол скважины и цементирование заколонного пространства, согласно изобретению выше кровли продуктивного пласта разобщают внутренний объем обсадной колонны на верхний и нижний объемы, организуют сообщение верхнего объема обсадной колонны с затрубным пространством выше кровли продуктивного пласта, организуют сообщение нижнего объема обсадной колонны с затрубным пространством в интервале продуктивного пласта, исключают движение жидкости из затрубного пространства в верхний объем обсадной колонны, прокачивают цементный раствор через верхний объем обсадной колонны в заколонное пространство выше кровли продуктивного пласта, проводят технологическую выдержку для схватывания и твердения цемента, организуют сообщение верхнего и нижнего объемов обсадной колонны и движение жидкости по внутреннему объему обсадной колонны.
Признаками изобретения являются:
1. цементирование под давлением ранее перфорированных интервалов;
2. установка в скважине цементного моста с образованием нового искусственного забоя выше интервалов перфорации;
3. с глубины выше верхнего интервала перфорации бурение наклонного ствола скважины;
4. спуск обсадной колонны;
5. цементирование заколонного пространства;
6. разобщение выше кровли продуктивного пласта внутреннего объема обсадной колонны на верхний и нижний объемы;
7. организация сообщения верхнего объема обсадной колонны с затрубным пространством выше кровли продуктивного пласта;
8. организация сообщения нижнего объема обсадной колонны с затрубным пространством в интервале продуктивного пласта;
9. исключение движения жидкости из затрубного пространства в верхний объем обсадной колонны;
10. прокачка цементного раствора через верхний объем обсадной колонны в заколонное пространство выше кровли продуктивного пласта;
11. проведение технологической выдержки для схватывания и твердения цемента;
12. организация сообщения верхнего и нижнего объемов обсадной колонны;
13. организация движения жидкости по внутреннему объему обсадной колонны.
Признаки 1-5 являются общими с прототипом, признаки 6-13 являются существенными отличительными признаками изобретения.
Сущность изобретения
Цементирование заколонного пространства обсадной колонны скважины неизбежно приводит к кольматации пор продуктивного пласта и снижению продуктивности скважины. Существующие способы заканчивания скважины позволяют устранить этот недостаток с частичной потерей продуктивности скважины. В предложенном способе решается задача исключения отрицательного влияния цементирования с сохранением продуктивности скважины. Задача решается следующим образом.
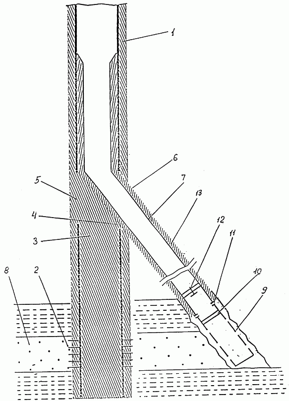
На чертеже представлена схема обсаживания скважины боковыми стволами.
На бездействующей или аварийной скважине 1 имеются ранее перфорированные интервалы 2, цементный мост 3, новый искусственный забой 4, окно 5, наклонный ствол скважины 6, обсадная колонна 7, оборудованная в интервале продуктивного пласта 8 щелевым фильтром 9 и выше кровли продуктивного пласта 8 снабженная последовательно снизу вверх заглушкой из легкоразбуриваемого материала 10, циркуляционными отверстиями 11 и обратным клапаном 12. Заколонное пространство 13 выше кровли продуктивного пласта 8 зацементировано. В качестве материала для заглушки 10 может быть использован алюминий, медь и их сплавы, дерево и пр.
Работы по заканчиванию скважины проводят следующим образом.
На бездействующей или аварийной скважине 1 проводят цементирование под давлением ранее перфорированных интервалов 2 и установку цементного моста 3 с образованием нового искусственного забоя 4 выше ранее перфорированных интервалов 2. На глубине нового искусственного забоя 4 в скважине 1 вырезают окно 5 и бурят наклонный ствол скважины 6, куда спускают обсадную колонну 7. В обсадной колонне 7 выше кровли продуктивного пласта 8 поставлена заглушка из легкоразбуриваемого материала 10, посредством которой обеспечивают разобщение внутреннего объема обсадной колонны на верхний и нижний объемы. Выше кровли продуктивного пласта 8 в верхнем объеме обсадной колонны 7 выполнены циркуляционные отверстия 11, через которые обеспечивают сообщение верхнего объема обсадной колонны 7 с заколонным пространством 13 выше кровли продуктивного пласта 8. Над циркуляционными отверстиями 11 размещен обратный клапан 12, с помощью которого исключают движение жидкости из затрубного пространства 13 в верхний объем обсадной колонны 7. Обсадная колонна 7 оборудована в интервале продуктивного пласта 8 щелевым фильтром 9, через который организуют сообщение нижнего объема обсадной колонны 7 с затрубным пространством 13 в интервале продуктивного пласта 8.
Цементирование заколонного пространства 13 осуществляют выше кровли продуктивного пласта 8 прокачкой цементного раствора через верхний объем обсадной колонны 7 через обратный клапан 12 и через циркуляционные отверстия 11 в заколонное пространство 13. Проводят технологическую выдержку для схватывания и твердения цемента. Разбуривают обратный клапан 12 и заглушку из легкоразбуриваемого материала 10, за счет чего организуют сообщение верхнего и нижнего объемов обсадной колонны 7 и движение жидкости по всему внутреннему объему обсадной колонны 7.
Пуск скважины в эксплуатацию осуществляют после разбуривания обратного клапана 12 и заглушки из легкоразбуриваемого материала 10.
В результате заколонное пространство 13 оказывается зацементированным выше кровли продуктивного пласта 8, интервал продуктивного пласта 8 остается не подверженным влиянию цемента.
Пример конкретного выполнения способа
На бездействующей скважине 1 (см. чертеж) глубиной 1120 м проводят цементирование под давлением ранее перфорированных интервалов 2 и установку цементного моста 3 высотой 100 м с образованием нового искусственного забоя 4 выше ранее перфорированных интервалов 2. На глубине нового искусственного забоя 4 в скважине 1 вырезают окно 5 и бурят наклонный ствол скважины 6 длиной 350 м и диаметром 124 мм, куда спускают обсадную колонну 7 диаметром 114 м. В обсадной колонне 7 выше кровли продуктивного пласта 8 поставлена заглушка из легкоразбуриваемого материала 10 алюминия – толщиной 150 мм. Выше кровли продуктивного пласта 8 в верхнем объеме обсадной колонны 7 выполнены 4 циркуляционные отверстия 11 диаметром 20 мм. Над циркуляционными отверстиями 11 размещен обратный клапан 12. Обсадная колонна 7 оборудована в интервале продуктивного пласта 8 щелевым фильтром 9.
Цементирование заколонного пространства 13 осуществляют выше кровли продуктивного пласта 8 прокачкой цементного раствора через верхний объем обсадной колонны 7, через обратный клапан 12 и через циркуляционные отверстия 11 в заколонное пространство 13. Проводят технологическую выдержку в течение 24 час для схватывания и твердения цемента. Разбуривают обратный клапан 12 и заглушку из легкоразбуриваемого материала 10. Пуск скважины в эксплуатацию осуществляют после разбуривания обратного клапана 12 и заглушки из легкоразбуриваемого материала 10.
Технологический эффект достигается за счет исключения воздействия цемента на пласт, что приводит к увеличению дебита более чем в 2 раза.
Применение предложенного способа позволит увеличить продуктивность скважины.
Формула изобретения
Способ заканчивания скважины, включающий цементирование под давлением ранее перфорированных интервалов и установку в скважине цементного моста с образованием нового искусственного забоя выше интервалов перфорации, с глубины выше верхнего интервала перфорации бурение наклонного ствола скважины, спуск обсадной колонны в наклонный ствол скважины и цементирование заколонного пространства, отличающийся тем, что выше кровли продуктивного пласта разобщают внутренний объем обсадной колонны на верхний и нижний объемы, организуют сообщение верхнего объема обсадной колонны с затрубным пространством выше кровли продуктивного пласта, организуют сообщение нижнего объема обсадной колонны с затрубным пространством в интервале продуктивного пласта, исключают движение жидкости из затрубного пространства в верхний объем обсадной колонны, прокачивают цементный раствор через верхний объем обсадной колонны в заколонное пространство выше кровли продуктивного пласта, проводят технологическую выдержку для схватывания и твердения цемента, организуют сообщение верхнего и нижнего объемов обсадной колонны и движение жидкости по внутреннему объему обсадной колонны.
РИСУНКИ
|