|
|
(21), (22) Заявка: 2003123842/12, 01.08.2003
(24) Дата начала отсчета срока действия патента:
01.08.2003
(43) Дата публикации заявки: 20.01.2005
(45) Опубликовано: 10.06.2005
(56) Список документов, цитированных в отчете о поиске:
RU 2002931 C1, 15.11.1995. RU 2175373 C1, 27.10.2001. US 4307589 A, 29.12.1981. US 3948068 A, 06.04.1976. DE 3209946 A1, 22.09.1983.
Адрес для переписки:
119415, Москва, пр-кт Вернадского, 77, кв.28, Ю.А. Камынину
|
(72) Автор(ы):
Камынин Ю.А. (RU), Иванов Ю.А. (RU)
(73) Патентообладатель(и):
Камынин Юрий Андреевич (RU), Иванов Юрий Анатольевич (RU)
|
(54) МЕХАНИЗМ СЕКРЕТА ЗАМКА ПОВЫШЕННОЙ СТОЙКОСТИ ВЗЛОМУ И НАДЕЖНОСТИ РАБОТЫ
(57) Реферат:
Изобретение относится к области скобяных изделий и касается механизма секрета замка повышенной стойкости взлому и надежности работы, содержащего корпус с пазом под ключ, размещенный в корпусе подпружиненный блокиратор с матрицей, в глухих полостях которой установлены блокирующие элементы из магнитомягкого материала в виде шариков или тел вращения, образующие которых параллельны или наклонены под некоторым углом, вал с ручкой и хвостовиком для управления запорным механизмом и ключ с постоянными магнитами. Паз под ключ исполнен сквозным и по нормали к оси вала. Вал несет эксцентрик, кинематически связанный с блокиратором, матрица выполнена с глухими продольными полостями и исходящими из них по нормали кодовыми каналами, снабженными жестко связанными с блокиратором выталкивателями блокирующих элементов. Постоянные магниты в ключе установлены соосно с кодовыми каналами матрицы, корпус имеет подпружиненный фиксатор ключа, а ключ – отверстие под фиксатор. Данный замок имеет повышенную устойчивость к взлому. 4 ил.

Изобретение относится к запорной технике и предназначается для использования в жилых и общественных зданиях, транспортных средствах.
Известен ряд дверных замков без ключевого отверстия (патенты RU №2101449 С1, RU №2117128 С1) с механизмом секрета со свободными блокирующими элементами, в которых последние выполнены в виде магниточувствительных шариков и свободно перемещаются в соответствующих цилиндрических полостях.
Наиболее близким по технической сущности к заявляемому техническому решению (прототипом) является дверной замок (патент RU №2002931 С1, Е 05 В 47/00). Замок содержит корпус со скважиной и пазом под ключ, размещенные в корпусе соосно обойму с глухими цилиндрическими направляющими гнездами, выполненными перпендикулярно пазу под ключ, и подпружиненную панель, установленную с возможностью осевого перемещения и несущую поршни с отверстиями на свободных торцах, магниточувствительные задержки, выполненные в виде шариков из магниточувствительного материала и расположенные по одной в каждом гнезде обоймы с возможностью размещения в отверстиях поршней, средство управления запорным устройством, включающее в себя вал с выступом, связанный посредством хвостовика с запорным устройством и посредством кулачка с подпружиненной пластиной, и ключ с управляющими магнитными блоками и установленными в них в кодовом порядке магнитами для взаимодействия с магниточувствительными задержками. Гнезда обоймы заполнены невязкой антикоррозийной и немагнитной жидкостью, не замерзающей при низкой температуре. Паз под ключ расположен под гнездами и выполнен в виде щели с уклоном в сторону скважины, а поршни снабжены компенсационными щелями для перехода жидкости. По меньшей мере одно из гнезд снабжено одним или несколькими дополнительными задержками. Магнитные блоки ключа содержат дополнительные магниты для взаимодействия с соответствующими дополнительными магниточувствительными задержками. Поршни в гнездах выполнены с соответствующим количеством отверстий для магниточувствительных задержек. Подпружиненная панель имеет профилированные позиционные отверстия, а соединяемые с панелью концы поршней выполнены с соответствующими позиционными гранями, имеющими возможность совмещения с отверстиями панели, при этом магнитные блоки ключа установлены с возможностью дискретного поворота. Замок снабжен подпружиненными штифтами, размещенными в отверстиях обоймы для взаимодействия с подвижной панелью и ключом, а ключ выполнен с отверстиями напротив штифтов.
Недостатками механизма секрета прототипа являются сложность конструкции, невысокая надежность работы и стойкость взлому.
Технический результат, достигаемый в изобретении, заключается в устранении недостатков прототипа.
Это обеспечивается тем, что предлагаемый авторами механизм секрета замка повышенной стойкости взлому и надежности работы содержит корпус с пазом под ключ, размещенный в корпусе подпружиненный блокиратор с матрицей, в глухих полостях которой установлены блокирующие элементы из магнитомягкого материала в виде шариков или тел вращения, образующие которых параллельны или наклонены под некоторым углом, вал с ручкой и хвостовиком для управления запорным механизмом и ключ с постоянными магнитами, отличается тем, что паз под ключ сквозной и нормален к оси вала, вал несет эксцентрик, кинематически связанный с блокиратором, матрица выполнена с глухими продольными полостями и исходящими из них по нормали кодовыми каналами, снабженными жестко связанными с блокиратором выталкивателями блокирующих элементов, постоянные магниты в ключе установлены соосно с кодовыми каналами матрицы, корпус имеет подпружиненный фиксатор ключа, а ключ отверстие под фиксатор.
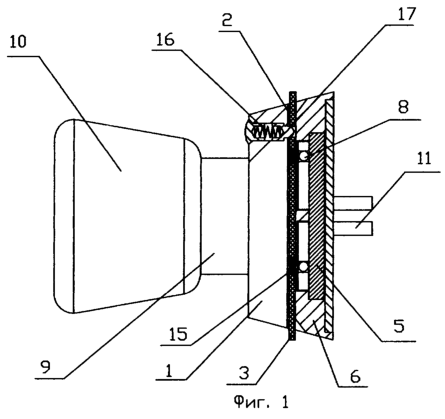
На фиг.1 приведен общий вид механизма секрета замка повышенной стойкости взлому и надежности работы с вставленным в паз корпуса плоским магнитным ключом; на фиг.2 – общий вид механизма секрета замка повышенной стойкости взлому и надежности работы со стороны вала с эксцентриком в положении “закрыто”; на фиг.3 – плоский магнитный ключ; на фиг.4 – общий вид механизма секрета замка повышенной стойкости взлому и надежности работы со стороны вала с эксцентриком в положении “открыто”.
Конструкция механизма секрета замка повышенной стойкости взлому и надежности работы поясняется фиг.1-4 и включает в себя корпус 1 с пазом 2 под плоский магнитный ключ 3, размещенный в корпусе 1 подпружиненный пружиной 4 блокиратор 5 с матрицей 6. В глухих продольных полостях 7 установлены блокирующие элементы 8 из магнитомягкого материала (например, в виде шариков). Вал 9 с ручкой 10 и хвостовиком 11 служат для управления запорным механизмом (на чертежах не показан). Паз 2 сквозной и нормален к оси вала 9. Вал 9 несет эксцентрик 12, кинематически связанный с блокиратором 5. Глухие продольные полости 7 соединены в соответствии с кодом плоского магнитного ключа 3 по нормали с кодовыми каналами 13, которые снабжены жестко связанными с блокиратором 5 выталкивателями 14 блокирующих элементов 8. Постоянные магниты 15 в плоском магнитном ключе 3 установлены в соответствии с его кодом и одновременно соосно с кодовыми каналами 13 матрицы 6. Корпус 1 механизма секрета имеет подпружиненный пружиной 16 фиксатор 17 ключа 3, а последний – отверстие 18 под него (17).
Механизм секрета замка повышенной стойкости взлому и надежности работы может находиться в одном из двух положений: заблокированном или свободном. В заблокированном положении блокирующие элементы 8 находятся под действием силы тяжести в нижней части продольных глухих полостей 7 матрицы 6. В таком состоянии блокиратор 5 исключает поворот ручки 10 вала 9 с эксцентриком 12, а тем самым произвести открытие замка.
В свободное положение механизм секрета переводится с помощью плоского магнитного ключа 3. При вводе ключа 3 в паз 2 корпуса 1 происходит последовательное взаимодействие его постоянных магнитов 15, установленных в соответствии с кодом, с блокирующими элементами 8. В результате такого взаимодействия происходит перемещение блокирующих элементов 8 в кодовую позицию: напротив кодовых каналов 13 матрицы 6. При этом конечное положение ключа 3 в пазе 2 фиксируется с помощью подпружиненного пружиной 16 фиксатора 17 и отверстия 18 на нем (3). Вращением ручки 10 производится воздействие эксцентрика 12 вала 9 на подпружиненный пружиной 4 блокиратор 5, вследствие чего блокирующие элементы 8 перемещаются по кодовым каналам 13 и одновременно происходит открытие запорного механизма через хвостовик 11.
В свободное положение механизм секрета переводится путем вращения ручки 10 с последующим удалением плоского магнитного ключа 3 из паза 2 корпуса 1. При этом, благодаря эксцентрику 12, под действием пружины 4 происходит совместное перемещение в обратном направлении блокиратора 5, выталкивателей 14 и блокирующих элементов 8, пока последние не займут исходное положение в нижней части продольных глухих полостей 7 матрицы 6.
Формула изобретения
Механизм секрета замка повышенной стойкости взлому и надежности работы, содержащий корпус с пазом под ключ, размещенный в корпусе подпружиненный блокиратор с матрицей, в глухих полостях которой установлены блокирующие элементы из магнитомягкого материала в виде шариков или тел вращения, образующие которых параллельны или наклонены под некоторым углом, вал с ручкой и хвостовиком для управления запорным механизмом и ключ с постоянными магнитами, отличающийся тем, что паз под ключ исполнен сквозным и по нормали к оси вала, вал несет эксцентрик, кинематически связанный с блокиратором, матрица выполнена с глухими продольными полостями и исходящими из них по нормали кодовыми каналами, снабженными жестко связанными с блокиратором выталкивателями блокирующих элементов, постоянные магниты в ключе установлены соосно с кодовыми каналами матрицы, корпус имеет подпружиненный фиксатор ключа, а ключ – отверстие под фиксатор.
РИСУНКИ
MM4A Досрочное прекращение действия патента Российской Федерации на изобретение из-за неуплаты в установленный срок пошлины за поддержание патента в силе
Дата прекращения действия патента: 02.08.2005
Извещение опубликовано: 27.01.2007 БИ: 03/2007
|
|