|
|
(21), (22) Заявка: 2003135841/15, 10.12.2003
(24) Дата начала отсчета срока действия патента:
10.12.2003
(45) Опубликовано: 10.06.2005
(56) Список документов, цитированных в отчете о поиске:
RU 2136600 С1, 10.09.1999. SU 852799 A, 25.09.1981. RU 2152359 C1, 10.07.2000. RU 2136601 C1, 10.09.1999. DE 2455205 A, 08.07.1976.
Адрес для переписки:
634028, г.Томск, ул. Савиных, 7, ГНУ “НИИ ИН при ТПУ”
|
(72) Автор(ы):
Мынка А.А. (RU), Сидуленко О.А. (RU), Синенко Е.И. (RU)
(73) Патентообладатель(и):
Государственное научное учреждение “Научно-исследовательский институт интроскопии при Томском политехническом университете” Министерства образования Российской Федерации (ГНУ “НИИ ИН при ТПУ”) (RU)
|
(54) СПОСОБ ОБРАБОТКИ ВОДЫ И УСТРОЙСТВО ДЛЯ ЕГО ОСУЩЕСТВЛЕНИЯ
(57) Реферат:
Может быть использовано для подготовки воды питьевого и технического водоснабжения, очистки сточных вод, обеззараживания воды. Способ включает обработку водогазовой смеси электрическими разрядами при длительности высоковольтных импульсов напряжения не более 0,5×10-6 с с крутизной фронта не менее 109 В/с. Вода поступает в камеру, обеспечивающую пленочное течение воды и контакт со встречным потоком озоновоздушной смеси. На выходе из камеры вода распыляется в восходящем потоке озоносодержащего газа и поступает через узел отвода водогазовой смеси в камеру дореагирования. Подача воздуха осуществляется последовательно через теплообменник, электродную систему, узел создания водогазовой смеси и камеру контакта. Реактор содержит корпус, узел создания водогазовой смеси, электродную систему, а также патрубки для подвода и вывода воды. В верхней части корпуса размещена камера контакта озоновоздушной смеси с водой, под камерой контакта расположена электрическая система, размещенная на внешней стенке корпуса вне зоны водогазовой смеси. Технический результат состоит в повышении эффективности обработки воды и надежности электродной системы. 2 н. и 4 з.п. ф-лы, 2 ил.

Изобретение относится к области обработки воды, промышленных и бытовых сточных вод, в частности к процессам подготовки воды для питьевого и технического водоснабжения, обеззараживания воды.
Известен способ очистки воды и устройство для его осуществления (патент РФ № 2004500, кл. С 02 F 1/46, В 03 С 5/00, опубл. 15.12.93.БИ № 45-46).
Согласно этому способу воду обрабатывают высоковольтными импульсами напряжения с частотой следования 5-30 Гц, при скорости нарастания напряжения не более 2×106 В/с и скорости спада напряжения не менее 2×104 B/c, пpи этом напряжение выбирают в пределах (7-30)·10 В. Устройство для очистки воды включает камеру для обрабатываемой жидкости, высоковольтный источник энергии, высоковольтные и заземленные электроды. Высоковольтные электроды выполнены с боковыми выступами, направленными в одну сторону. С целью повышения скорости обработки воды путем создания интенсивной циркуляции воды в устройстве, заземленный электрод выполнен секционированным с направленными в одну сторону выступами на боковой поверхности каждой секции.
Недостатками этого способа обработки воды являются высокие энергозатраты, связанные с большими потерями на нагрев воды и электродов при указанных временах воздействия импульсов напряжения, низкая частота следования импульсов 5-30 Гц, что снижает производительность обработки.
Недостатками устройства являются ограниченное число каналов разряда и, как следствие, обработке подвергается не вся вода, а только часть, прилегающая к каналам разряда, что снижает эффект обработки, а также низкий ресурс изоляции и электродов.
Наиболее близкими по технической сущности к предлагаемым решениям являются реактор и способ очистки воды (патент РФ № 2136600, кл. С 02 F 1/46, 7/00, опубликован 10.09.99, БИ № 25). Согласно этому способу обработку водогазовой смеси осуществляют электрическими барьерными разрядами при длительности положительных и (или) отрицательных высоковольтных импульсов не более 0,5·10-6 с с крутизной фронта импульса не менее 109 В/с и отношении амплитуды импульсного напряжения к расстоянию между электродами в пределах (2-10)*103 В/мм. Импульсы высокого напряжения подают с определенной частотой.
Недостатками данного способа являются: малое время пребывания воды в зоне обработки, низкая эффективность обработки воды и высокие удельные энергозатраты.
Известный реактор (патент РФ №2136600) для обработки воды состоит из корпуса, в верхней части которого размещен узел создания водогазовой смеси, и узла отвода водогазовой смеси, размещенного под электродной системой. Узел создания водогазовой смеси включает аэратор, эжектор, патрубки подвода воды и отвода воздуха и газов. К электродной системе подключен генератор высоковольтных импульсов.
Недостатками этого реактора являются низкая надежность, высокие удельные энергозатраты за счет отложения солей жесткости и окислов металлов на поверхности диэлектрических барьеров, приводящих к частому выходу из строя электродов, снижению выхода озона и высокореакционных кластерных ионов, а также низкая эффективность обработки воды, т.к. обработке подвергается не вся вода, а только часть, прилегающая к каналу разряда. Применение аэратора и эжектора в узле создания водогазовой смеси приводит к снижению концентрации высокореакционных окислителей в водогазовой смеси и снижению эффективности обработки воды.
Основной целью предложенного способа и устройства является увеличение выхода озона, повышение надежности электродной системы за счет размещения ее на внешней стенке корпуса вне зоны водогазовой смеси, повышение эффективности обработки воды за счет пленочного течения и максимального увеличения времени и площади контакта воды с озоновоздушной смесью.
Указанная цель достигается тем, что в способе обработки воды, включающем обработку водогазовой смеси электрическими разрядами при длительности высоковольтных импульсов напряжения не более 0,5×10-6 с с крутизной фронта не менее 109 В/с, согласно изобретению обрабатываемая вода поступает в камеру, обеспечивающую пленочное течение воды со скоростью в пределах 0,5-0,05 м/с и контакт со встречным потоком озоновоздушной смеси, на выходе из контактной камеры вода распыляется в восходящем потоке озоносодержащего газа и поступает через узел отвода водогазовой смеси в камеру дореагирования, а подача воздуха осуществляется последовательно через теплообменник, электродную систему, узел создания водогазовой смеси и камеру контакта.
Также для решения указанной технической задачи в реакторе для обработки воды содержащем корпус, узел создания водогазовой смеси, электродную систему, а также патрубки для подвода и вывода воды, в верхней части корпуса размещена камера контакта озоновоздушной смеси с водой, под камерой контакта расположена электродная система, размещенная на внешней стенке корпуса вне зоны водогазовой смеси.
Кроме того, электродная система может быть выполнена в виде трех соосных перфорированных цилиндров, причем внутренний цилиндр является корпусом реактора, внешний цилиндр является корпусом теплообменника, при этом внутренний и внешний цилиндры заземлены, а средний соединен с высоковольтным выводом наносекундного генератора.
Целесообразно высоковольтный электрод выполнить в виде набора на стяжных шпильках фольговых шайб в чередовании с калибровочными вставками или в виде соединенных между собой по типу “беличьего колеса” трубок из твердого электроизоляционного материала с внутренним электропроводящим напылением.
Целесообразно камеру контакта заполнить волокнистым или зернистым диэлектрическим материалом, обеспечивающим пленочное течение воды.
По сравнению с прототипом размещение в верхней части корпуса камеры контакта и заполнение ее волокнистым или зернистым диэлектрическим материалом создает пленочное течение воды и максимально увеличивает время и площадь контакта воды с озоновоздушной смесью, что обеспечивает более эффективное использование озона.
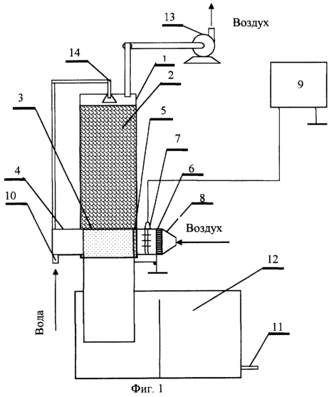
На фиг.1 изображен реактор для обработки воды; на фиг.2 – электродная система реактора.
Реактор состоит из корпуса 1, в верхней части которого размещена камера 2 контакта озоновоздушной смеси с водой, заполненная волокнистым или зернистым диэлектрическим материалом, узла 3 создания водогазовой смеси, расположенного под камерой 2, электродной системы 4, которая выполнена в виде трех соосных перфорированных цилиндров 5, 6, 7, внутренний цилиндр 5 является корпусом узла 3 создания водогазовой смеси, внешний цилиндр 6 является корпусом теплообменника 8, при этом внутренний 5 и внешний 6 цилиндры заземлены, а средний 7 – соединен с высоковольтным выводом наносекундного генератора 9. Патрубок 10 подвода воды установлен на теплообменнике 8, а патрубок 11 отвода воды – на корпусе камеры дореагирования 12, расположенной под корпусом 1 реактора. Воздуходувка 13 через патрубок 14 соединена с корпусом 1 реактора.
Реактор работает следующим образом.
Обрабатываемая вода подводится к патрубку 10, проходит через теплообменник 8, охлаждая внешний цилиндр 6, поступает в верхнюю часть камеры 2 и по ее волокнистой (зернистой) загрузке перемещается в виде тонкой пленки со скоростью 0,5-0,05 м/сек в узел 3 создания водогазовой смеси.
На электроды электродной системы 4 подается напряжение от высоковольтного наносекундного генератора 9 длительностью не более 0,5×10-6 с с крутизной фронта не менее 109 В/с, через теплообменник 8 поступает охлажденный воздух, где происходит его обработка электрическими разрядами с заданными параметрами. В зоне объемного разряда происходит ускорение заряженных частиц, синтез озона и образование ультрафиолетового излучения.
Предварительное охлаждение воздуха повышает эффективность синтеза озона, которая в значительной мере зависит от температуры в разрядной зоне.
Озоновоздушная смесь за счет разрежения в контактной камере 2, создаваемого воздуходувкой 13 через патрубок 14, поступает в узел 3 создания водогазовой смеси и восходящим потоком движется навстречу водяной пленке. В поровых каналах волокнистой (зернистой) загрузки образуется турбулентный режим движения водогазовой смеси, характеризующийся завихрениями и противотоками, что способствует молекулярному контакту воды с поверхностью волокон (зерен) контактной массы и озоновоздушной смесью. При этом происходит удаление сероводорода, углекислого газа, метана и других газов, разложение органических примесей (гуматов, фенольных и гидроксильных циклических соединений), окисление ионов тяжелых металлов (например, железа, марганца и др.), на волокнистой (зернистой) загрузке формируется адсорбционно-каталитическая пленка из соединений железа, марганца, повышая эффективность процессов деманганации и обезжелезивания.
Предварительно обработанная в контактной камере 2 вода поступает в узел 3 создания водогазовой смеси, где встречным потоком озоносодержащего газа распыляется на мелкие капли, которые подвергаются интенсивной обработке озоном, ультрафиолетовым излучением и заряженными частицами, поступающими из электродной системы 4 через перфорацию внутреннего цилиндра 5.
Объединение обработки озоном, ультрафиолетовым излучением и заряженными частицами позволяет эффективно синтезировать гидроксилрадикалы, которые являются одним из наиболее мощных окислителей. Это обеспечивает глубокое окисление примесей, обеззараживание воды, устранение следов привкуса и запаха, высокую прозрачность. Обработанная таким образом вода поступает в камеру дореагирования 12, где примеси агрегатируются и впоследствии легко улавливаются фильтром. На фильтр вода подается через патрубок 11.
На фиг.2 показан вариант устройства электродной системы.
Цилиндрическая форма электродной системы позволяет получить высокую интенсивность ультрафиолетового излучения в узле 3 за счет фокусировки внешним цилиндром.
В реакторе для обработки воды по предлагаемому способу обрабатывали воду, содержащую различные загрязнения. Реактор имел габаритные размеры: диаметр корпуса 400 мм, высота 2000 мм, высота загрузки волокнистым материалом камеры контакта составила 1200 мм, высота узла создания водогазовой смеси 400 мм. Электродная система была изготовлена из нержавеющей стали в виде трех перфорированных соосных цилиндров, причем внутренний цилиндр являлся корпусом реактора с площадью перфорации не менее 50%, внешний цилиндр диаметром 500 мм являлся корпусом теплообменника. Высоковольтный электрод был выполнен в виде перфорированного цилиндра с площадью перфорации не менее 50%. Высота электродной системы равнялась 400 мм.
Условия обработки воды были следующие. На обработку подавалась 5 м3/час воды, содержащей следующие загрязнители: железо общее 9,6 мг/л, марганец – 0,3 мг/л, медь – 2,0 мг/л, свинец – 0,15 мг/л, фенол – 0,05. Кишечная палочка содержалась до концентраций 105 клеток/ литр. Скорость течения воды в контактной камере изменялась в пределах от 1 м/с до 0,001 м/с.Концентрация озона в водовоздушной смеси изменялась от 5 г до 15 г на куб.метр воды. При скорости более 0,5 м/с время контакта озоновоздушной смеси с обрабатываемой водой не обеспечивало эффективного окисления примесей и формирования адсорбционно-каталитической пленки на поверхности загрузки, а при скорости менее 0,05 м/с происходило агрегатирование примесей на поверхности загрузки. Воздуходувкой обеспечивалось разрежение и прохождение через контактную камеру озоновоздушной смеси. На высоковольтный электрод подавались импульсы напряжения длительностью 0,5×10-6 с с крутизной фронта 109В/с от высоковольтного наносекундного генератора. При опытной эксплуатации в течение трех лет не произошло образования отложений на электродах, выхода из строя электродной системы и изменения концентрации озона в озоновоздушной смеси. Таким образом, предлагаемые способ и устройство для его реализации позволяют повысить надежность электродной системы, увеличить выход озона и время контакта озоновоздушной смеси с водой, повысить эффективность обработки воды.
Формула изобретения
1. Способ обработки воды, включающий обработку водогазовой смеси электрическими разрядами при длительности высоковольтных импульсов напряжения не более 0,5×10-6 с с крутизной фронта не менее 109 В/с, отличающийся тем, что обрабатываемая вода поступает в камеру, обеспечивающую пленочное течение воды со скоростью в пределах 0,5-0,05 м/с и контакт с встречным потоком озоновоздушной смеси, на выходе из контактной камеры вода распыляется в восходящем потоке озоносодержащего газа и поступает через узел отвода водогазовой смеси в камеру дореагирования, а подача воздуха осуществляется последовательно через теплообменник, электродную систему, узел создания водогазовой смеси и камеру контакта.
2. Реактор для обработки воды, содержащий корпус, узел создания водогазовой смеси, электродную систему с генератором высоковольтных импульсов, а также патрубки для подвода и вывода воды, отличающийся тем, что в верхней части корпуса размещена камера контакта озоновоздушной смеси с водой, обеспечивающая пленочное течение, под камерой контакта расположена электродная система, размещенная на внешней стенке корпуса вне зоны водогазовой смеси.
3. Реактор по п.2, отличающийся тем, что электродная система выполнена в виде трех соосных перфорированных цилиндров, причем внутренний цилиндр является корпусом реактора, внешний цилиндр является корпусом теплообменника, при этом внутренний и внешний цилиндры заземлены, а средний соединен с высоковольтным выводом генератора высоковольтных импульсов.
4. Реактор по п.3, отличающийся тем, что высоковольтный электрод выполнен в виде набора на стяжных шпильках фольговых шайб в чередовании с калибровочными вставками.
5. Реактор по п.3, отличающийся тем, что высоковольтный электрод выполнен в виде соединенных между собой по типу “беличьего колеса” трубок из твердого электроизоляционного материала с внутренним электропроводящим напылением.
6. Реактор по п.2, отличающийся тем, что камера контакта заполнена волокнистым или зернистым диэлектрическим материалом, обеспечивающим пленочное течение воды.
РИСУНКИ
|
|