|
|
(21), (22) Заявка: 2003136374/11, 17.12.2003
(24) Дата начала отсчета срока действия патента:
17.12.2003
(45) Опубликовано: 10.06.2005
(56) Список документов, цитированных в отчете о поиске:
SU 637071 A, 09.01.1979. RU 1507623 A1, 15.09.1989. US 4493266 А, 15.01.1985. US 6244191 В1, 12.06.2001.
Адрес для переписки:
140402, Московская обл., г. Коломна, ул. Октябрьской революции, 410, ФГУП ВНИКТИ
|
(72) Автор(ы):
Бондаренко Л.М. (RU), Коссов В.С. (RU), Пустовой В.Н. (RU), Сазонов И.В. (RU)
(73) Патентообладатель(и):
Федеральное государственное унитарное предприятие Всероссийский научно-исследовательский и конструкторско-технологический институт подвижного состава Министерства путей сообщения Российской Федерации (ФГУП ВНИКТИ МПС России) (RU)
|
(54) КУЗОВ ГРУЗОВОГО ПОЛУВАГОНА
(57) Реферат:
Изобретение относится к точному приборостроению, а именно к гироскопическим приборам.
Известен способ настройки и проверки гироскопов [1], при котором корпус гироскопа устанавливают в различные положения относительно сторон света и плоскости горизонта, измеряют составляющие скоростей прецессии, по результатам измерений определяют коэффициенты моделей погрешностей гироскопа.
Известен способ проверки трехстепенного гироскопа в вертикальном положении [2], при котором главная ось гироскопа (ось вращения ротора) расположена вертикально, а измерительные оси расположены в плоскости горизонта, включающий измерение параметра измерительными осями гироскопа, например измерение входной угловой скорости, обработку результатов измерений с целью определения систематической составляющей скорости дрейфа гироскопа, случайной составляющей скорости дрейфа гироскопа в запуске, изменения систематической составляющей скорости дрейфа от запуска к запуску и сравнение их с заданными значениями (эталоном).
Недостатком известных способов настройки и проверки гироскопов является недостаточная точность работы гироскопа.
Указанное связано с тем, что выбор рабочей оси задается разработчиком гироскопа или особенностями разрабатываемой на базе данного гироскопа конструкции и носит произвольный по отношению к точности рабочей оси характер.
В то же время практика работы с гироскопами, имеющими несколько измерительных осей, например две, в частности с динамически настраиваемыми гироскопами (ДНГ), показывает, что обычно одна из измерительных осей при одинаковых условиях работы, например расположение относительно сторон света и плоскости горизонта, обеспечивает лучшие точностные характеристики.
Изобретение направлено на повышение качества настройки гироскопа путем обеспечения выбора точной рабочей оси при одинаковых условиях работы его измерительных осей и как следствие повышение точности работы устройств на базе гироскопов.
Это достигается тем, что в известном способе настройки гироскопа в вертикальном положении, при котором главная ось гироскопа расположена вертикально, а измерительные оси расположены в плоскости горизонта, включающем измерение параметра измерительными осями гироскопа, после первого измерения параметра измерительными осями гироскопа фиксируют положение вертикальной плоскости, содержащей одну из измерительных осей, проводят разворот корпуса гироскопа в положение, при котором другая измерительная ось расположена в зафиксированной вертикальной плоскости, и проводят второй замер параметра измерительными осями гироскопа или проводят серию последовательных разворотов корпуса, при которых каждая из измерительных осей последовательно располагается в зафиксированной вертикальной плоскости, и в каждом положении проводят измерение параметра измерительными осями гироскопа, после чего сравнивают результаты измерений параметра во всех положениях с эталоном для данного положения или обрабатывают результаты измерений параметра для определения показателя точности его измерения разными измерительными осями в каждом положении, после чего сравнивают показатели точности измерения во всех положениях между собой и по результатам сравнения параметра с эталоном или показателей точности между собой измерительную ось, имеющую лучшие точностные показатели, фиксируют как точную рабочую ось, а последующее измерение параметра гироскопом проводят точной рабочей осью.
Возможность реализации предлагаемого способа поясняется таблицей, на которой представлены данные замеров случайной составляющей скорости дрейфа в запуске гироскопов в вертикальном положении.
Сущность предлагаемого способа рассмотрим на примере настройки трехстепенного гироскопа, например ДНГ.
В соответствии с моделью погрешностей ДНГ [3] его уходы определяются точностью и качеством изготовления ротора и его карданова подвеса.
При наличии геометрических погрешностей изготовления ротора и карданова подвеса, неравножесткости упругих торсионов карданова подвеса уходы гироскопа возникают в результате воздействия линейных и угловых вибраций и ускорений по его осям.
Причинами возникновения линейных и угловых вибраций могут быть геометрические погрешности шарикоподшипниковых опор вала карданова подвеса, осевой и радиальный дисбаланс ротора, воздействие линейных и угловых вибраций со стороны объекта, в составе которого эксплуатируется гироскоп.
В общем случае уходы ДНГ по его измерительным осям являются некоторой функцией факторов линейных ускорений ax, ay, az, линейных ax n , ay n , az n и угловых х n , у n , z n вибраций, осциллирующего момента mn , действующих по осям х, у, z гироскопа, на частотах, кратных частоте вращения ротора и их фазовых характеристик х n , y n , z n , х n , у n , z n , wn , причем коэффициентами пропорциональности указанных факторов являются факторы точности Ах, Ау, Az и качества Kx, Ky, Kz изготовления ротора и карданова подвеса гироскопа по осям х, у, z.
Часть указанных факторов при работе гироскопа на объекте может быть детерминированными функциями времени, например величины ускорения свободного падения g и осциллирующего момента mn , вибрации со стороны шарикоподшипниковых опор вала карданова подвеса, что приводит к формированию систематических уходов по осям гироскопа.
Часть факторов является случайными функциями от запуска к запуску, но детерминированными в запуске гироскопа, например фазовые характеристики х n , у n , z n , х n , у n , z n вибраций, что приводит к изменению систематических уходов гироскопа от запуска к запуску.
Случайными функциями времени могут быть факторы внешних линейных ускорений ax, ay, az, линейных ax n , ay n , az n и угловых х n , y n , z n вибраций на частотах, кратных частоте вращения ротора, и их фазовых характеристик х n , y n , z n , х n , у n , z n , действующих со стороны объекта, или их изменение из-за действия неучтенных факторов. Воздействие случайных факторов приводит к формированию случайных уходов гироскопа.
Ввиду того что изменение факторов точности Ax, Ay, Az и качества Кх, Ку, Kz изготовления ротора и карданова подвеса гироскопа в пределах технологических допусков носит случайный характер, их случайная комбинация может приводить к тому, что одна из осей гироскопа в одинаковых условиях их работы будет иметь лучшие характеристики либо по систематическому уходу, либо по изменению систематического ухода от запуска к запуску, либо по случайному уходу.
Для идентификации оси, имеющей лучшие точностные характеристики, в предлагаемом способе трехстепенной гироскоп устанавливается в семейство вертикальных положений, например (1,…4), характеризуемых тем, что главная ось, перпендикулярная измерительным, расположена вертикально, а измерительные оси расположены в плоскости горизонта. Для роторных гироскопов главная ось совпадает с осью вращения ротора. В указанных вертикальных положениях производится измерение параметра гироскопом, например входной угловой скорости ( 1,… 4), разными измерительными осями в одинаковых условиях их работы.
Одинаковые условия работы измерительных осей гироскопа при настройке обеспечиваются их фиксированным расположением относительно сторон света и плоскости горизонта, что достигается фиксацией положения вертикальной плоскости, содержащей одну из измерительных осей, и разворотами корпуса гироскопа в положения, в которых измерительные оси последовательно располагаются в зафиксированной вертикальной плоскости.
Одинаковые условия работы измерительных осей, в которых они одинаково ориентированы относительно сторон света, обеспечивают лучшую достоверность сравнения результатов измерений с эталоном или между собой и, следовательно, повышают качество предлагаемой настройки гироскопа.
Выбор точной рабочей оси гироскопа может производиться на основании сравнения как прямых, так и косвенных измерений параметра, например напрямую измеряемой гироскопом угловой скорости ( 1,… 4) с ее известным в заданном положении эталонным значением эт, либо путем обработки измерений ( 1,… 4) с определением показателей точности гироскопа, например систематических составляющих ухода ( сист1,… сист4), изменения систематических составляющих ухода от запуска к запуску ( сист1,… сист4), случайных составляющих ухода ( сл1,… сл4) и сравнения их между собой. Косвенным параметром для выбора точной оси может быть, например, угол курса, вырабатываемый с помощью гироскопа. Измерительную ось, для которой разница с эталоном или сист, или  сист, или сл, или ошибка в определении угла курса имеют наименьшее значение, выбирают в качестве рабочей, а дальнейшие измерения гироскопом проводят выбранной точной рабочей осью.
В качестве экспериментальной проверки предлагаемого способа использованы результаты замеров случайной составляющей скорости дрейфа динамически настраиваемых гироскопов ГВК-6 в вертикальном положении при приемосдаточных испытаниях, приведенные в таблице.
Из результатов замеров следует, что в подавляющем числе запусков одна из измерительных осей гироскопа ГВК-6 обладает лучшими точностными характеристиками, что позволяет выбрать ее в качестве точной рабочей оси. Использование для измерений в составе прибора точной рабочей оси позволяет повысить общую точность работы гироскопического устройства.
Реализация способа возможна как непосредственно при работе гироскопа в составе гироскопического прибора путем обеспечения в конструкции возможности разворотов гироскопа вокруг вертикальной оси, организации соответствующего алгоритма управления и обработки данных с гироскопа, так и на этапе изготовления гироскопического прибора при предварительной настройке и проверке гироскопа в составе технологической контрольно-проверочной аппаратуры путем паспортизации точной оси.
Необходимо отметить, что заявляемый способ может применяться не только к ДНГ, но и к другим типам гироскопических чувствительных элементов, например, твердотельным гироскопам, многоосным измерительным блокам на лазерных, волоконно-оптических гироскопах.
Библиографические данные
1. Ригли У., Холлистер У. М., Денхард У. Дж. Теория, проектирование и испытания гироскопов. Пер. с англ. под ред. канд. физ.-мат. наук С.А.Харламова. М.: Мир, 1972.
2. Гироскоп с внутренним карданом ГБ-6С. Технические условия ПИКВ.408111.008 ТУ, ОАО ПНППК, 1998.
3. Брозгуль Л.И. Динамически настраиваемые гироскопы: Модели погрешностей для систем навигации. – М.: Машиностроение, 1989. – 232 с.
| Значения случайной составляющей скорости дрейфа в запуске гироскопов ГВК-6 в вертикальном положении |
| Гироскоп (запуск) |
Случайная составляющая скорости дрейфа, град/час |
Точная ось в запуске |
| Измерительная ось |
| 1 |
2 |
| 1 |
+0.009 |
+0.007 |
2 |
| 2 |
+0.009 |
+0.006 |
2 |
| 3 |
-0.018 |
+0.003 |
2 |
| 4 |
-0.015 |
-0.022 |
1 |
| 5(1) |
+0.010 |
+0.002 |
2 |
| 5(2) |
+0.013 |
+0.008 |
2 |
| 6 |
-0.013 |
-0.003 |
2 |
| 7 |
+0.004 |
+0.002 |
2 |
| 8 |
+0.048 |
-0.050 |
1 |
| 9 |
+0.028 |
-0.005 |
2 |
| 10 |
-0.029 |
-0.001 |
2 |
| 11 |
-0.007 |
+0.007 |
1,2 |

Изобретение относится к железнодорожному транспорту, а именно к конструкции кузовов грузовых полувагонов, преимущественно для перевозки сыпучих грузов.
Известна конструкция цельнометаллического сварного кузова полувагона, включающая в себя раму, две вертикальные боковые и две вертикальные торцевые стены, 14 разгрузочных люков с горизонтально расположенными крышками (дверьми), образующими днище кузова. Рама полувагона имеет хребтовую, две шкворневых, две концевых и поперечные балки.
Вертикальные боковые стенки состоят из каркаса и обшивки. Составные части каркаса (верхняя и нижняя обвязка, угловые и промежуточные стойки) размещены на наружной стороне обшивки.
Крышки люков в закрытом положении фиксируются механизмами запирания, а в открытом – опираются на упоры, расположенные на поперечных балках [1].
Недостатком такого кузова является малая удельная грузоподъемность на единицу длины, невозможность полной механизации выгрузки грузов, повышенное аэродинамическое сопротивление движению железнодорожного состава, связанное с размещением составных частей каркаса боковых вертикальных стенок на наружной стороне обшивки.
Известна конструкция кузова вагона-хоппера, включающая раму, боковые стенки с вертикальными и наклонными участками, торцевые наклонные стенки, причем наклонные участки боковых стенок снизу соединены с разгрузочными люками, расположенными горизонтально. При открывании люка его крышка (дверь) поворачивается вниз и занимает вертикальное положение. Рама вагона образована хребтовой, горизонтальными боковыми балками, двумя торцевыми балками.
Недостатком такого кузова является высокая удельная масса вагона, неполное использование полезного объема, пониженная прочность рамы [2].
Известна конструкция кузова полувагона, принятого за прототип, содержащая раму, боковые вертикальные стенки, торцевые стенки, наклонные боковые разгрузочные люки, седлообразное (двускатное) днище. Рама вагона без хребтовой балки состоит из двух боковых, двух шкворневых, трех поперечных балок. Вертикальные боковые стенки и разгрузочные люки состоят из каркаса с внешней стороны и плоских листов обшивки.
Разгрузка вагона обеспечивается путем открытия наклонных боковых разгрузочных люков при помощи рычажного механизма с приводом управления, причем крышки люков в открытом положении являются продолжением двускатного пола [3].
Недостатком такой конструкции является наличие неиспользуемого объема, ограничиваемого наклонной дверью люка и вертикальной плоскостью, высокая удельная масса вагона на единицу грузоподъемности, невозможность дозированной выгрузки, повышенное аэродинамическое сопротивление движению железнодорожного состава, низкие динамические качества вагона, длительное время, необходимое для разгрузки, а также возможность травмирования обслуживающего персонала при открывании люков.
Техническим результатом изобретения является наиболее полное использование возможного полезного объема кузова вагона в заданных габаритах подвижного состава, повышение прочности и жесткости рамы кузова при снижении удельной массы вагона на единицу грузоподъемности, возможность дозированной выгрузки, ликвидация возможности травмирования обслуживающего персонала при открывании люков, снижение аэродинамического сопротивления движению железнодорожного состава, улучшение динамических качеств вагона за счет снижения центра тяжести, уменьшение времени, необходимого для разгрузки вагона.
Указанный технический результат достигается тем, что в кузове грузового полувагона, содержащем раму, состоящую из балок, двускатное днище, торцевые и боковые вертикальные стенки, боковые разгрузочные люки с приводами, при этом боковые вертикальные стенки и боковые разгрузочные люки образованы из плоских листов наружной обшивки и каркасов, боковые разгрузочные люки выполнены в нижней части боковых вертикальных стенок, двускатное днище наклонено к нижним торцам вертикально расположенных боковых разгрузочных люков, каркасы боковых стенок и боковых разгрузочных люков размещены на внутренней стороне плоских листов наружной обшивки, а рама образована из двускатного днища и балок и в поперечном сечении в местах установки поперечных горизонтальных и наклонных балок к хребтовой балке выполнена треугольной формы для повышения ее прочности и жесткости.
Кроме того, торцевые стенки у кузова могут быть выполнены под наклоном со скатом к середине полувагона.
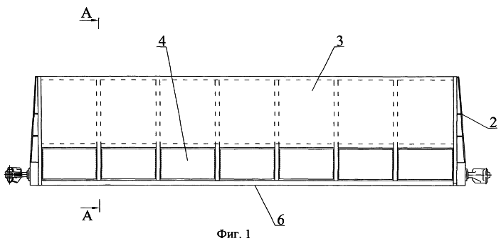
На фиг.1 изображен общий вид кузова грузового полувагона.
На фиг.2 представлено поперечное сечение кузова (по поперечным балкам) А-А фиг.1 с разгрузочными люками, открывающимися вверх.
На фиг.3 изображен вариант поперечного сечения кузова А-А фиг.1 с разгрузочными люками, открывающимися в боковом направлении, с механизмами запирания в нижней части люков.
На фиг.4 изображен вариант общего вида кузова с наклонными торцевыми стенками и максимальным использованием габарита межтележечного пространства вагона.
Цельнометаллический кузов полувагона (фиг.1, 2) включает в себя двускатное днище 1, торцевые стенки 2 и боковые вертикальные стенки 3 с боковыми разгрузочными люками 4, выполненными в нижней части этих стенок.
Днище 1 кузова полувагона имеет двускатную форму с наклоном к нижним торцам вертикально расположенных разгрузочных люков 4, выполненных в нижней части боковых вертикальных стенок. Днище 1 образует совместно с хребтовой балкой 5, продольными боковыми балками 6, поперечными горизонтальными 7 и наклонными балками 8 к хребтовой балке 5 силовую раму. Рама в поперечном сечении в местах установки поперечных горизонтальных 7 и наклонных 8 балок к хребтовой балке 5 выполнена треугольной формы для повышения ее прочности и жесткости.
Форма днища 1 с наклоном к нижним торцам вертикально расположенных разгрузочных люков и треугольная форма поперечного сечения рамы обеспечивают:
– выгрузку без образования застойных зон в кузове полувагона и без засорения рельсошпальной решетки;
– снижение массы рамы и днища при повышении их прочности и жесткости;
– увеличение используемого полезного объема кузова в имеющихся габаритах;
– снижение центра тяжести кузова;
– уменьшение времени, необходимого для разгрузки кузова. Боковые вертикальные стенки 3 и боковые разгрузочные люки 4 образованы из плоских листов 9 наружной обшивки и каркасов 10, при этом каркасы 10 специального профиля размещены на внутренней стороне обшивки, что обеспечивает максимальное использование поперечного габарита кузова для загрузки, снижение аэродинамического сопротивления движению железнодорожного состава и не препятствует выгрузке.
Разгрузочные люки открываются путем подъема в вертикальной плоскости с помощью приводов 11, при этом габаритные размеры кузова не изменяются.
Возможен вариант открытия люков в боковом направлении с механизмами запирания в нижней части люков, как это показано на фиг.3.
Для увеличения скорости выполнения операции разгрузки, увеличения полезного объема в межтележечном пространстве торцевые стенки 2 кузова могут быть выполнены под наклоном =25-35° со скатом к середине кузова, как это показано на фиг.4.
При этом тормозное и разгрузочное оборудование полувагона (на чертеже не показано) может располагаться под наклонной торцевой стенкой 2, что упрощает его техническое обслуживание и повышает надежность работы, особенно в зимнее время.
При выполнении кузова по этому варианту центр тяжести кузова и уровень днища 1 снижены по сравнению с кузовом, имеющим вертикальные торцевые стенки 2 (фиг.1).
Работает кузов следующим образом.
Статические и динамические нагрузки, действующие на кузов от перевозимого груза и при движении по железнодорожному пути, воспринимаются рамой, образованной двускатным днищем 1 и балками 5, 6, 7 и 8. За счет треугольной формы поперечного сечения рамы в местах установки поперечных горизонтальных 7 и наклонных 8 балок к хребтовой балке 5 увеличивается прочность и жесткость кузова. Форма днища 1 с наклоном к нижним торцам разгрузочных люков 4 позволяет обеспечить дополнительный объем для перевозимого груза и гравитационную выгрузку без образования застойных зон.
За счет снижения положения центра тяжести кузова улучшаются динамические качества полувагона.
Форма боковых вертикальных стенок 3 и боковых разгрузочных люков 4 с размещением гладких плоских листов 9 обшивки снаружи каркаса 10 обеспечивает снижение аэродинамического сопротивления движению железнодорожного состава и увеличивает используемый для загрузки поперечный габарит кузова.
Разгрузка кузова полувагона обеспечивается за счет вертикального перемещения боковых люков 4 либо части боковых люков.
Возможен вариант открытия люков 4 в боковом направлении за счет поворота относительно оси, расположенной в верхней части люков (фиг.3).
При этом обеспечивается:
– более безопасная выгрузка за счет постепенного открывания люков;
– возможность дозированной выгрузки.
При работе кузова полувагона с торцевыми стенками 2, выполненными под наклоном (фиг.4), сокращается количество разгрузочных люков 4, обеспечивается более компактная выгрузка грузов, снижаются затраты энергии на привод открытия разгрузочных люков 4, уменьшается высота падения грузов за счет снижения уровня днища 1 и люков 4.
Рама с днищем 1 кузова работает аналогично кузову с вертикальными торцевыми стенками 2.
Предлагаемая конструкция кузова полувагона позволяет полностью использовать возможный полезный объем для загрузки в заданных габаритах, повысить прочность и жесткость кузова, снизить удельную массу на единицу грузоподъемности, уменьшить аэродинамическое сопротивление движению железнодорожного состава, улучшить динамические качества полувагона за счет снижения центра тяжести, уменьшить время, необходимое для разгрузки полувагона. Обеспечивается полная разгрузка кузова без образования застойных зон, возможность дозированной выгрузки, более безопасная выгрузка за счет постепенного открывания люков.
Источники информации
1. Вагоны СССР. Отраслевой каталог 20-89-04. Москва, ЦНИИТЭИтяжмаш, 1989 г., стр.48.
2. US, патент №6244191 ВА по классу B 61 D 39/00, 2001 г.
3. Вагоны СССР. Отраслевой каталог 20-89-04. Москва, ЦНИИТЭИтяжмаш, 1989 г., стр.50.
Формула изобретения
1. Кузов грузового полувагона, содержащий раму, состоящую из балок, двускатное днище, торцевые и боковые вертикальные стенки, боковые разгрузочные люки с приводами, при этом боковые вертикальные стенки и боковые разгрузочные люки образованы из плоских листов наружной обшивки и каркасов, отличающийся тем, что боковые разгрузочные люки выполнены в нижней части боковых вертикальных стенок, двускатное днище наклонено к нижним торцам вертикально расположенных боковых разгрузочных люков, каркасы боковых стенок и боковых разгрузочных люков размещены на внутренней стороне плоских листов наружной обшивки для наиболее полного использования возможного полезного объема кузова в заданных габаритах, уменьшения времени, необходимого для разгрузки, снижения центра тяжести вагона, снижения аэродинамического сопротивления движению, а рама образована из двускатного днища и балок и в поперечном сечении в местах установки поперечных горизонтальных и наклонных балок к хребтовой балке выполнена треугольной формы для повышения ее прочности и жесткости.
2. Кузов по п.1, отличающийся тем, что торцевые стенки выполнены под наклоном со скатом к середине полувагона.
РИСУНКИ
PC4A – Регистрация договора об уступке патента Российской Федерации на изобретение
(73) Патентообладатель(и):
Федеральное государственное унитарное предприятие Всероссийский научно-исследовательский и конструкторско-технологический институт подвижного состава Министерства путей сообщения Российской Федерации
(73) Патентообладатель:
Открытое акционерное общество “Научно-исследовательский и конструкторско-технологический институт подвижного состава”
Дата и номер государственной регистрации перехода исключительного права: 10.10.2008 № РД0041905
Извещение опубликовано: 20.11.2008 БИ: 32/2008
|
|