|
(21), (22) Заявка: 2001128816/02, 25.10.2001
(24) Дата начала отсчета срока действия патента:
25.10.2001
(43) Дата публикации заявки: 20.07.2003
(45) Опубликовано: 10.06.2005
(15) Информация о коррекции:
Версия коррекции № 1 (
Изобретение относится к области металлообработки резанием и может быть использовано в подшипниковой промышленности при обработке наружных колец четырехконтактных шариковых подшипников и наружных колец перекрестных роликоподшипников, а в общем машиностроении при обработке лабиринтовых уплотнений с внутренним перевернутым V-образным, а также с прямыми внутренними М-образными выточками.
Известны кулачки к зажимным патронам, в которых выполнены кольцевые выточки по оси симметрии, разделяющие его на два элемента для размещения или секторов трапецеидального или круглого сечения или размещения на каждом из них выступов для деформирования элементов кулачка в направлении оси внутренней цилиндрической выточки кольца, осуществляющих базирование и крепление колец (см. например а.с. 400423, В23в 31/16 и а.с. 536892, В23в 31/10).
Известен также кулачок к зажимным патронам по а.с. 700290, В23в 31/10, 1979, разделенный по его оси симметрии кольцевой проточкой на два элемента, ось симметрии которых совпадает с осью выточки, а наружная поверхность каждого из упомянутых элементов, предназначенных для взаимодействия с образующей внутренней цилиндрической выточки, выполнена с профилем половины укороченной циклоиды.
Указанное техническое решение принято автором за прототип.
Недостатком указанных зажимных кулачков является невозможность их прямого использования для одновременного базирования и крепления деталей класса колец по внутренним выточкам, имеющим в радиальном сечении вдоль оси кольца профили или в виде перевернутой V-образной или прямой М-образной выточкам.
Техническим результатом изобретения являются – обеспечение одновременного базирования и крепления колец по внутренним выточкам, обеспечение обработки наружной цилиндрической поверхности и обоих торцов колец в одной позиции, повышение точности обработки и взаимного расположения обрабатываемых поверхностей; при этом геометрия резцов, их установка и одновременная обработка двух торцов колец производится в соответствии с а.с. №1353581.
Эти задачи изобретения достигаются тем, что для:
– колец с V-образной перевернутой внутренней выточкой кулачок зажимного патрона, разделенный кольцевой проточкой на два элемента по его оси симметрии, ось симметрии которых совпадает с осью выточки, имеют наружную поверхность, выполненную в форме тороида вращения, с профилем овоида, ось симметрии которого совпадает с осями кольцевой проточки кулачка и выточки кольца;
– обрабатываемых колец, имеющих внутренний V-образный перевернутый профиль с углом между образующими, равным 90°, радиальное сечение тороида вращения имеет профиль тупого овоида;
– обрабатываемых колец и уплотнений с V-образным перевернутым профилем с углом между образующими, меньшим 90°, радиальное сечение тороида вращения имеет профиль овоида удлиненной формы;
– повышения надежности, точности базирования и крепления колец и уплотнений с перевернутым V-образным профилем, сохранения упругих свойств элементов кулачка, предохранения их от усталостной усадки и засорения кольцевой проточки стружкой, кулачок снабжен упругой фасонной вставкой, запрессованной в сквозное цилиндрическое отверстие, расположенное перпендикулярно его боковым поверхностям, и кольцевую проточку, выполненную из химически инертной маслостойкой буферной резины;
– лабиринтовых уплотнений с M-образной прямой внутренней выточкой у кулачка зажимного патрона, разделенного по его оси симметрии кольцевой проточкой на два элемента, ось симметрии которых совпадает с осью выточки, наружные поверхности элементов, взаимодействующих с профилем;
М-образной выточки выполнены в форме тороида вращения и образованы профилем двух циклоид, каждая из которых является зеркальным изображением другой относительно оси выточки, проходящей через вершину угла, образованного клинообразными образующими с общей точкой образования профиля на ее оси; при этом за базу циклоиды принимается длина клинообразной образующей, а диаметр производящей окружности d каждой из циклоид связан с элементами прямой М-образной выточки зависимостями:
при Dк=Dб
при Dк>Dб, где
Dв – диаметр основания выточки, составленный клинообразными образующими;
Dб – диаметр бортов, ограничивающих выточку;
Dк – диаметр вершины выточки, составленный клинообразными образующими;
В – ширина основания выточки;
– половина угла, составленного клинообразными образующими выточки.
Кулачки могут применяться в разных конструкциях зажимных патронов; например, в патронах, в которых кулачки раздвигаются конусом, а также самоцентрирующих патронах с креплением кулачков к ползунам улитки болтами.
Предлагаемое изобретение поясняется чертежами (для варианта патрона с раздвижным конусом), где:
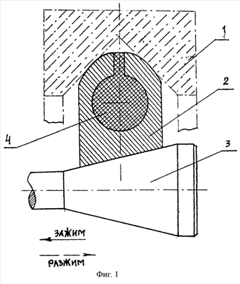
на фиг.1 дан общий вид кулачка в разрезе по оси для базирования и крепления колец и уплотнений по внутренней перевернутой V-образной выточке;
на фиг.2 дан общий вид кулачка в разрезе по оси для базирования и крепления уплотнений по прямой внутренней М-образной выточке;
на фиг.3 и 4 схемы построения профилей для кулачков соответственно с V-образной перевернутой внутренней выточкой и прямой М-образной;
на фиг.5-1 и 5-2 приведены расчетные зависимости для проектирования кулачков с прямой М-образной внутренней выточкой.
Вариант 1: фиг.5-1 при Дб=Дк, из прямоугольного треугольника abc:
откуда 
HO ab=В/2; База производящей окружности
ac= d, где: d – диаметр производящей окружности;
тогда или

Вариант 2: фиг.5-2 при Дк>Дб; из прямоугольного треугольника АВС:
но

тогда а 
Кулачки работают следующим образом.
Деталь 1 (фиг.1 и 2) внутренними перевернутой V-образной или прямой М-образной выточками ориентируются на кулачок 2; четыре кулачка 2, изготовленных из пружинной стали в одном комплекте, размещаются в гнездах прямоугольного сечения корпуса патрона и прижимаются к конической поверхности штока 3, перемещаемого вдоль оси, четырьмя рессорными пружинами (условно не показаны); перемещение штока 3 осуществляется от пневматического или гидравлического привода.
При перемещении штока 3 влево кулачок 2, преодолевая сопротивление рессорных пружин, своими криволинейными боковыми или внутренними поверхностями взаимодействуют с образующими перевернутой V-образной выточки кольца 1 (уплотнения 1) или клинообразными образующими М-образной выточки уплотнения, возникающие при этом реактивные силы деформируют (в первом случав сжимают, а во втором разжимают) элементы кулачка 2 в осевом направлении, обеспечивая при этом одновременное точное базирование и крепление детали.
Разжим деталей осуществляется в обратной последовательности: при разжиме кольца 1 (фиг. 1) упругая фасонная вставка 4, запрессованная в сквозное цилиндрическое отверстие и кольцевую выточку, возвращает губки кулачка 2 в исходное положение.
ПРИМЕР
КОНКРЕТНОГО ИСПОЛНЕНИЯ
Разработаны конкретные чертежи кулачков с креплением колец по перевернутой V-образной и прямой М-образной выточкам: изготовлен и испытан в лабораторных условиях OА СПЗ-9 экспериментальный патрон для крепления и обработки колец с V-образной перевернутой выточкой.
Применение кулачков к зажимным патронам для одновременного базирования и крепления деталей класса колец по внутренним выточкам с перевернутой V-образной и прямой М-образной профилями поперечного сечения позволит:
– обеспечить обработку в одной позиции наружной цилиндрической поверхности и двух торцов;
– повысить точность обработки и взаимного расположения указанных выше поверхностей в 5-6 раз;
Формула изобретения
1. Кулачок зажимного патрона, разделенный по его оси симметрии кольцевой проточкой на два элемента, ось симметрии которых совпадает с осью выточки, отличающийся тем, что наружная поверхность упомянутых элементов, предназначенных для взаимодействия с образующими внутренней выточки, имеющей V-образный перевернутый профиль, выполнена в форме тороида вращения, радиальное сечение которого имеет профиль овоида с осью симметрии, совпадающей с осями кольцевой проточки кулачка и выточки.
2. Кулачок по п.1, отличающийся тем, что для обрабатываемых колец, имеющих внутренний V-образный перевернутый профиль с углом между образующими 90°, радиальное сечение тороида вращения имеет профиль тупого овоида.
3. Кулачок по п.1, отличающийся тем, что для обработки уплотнений с V-образным перевернутым профилем с углом между образующими, меньшим 90°, радиальное сечение тороида вращения имеет профиль овоида удлиненной формы.
4. Кулачок по любому из пп.1-3, отличающийся тем, что он снабжен упругой фасонной вставкой, запрессованной в сквозное цилиндрическое отверстие, расположенное перпендикулярно его боковым поверхностям, и кольцевую проточку и выполненную из химически инертной маслостойкой буферной резины.
5. Кулачок зажимного патрона, разделенный по его оси симметрии кольцевой проточкой на два элемента, ось симметрии которых совпадает с осью выточки, отличающийся тем, что наружная поверхность упомянутых элементов кулачка, предназначенных для взаимодействия с профилем прямой М-образной выточки, выполнена в форме тороида вращения, радиальные сечения упомянутых элементов образованы профилем двух циклоид, каждая из которых является зеркальным отображением другой относительно оси выточки, проходящей через вершину угла, образованного клинообразными образующими прямой М-образной выточки, с общей точкой образования профиля на ее оси, при этом диаметр производящей окружности d каждой из циклоид связан с элементами М-образной прямой выточки зависимостями
при Дк=Дб и
при Дк>Дб,
где Дв – диаметр основания выточки, составленной клинообразными образующими;
Дб – диаметр бортов, ограничивающих выточку;
Дк – диаметр вершин выточки, составленный клинообразными образующими;
В – ширина выточки;
– половина угла, составленного клинообразными образующими выточки.
РИСУНКИ
TH4A – Переиздание описаний изобретений к патентам Российской Федерации
Причина переиздания: Коррекция текста описания изобретения
Извещение опубликовано: 20.09.2005 БИ: 26/2005
MM4A Досрочное прекращение действия патента Российской Федерации на изобретение из-за неуплаты в установленный срок пошлины за поддержание патента в силе
Дата прекращения действия патента: 26.10.2005
Извещение опубликовано: 27.01.2007 БИ: 03/2007
|