|
|
(21), (22) Заявка: 2003124189/02, 01.08.2003
(24) Дата начала отсчета срока действия патента:
01.08.2003
(43) Дата публикации заявки: 27.02.2005
(45) Опубликовано: 10.06.2005
(56) Список документов, цитированных в отчете о поиске:
“Резцовые головки для тоцеподрезных центровальных станков”, Каталог, ред. Гусельников Г.Г., филиал ЦНИИТЭИавтопрома, г.Тольятти, 1989, с.19. SU 776768 A, 21.11.1980. SU 1038087 A, 30.08.1989. RU 2104827 C1, 20.02.1998. US 3189976 A, 22.06.1965.
Адрес для переписки:
445633, Самарская обл., г. Тольятти, Южное ш., 36, ОАО “АВТОВАЗ”, ДИТО, ОИР, ПТУ, С.Н. Буренкову
|
(72) Автор(ы):
Горбунов А.А. (RU), Рутенберг Б.А. (RU)
(73) Патентообладатель(и):
Открытое акционерное общество “АВТОВАЗ” (RU)
|
(54) ГОЛОВКА ЦЕНТРОВАЛЬНО-ПОДРЕЗНАЯ
(57) Реферат:
Изобретение относится к области обработки металлов резанием, устройствам для сверления и расточки. Головка содержит корпус, имеющий базовый торец для установки в шпинделе станка, центровочное сверло и одну или несколько резцовых вставок с неперетачиваемыми режущими пластинами, установленных в гнездах корпуса. Для повышения точности осевого базирования режущих пластин она снабжена механизмами настройки величины выступания режущей пластины от базового торца, каждый из которых связан с одной резцовой вставкой и выполнен в виде клина, установленного в поперечном отверстии корпуса с возможностью взаимодействия одной из боковых поверхностей с торцом резцовой вставки, и регулировочного винта с кольцевым буртиком, размещенного в дополнительном гнезде корпуса с возможностью подвижного резьбового соединения с ним. При этом кольцевой буртик винта сопряжен с пазом, выполненным на клине, а ширина последнего изменяется в плоскости, параллельной оси центровочного сверла. 3 ил.

Изобретение относится к устройствам для сверления и расточки, а именно к центровально-подрезным головкам со сменными режущими пластинами, установленными в гнездах корпуса головки на съемных вставках без автоматической подналадки в процессе работы.
Известны центровально-подрезные головки, содержащие корпус, имеющий базовый торец для установки в шпинделе станка, центровочное сверло и одну или несколько резцовых вставок с неперетачиваемыми режущими пластинами, установленных в гнездах корпуса (Резцовые головка для торцеподрезных центровальных станков: Каталог /Научн. редактор Г.Г.Гусельников: филиал ЦНИИТЭИавтопрома. – г. Тольятти, 1989 г.). Наиболее близкой к заявляемому техническому решению является головка центровально-подрезная с одной резцовой вставкой, описанная на стр. 19 этого каталога. Эта головка принята за прототип.
Недостатком этой головки является ограничение точности осевого базирования режущих неперетачиваемых пластин относительно базового торца головки, которая зависит от допуска на изготовление этих пластин, который обычно не превышает 0,1 мм.
Техническое решение направлено на повышение точности осевого базирования режущих неперетачиваемых пластин относительно базового торца головки путем обеспечения его плавного регулирования вне станка.
Для решения поставленной задачи головка центровально-подрезная, содержащая корпус, имеющий базовый торец для установки в шпинделе станка, центровочное сверло и одну или несколько резцовых вставок с неперетачиваемыми режущими пластинами, установленных в гнездах корпуса, согласно изобретению снабжена механизмами настройки величины выступания режущих пластин от базового торца, каждый из которых связан с одной резцовой вставкой и выполнен в виде клина, установленного в поперечном отверстии корпуса с возможностью взаимодействия одной из боковых поверхностей с торцем резцовой вставки, и регулировочного винта с кольцевым буртиком, размещенного в дополнительном гнезде корпуса с возможностью подвижного резьбового соединения с ним, при этом кольцевой буртик винта сопряжен с пазом, выполненным на клине, а ширина последнего изменяется в плоскости, параллельной оси центровочного сверла.
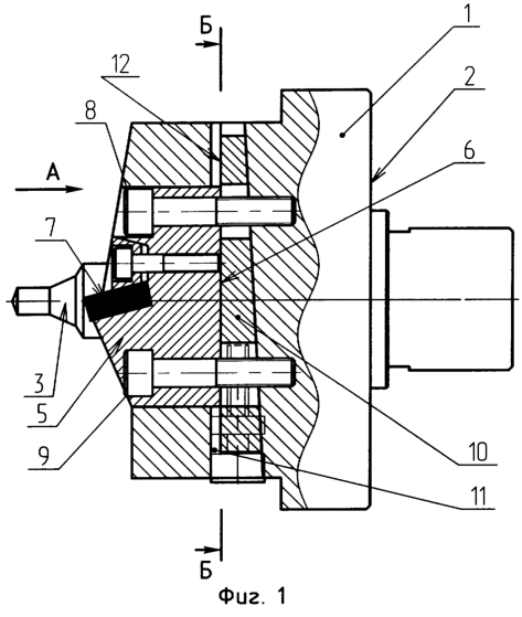
На фиг.1 изображена резцовая головка (разрез по оси резцовой вставки),
На фиг.2 – вид А на фиг.1,
На фиг.3 – сечение Б-Б по фиг.1.
Головка центровально-подрезная содержит корпус 1, снабженный базовым торцом 2 для установки в шпинделе (на чертежах не показан) станка, центровочное сверло 3. В корпусе 1 головки выполнены одно или несколько овальных гнезд 4, в которых установлены съемные резцовые вставки 5 с базовыми плоскостями 6 и с неперетачиваемыми режущими пластинами 7, прикрепляемые к корпусу 1 винтами 8 и 9. Каждая резцовая вставка 5 снабжена механизмом настройки величины выступания режущей пластины 7 относительно базового торца 2, выполненным в виде клина 10, установленного в поперечном отверстии 11 в корпусе 1, с возможностью взаимодействия одной из боковых поверхностей 12 с базовой плоскостью 6 резцовой вставки 5 и регулировочного винта 13 с кольцевым буртиком 14, размещенного в дополнительном гнезде 15 корпуса 1 с возможностью подвижного резьбового соединения 16 с корпусом 1. Кольцевой буртик 14 регулировочного винта 13 сопрягается с пазом 17, выполненным на любой из боковых поверхности 18 клина 10. На клине 10 выполнены сквозные овальные отверстия 19 и 20 для обеспечения прохождения через них винтов 8 и 9. Клин 10 установлен таким образом, что его ширина изменяется в плоскости, параллельнной оси центровочного сверла 3.
Работа устройства.
Резцовая вставка 5 устанавливается в гнезде 4 корпуса 1 головки 2 и закрепляется винтами 8 и 9, после чего с помощью универсальных средств измеряется фактическое выступание режущей пластины 7 относительно базового торца 2 корпуса 1 головки. Если требуется настройка величины выступания, осуществляется его регулировка путем итерационного ослабления винтов 8 и 9, настроечного поворота винта 13, при этом при его заворачивании внутрь корпуса выступание увеличивается, а при выворачивании – уменьшается, затем винтами 8 и 9 резцовая вставка 5 зажимается, после чего осуществляется очередное измерение фактического выступания режущей пластины 7 относительно базового торца 2 корпуса 1 головки.
Формула изобретения
Головка центровально-подрезная, содержащая корпус, имеющий базовый торец для установки в шпинделе станка, центровочное сверло и одну или несколько резцовых вставок с неперетачиваемыми режущими пластинами, установленных в гнездах корпуса, отличающаяся тем, что она снабжена механизмами настройки величины выступания режущей пластины от базового торца, каждый из которых связан с одной резцовой вставкой и выполнен в виде клина, установленного в поперечном отверстии корпуса с возможностью взаимодействия одной из боковых поверхностей с торцом резцовой вставки, и регулировочного винта с кольцевым буртиком, размещенного в дополнительном гнезде корпуса с возможностью подвижного резьбового соединения с ним, при этом кольцевой буртик винта сопряжен с пазом, выполненным на клине, а ширина последнего изменяется в плоскости, параллельной оси центровочного сверла.
РИСУНКИ
MM4A – Досрочное прекращение действия патента СССР или патента Российской Федерации на изобретение из-за неуплаты в установленный срок пошлины за поддержание патента в силе
Дата прекращения действия патента: 02.08.2006
Извещение опубликовано: 27.06.2007 БИ: 18/2007
NF4A Восстановление действия патента СССР или патента Российской Федерации на изобретение
Дата, с которой действие патента восстановлено: 27.06.2007
Извещение опубликовано: 27.06.2007 БИ: 18/2007
|
|