|
|
(21), (22) Заявка: 2004103283/02, 06.02.2004
(24) Дата начала отсчета срока действия патента:
06.02.2004
(45) Опубликовано: 10.06.2005
(56) Список документов, цитированных в отчете о поиске:
RU 2069473 С1, 20.11.1996. SU 1797514 A3, 23.02.1993. SU 1811430 A3, 23.04.1993. RU 2055674 С1,10.03.1996. DE 10003791 А1, 09.08.2001. US 4294101 A, 13.10.1981.
Адрес для переписки:
121352, Москва, Славянский б-р, 5, корп.1, кв.132, С.Т. Басюку
|
(72) Автор(ы):
Басюк С.Т. (RU), Гринберг И.В. (RU), Мягких Е.С. (RU)
(73) Патентообладатель(и):
Басюк Семар Тимофеевич (RU), Гринберг Ирина Владимировна (RU), Мягких Елена Семаровна (RU)
|
(54) СПОСОБ ИЗГОТОВЛЕНИЯ ИЗДЕЛИЙ ТИПА КОЛЕС
(57) Реферат:
Изобретение относится к обработке металлов давлением и может быть использовано в кузнечных цехах металлургических и машиностроительных заводов при изготовлении автомобильных колес и подобных им изделий. После подготовки исходной заготовки производят формообразование промежуточного полуфабриката в виде чаши с фланцем на торце стенки и кольцевым выступом на внешнем торце дна. При этом фланец на стенке образуют путем увеличения ее толщины у торца при постоянных диаметральных размерах с внутренней стороны. Затем производят окончательное формирование заготовки с образованием двух реборд. Одну реборду получают путем деформирования фланца на стенке чаши, что производят раздачей стенки изнутри, по крайней мере, в зоне ее торца. Другую реборду образуют раздачей на конус кольцевого выступа. Раздачу ведут с углом конусности внутренней поверхности выступа в торцевой зоне большим, чем угол конусности в зоне, прилегающей ко дну чаши. Геометрические параметры полуфабриката и окончательной заготовки определяют из приведенных соотношений. Затем производят термическую и механическую обработки полученных изделий. В результате обеспечивается значительное уменьшение стоимости изготовления колес малыми партиями. 2 ил.

Предлагаемое изобретение относится к области обработки металлов давлением и может быть использовано в кузнечных цехах металлургических и машиностроительных заводов при изготовлении автомобильных колес и им подобных изделий.
Известен способ изготовления изделий типа колес, включающий подготовку исходной заготовки, формообразование промежуточного полуфабриката в виде чаши, образование кольцевого выступа и отростка на дне чаши, формовку на чаше реборды и дисковой части с рельефом, формирование обода и другой реборды из кольцевого выступа, а также термическую и механическую обработки (Патент РФ №2063838, кл. В 21 К 1/28, публ. 1996 г.).
Недостатком этого способа является сложность штамповой оснастки, а также низкая производительность из-за необходимости выполнения большого числа технологических переходов обработки давлением.
Известен способ изготовления изделий типа колес, включающий подготовку исходной заготовки, формообразование промежуточного полуфабриката в виде чаши с фланцем на торце стенки и кольцевым выступом на внешнем торце дна, окончательное формирование заготовки с образованием одной реборды путем деформирования фланца на стенке чаши и другой реборды – раздачей на конус кольцевого выступа, термическую и механическую обработки (Патент РФ №2069473, кл. В 21 К 1/28, публ. 1996 г.).
Недостатком известного способа являет высокая стоимость производства при изготовлении малых партий колес, что особенно существенно для спорта высших достижений (автомобили “Формулы-1” и им подобные).
Предлагаемый способ изготовления изделий типа колес включает подготовку исходной заготовки, формообразование промежуточного полуфабриката в виде чаши с фланцем на торце стенки и кольцевым выступом на внешнем торце дна. Затем окончательно формируют заготовку с образованием одной реборды путем деформирования фланца на стенке чаши и другой реборды – раздачей на конус кольцевого выступа. После чего ведут термическую и механическую обработки.
Предлагаемый способ отличается от прототипа тем, что при формообразовании промежуточного полуфабриката фланец на стенке образуют путем увеличения ее толщины у торца при постоянных диаметральных размерах с внутренней стороны. При окончательном формировании заготовки реборду на стенке образуют раздачей последней изнутри, по крайней мере, в зоне ее торца, а при формировании реборды из кольцевого выступа раздачу ведут с углом конусности внутренней поверхности последнего в торцевой зоне большим, чем угол конусности в зоне, прилегающей ко дну чаши. Геометрические параметры полуфабриката и окончательно сформированной заготовки связаны соотношениями:

7°  50°;
78°  89°;
где:
D1 и D2 – внутренний диаметр чаши в зоне торца стенки соответственно у полуфабриката и окончательно сформированной заготовки;
и – углы конусности внутренней поверхности кольцевого выступа окончательно сформированной заготовки соответственно в зонах: примыкающей ко дну чаши и торцевой.
Технический результат предлагаемого изобретения: получение универсальных заготовок для широкой гаммы форм и размеров автомобильных колес. Это позволяет значительно уменьшить стоимость изготовления колес малыми партиями.
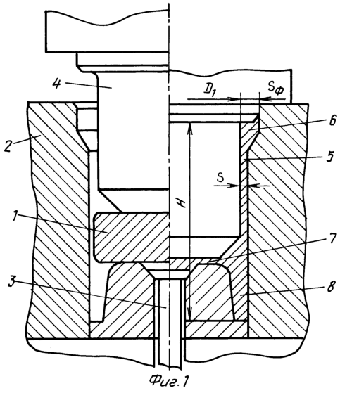
Предлагаемое изобретение поясняется чертежами, где показаны:
на фиг.1 – формообразование промежуточного полуфабриката;
на фиг.2 – окончательное формирование заготовки.
Пример
Изготавливалось спортивное колесо размером 13″×19″ из сплава системы магний-литий. Исходная заготовка 1 размерами 500 мм × 110 мм, массой 40 кг нагревалась и укладывалась в полость штампа 2 с выталкивателем 3 и пуансоном 4. Прикладывалось деформирующее усилие и образовывали промежуточный полуфабрикат в виде чаши высотой H=400 мм, внутренним диаметром D1=465 мм. Воздействием осевого усилия на открытый торец стенки 5 чаши формируется фланец 6 толщиной S=25 мм, сохраняя диаметр D1 постоянным. При этом на внешнем торце дна 7 образовывали кольцевой выступ 8.
При окончательном формировании заготовки реборду 9 на стенке образуют раздачей последней изнутри в зоне ее торца до диаметра D2=476 мм, что позволило получить диаметр наружной реборды D2+2S 526 мм. При соприкосновении торцом 10 утолщенной части пуансона 11 и частью 12 последнего соответственно с ребордой 9 и утолщением 13 при переходе стенки 5 в дно 7 продолжили формирование заготовки. Последнюю перемещали вдоль оси, деформируя кольцевой выступ 8 раздачей на конус с углами конусности внутренней поверхности: в зоне, примыкающей ко дну, =34°, а в торцевой зоне =85°; до упора 14 с углом конусности =30°. При этом металл смещается в радиальном направлении, образуя утолщенную реборду 15 с наружным диаметром D4=528 мм. После чего вели термическую и механическую обработки.
Таким образом, предлагаемый способ позволяет за счет увеличения ширины реборд на окончательно сформированных заготовках обеспечить групповую механическую обработку малых партий колес. Это существенно снижает стоимость их изготовления.
Формула изобретения
Способ изготовления изделий типа колес, включающий подготовку исходной заготовки, формообразование промежуточного полуфабриката в виде чаши с фланцем на торце стенки и кольцевым выступом на внешнем торце дна, окончательное формирование заготовки с образованием одной реборды путем деформирования фланца на стенке чаши и другой реборды – раздачей на конус кольцевого выступа, термическую и механическую обработки, отличающийся тем, что при формообразовании промежуточного полуфабриката фланец на стенке образуют путем увеличения ее толщины у торца при постоянных диаметральных размерах с внутренней стороны, при окончательном формировании заготовки реборду на стенке образуют раздачей последней изнутри, по крайней мере, в зоне ее торца, а при формировании реборды из кольцевого выступа раздачу ведут с углом конусности внутренней поверхности последнего в торцевой зоне большим, чем угол конусности в зоне, прилегающей ко дну чаши, при этом геометрические параметры полуфабриката и окончательной заготовки связаны соотношениями

7°  50°;
78°  89°,
где D1 и D2 – внутренний диаметр чаши в зоне торца стенки соответственно у полуфабриката и окончательно сформированной заготовки;
и – углы конусности внутренней поверхности кольцевого выступа окончательно сформированной заготовки соответственно в зонах: примыкающей ко дну чаши и торцевой.
РИСУНКИ
MM4A – Досрочное прекращение действия патента СССР или патента Российской Федерации на изобретение из-за неуплаты в установленный срок пошлины за поддержание патента в силе
Дата прекращения действия патента: 07.02.2009
Извещение опубликовано: 20.05.2010 БИ: 14/2010
|
|