|
(21), (22) Заявка: 2003132500/02, 05.11.2003
(24) Дата начала отсчета срока действия патента:
05.11.2003
(45) Опубликовано: 10.06.2005
(56) Список документов, цитированных в отчете о поиске:
SU 889262 А, 17.12.1981. SU 194254 A, 16.05.1967. SU 1006031 A, 23.03.1981. GB 2305627 A, 16.04.1997.
Адрес для переписки:
664020, г.Иркутск, ул. Гравийная, 22, ОАО “Иркутский НИАТ”
|
(72) Автор(ы):
Хамаганов А.М. (RU)
(73) Патентообладатель(и):
Открытое Акционерное Общество “Иркутский научно-исследовательский институт авиационной технологии и организации производства” (ОАО “Иркутский НИАТ”) (RU)
|
(54) УСТРОЙСТВО ДЛЯ ПРЕССОВОЙ КЛЕПКИ КЛИНОВИДНЫХ ПАКЕТОВ
(57) Реферат:
Изобретение относится к области машиностроения и может быть использовано при выполнении клепальных работ при стапельной сборке агрегатов. На одной из губок клещей установлена размещенная в сферическом шарнире поддержка. На другой губке клещей неподвижно смонтирована прижимная шайба, выполненная с вырезом для размещения в нем в процессе клепки обжимки, которая шарнирно установлена на упомянутой другой губке с возможностью углового перемещения. Обжимка и поддержка могут быть выполнены со сферическими углублениями для шариковых наконечников упора и подвижной части плунжера скобы ручного переносного пресса. Ручки клещей в частном случае выполнения имеют изогнутую форму и поверхность для опоры на деталь стапеля и обеспечивают фиксацию предварительного сжатия склепываемого пакета. В результате обеспечивается повышение качества клепки и производительности труда. 2 з.п. ф-лы, 2 ил.

Изобретение относится к клепальным работам и предназначено для клепки клиновидных пакетов. Устройства, разработанные на основе изобретения, могут быть использованы в авиа- и ракетостроении для выполнения клепальных работ при стапельной сборке агрегатов.
При прессовой клепке клиновидных пакетов применяют специальные обжимки, имеющие скосы рабочих плоскостей, соответствующие углу клиновидности пакета (ПИ – 249-78 “Клепка металлических конструкций заклепками”. – М.: НИАТ, 1979), однако этот способ применим для клепки клиновидных пакетов с углом клиновидности до 6° (практически угол клиновидности изделий может достигать 30°).
Известен способ клепки клиновидных пакетов с образованием замыкающей головки прессованием с раскаткой, заключающийся в том, что пуансон совершает конусообразные колебания вокруг оси, перпендикулярной поверхности пакета, со стороны замыкающей головки. Рабочая часть пуансона обкатывает торец заклепки с приложением давления и образует замыкающую головку (РТМ 1.4.1498-85 “Клепка раскаткой клиновидных пакетов”. – М.: НИАТ, 1986). Недостатками данного способа являются значительная неравномерность распределения радиальных деформаций и напряжений по толщине пакета, что приводит к снижению прочности соединения.
Известно устройство для клепки клиновидных пакетов, выбранное в качестве прототипа (авторское свидетельство СССР №889262, кл. В 21 J 15/32, 1981), содержащее соосно расположенные оправки с поддерживающим и рабочим бойками со сферическими опорными поверхностями. В одной из оправок установлена подвижная обойма со сферическим седлом и контактирующая с ней сферической поверхностью прижимная плита с осевым отверстием под рабочий боек и подпружиненная относительно оправки. При этом рабочий боек связан с оправкой гибким элементом, а радиус его опорной поверхности равен радиусу сферической поверхности прижимной плиты. Также данное устройство снабжено установленными концентрично обойме кольцевыми постоянными магнитами со встречно направленными одноименными полюсами, один из магнитов расположен на оправке, а другой на обойме. Данные магниты обеспечивают предварительное сжатие склепываемого пакета.
Недостатками данного устройства является:
– сползание рабочего и поддерживающего бойков по поверхности клиновидного пакета в процессе клепки и неравномерное заполнение гнезда под головку материалом заклепки;
– величина угла клиновидности склепываемого пакета ограничена размерами диаметра рабочего бойка и диаметра осевого отверстия под него;
– сложность конструкции (наличие пружин, гибких элементов, постоянных магнитов, а также наличие сферических сопряженных поверхностей);
– сложность и высокая стоимость изготовления.
Задачей предлагаемого изобретения является повышение качества клепки и увеличение производительности труда.
Указанная задача достигается тем, что предлагаемое устройство обеспечивает следующее:
– устранение сползания обжимки и поддержки по поверхности клиновидного пакета за счет фиксации устройства в стапеле;
– более равномерное заполнение гнезда под головку материалом заклепки посредством способа клепки с изменяемым вектором направления деформирующей силы.
Для этого предлагаемое устройство исполнено в виде клещей, у которых на одной из губок установлена поддержка в шаровом подшипнике. На другой губке установлена неподвижно прижимная шайба и шарнирно закреплена обжимка. На обжимке и поддержке выполнены сферические углубления для упора и подвижной части плунжера скобы ручного переносного пресса, которые снабжены шариковыми наконечниками. Ручки клещей выполнены изогнутой формы, имеют поверхность, опирающуюся на деталь стапеля, а также имеют возможность фиксации в заданном положении.
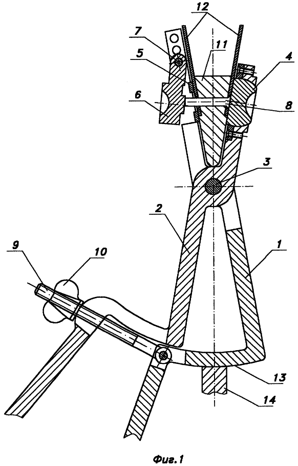
Изобретение поясняется графическими материалами. На фиг.1 представлено предлагаемое устройство в исходном положении перед клепкой. На фиг.2 – то же, в момент окончания клепки.
Устройство состоит из рычагов 1 и 2, соединенных между собой в виде клещей шарниром 3. На одной из губок клещей установлена поддержка 4 в сферическом шарнире, угловое перемещение поддержки 4 в сферическом шарнире позволяет компенсировать двойную кривизну склепываемого пакета. На другой губке клещей установлена прижимная шайба 5 с вырезом для обжимки 6. Обжимка имеет возможность углового перемещения относительно шарнира 7, что обеспечивает изменение вектора направления силы деформирующей заклепку 8. В изогнутых ручках клещей установлен болт 9, который позволяет фиксировать ручки устройства в сжатом положении гайкой 10, тем самым создавая предварительное сжатие склепываемого пакета, состоящего из клиновидного сухаря 11 и прилегающих к нему обшивок 12. Одна из ручек клещей имеет поверхность 13, обеспечивающую упор устройства в деталь 14 стапеля. Обжимка 6 и поддержка 4 имеют сферические углубления под плунжер 15 и опорную часть 16 скобы ручного пресса.
Предлагаемое устройство для клепки клиновидных пакетов работает следующим образом.
В отверстие клиновидного пакета, состоящего из клиновидного сухаря 11 и прилегающих к нему обшивок 12, вставляют заклепку 8. Причем ось отверстия под заклепку перпендикулярна оси симметрии пакета, а оси гнезд под закладную головку и замыкающую головку перпендикулярны наружной поверхности пакета. Прижимная шайба 5 устанавливается на склепываемый пакет опорной поверхностью, при этом выступающая часть заклепки выставляется по центру выреза под обжимку 6. При этом поверхность 13 ручки упирается в деталь стапеля 14. При сжатии ручек устройства поддержка 4 прижимает закладную головку заклепки, происходит самоустановка поддержки по поверхности пакета. Сжатие ручек устройства также обеспечивает предварительное сжатие пакета между опорной поверхностью прижимной шайбы 5 и поверхностью поддержки 4, болт 9 и гайка 10 фиксируют усилие сжатия.
Далее в сферические углубления обжимки и поддержки устанавливаются упор 15 и подвижный плунжер 16 скобы ручного пресса, в которых установлены шариковые наконечники (на фиг.1 условно не показаны, на фиг.2 показаны пунктирной линией). Происходит сжатие пресса, сила сжатия F передается через шариковый наконечник пресса на обжимку устройства, происходит осаживание выступающей части заклепки и образование замыкающей головки. Обжимка 6 устройства во время расклепывания совершает поворот относительно шарнира 7, обеспечивая изменение направления вектора силы, деформирующей выступающую часть заклепки. Этим достигается то, что изгиб выступающей части заклепки и осаждение ее до образования замыкающей головки происходят одновременно. При этом происходит соответственный поворот скобы ручного пресса относительно обжимки и поддержки устройства, возникающие при этом перемещение и трение между ними устраняются перекаткой шариковых наконечников скобы пресса по сферическим углублениям обжимки и поддержки устройства.
Предложенное устройство для клепки клиновидных пакетов было опробовано при клепке пакета, состоящего из сухаря с углом клиновидности 15°, находящегося между двух обшивок. Клепка производилась заклепками ОСТ 1 34089-80 диаметром 4 мм при помощи ручного переносного пресса. В результате получилось качественное заклепочное соединение с полным заполнением гнезда и отверстия в пакете.
Использование предложенного устройства позволяет повысить производительность труда по сравнению с клепкой клиновидных пакетов раскаткой и сохранить качество соединения прессовой клепки.
Формула изобретения
1. Устройство для прессовой клепки клиновидных пакетов, содержащее размещенную в сферическом шарнире поддержку, обжимку и прижимную шайбу, выполненную с вырезом для размещения в нем обжимки в процессе клепки, отличающееся тем, что оно снабжено клещами, на одной из губок которых установлена размещенная в сферическом шарнире поддержка, прижимная шайба неподвижно установлена на другой губке клещей, а обжимка шарнирно смонтирована на упомянутой другой губке с возможностью углового перемещения.
2. Устройство по п.1, отличающееся тем, что обжимка и поддержка выполнены со сферическими углублениями для шариковых наконечников упора и подвижной части плунжера скобы ручного переносного пресса.
3. Устройство по п.1 или 2, отличающееся тем, что ручки клещей выполнены изогнутой формы с поверхностью для опоры на деталь стапеля и с возможностью фиксации предварительного сжатия склепываемого пакета.
РИСУНКИ
MM4A Досрочное прекращение действия патента Российской Федерации на изобретение из-за неуплаты в установленный срок пошлины за поддержание патента в силе
Дата прекращения действия патента: 06.11.2005
Извещение опубликовано: 27.12.2006 БИ: 36/2006
NF4A Восстановление действия патента Российской Федерации на изобретение
Извещение опубликовано: 10.01.2007 БИ: 01/2007
|