|
|
(21), (22) Заявка: 2004104918/02, 17.02.2004
(24) Дата начала отсчета срока действия патента:
17.02.2004
(45) Опубликовано: 10.06.2005
(56) Список документов, цитированных в отчете о поиске:
RU 2058847 C1, 27.04.1996. RU 2000118451 A, 27.08.2002. SU 429876 A1, 30.05.1974. DE 3300029 A, 05.07.1984.
Адрес для переписки:
302020, г.Орел, Наугорское ш., 29, ОрелГТУ
|
(72) Автор(ы):
Степанов Ю.С. (RU), Киричек А.В. (RU), Афонин А.Н. (RU), Афанасьев Б.И. (RU), Фомин Д.С. (RU), Кривцов В.И. (RU)
(73) Патентообладатель(и):
Орловский государственный технический университет (ОрелГТУ) (RU)
|
(54) СПОСОБ НАКАТЫВАНИЯ НАРУЖНЫХ РЕЗЬБ
(57) Реферат:
Изобретение относится к технологии машиностроения, к способам формообразования наружных резьб пластическим деформированием, в частности к накатыванию наружных резьб средних и крупных размеров в заготовках из высокопластичных материалов. Задача изобретения – обеспечение возможности накатывания прямоугольных, трапецеидальных и других резьб, повышение производительности и качества обработки резьбовых поверхностей. Способ осуществляется пластическим деформированием металла в роликовой матрице, причем резьбовой профиль деформируют принудительно вращающимися резьбовыми роликами в количестве не менее трех с жесткой кинематической связью между ними. Ролики имеют многозаходную резьбу с профилем, соответствующим профилю накатываемой резьбы, а заготовку, свободно вращающуюся за счет сил трения благодаря вращению роликов, деформируют с торцов, воздействуя двумя пуансонами навстречу друг другу, один из которых является плавающим упором, позволяющим компенсировать осевое перемещение заготовки. Диаметр резьбонакатных роликов подбирается таким образом, чтобы ролики сообщали заготовке осевое перемещение только в направлении плавающего упора, и регламентируется математической зависимостью. Способ позволяет накатывать относительно короткие резьбы стабильных размеров с отношением длины к диаметру не более 5, которые сложно получить другими способами, например прямоугольные и крупные трапецеидальные. 2 ил.

Изобретение относится к технологии машиностроения, к способам формообразования наружных резьб пластическим деформированием, в частности к накатыванию наружных резьб средних и крупных размеров в заготовках из высокопластичных материалов.
Известные способы накатывания наружных резьб [1] не позволяют получать прямоугольные (с углом профиля менее 5° ), крупные трапецеидальные и т.п. резьбы.
Известен способ накатывания резьб с использованием одного из известных технических средств: специализированный резьбонакатный станок, стан поперечно-винтовой прокатки, тангенциальную или радиальную резьбонарезную головку, устанавливаемую на универсальном станке или автомате и имеющую в качестве инструмента накатывающие ролики с винтовой многозаходной резьбой [2]. Способ осуществляется путем относительного движения инструмента, имеющего на рабочей части винтовую резьбовую поверхность, и заготовки в перпендикулярном ее оси направлении и взаимосогласованного их вращения, включающий определение диаметра Dи используемого для накатывания инструмента в соответствии с диаметром заготовки dз под накатывание и числом заходов резьбы инструмента k, причем определение диаметра инструмента осуществляют также с учетом глубины внедрения инструмента fв в материал заготовки и величины упругой радиальной деформации инструмента Wу при накатывании согласно зависимости
Dи=(dз-fв)k+2Wу
Известный способ, осуществляемый с помощью известных инструментов для накатывания наружных резьб, не позволяет получать прямоугольные (с углом профиля менее 5° ), крупные трапецеидальные, упорные и т.п. резьбы.
Задачей изобретения является обеспечение возможности накатывания прямоугольных, крупных трапецеидальных и других резьб, а также повышение производительности и качества обработки резьбовых поверхностей.
Поставленная задача решается предлагаемым способом изготовления наружных резьб пластическим деформированием металла, включающий формирование резьбового профиля принудительно вращающимися резьбовыми роликами, причем профиль формируют в роликовой матрице роликами в количестве не менее трех с жесткой кинематической связью между ними, при этом ролики имеют многозаходную резьбу с профилем, соответствующим профилю накатываемой резьбы, а заготовку, свободно вращаемую за счет сил трения посредством вращения роликов, деформируют с торцов, воздействуя двумя пуансонами навстречу друг другу, один из которых выполнен в виде плавающего упора, позволяющего компенсировать осевое перемещение заготовки, при этом диаметр резьбонакатных роликов подбирается исходя из условия сообщения роликами заготовке осевого перемещения только в направлении плавающего упора, по формуле:
Dнар=(kрол/kзаг)dзаг,
где Dнар – наружный диаметр резьбонакатных роликов, мм;
kрол – количество заходов резьбы на ролике, определяется конструктивно, исходя из необходимой прочности роликов и параметров резьбонакатного оборудования;
kзаг – количество заходов резьбы на накатываемой заготовке;
dзаг – диаметр заготовки, равный внутреннему диаметру накатываемой резьбы, мм.
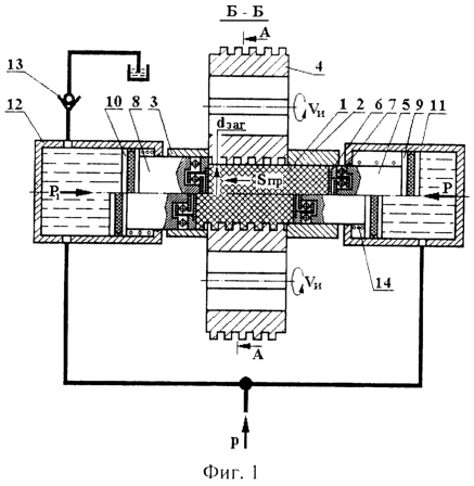
На фиг.1 приведена схема изготовления наружных резьб пластическим деформированием металла в роликовой матрице, частичный продольный разрез Б-Б на фиг.2, на верхней половине фиг.1 изображена заготовка до накатывания резьбы, а на нижней половине – после; на фиг.2 – разрез А-А на фиг.1, на верхней половине фиг.2 изображена заготовка до накатывания резьбы, а на нижней половине – после.
Предложенный способ накатывания наружных резьб осуществляется пластическим деформированием металла с помощью специальной роликовой матрицы следующим образом.
Цилиндрическая заготовка 1, диаметр которой равен dзаг внутреннему диаметру накатываемой резьбы, устанавливается во втулках 2 и 3 между несколькими, минимум тремя, роликами 4, имеющими многозаходную резьбу с профилем, соответствующим профилю накатываемой резьбы, и направлением, противоположным направлению накатываемой резьбы.
Резьбовые ролики 4 принудительно вращаются и имеют жесткую кинематическую связь между собой, обеспечивающую равную угловую скорость Vи вращения всех роликов (на фиг.1-2 не показана).
Оси вращения роликов 4 и заготовки 1 параллельны.
Угол поворота роликов 4 предварительно выставлен по шаблону, представляющему собой деталь с резьбой, соответствующей накатываемой резьбе, таким образом, чтобы выступы резьбы роликов 4 попадали во впадины резьбы шаблона.
Диаметр резьбонакатных роликов рассчитывается по формуле:
Dнар=(kрол/kзаг)dзаг,
где Dнap – наружный диаметр резьбонакатных роликов;
kрол – количество заходов резьбы на ролике, определяется конструктивно, исходя из необходимой прочности роликов и параметров резьбонакатного оборудования;
kзаг – количество заходов резьбы на накатываемой заготовке;
dзаг – диаметр заготовки, равный внутреннему диаметру накатываемой резьбы.
Заготовка 1 имеет возможность свободно вращаться вокруг собственной оси за счет сил трения благодаря вращению роликов 4. На правый торец заготовки 1, согласно фиг.1, осуществляется воздействие пуансоном 5 с силой Р через подпятник 6 и упорный подшипник 7. Для того чтобы компенсировать осевую силу Р, левый торец поджимается плавающим упором 8 с силой P1=P, также через подпятник и упорный подшипник. Пуансон 5 и плавающий упор 8 являются штоками поршней 9 и 10 гидроцилиндров 11 и 12 соответственно.
Бесштоковые полости гидроцилиндров 11 и 12 подключены к гидросистеме параллельно, таким образом, что давление жидкости в данных полостях одинаково. Диаметры поршней 9 и 10 гидроцилиндров 11 и 12 равны, что обеспечивает равенство сил Р и P1. Бесштоковая полость гидроцилиндра 12 имеет вывод на слив через клапан 13, срабатывающий, если давление в гидроцилиндре 12 превысит величину:
p=P1/F1· ,
где F1 – площадь поршня 10 гидроцилиндра 12;
– КПД гидроцилиндра 12.
Диаметр резьбонакатных роликов 4 подбирается таким образом, чтобы ролики 4 сообщали заготовке 1 осевое перемещение Sпр только в направлении плавающего упора 8.
Накатывание резьбы предлагаемым способом происходит следующим образом.
Роликам 4 сообщается вращательное движение Vи. Одновременно в бесштоковые полости гидроцилиндров 11 и 12 подается жидкость под давлением “р”. Под действием сил Р и Р1 заготовка 1 начинает деформироваться, увеличиваясь в диаметре. Выдавливание металла в осевой зазор между подпятником 6 и цилиндрической втулкой 2 вследствие значительного увеличения контактных сил трения не происходит. Металл под давлением заполняет впадины резьбы роликовой матрицы. Выступы резьбы роликов 4 препятствуют течению металла заготовки 1 в радиальном направлении и формируют впадины резьбы на накатываемой заготовке 1. При этом за счет сил трения между заготовкой 1 и вращающимися роликами 4 ей также сообщается вращательное движение Vз. Таким образом, на заготовке формируется винтовой профиль накатываемой резьбы.
Поскольку угол подъема резьбы на роликах 4 на всем протяжении формирования резьбы будет больше, чем на заготовке 1, заготовка 1 будет вывинчиваться из роликов 4, т.е. получать осевое перемещение Sпр в направлении плавающего упора 8. Как только торец заготовки 1 начнет давить на плавающий упор 8, давление в гидроцилиндре 12 превысит величину “р”, что вызовет срабатывание клапана 13. Жидкость из гидроцилиндра 12 начнет уходить на слив и плавающий упор 8 начнет смещаться, компенсируя осевое перемещение заготовки 1. Как только на заготовке будет сформирован полный профиль резьбы, жидкость из гидроцилиндров 11 и 12 отводится на слив, пуансон 5 и ролики 4 отводятся от заготовки 1 и она извлекается. Пуансон 5 и упор 8 разводятся с помощью пружин 14, которые расположены в штоковой полости гидроцилиндров.
Предлагаемый способ позволяет накатывать относительно короткие резьбы (с отношением длины к диаметру не более 5), например, прямоугольные и крупные трапецеидальные. В качестве оборудования для реализации предлагаемого способа могут использоваться гидравлические прессы, оснащенные специальными резьбонакатными приспособлениями.
Пример. Накатывали винт домкрата с упорной резьбой S36× 6-7h ГОСТ 10177-82 длиной 150 мм из стали 45, диаметром заготовки 25,5 мм, на гидравлическом прессе, оснащенном специальным резьбонакатным устройством в виде резьбонакатной роликовой матрицы. Роликам диаметром 102 мм, имеющим 4 захода резьбы, сообщали вращательное движение Vи=15 м/мин.
Технико-экономические преимущества использования предлагаемого способа и устройства состоят в следующем: повышается производительность труда на операции резьбонакатывания, повышается стойкость инструмента и улучшается качество резьбы.
Испытаниями установлено, что производительность труда на операции резьбонакатывания предлагаемым способом повышается в 2… 3 раза, размеры резьбы стабильны и соответствуют 6… 7 степени точности, стойкость инструмента повышается в 1,5… 2 раза, шероховатость поверхности улучшается на 1… 2 класса.
Источники информации, принятые во внимание
1. Якухин В.Г., Ставров В.А. Изготовление резьб. Справочник. М.: Машиностроение, 1989. С.18.
2. Патент РФ 2058847, МКИ 6 В 21 Н 3/04. Способ накатывания резьбы. / Хостикоев М.З. Заявка №93031977/08; заявл. 16.06.93. опубл. 27.04.96. Бюл. №12 – прототип.
3. Писаревский М.И. Новый инструмент для накатывания резьб и шлицев. Л.: Машиностроение. 1966. С.38-40.
Формула изобретения
Способ изготовления наружных резьб пластическим деформированием металла, включающий формирование резьбового профиля принудительно вращающимися резьбовыми роликами, отличающийся тем, что профиль формируют в роликовой матрице роликами в количестве не менее трех с жесткой кинематической связью между ними, при этом ролики имеют многозаходную резьбу с профилем, соответствующим профилю накатываемой резьбы, а заготовку, свободно вращаемую за счет сил трения посредством вращения роликов, деформируют с торцов, воздействуя двумя пуансонами навстречу друг другу, один из которых выполнен в виде плавающего упора, позволяющего компенсировать осевое перемещение заготовки, при этом диаметр резьбонакатных роликов подбирают исходя из условия сообщения роликами заготовке осевого перемещения только в направлении плавающего упора по формуле:

где Dнap – наружный диаметр резьбонакатных роликов, мм;
kрол – количество заходов резьбы на ролике, определяющееся конструктивно исходя из необходимой прочности роликов и параметров резьбонакатного оборудования;
kзаг– количество заходов резьбы на накатываемой заготовке;
dзаг – диаметр заготовки, равный внутреннему диаметру накатываемой резьбы, мм.
РИСУНКИ
MM4A – Досрочное прекращение действия патента СССР или патента Российской Федерации на изобретение из-за неуплаты в установленный срок пошлины за поддержание патента в силе
Дата прекращения действия патента: 18.02.2006
Извещение опубликовано: 27.10.2007 БИ: 30/2007
|
|