|
|
(21), (22) Заявка: 2003134821/14, 02.12.2003
(24) Дата начала отсчета срока действия патента:
02.12.2003
(45) Опубликовано: 10.06.2005
(56) Список документов, цитированных в отчете о поиске:
RU 2112492 C1, 10.06.1998. RU 2103974 C1, 10.02.1998. RU 2020913 C1, 15.10.1994. US 4989589 А, 05.02.1991.
Адрес для переписки:
119992, Москва, ул. Б. Пироговская, 2, стр.3, Московская медицинская академия им. И.М. Сеченова, отдел интеллектуальной собственности
|
(72) Автор(ы):
Амосов Г.Г. (RU), Липницкий Е.М. (RU)
(73) Патентообладатель(и):
Государственное образовательное учреждение высшего профессионального образования Московская медицинская академия им. И.М. Сеченова МЗ РФ (RU)
|
(54) СПОСОБ ЛЕЧЕНИЯ ОБЛИТЕРИРУЮЩИХ ЗАБОЛЕВАНИЙ АРТЕРИЙ КОНЕЧНОСТЕЙ И УСТРОЙСТВО ДЛЯ ЕГО ОСУЩЕСТВЛЕНИЯ “ПНЕВМОСТОКИНГ”
(57) Реферат:
Изобретение относится к медицине и может быть использовано при лечении облитерирующих заболеваний артерий, в частности при хронических облитерирующих заболеваниях артерий нижних конечностей. Сущность способа заключается в том, что для воздействия на коллатеральный кровоток и открытие капиллярного русла ишемизированных тканей на конечности накладываются многосекционные манжеты, пневмомагистрали которых соединяют с аппаратом пневмокомпрессии. На проксимальную секцию манжет подается пневмодавление, превышающее систолическое артериальное давление на 10-20 мм рт.ст. на весь период цикла ритмической пневмокомпрессии. На дистальных секциях манжет формируется пневмовоздействие в направлении сверху вниз величиной от 80 мм рт.ст. до величины в проксимальной манжете. Длительность нагнетания по секциям дистальных манжет от 15 до 25 секунд с одновременным сбросом давления во всех секциях манжет до 0 мм рт.ст. с последующей паузой до следующего цикла – 25-60 секунд. Длительность сеанса от 30 до 90 минут ежедневно в течение 10-30 дней. Устройство для осуществления способа содержит многосекционные манжеты, соединенные пневмомагистралями с источником формирования избыточного пневмодавления блока программного управления величиной, длительностью и последовательностью воздействий по секциям. Устройство содержит блок управления параметрами пневмокомпрессии проксимальных секций манжет, обеспечивающий автономное управление величиной пневмовоздействия. 2 н.п. ф-лы, 1 ил.

Изобретение относится к медицине и медицинской технике и может быть использовано при лечениии облитерирующих заболеваний артерий конечностей. В частности, при хроническом облитерирующим атеросклерозе нижних конечностей (ХОЗАНК), эндартериите, болезни Рейно и т.д. Заболевания прогрессируют и при снижении артериального систолического давления (АДс) до 50 мм рт.ст. ниже окклюзии сосуда развивается клиника критической ишемии нижних конечностей (КИНК), синдром несоответствия энергопоступления и потребления. (Савельев B.C., Кошкин В.М., 1997 г.).
Известно использование вакуумных воздействий при облитерирующих заболеваниях артерий нижних конечностей (Авт. свидетельство SU 1475678 A1, A 61 H 9/00 от 07.04.86 г.). Однако данные воздействия не могут в должной степени обеспечить градиент перфузионного давления в пораженных сосудах.
Известен способ лечения облитерирующих заболеваний артерий конечностей (взят за прототип) за счет исключения депонирования крови в дистальных отделах системы кровообращения путем формирования “бегущей волны” давления последовательно сверху-вниз с величиной воздействия по секциям 130 – 150 мм рт.ст. и снизу-вверх – 40 – 50 мм рт.ст. со сбросом давления в предыдущих секциях после прохождения “бегущей волны” до 0 – 10 мм рт.ст. и 40 – 50 мм рт.ст. на стопе. Цикл непрерывный в течение 40 -70 минут. (Патент RU 2112492 С1, А 61 Н 9/00 от 30.09.1988 г.). Однако при использовании этого способа не достигается открытие коллатералей и усиления капиллярного кровотока ввиду сохранения избыточного давления в секциях манжет после прохождения “бегущей волны”.
Реализация предложенного способа лечения облитерирующих заболеваний конечностей осуществляется за счет увеличения притока крови по коллатеральным сосудам к ишемизированным тканям пораженных конечностей, включение в функциональное состояние (в кровоток) капиллярного русла, уменьшение отечности и улучшение метаболизма в промежуточном пространстве.
Техническое решение по предлагаемому способу и устройству для его осуществления достигается тем, что на конечности надеваются многосекционные манжеты, обеспечивающие включение 4, 6, 8 сегментов в зависимости от занимаемой площади на конечностях. После соединения пневмомагистралей манжет с блоком формирователя пневмодавления подается пневмовоздействие на проксимальные секции манжет величиной на 10-20 мм рт.ст. выше систолического артериального давления (АДс) на весь период цикла. Терапевтические воздействия через дистальные секции манжет проводятся последовательно в направлении сверху-вниз величинами от 80 мм рт.ст. до уровня давления в проксимальной секции без сброса давления в предыдущей секции. После завершения цикла пневмовоздействий производится одновременный сброс давления во всех секциях манжет на период от 25 до 60 секунд. Длительность процедуры 30-90 минут.
Общим с прототипом предлагаемого способа лечения облитерирующих заболеваний артерий конечностей является наличие нисходящего пневмовоздействия на конечности. Реализация предлагаемого способа возможна только при наличии автономного регулирования воздействием на проксимальные секции манжет величинами выше АДс на 10-20 мм рт.ст. для перекрытия венозного и артериального кровотока. В частности, при АД -180/90 мм рт.ст. величина давления в проксимальной секции должна быть 190 – 200 мм рт.ст. Терапевтические воздействия в дистальных секциях проводятся последовательно в направлении сверху-вниз от 80 мм рт.ст. до величин давления в проксимальной секции манжеты. Длительность давления по секциям устанавливалась 5-25 секунд. Проведенные исследования показали, что общая длительность одного цикла не должна превышать 1-1,5 минут. При увеличении длительности возможно появление ишемических болей в конечностях на прекращение кровотока, которые наблюдались в ряде случаев при 3-4. ст. ХОЗАНК (по Фонтену). При наличии ХОЗАНК в способе-прототипе “бегущая волна” воздействий не может обеспечить открытия коллатеральных сосудов. При прохождении волны давления коллатеральные сосуды оказываются вне зоны воздействий. Важным параметром предлагаемого способа лечения облитерирующих заболеваний артерий конечностей служит пауза между циклами – 25-60 с, необходимая для заполнения кровью сосудистого русла конечностей. В прототипе постоянно поддерживается избыточное воздействие в секциях манжет от 0 до 10 мм рт.ст, что также не позволяет реализовать предлагаемый способ.
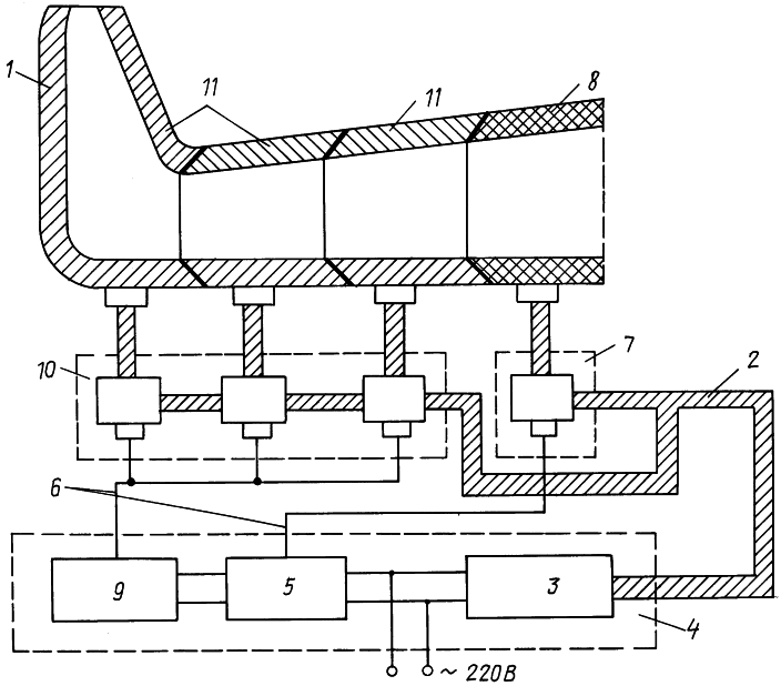
На чертеже представлена блок-схема устройства для лечения облитерирующих заболеваний артерий конечностей.
Устройство содержит многосекционные манжеты 1, соединенные пневмомагистралями 2 с блоком формирователя пневмодавления 3 аппарата пневмокомпрессии 4, и дополнительно содержит блок управления режимом работы проксимальной секцией 5, соединенный электропроводкой 6 с электромагнитным пневмоклапаном 7 проксимальной секции 8, и блок управления режимами работы дистальными секциями 9, соединенный электропроводкой 6 с блоком электромагнитных пневмоклапанов 10 дистальных секций манжет 11.
Устройство работает следующим образом. На конечности надевают многосекционные манжеты 1. Пневмомагистрали от манжет соединяют с блоком формирователя пневмодавления 3 аппарата пневмокомпрессии 4, подключают электропроводку. Измеряют у больного артериальное давление. На блоке управления 5 устанавливают рабочие режимы воздействий (величина и длительность нагнетания, пауза, длительность сеанса) через электромагнитный пневмоклапан 7 на проксимальный сегмент манжеты 8. Через блок управления 9 утанавливают рабочие режимы по электропроводке 6 через блок электромагнитных пневмоклапанов 10 на дистальные секции 11 манжет. Управление режимами проксимальной секции проводится автономно.
Пример 1. Больной О., 71 л. Поступил на стационарное лечение с диагнозом: Хронический облитерирующий атеросклероз сосудов нижних конечностей (ХОЗАНК), 3 ст. Болен в течение 8 лет. “Премежающая хромота” через 50-70 м. Последние 7-8 месяцев беспокоят боли в покое, по ночам. При осмотре: Пульсация бедренных артерий определяется, но крайне ослаблена. Аускультативно прослушивается систолический шум. С уровня подколенных артерий пульсация не определяется. Стопы ног холодные, с мраморным оттенком. Болевая и тактильная чувствительность сохранена. УЗИ-исследование показало: Общая бедренная артерия – справа стеноз до 70%, слева – на грани окклюзии, передняя большеберцовая арт. – окклюзия с обеих сторон, задняя большеберцовая арт. – справа окклюзия, слева – коллатеральный тип кровообращения.
Перед первой процедурой АД – 140/80 мм рт.ст., пульс – 60 в 1 мин. Больному проведен терапевтический курс ритмической пневмокомпрессии (РПК) нижних конечностей, 10 сеансов по 40 минут. На нижние конечности наложены многосекционные манжеты, пневмомагистрали от которых соединены с аппаратом пневмокомпрессии. Выставлены режимы пневмовоздействия: Величина воздействия в проксимальной секции – 160 мм рт.ст., в дистальных секциях воздействие сверху вниз – 100 мм рт.ст. при длительности нагнетания по секциям – 10 с с одновременным сбросом давления в секциях на 25 секунд и последующим повторением циклов. Уже при первой процедуре на 25 минуте РПК больной отметил прилив тепла к стопам ног. Кожная термометрия в 1-м межпальцевом промежутке увеличилась с 26,5 до 27,2°С на 40 минуте и после прекращения РПК к 30 минуте увеличилась еще на 0,8°С. После 5 процедуры больной отметил резкое улучшение общего состояния, впервые стал по ночам спать. После завершения полного курса РПК длительность ходьбы с тем же темпом до “премежающей хромоты” составило 400-500 м.
Пример 2. Больной Д., 62 л. Диагноз: ХОЗАНК, 4 ст. Постампутационная культя правой голени в в/3. Трофическая язва левой стопы. При поступлении АД – 155/90 мм рт.ст., “премежающая хромота” через 70-80 м. На тыльной поверхности левой стопы трофическая язва размером 2×1,5 см. Больным себя считает 18 лет. Вначале беспокоили боли в икроножных мышцах через 400-500 м ходьбы. В 1986 г. резкое ухудшение общего состояния, появились ночные боли в ногах. Признаки КИНК усиливались, развилась гангрена правой стопы. Была проведена ампутация правой голени по уровню в в/3 голени. В течение 3-х последних лет дважды в году больному проводится курс РПК на левую нижнюю конечность. Методика проведения РПК: На левую голень наложена многосекционная манжета. Пневмомагистрали от манжеты соединены с аппаратом пневмокомпрессии. Установлена величина пневмодавления в прпоксимальной секции – 175 мм рт.ст., длительность – на весь цикл пневмокомпрессии, в дистальных секциях манжеты – величина 175 мм рт.ст., длительность нагнетания по секциям – 25 с. Пауза между циклами РПК – 60 с. Курс из 15 сеансов при общей длительность процедуры 90 минут. К 10 процедуре отделяемого из трофической язвы нет, “нежная эпителизация ” ее поверхности. Приводим типичные непосредственные эффекты РПК: Кожная температура 1 межфалангового промежутка левой стопы – в исходе – 26,8°С, на 40 мин – 27,5°С, на 60 мин – 28,3°С. Транскутанные показатели рО2 на стопе: До начала РПК – 6-8 мм рт.ст., во время – 0-1 мм рт.ст. (результат пережатия проксимальной секции манжеты), через 2 минуты после прекращения РПК –рО2 повышалось до 40-43 мм рт.ст. и величины его сохранялись в течение 1 часа. По показателям лазерного анализатора капиллярного кровотока (аппарат ЛАКК – 1, Россия) – уровень перфузии повышался с 4,38 ЕД до 6,69 ЕД, индекс эффективности микроциркуляции – с 2,10 ЕД до 2,13 ЕД.
Применение РПК по предлагаемому способу лечения облитерирующих заболеваний артерий конечностей, в частности – при ХОЗАНК, показал ее высокую клиническую эффективность. Непосредственные эффекты на ее применение в виде повышения кожной температуры на стопах ног до 1,5°С, транскутанно определяемый рО2 увеличивался с 6-8 мм рт.ст. перед воздействием до 40-43 мм рт.ст. после завершения сеанса, увеличение уровня перфузии на воздействие с 4,38 ЕД до 6,69 ЕД и индекса эффективности микроциркуляции с 2,10 ЕД до 2,13 ЕД подтверждают усиление коллатерального кровотока с открытием капиллярного русла на воздействие.
Источники информации
1. Савельев B.C., Кошкин В.М. Критическая ишемия нижних конечностей. М., Медицина, 1997 г., 160 стр.
2. SU 1475678 А1, А 61 Н 9/00 от 07.04.86 г.
3. RU 2112492 С1, А 61 Н 9/00 от 30.09.1998 г.
Формула изобретения
1. Способ лечения облитерирующих заболеваний артерий конечностей путем наложения на конечности многосекционных манжет с формированием избыточного давления по секциям сверху вниз, отличающийся тем, что в проксимальной секции манжет создают пневмовоздействие, превышающее систолическое артериальное давление на 10-20 мм.рт.ст., в дистальных секциях формируют пневмовоздействие сверху вниз величиной от 80 мм.рт.ст. до величины в проксимальной манжете с длительностью нагнетания по секциям 5-25 с с одновременным сбросом давления во всех секциях манжет до 0 мм.рт.ст. с паузой 25-60 с и последующим повторением циклов при продолжительности сеанса от 30 до 90 мин ежедневно в течение 10-30 дней.
2. Устройство для лечения облитерирующих заболеваний артерий конечностей, содержащее многосекционные манжеты, соединенные с источником формирования избыточного пневмодавления и блока программного управления величиной, длительностью и последовательностью воздействий по секциям, отличающееся тем, что оно дополнительно содержит блок управления параметрами пневмокомпрессии проксимальных секций манжет, обеспечивающий автономное управление величиной пневмовоздействий.
РИСУНКИ
|
|