|
|
(21), (22) Заявка: 2004108806/12, 17.03.2004
(24) Дата начала отсчета срока действия патента:
17.03.2004
(45) Опубликовано: 10.06.2005
(56) Список документов, цитированных в отчете о поиске:
RU 2008423 C1, 28.02.1994. SU 1704639 A3, 07.01.1992. ЕР 0218963 А2, 22.04.1987. ЕР 0504533 А1, 23.09.1992. ЕР 1110480 А1, 27.06.2001. ЕР 1159890 A1, 05.12.2001. ЕР 0124773 А2, 14.11.1984.
Адрес для переписки:
450076, г.Уфа, ул. Коммунистическая, 22А, комн.435, Р.Г. Калимуллину
|
(72) Автор(ы):
Калимуллин Р.Г. (RU)
(73) Патентообладатель(и):
Калимуллин Рустэм Галимович (RU)
|
(54) МОДУЛЬНЫЙ СТОЛ
(57) Реферат:
Изобретение относится к мебельной промышленности, в частности к столам, предназначенным в первую очередь для проведения активных методов группового обучения, групповых дискуссий, мозгового штурма, деловых игр, ролевых игр и др. Модульный стол, состоящий из модулей, включает закрепленные на опорах столешницы в форме прямоугольника и полукруга с возможностью образования из них рабочей поверхности стола заданной конфигурации. Стол дополнительно включает вспомогательный модуль со столешницей в форме треугольника, при этом стороны прямоугольника и треугольника соразмерны радиусу и диаметру полукруга. В частности, меньшая сторона прямоугольника равна радиусу полукруга, а большая сторона прямоугольника и стороны треугольника равны его диаметру. Столешницы жестко соединены в рабочую поверхность заданной конфигурации с помощью известных средств, например магнитным соединением, а опоры столешниц снабжены колесиками. Применение модульных столов может носить многоцелевой характер: кроме основной цели – организации обучающего пространства возможно их использование как офисной или кухонной мебели. Возможно также комбинированное применение: например, модульные столы, постоянно используемые в качестве офисной мебели, могут быть периодически задействованы при обучении персонала на базе предприятия и без отрыва от рабочего места, мебель фирменной столовой может временно использоваться для проведения корпоративных тренингов. Изобретение обеспечивает расширение эксплуатационных возможностей. 2 з.п. ф-лы, 1 табл., 28 ил.

Изобретение относится к мебельной промышленности, в частности к столам, предназначенным в первую очередь для проведения таких активных методов группового обучения, как групповая дискуссия, мозговой штурм, деловые игры, ролевые игры и др.
Качество образовательного процесса во многом зависит от организации обучающего пространства, в частности используемой мебели и в первую очередь учебных столов. Именно столы занимают основное пространство аудитории и, как правило, имеют фиксированные формы, что затрудняет взаимодействие участников обучения между собой, необходимого при активных методах обучения.
В последние годы получила развитие тенденция организации учебных мест в виде отдельных модулей, представляющих собой закрепленные на каркасах столешницы и возможно сиденья, которые можно перемещать, объединять в виде блоков различной геометрической конфигурации: окружность, квадрат и т.п.
Известны учебные столы, представляющие собой модули в виде закрепленных на каркасах столешниц трапециевидной формы (пат. ЕПВ №0218963, пат. СССР №1704639), в виде секторов (пат РФ №2008423). Недостатком этих решений являются недостаточные вместимость, мобильность и функциональность мебели.
Наиболее близкими к заявленному решению являются модули, содержащие столешницы в форме прямоугольника, полукруга и сегмента. Это позволяет создать рабочую поверхность столов самой различной конфигурации. Например, 6 модулей-сегментов можно поставить как в круг, так и в “змейку”, а с помощью двух полукругов (поставленных друг против друга) и обычных прямоугольников (посередине) легко сооружается большой овальный стол и т.д.
Несмотря на многофункциональность известных модулей, наличие такого элемента как сектор (являющегося частью полукруга), не расширяет возможность создания дополнительных конфигураций рабочей поверхности столов, а в некоторых случаях сферический край кромки столешницы может и ограничивать варианты комбинаций модулей, т.к. “рабочими” являются только две прямые стороны сектора. Кроме того, секторы практически всегда можно заменить полукругом, от чего конструкция приобретет даже преимущество – большую устойчивость. Другой недостаток известных модулей заключается в невозможности создания из них жесткой конструкции, поскольку они не содержат элементов крепления друг с другом, кроме этого, не мобильны, и для их перемещения потребуются дополнительные затраты времени и труда.
Ставится задача – создания такой геометрической формы столешниц модулей, которая позволила бы объединять их в зависимости от целей обучения в различные функциональные блоки, одновременно обеспечить мобильность модулей и возможность их жесткой фиксации друг с другом.
Это достигается тем, что известные модульные столы, состоящие из модулей, включающих закрепленные на опорах столешницы в форме прямоугольника и полукруга с возможностью образования из них рабочей поверхности стола заданной конфигурации, дополнительно включают вспомогательный модуль со столешницей в форме треугольника, при этом стороны прямоугольника и треугольника соразмерны радиусу и диаметру полукруга. В частности меньшая сторона прямоугольника равна радиусу полукруга, а большая сторона прямоугольника и стороны треугольника равны его диаметру.
Столешницы жестко соединены в рабочую поверхность заданной конфигурации с помощью известных средств, например магнитным соединением, а опоры снабжены колесиками.
Предлагаемые формы и соотношение размеров столешниц модулей учебного стола позволяет комбинировать их в блоки всевозможных конфигураций и тем самым повысить функциональность модульных столов и, следовательно, более эффективно организовать обучающее пространство. С помощью магнитов и колесиков модули приобретают такие свойства, как мобильность и быстроту их сборки-разборки. Можно легко и быстро собрать необходимую жестко зафиксированную рабочую поверхность, что крайне важно для проведения активных методов обучения, когда в течение одного занятия бывает необходимо несколько раз перегруппировать участников обучения.
Предлагаемое решение иллюстрируется чертежами.
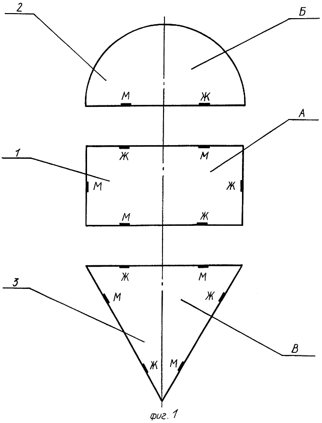
Фиг.1 – формы столешниц модулей:
– модуль А с прямоугольной столешницей;
– модуль Б с полукруглой столешницей;
– вспомогательный модуль В с треугольной столешницей.
Фиг.2, 3, 4 – общий вид модулей А, Б и В соответственно.
Фиг.5, 6, 7, 8, 9 – варианты расположения магнитных фиксаторов на столешницах.
Фиг.10, 11, 12, 13, 14, 15, 16, 17, 18, 19, 20 – варианты организации учебного пространства с использованием столешниц согласно изобретению.
Фиг.21, 22, 23, 24, 25, 26 – варианты организации учебного пространства традиционным способом.
Фиг.27, 28 – схема крепления магнитных фиксаторов.
Модульные столы представляют собой блок модулей, столешницы которых имеют прямоугольную форму 1, полукруглую 2 и треугольную 3. Столешницы крепятся на боковых опорах 4 с колесиками 5 и снабжены магнитными фиксаторами 6, включающими магнитный элемент – М и железный – Ж.
Соединение столешниц производится с помощью стандартных магнитных фиксаторов. Магнитный элемент фиксатора М крепится к столешнице 1, 2, 3, а железный элемент фиксатора Ж крепится к боковой опоре посредством бруска 7. Схема крепления фиксаторов предусматривает расположение на одной стороне столешницы (бруска) одного магнитного и одного железного элемента (фиг.5-9).
Именно такая схема крепления позволяет с наибольшим удобством использовать модульные столы.
Модули могут группироваться в блоки с образованием рабочей поверхности столов различной конфигурации как с использованием столешниц всех трех форм (фиг.10-20), так и их части (фиг.21-26).
Использование предлагаемых модулей осуществляется следующим образом.
Ведущий тренинга, учитель, преподаватель или любое лицо, применяющее в своей деятельности методы активного обучения в соответствии со своей программой и применяемыми методами, выбирает наиболее подходящие способы группировки обучающихся (дидактические группы), включает их в план проведения занятий. Перед началом занятий преподаватель знакомит аудиторию с теми способами группировки (дидактическими группами), которые будут применяться на данном занятии, разъясняет и утверждает условные обозначения. Рекомендуется вывесить изображения и обозначения на доске, а если модули находятся в данной аудитории постоянно, посвятить данной теме один из стендов при ее оформлении.
Перед применением того или иного метода активного обучения, предусматривающую перегруппировку модулей, преподаватель дает команду группе: “Дидактическая группа №…”, что является сигналом к преобразованию обучающего пространства. Далее следует собственно реализация выбранного метода обучения.
Рекомендуемые варианты соединения модулей в зависимости от методов активного обучения приведены в таблице, приведенной в конце описания, где:
А, Б, В, – форма столешниц модуля;
1, 2, 3,… – количество данных модулей в данной конфигурации рабочей поверхности стола;
О – кольцевая дистантная группировка модулей;
= – параллельная дистантная группировка модулей.
^ – вариация данного соотношения модулей
Примеры условных обозначений.
Пример 1. Конфигурация А2 – два прямоугольных модуля в контактной группировке,
конфигурация В2 – два полукруглых модуля в контактной группировке (Фиг.26).
Пример 2. Конфигурация А2Б4 – два прямоугольных модуля и четыре полукруглых модуля в контактной группировке (Фиг.20).
Пример 3. Конфигурация А3Б3В1 – три прямоугольных модуля, три полукруглых модуля и один треугольный модуль в контактной группировке (Фиг.14).
Пример 4. А/2Б/4= – параллельная дистантная группировка двух прямоугольных модулей и четырех полукруглых модулей (Фиг.25).
Пример 5. А/2Б/4О – кольцевая дистантная группировка двух прямоугольных модулей и четырех полукруглых модулей (Фиг.17).
Пример 6. Конфигурация А2Б2 может быть собрана в двух вариантах: в виде овала и в виде лепестка в форме “сердечка” (Фиг.23, 19). Предполагается, что основной конфигурацией является овал, который обозначается А2Б2 (Фиг.23), а вариацией данного соотношения модулей является лепесток, который обозначается А2Б2^ (Фиг.19).
Самостоятельное (дистантное, изолированно от других модулей) применение треугольного модуля 3 не рекомендуется, так как наличие острых углов при организации учебного пространства не является эргономичным. При создании конфигураций с использованием треугольного модуля 3 рекомендуется закрывать острые углы прямоугольными модулями 1 и полукруглыми модулями 2.
При этом треугольные модули способствуют, во-первых, значительному расширению вариантов конфигураций, а во-вторых, более эффективному решению некоторых задач в организации учебного пространства. Треугольный модуль 3 позволяет объединять в единое пространство небольшие микрогруппы, в то же время визуально выделяя каждую из них.
Например, три микрогруппы, самостоятельно работающие над поставленной задачей и использующие для своей работы конфигурацию Б2 (Фиг.26), на этапе обсуждения результатов могут объединиться в единое рабочее пространство, используя конфигурацию Б3В1 (Фиг.11) или А3Б3В1 (Фиг.14).
Данный подход способствует целостности и идентичности каждой микрогруппы, с одной стороны, и более конструктивному взаимодействию между ними, с другой.
Таким образом, треугольный модуль 3 является вспомогательным, что необходимо учитывать при комплектации аудитории модульными столами.
Способ крепления фиксаторов позволяет использовать стандартные магнитные фиксаторы, выпускаемые производителями мебельной фурнитуры. Магнитный элемент фиксатора М крепится к столешнице 1, 2, 3, а железный элемент фиксатора Ж крепится к столешнице 1, 2, 3 или к боковой опоре стола 4 посредством бруска (фиг.27-28).
Схема крепления фиксаторов показана на фиг.1 и фиг.5-9. Буквой “М” (магнит) обозначены магнитные элементы фиксаторов. Буквой “Ж” (железо) – железные элементы фиксаторов. Именно такая схема крепления, когда на одной стороне модуля закрепляется один магнитный и один железный элемент, позволяет с наибольшим удобством использовать модульные столы. Слово “железо” используется в данном случае в символическом смысле для удобства обозначения противоположного магниту элемента. В реальности это могут быть пластины из различных сплавов металлов, которые притягивают магнит.
Предлагаемая разработка предназначена, главным образом, для реализации активных методов группового обучения (групповая дискуссия, мозговой штурм, метод конкретных ситуаций, деловые игры, ролевые игры и др.).
Модульные столы способствуют активизации обучения за счет гибкой организации учебного пространства с учетом психологических особенностей коммуникаций, восприятия, взаимодействия между участниками процесса.
Модульные столы позволяют организовать группу в самостоятельно работающие малые подгруппы количеством от 2 до 12 человек.
Модульные столы позволяют объединять в единое пространство небольшие микрогруппы, в то же время визуально выделяя каждую из них.
Смена конфигураций участниками во время обучения способствует профилактике гиподинамии, выполняя роль физкультминутки. Особенно это актуально при обучении взрослых людей, которые в основном ориентированы на деловую форму активности, нежели на игровую и, несмотря на осознание необходимости физической активности для поддержания здоровья, нейтрализации стрессогенных воздействий, редко находят специальное время для физических упражнений. Периодическая смена конфигураций во время занятия позволяют связать полезное с необходимым. При работе с детьми можно проводить смену модулей в игровой форме. Исследования великого русского психофизиолога И.М.Сеченова показали, что наилучшим отдыхом является смена видов деятельности. Таким образом, периодическая физическая активность участников, связанная с перестановкой модулей, способствует активации мыслительной, с одной стороны, и является здоровьесберегающим фактором, с другой.
Частоту смены модулей можно определить в соответствии с планом учебного занятия, с учетом интенсивности упражнений, утомляемости участников и других переменных. По нашему мнению, оптимальный период для смены модулей колеблется от 15 до 45 минут.
Множество вариантов конфигураций представлены на фиг 10-26, среди которых на фиг.17-26 изображены конфигурации с использованием прямоугольного модуля 1 и полукруглого модуля 2, а на фиг.10-16 – конфигурации, в которых используется также треугольный модуль 3.
Преподаватель, учитель, ведущий тренинга или любое иное лицо, использующее модульные столы, могут самостоятельно выбрать те или иные конфигурации в зависимости от целей обучения, количества и состава группы. Применение модульных столов допускает и традиционную форму организации учебного пространства (фиг.25).
Как видно из таблицы, применение модульных столов может носить многоцелевой характер: кроме основной цели – организации обучающего пространства – возможно их использование как офисной мебели, как кухонной мебели и др. Возможно также комбинированное применение: например, модульные столы, постоянно используемые в качестве офисной мебели, могут быть периодически задействованы при обучении персонала на базе предприятия, иногда и без отрыва от рабочего места. Другой вариант: мебель в фирменной столовой, которая время от времени может быть использована для проведения корпоративных тренингов.
Таким образом, комплектация аудитории модульными столами открывает новые возможности для организации учебного пространства, сохраняя прежние.

Формула изобретения
1. Модульный стол, состоящий из модулей, включающих закрепленные на опорах столешницы в форме прямоугольника и полукруга с возможностью образования из них рабочей поверхности стола заданной конфигурации, отличающийся тем, что он дополнительно включает вспомогательный модуль со столешницей в форме треугольника, при этом стороны прямоугольника и треугольника соразмерны радиусу и диаметру полукруга, в частности, меньшая сторона прямоугольника равна радиусу полукруга, а большая сторона прямоугольника и стороны треугольника равны его диаметру.
2. Модульный стол по п.1, отличающийся тем, что столешницы модулей выполнены с возможностью их жесткого соединения в рабочую поверхность заданной конфигурации с помощью соединения, например, магнитного.
3. Модульный стол по п.1, отличающийся тем, что опоры столешниц снабжены колесиками.
РИСУНКИ
|
|