|
|
(21), (22) Заявка: 2004107242/12, 12.03.2004
(24) Дата начала отсчета срока действия патента:
12.03.2004
(45) Опубликовано: 10.06.2005
(56) Список документов, цитированных в отчете о поиске:
RU 16822 U1, 20.02.2001. US 5454637 А, 03.10.1995. US 5507570 А, 16.04.1996. ЕР 0875172 A1, 04.11.1998.
Адрес для переписки:
111123, Москва, ул. Плеханова, 3/7, ООО “Проммебель”, Б.В. Гузняеву
|
(72) Автор(ы):
Печенов Д.В. (RU), Шахт Б.А. (RU)
(73) Патентообладатель(и):
Общество с ограниченной ответственностью “Проммебель” (RU)
|
(54) КОМБИНИРОВАННЫЙ ШКАФ (ВАРИАНТЫ)
(57) Реферат:
Изобретение относится к офисной мебели. Шкаф содержит корпус, включающий неподвижную секционную часть и выдвижную тумбу с колесными опорами, размещенную в нижней части шкафа с возможностью выдвижения с его боковой стороны. Боковые стенки тумбы выполнены открытыми. Задняя стенка тумбы соединена с корпусом шкафа посредством рычажного механизма, который может быть выполнен в виде шарнирно соединенных рычагов либо в виде телескопического элемента. Рычажный механизм в сложенном положении удерживает тумбу в полости шкафа, и в выдвинутом положении фиксирует ее от вылета за пределы корпуса шкафа для чего имеются средства фиксации. Шкаф имеет средства, предотвращающие контактное трение при перемещении тумбы, снабжен регулируемыми в вертикальном направлении ножками. Комбинированный шкаф многофункционален, надежен и удобен в эксплуатации. 2 н. и 12 з.п. ф-лы, 10 ил.

Изобретение относится к мебели, которая может быть использована как в качестве офисной мебели, так и в качестве бытовой мебели для оборудования, например, кабинета в домашних условиях.
Известен комбинированный шкаф, содержащий корпус, включающий неподвижную секционную часть и выдвижную тумбу на колесных опорах, размещенную в нижней части шкафа, связанную с неподвижной частью корпуса средством перемещения и удержания тумбы в полном выдвинутом положении – полезная модель РФ №16822, кл. А 47 В 17/03, 2002.
Однако указанный известный комбинированный шкаф недостаточно функционально удобен в эксплуатации и недостаточно надежен.
Задачей изобретения является расширение функциональных возможностей комбинированного шкафа, повышение его надежности и комфортного использования.
Указанный технический результат достигается за счет того, что в одном варианте исполнения в комбинированном шкафу, содержащем корпус, включающий неподвижную секционную часть и выдвижную тумбу с колесными опорами, размещенную в нижней части шкафа, связанную с неподвижной частью корпуса средством перемещения и удержания ее в полном выдвинутом положении, выдвижная тумба смонтирована в корпусе шкафа с возможностью выдвижения с боковой стороны корпуса, боковые стороны тумбы выполнены открытыми для обеспечения доступа к ее внутренней рабочей полости, ее лицевая панель имеет средство захвата для перемещения тумбы, а задняя стенка соединена с корпусом шкафа рычажным механизмом, включающим два шарнирно связанных между собой, с корпусом шкафа и с тумбой рычага, оси шарнирных соединений которых расположены горизонтально, в сложенном положении удерживающих тумбу в задвинутом в шкаф положении, при этом суммарная длина двух рычагов меньше длины участка шкафа для размещения тумбы для предотвращения вылета тумбы за пределы шкафа при ее выдвижении, основание корпуса шкафа в зоне размещения тумбы имеет вырез, а его внутренние стенки снабжены средствами фиксации тумбы в выдвинутом положении и средствами, предотвращающими контактное трение поверхностей корпуса и тумбы при перемещении последней.
Средства, предотвращающие контактное трение между поверхностями корпуса и тумбы, выполнены в виде шаровых опор, смонтированных в стенках корпуса, а средство фиксации тумбы в выдвинутом положении выполнено в виде взаимодействующих между собой планок, одна из которых закреплена на внутренней поверхности корпуса в зоне бокового отверстия корпуса для выхода тумбы, а вторая – на верхней поверхности тумбы в зоне ее задней стенки.
Тумба имеет три колесные опоры, две из которых закреплены на основании в зоне передней панели, а одна – на основании в зоне середины ее задней стенки.
Шкаф снабжен регулируемыми в вертикальной плоскости опорами.
Рычажный механизм может быть установлен в верхней части полости шкафа для размещения тумбы, либо в ее средней части, либо у основания.
Во втором варианте исполнения комбинированного шкафа, содержащем корпус, включающий неподвижную секционную часть и выдвижную тумбу с колесными опорами и размещенную в нижней части шкафа, связанную с неподвижной частью корпуса средством перемещения и удержания ее в полном выдвинутом положении выдвижная тумба смонтирована в корпусе шкафа с возможностью выдвижения с боковой стороны корпуса, боковые стенки тумбы выполнены открытыми для обеспечения доступа к ее внутренней рабочей полости, ее лицевая панель имеет средство захвата для перемещения тумбы, а задняя стенка соединена с корпусом шкафа рычажным механизмом, выполненным в виде телескопического элемента, конца которого шарнирно связаны с корпусом шкафа и с тумбой, оси шарнирных соединений которых расположены горизонтально и который в сложенном положении удерживает тумбу в задвинутом в шкаф положении, при этом суммарная длина телескопического элемента меньше длины участка шкафа для размещения тумбы для предотвращения вылета тумбы за пределы шкафа при ее выдвижении, основание корпуса шкафа в зоне размещения тумбы имеет вырез, а его внутренние стенки снабжены средствами фиксации тумбы в выдвинутом положении и средствами, предотвращающими контактное трение поверхностей корпуса и тумбы при перемещении последней. Средства для предотвращения контактного трения между поверхностями корпуса и тумбы, средства фиксации тумбы в выдвинутом положении, выполнение колесных опор и регулируемых в вертикальной плоскости опор шкафа во втором варианте исполнения шкафа выполнены аналогично первому варианту шкафа.
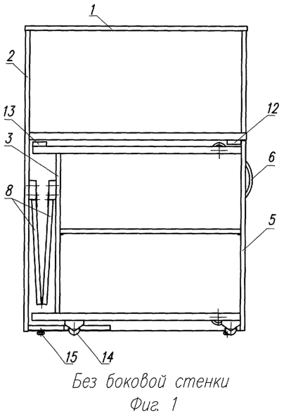
На фиг.1 представлен комбинированный шкаф, общий вид в первом варианте исполнения с задвинутой в шкаф тумбой, на фиг.2 – тот же шкаф в продольном разрезе, на фиг.3, 4, 5 – тот же шкаф с выдвинутой тумбой и с различным размещением рычажного механизма, на фиг.6, 7 – второй вариант исполнения шкафа с телескопическим рычажным механизмом с задвинутой и выдвинутой тумбой, на фиг.8 – вид шкафа со стороны основания с задвинутой тумбой, на фиг.9 – средства, предотвращающие контактное трение шкафа и тумбы при перемещении тумбы, на фиг.10 – регулируемая опора шкафа.
Комбинированный шкаф в обоих вариантах исполнения содержит корпус 1, включающий неподвижную секционную часть 2 и выдвижную тумбу 3, расположенную в нижней части шкафа на колесных опорах, связанную с неподвижной частью корпуса 1 средством перемещения и удержания ее в полном выдвинутом положении.
Выдвижная тумба 3 смонтирована в корпусе с возможностью выдвижения с боковой стороны корпуса 1, ее боковые стороны 4 выполнены открытыми с обеспечением доступа к ее внутренней полости. Ее лицевая панель 5 имеет средство захвата 6, например, в виде ручки для выдвижения тумбы.
Задняя стенка 7 тумбы шарнирно соединена с корпусом 1 шкафа в одном варианте исполнения рычажным механизмом, выполненным в виде двух рычагов 8, в другом варианте исполнения рычажным механизмом, выполненным в виде телескопического элемента 9. Оси шарнирных соединений рычажных механизмов выполнены горизонтальными. В сложенном положении рычажные механизмы удерживают тумбу в задвинутом в шкаф положении при этом суммарная длина рычагов меньше длины участка шкафа для размещения тумбы для удержания тумбы в полном выдвинутом положении.
Основание корпуса 1 в зоне размещения тумбы имеет вырез 10, а его внутренние боковые стенки в полости для размещения тумбы снабжены средствами 11, предотвращающими контактное трение поверхностей корпуса и тумбы, выполненными в виде шаровых опор, смонтированных в стенках корпуса.
Шкаф имеет средство фиксации тумбы в выдвинутом положении, выполненное в виде взаимодействующих между собой планок, одна из которых 12 закреплена на внутренней поверхности корпуса в зоне бокового отверстия корпуса для выхода тумбы, а вторая 13 установлена на верхней поверхности тумбы в зоне ее задней стенки.
На основании тумбы за лицевой панелью тумбы установлены колесные опоры 14. Для более надежного перемещения тумбы шкаф снабжен регулируемыми в вертикальной плоскости опорами 15.
Тумба в выдвинутом положении может быть использована в качестве рабочей поверхности для письма либо рассмотрения документации извлеченной из полости тумбы. Шарнирное соединение рычагов в сложенном положении обеспечивает фиксацию тумбы в корпусе шкафа и не требует дополнительных фиксирующих средств.
Комбинированный шкаф с выдвижной тумбой функционально удобен, надежен в эксплуатации и отлично сочетается с любой офисной мебелью.
Формула изобретения
1. Комбинированный шкаф, содержащий корпус, включающий неподвижную секционную часть и выдвижную тумбу с колесными опорами, размещенную в нижней части шкафа, связанную с неподвижной частью корпуса средством перемещения и удержания ее в полном выдвинутом положении, отличающийся тем, что выдвижная тумба смонтирована в корпусе шкафа с возможностью выдвижения с боковой стороны корпуса, боковые стенки тумбы выполнены открытыми для обеспечения доступа к ее внутренней рабочей полости, ее лицевая панель имеет средство захвата для перемещения тумбы, а задняя стенка соединена с корпусом шкафа рычажным механизмом, включающим два шарнирно связанных между собой, с корпусом шкафа и с тумбой рычага, оси шарнирных соединений которых расположены горизонтально, в сложенном положении удерживающих тумбу в задвинутом в корпус шкафа положении, при этом суммарная длина двух рычагов меньше длины участка шкафа для размещения тумбы для предотвращения вылета тумбы за пределы шкафа при ее выдвижении, основание корпуса шкафа в зоне размещения имеет вырез, а его внутренние стенки снабжены средствами фиксации тумбы в выдвинутом положении и средствами, предотвращающими контактное трение поверхностей корпуса и тумбы при перемещении последней.
2. Шкаф по п.1, отличающийся тем, что средства, предотвращающие контактное трение между поверхностями корпуса и тумбы, выполнены в виде шаровых опор, смонтированных в стенках корпуса.
3. Шкаф по п.1, отличающийся тем, что средство фиксации тумбы в выдвинутом положении выполнено в виде взаимодействующих между собой планок, одна из которых закреплена на внутренней поверхности корпуса в зоне бокового отверстия для выхода тумбы, а вторая – на верхней поверхности тумбы в зоне ее задней стенки.
4. Шкаф по п.1, отличающийся тем, что тумба имеет три колесные опоры, две из которых закреплены на основании в зоне передней панели, а одна – на основании в зоне середины ее задней стенки.
5. Шкаф по п.1, отличающийся тем, что он снабжен регулируемыми в вертикальной плоскости опорами.
6. Шкаф по п.4, отличающийся тем, что он снабжен регулируемыми в вертикальной плоскости опорами.
7. Шкаф по п.1, отличающийся тем, что рычажный механизм установлен в верхней части полости шкафа для размещения тумбы, либо в ее средней части, либо у основания.
8. Комбинированный шкаф, содержащий корпус, включающий неподвижную секционную часть и выдвижную тумбу с колесными опорами, размещенную в нижней части шкафа, связанную с неподвижной частью корпуса средством перемещения и удержания ее в полном выдвинутом положении, отличающийся тем, что выдвижная тумба смонтирована в корпусе шкафа с возможностью выдвижения ее с боковой стороны корпуса, боковые стенки тумбы выполнены открытыми для обеспечения доступа к ее внутренней рабочей полости, ее лицевая панель имеет средство захвата для перемещения тумбы, а задняя стенка соединена с корпусом шкафа рычажным механизмом, выполненным в виде телескопического элемента, концы которого шарнирно связаны с корпусом шкафа и с тумбой, оси шарнирных соединений которых расположены горизонтально, и который в сложенном положении удерживает тумбу в задвинутом положении, при этом суммарная длина телескопического элемента меньше длины участка шкафа для размещения тумбы и предотвращения вылета тумбы за пределы шкафа при ее выдвижении, основание корпуса шкафа в зоне размещения тумбы имеет вырез, а его внутренние стенки снабжены средствами фиксации тумбы в выдвинутом положении и средствами, предотвращающими контактное трение поверхностей корпуса и тумбы при перемещении последней.
9. Шкаф по п.8, отличающийся тем, что средства, предотвращающие контактное трение между поверхностями корпуса и тумбы, выполнены в виде шаровых опор, смонтированных в стенках корпуса.
10. Шкаф по п.8, отличающийся тем, что средство фиксации тумбы в выдвинутом положении выполнено в виде взаимодействующих между собой планок, одна из которых закреплена на внутренней поверхности корпуса в зоне бокового отверстия для выхода тумбы, а вторая – на верхней поверхности тумбы в зоне ее задней стенки.
11. Шкаф по п.8, отличающийся тем, что тумба имеет три колесные опоры, две из которых закреплены на основании в зоне передней панели, а одна – на основании в зоне середины ее задней стенки.
12. Шкаф по п.8, отличающийся тем, что он снабжен регулируемыми в вертикальной плоскости опорами.
13. Шкаф по п.11, отличающийся тем, что он снабжен регулируемыми в вертикальной плоскости опорами.
14. Шкаф по п.8, отличающийся тем, что рычажный механизм установлен в верхней части полости шкафа для размещения тумбы, либо в ее средней части, либо у основания.
РИСУНКИ
|
|