|
| На основании пункта 3 статьи 13 Патентного закона Российской Федерации от 23 сентября 1992 г. № 3517-I патентообладатель обязуется передать исключительное право на изобретение (уступить патент) на условиях, соответствующих установившейся практике, лицу, первому изъявившему такое желание и уведомившему об этом патентообладателя и федеральный орган исполнительной власти по интеллектуальной собственности, – гражданину РФ или российскому юридическому лицу. |
|
(21), (22) Заявка: 2004106231/11, 02.03.2004
(24) Дата начала отсчета срока действия патента:
02.03.2004
(45) Опубликовано: 27.05.2005
(56) Список документов, цитированных в отчете о поиске:
US 3929025 А, 30.12.1975. US 5618240 А, 08.04.1997. WO 86/05247 А1, 12.09.1986. US 3613466 А, 19.10.1971. DE 743545 A, 10.06.1944. SU 1643307 А1, 23.04.1991.
Адрес для переписки:
362048, РСО-Алания, г. Владикавказ, ул. Доватора, 7, корп.1, кв.22, Г.Д.Фидарову
|
(72) Автор(ы):
Фидаров Г.Д. (RU)
(73) Патентообладатель(и):
Фидаров Георгий Дударович (RU)
|
(54) УСТРОЙСТВО ПЕРЕКЛЮЧЕНИЯ ПЕРЕДАЧ ВЕЛОСИПЕДА
(57) Реферат:
Изобретение относится к автоматическому переключению передач велосипеда в зависимости от натяжения цепи. Один конец рычага (6) шарнирно соединен с рамой велосипеда и снабжен фиксатором (8). Другой свободный конец рычага (6) прижат к цепи (11) пружиной (10). При изменении частоты вращения педалей изменяется натяжение цепи (11), что обеспечивает подъем или опускание рычага (6) и, соответственно, тяги (5), связанной с тросом (3) обычного переключателя передач. При включении промежуточной передачи фиксатор (8) обеспечивает положение рычага, соответствующее определенной ведомой звездочке (2). Техническое решение направлено на упрощение автоматического переключателя. 1 ил.

Изобретение относится к транспортным средствам, в частности к устройствам переключения скоростей велосипеда, и может быть использовано для многоскоростных велосипедов различного назначения.
Известно устройство переключения скоростей, состоящее из рамы, ведущей и ведомых звездочек, рычагов, кронштейна, силового троса, поворотных эксцентричных фиксаторов, узла натяжения силовой цепи (см. патент РФ №2043242, МПК7 В 62 М 25/04, опубл. 10.09.1995).
Недостатками данного технического решения являются отсутствие автоматического переключения скоростей, сложность эксплуатации, а наличие ручного переключения отвлекает внимание велосипедиста и создает дополнительную опасность при езде.
Наиболее близким к заявляемому техническому решению является устройство переключения передач велосипеда, содержащее раму, ведущую и ведомые звездочки, с цепью, расположенной между ними, и механизм переключения передач с тросом (см. а.с. СССР № 921939, МПК7 В 62 М 25/02, опубл. 23.04.1982 г.).
Недостатком прототипа является необходимость вручную переключать и подбирать передачи велосипеда, что отвлекает от управления, рассеивает внимание велосипедиста, снижает комфортность езды и повышает возможность аварии.
Задачей предлагаемого технического решения является повышение комфортности, простоты и безопасности езды на многоскоростном велосипеде.
Технический результат заключается в улучшении и упрощении эксплуатации за счет автоматического переключения передач.
Эта техническая задача достигается тем, что известное устройство переключения передач велосипеда, содержащее раму, ведущую и ведомые звездочки, с цепью, расположенной между ними, и механизм переключения передач с тросом, согласно изобретению, дополнительно снабжено рычагом, тягой и пружиной, при этом рычаг одним концом шарнирно соединен с рамой велосипеда и снабжен фиксатором, а другой его конец выполнен свободным и установлен вблизи цепи ведущей звездочки, тяга соединена одним концом шарнирно с рычагом, а другим жестко с тросом механизма переключения передач, пружина закреплена между рычагом и рамой.
Данное устройство позволит повысить комфортность, безопасность езды на многоскоростном велосипеде, упростить и улучшить эксплуатацию за счет автоматического переключения передач.
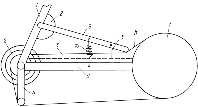
Сущность устройства поясняется чертежом, на котором изображен общий вид переключения передач велосипеда.
Устройство состоит из ведущей звездочки 1, ведомых звездочек 2, троса 3, идущего от переключателя передач 4 велосипеда. Трос 3 жестко соединен с тягой 5. Тяга 5 другим концом шарнирно закреплена на рычаге 6, который, в свою очередь, закреплен шарнирно на наклонной стойке 7 рамы и снабжен фиксатором 8. Между рычагом 6 и горизонтальной стойкой 9 рамы установлена стягивающая пружина 10. Свободный конец рычага 6 установлен на цепи 11 и отжимает ее к горизонтальной стойке 9 рамы.
Устройство работает следующим образом.
При вращении педалями ведущей звездочки 1 происходит натяжение цепи 11, которая отжимает вверх свободный конец рычага 6 прижатый пружиной 10 к горизонтальной стойке 9 рамы велосипеда.
Рычаг 6 поднимает тягу 5, натягивая трос 3 переключателя передач 4, который переводит цепь 11 на следующую большую ведомую звездочку 2. Вследствие этого увеличивается плечо рычага звездочки вращающего заднее колесо и уменьшается усилие, необходимое для вращения ведущей звездочки 1. В результате цепь 11 натягивается слабее и, следовательно, слабее отжимает свободный конец рычага 6, прижимаемый к горизонтальной стойке 9 рамы, пружиной 10. Конец рычага 6 зафиксирован в точке равнодействия этих сил. Чтобы точка фиксации совпала с определенной ведомой звездочкой 2, между наклонной стойкой 7 рамы и рычагом 6 устанавливается фиксатор 8.
Использование устройства переключения передач велосипеда позволит по сравнению с прототипом автоматизировать процесс переключения передач скоростей, повысить безопасность, комфортность, упростить и улучшить эксплуатацию многоскоростного велосипеда.
Формула изобретения
Устройство переключения передач велосипеда, содержащего раму, ведущую и ведомые звездочки с цепью, расположенной между ними, и механизм переключения передач с тросом, отличающееся тем, что оно дополнительно снабжено рычагом, тягой и пружиной, при этом рычаг одним концом шарнирно соединен с рамой велосипеда и снабжен фиксатором, а другой его конец выполнен свободным и расположен на цепи, тяга соединена одним концом шарнирно с рычагом, а другим соединена жестко с тросом механизма переключения передач, пружина закреплена между рычагом и рамой.
РИСУНКИ
|
|