|
(21), (22) Заявка: 2004115318/12, 21.05.2004
(24) Дата начала отсчета срока действия патента:
21.05.2004
(45) Опубликовано: 27.05.2005
(56) Список документов, цитированных в отчете о поиске:
SU 114335A, 16.12.1958. GB 2371997 A, 14.08.2002. US 5421801 A, 06.06.1995. FR 2702384 A3, 16.09.1994. DE 10063349 A1, 11.07.2002.
Адрес для переписки:
111250, Москва, ул. Красноказарменная, 3, кв.299, А.В. Ишкову
|
(72) Автор(ы):
Ишков А.В. (RU), Шпанов В.И. (RU)
(73) Патентообладатель(и):
Ишков Артем Владимирович (RU), Шпанов Виталий Иванович (RU)
|
(54) УСТРОЙСТВО ДЛЯ ТРЕНИРОВКИ МЫШЦ НИЖНИХ КОНЕЧНОСТЕЙ
(57) Реферат:
Устройство для тренировки мышц нижних конечностей для повышения эффективности тренировки имеет установленные на основании передние и задние ограничители перемещения платформы и продольный поручень для хвата руками. 2 з.п. ф-лы, 2 ил.

Изобретение относится к области спортивного тренировочного инвентаря, в частности, к устройствам для тренировки мышц нижних конечностей, в том числе для тренировки единоборцев, гимнастов, артистов балета и пр.
Известно устройство для тренировки мышц нижних конечностей, содержащее установленные на основании с возможностью перемещения платформу для размещения спортсмена и направляющие для размещения его ног (см. авторское свидетельство СССР №114335, кл. А 63 В 23/035, 16.12.1958 – аналог и прототип).
Недостатком известного устройства является низкая эффективность тренировки.
Техническим результатом изобретения является повышение эффективности тренировки.
Достигается это тем, что устройство имеет установленные на основании передние и задние ограничители перемещения платформы, продольный поручень для хвата руками, размещенный под платформой, причем направляющие установлены под острым углом по отношению к продольной оси основания за его пределами и с обеспечением возможности свободного размещения ног при их разведении с внешней стороны направляющих, при этом направляющие выполнены замкнутыми между собой и с возможностью изменения угла наклона и фиксации в вертикальной плоскости относительно основания.
Устройство имеет винтовую пару и шарнирное крепление для изменения угла наклона направляющих.
Устройство имеет ролики, установленные на платформе.
Сущность изобретения поясняется чертежами, где на:
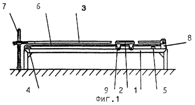
Фиг.1 изображено устройство для тренировки мышц нижних конечностей, вид сбоку,
Фиг.2 – вид сверху на фиг.1.
Устройство для тренировки мышц нижних конечностей содержит установленные на основании 1 с возможностью перемещения платформу 2 для размещения спортсмена и направляющие 3 для размещения ног.
Устройство имеет установленные на основании 1 передние 4 и задние 5 ограничители перемещения платформы 2, продольный поручень 6 для хвата руками, размешенный под платформой 2.
Направляющие 3 установлены под острым углом по отношению к продольной оси основания 1 за его пределами и с обеспечением возможности свободного размещения ног при их разведении с внешней стороны направляющих 3.
Направляющие 3 выполнены замкнутыми между собой и с возможностью изменения угла наклона и фиксации в вертикальной плоскости относительно основания 1.
Устройство имеет винтовую пару 7 и шарнирное крепление 8 для изменения угла наклона направляющих 3.
Устройство имеет ролики 9, установленные на платформе 2.
Позицией 10 обозначена замкнутая рама направляющих 3.
Функционирует устройство для тренировки мышц нижних конечностей следующим образом.
Спортсмен вращением винтовой пары 7 (ходовой винт, резьбовая втулка) устанавливает требуемый угол наклона направляющих 3 по отношению к основанию 1, при этом направляющие 3, шарнирно вращаясь в креплениях 8, могут устанавливаться как ниже, так и выше плоскости качения роликов 9 по основанию 1.
Установив платформу 2 у задних ограничителей 5, спортсмен размещается на ней так, чтобы задние ограничители 5 находились за спиной. При этом спортсмен разводит ноги, например, выпрямленные в коленях в стороны и располагает их соответственно на левой и правой направляющих 3 с внешней стороны таким образом, чтобы предотвратить соскальзывание ступней ног с направляющих 3. Зафиксировав это положение, спортсмен берется руками за поручень 6 и, перебирая его руками, начинает перемещать себя на платформе 2 по направлению к передним ограничителям 4. При этом пo мере передвижения вперед ноги спортсмена, скользя соответственно по левой и правой направляющим 3, разъезжаются, удаляясь одна относительно другой, чем вызывается растяжение паховых мышц, работающих в режиме поперечного шпагата. Растяжение паховых мышц тем интенсивнее, чем интенсивнее посыл платформы 2 вперед (т.е. создается нагрузка). Достигнув максимально возможного для данного момента растяжения мышц, спортсмен фиксирует себя в этом положении, после чего, откатив платформу 2 назад, ослабляет напряжения паховых мышц.
Неоднократно повторяя вышеописанные движения, спортсмен, заставляя мышцы привыкать к их новому, растянутому положению, раз за разом перемещается все дальше по основанию 1 на платформе 2 и все шире разводит ноги, стремясь достичь положения полного поперечного шпагата.
Для изменения условий выполнения упражнений спортсмен вращением винтовой пары 7 поднимает под углом направляющие 3 выше плоскости качения роликов 9 по основанию 1 или опускает под направляющие 3 ниже этой плоскости, тем самым задавая угловое положение ног по отношению к, например, вертикально ориентированному корпусу спортсмена.
Таким образом, изобретение повышает эффективность тренировки посредством обеспечения возможности регулировки нагрузки в условиях, приближенных к реальным, упрощает конструкцию и повышает удобство в эксплуатации.
Промышленная применимость.
Изобретение может быть использовано при производстве тренажеров.
Формула изобретения
1. Устройство для тренировки мышц нижних конечностей, содержащее установленные на основании с возможностью перемещения платформу для размещения спортсмена и направляющие для размещения его ног, отличающееся тем, что оно имеет установленные на основании передние и задние ограничители перемещения платформы, продольный поручень для хвата руками, размещенный под платформой, причем направляющие установлены под острым углом по отношению к продольной оси основания, за его пределами и с обеспечением возможности свободного размещения ног при их разведении с внешней стороны направляющих, при этом направляющие выполнены замкнутыми между собой и с возможностью изменения угла наклона и фиксации в вертикальной плоскости относительно основания.
2. Устройство по п.1, отличающееся тем, что оно имеет винтовую пару и шарнирное крепление для изменения угла наклона направляющих.
3. Устройство по любому из пп.1 и 2, отличающееся тем, что оно имеет ролики, установленные на платформе.
РИСУНКИ
MM4A – Досрочное прекращение действия патента СССР или патента Российской Федерации на изобретение из-за неуплаты в установленный срок пошлины за поддержание патента в силе
Дата прекращения действия патента: 22.05.2006
Извещение опубликовано: 27.04.2007 БИ: 12/2007
MM4A – Досрочное прекращение действия патента СССР или патента Российской Федерации на изобретение из-за неуплаты в установленный срок пошлины за поддержание патента в силе
Дата прекращения действия патента: 22.05.2006
Извещение опубликовано: 20.06.2007 БИ: 17/2007
|